«Գրանցված է»
ՀՀ արդարադատության
նախարարության կողմից
25 ապրիլի 2014 թ.
Պետական գրանցման թիվ 11714198
ՀԱՅԱՍՏԱՆԻ ՀԱՆՐԱՊԵՏՈՒԹՅԱՆ
ՔԱՂԱՔԱՇԻՆՈՒԹՅԱՆ ՆԱԽԱՐԱՐ
|
17 մարտի 2014 թ. |
N 79-Ն |
Հ Ր Ա Մ Ա Ն
ՀՀՇՆ22-04-2014 «ՊԱՇՏՊԱՆՈՒԹՅՈՒՆ ԱՂՄՈՒԿԻՑ» ՇԻՆԱՐԱՐԱԿԱՆ ՆՈՐՄԵՐԸ ՀԱՍՏԱՏԵԼՈՒ ԵՎ ՀԱՅԱՍՏԱՆԻ ՀԱՆՐԱՊԵՏՈՒԹՅԱՆ ՔԱՂԱՔԱՇԻՆՈՒԹՅԱՆ ՆԱԽԱՐԱՐԻ 2001 ԹՎԱԿԱՆԻ ՀՈԿՏԵՄԲԵՐԻ 1-Ի N 82 ՀՐԱՄԱՆՈՒՄ ՓՈՓՈԽՈՒԹՅՈՒՆ ԿԱՏԱՐԵԼՈՒ ՄԱՍԻՆ
«Քաղաքաշինության մասին» ՀՀ օրենքի 101 -րդ, 16-րդ հոդվածների, «Իրավական ակտերի մասին» ՀՀ օրենքի 70-րդ հոդվածի 1-ին մասի և Հայաստանի Հանրապետության կառավարության 2003 թվականի փետրվարի 20-ի N 156-Ն որոշման համաձայն.
Հրամայում եմ՝
1. Հաստատել «ՀՀՇՆ22–04–2014 «Պաշտպանություն աղմուկից» շինարարական նորմերը»՝ համաձայն հավելվածի։
2. Հայաստանի Հանրապետության քաղաքաշինության նախարարի 2001 թվականի հոկտեմբերի 1-ի «Նորմատիվատեխնիկական ակտերի կանոնակարգման մասին» N 82 հրամանում կատարել հետևյալ փոփոխությունը՝
1) Ուժը կորցրած ճանաչել հրամանով սահմանված ցանկի «ՍՆիՊ II-12-77 «Պաշտպանություն աղմուկից» պարբերությունը։
|
Նախարար |
Ս. Թադևոսյան |
|
Հավելված ՀՀ քաղաքաշինության նախարարի 2014 թվականի մարտի 17-ի N 79-Ն հրամանով |
ՊԱՇՏՊԱՆՈՒԹՅՈՒՆ ԱՂՄՈՒԿԻՑ
ՀՀՇՆ 22-04-2014
____________________________________________________________________________________
|
Գործարկման թվականը |
I. ԿԻՐԱՌՄԱՆ ՈԼՈՐՏԸ
1. «Պաշտպանություն աղմուկից» շինարարական նորմերով (այսուհետ` նորմեր ) սահմանված են պարտադիր պահանջներ, որոնք պետք է պահպանվեն տարբեր նշանակության շենքերի և շինությունների նախագծման, շինարարության և շահագործման, բնակավայրերի հատակագծման և կառուցապատման ընթացքում` աղմուկից պաշտպանության նպատակով, ինչպես նաև արտադրական, բնակելի, հասարակական շենքերում ու բնակելի կառուցապատման տարածքներում ձայնագիտական (ակուստիկ) միջավայրի նորմատիվ պարամետրերն ապահովելու համար:
II. ՆՈՐՄԱՏԻՎ ՎԿԱՅԱԿՈՉՈՒՄՆԵՐԸ
2. Սույն նորմերում վկայակոչված են հետևյալ նորմատիվ փաստաթղթերը.
ՍՆիՊ 2.07.01-89 Քաղաքաշինություն. Քաղաքային և գյուղական բնակավայրերի հատակագծում և կառուցապատում:
ՀՀ սանիտարական նորմեր N2-111-11.3 «Աղմուկն աշխատատեղերում, բնակելի և հասարակական շենքերում և բնակելի կառուցապատման տարածքներում»` հաստատված ՀՀ առողջապահության նախարարի 2002 թվականի մարտի 6-ի N 138 հրամանով:
III. ՏԵՐՄԻՆՆԵՐԸ ԵՎ ՍԱՀՄԱՆՈՒՄՆԵՐԸ
3. Սույն նորմերում կիրառված են հետևյալ տերմիններն իրենց սահմանումներով.
1) աղմկապաշտպանիչ էկրան` կառույց` պատի, հողային հանույթի կամ լիցքի, սրահի և այլ տեսքով` տեղադրված ավտոմոբիլային և երկաթուղային ճանապարհներին զուգընթաց` աղմուկը նվազեցնելու նպատակով,
2) աղմկապաշտպանիչ շենք` հատուկ ճարտարապետահատակագծային լուծումով բնակելի շենք, որի դեպքում մեկ և երկու սենյականոց բնակարանների բնակելի սենյակները և երեք սենյականոց բնակարանի երկու սենյակներն ուղղված են քաղաքային մայրուղու հակառակ կողմը,
3) աղմկապաշտպանիչ պատուհան` հատուկ օդափոխիչ սարքով պատուհան, որն ապահովում է բարձր ձայնամեկուսացում` միևնույն ժամանակ ապահովելով սենքում նորմատիվ օդափոխանակությունը,
4) իմպուլսային (ազդակային, խթանային) աղմուկ` ոչ մշտական աղմուկ` կազմված մեկ կամ մի շարք ձայնային ազդանշաններից, որոնց ձայնի մակարդակները, դԲԱI և դԲԱ-երով, չափված աղմկաչափի համապատասխանաբար «իմպուլս» և «դանդաղ» ժամանակային բնութագրերով, միմյանցինց տարբերվում են 7 դԲԱ և ավելի չափով,
5) ծածկի տակ հարվածային աղմուկի բերված մակարդակ, Lբ, դԲ` ծածկի միջոցով հարվածային աղմուկի մեկուսացումը բնութագրող մեծություն (իրենից ներկայացնում է ծածկի վրա ստանդարտ հարվածող մեքենայի աշխատելու ժամանակ ծածկի տակի սենքում ձայնային ճնշման մակարդակը)` պայմանականորեն բերված սենքում Аօ = 10 մ2 ձայնակլանմանը համարժեք մակերեսով մեծության: Ստանդարտ հարվածային մեքենան ունի 5 մուրճ` յուրաքանչյուրը 0,5 կգ, որոնք ընկնում են 4 սմ բարձրությունից` վայրկյանում 10 հարված հաճախությամբ,
6) ծածկի տակ հարվածային աղմուկի բերված մակարդակի հաճախության բնութագիր` ծածկի տակ հարվածային աղմուկի բերված մակարդակի մեծությունները` Lբ, դԲ, հաճախությունների մեկ երրորդ օկտավային շերտում 100-ից մինչև 3150 Հց տիրույթում (գրաֆիկական կամ աղյուսակի ձևով),
7) ծածկով հարվածային աղմուկի մեկուսացում ` մեծություն, որը բնութագրում է ծածկով հարվածային աղմուկի նվազեցումը,
8) հարվածային աղմուկի բերված մակարդակի ինդեքս, Lբw , դԲ` մեծություն, որը ծառայում է մեկ թվով ծածկի հարվածային աղմուկի մեկուսացման ունակության գնահատման համար և որոշվում է ծածկի տակ հարվածային աղմուկի բերված մակարդակի հաճախության բնութագիրը հատուկ գնահատման կորի հետ համեմատելու ճանապարհով,
9) հետարձագանքման (ռևերբերացիայի) ժամանակ, Т` ժամանակ, որի ընթացքում ձայնային ճնշման մակարդակը, ձայնի աղբյուրն անջատելուց հետո, նվազում է 60 դԲ-ով,
10) հետարձագանքում (ռևերբերացիա)` ձայնի աղբյուրի աշխատանքի դադարեցումից հետո սենքում ձայնային էներգիայի աստիճանական նվազման երևույթ,
11) ձայնակլանման գործակից, α` գործակից, որը մակերևույթից չանդրադարձած ձայնային էներգիայի մեծության հարաբերությունն է ընկնող ձայնային էներգիայի մեծությանը,
12) ձայնակլանման համարժեք մակերես (մակերևույթի կամ իրի)` α = 1 ձայնակլանման (ամբողջ ձայնը կլանող) գործակցով մակերևույթի մակերես, որը կլանում է ձայնային էներգիայի նույնպիսի քանակ, ինչ որ տվյալ մակերևույթը կամ իրը,
13) ձայնային հզորության մակարդակ` ձայնային հզորության և շեմքային ձայնային հզորության (wօ = 10-12 Վտ) հարաբերության տասնապատիկ տասնորդական լոգարիթմը,
14) ձայնային հզորություն, Վտ` միավոր ժամանակում աղմուկի աղբյուրով ճառագայթվող էներգիայի քանակ,
15) ձայնային ճնշման մակարդակ, դԲ` ձայնային ճնշման քառակուսու և լսելիության շեմքային ձայնային ճնշման (Рօ = 2 ● 10-5 Պա) քառակուսու հարաբերության տասնապատիկ տասնորդական լոգարիթմը,
16) ձայնային ճնշման օկտավային մակարդակ, դԲ` Հաճախությունների օկտավային շերտում ձայնային ճնշման մակարդակը,
17) ձայնի առավելագույն մակարդակ` ոչ մշտական աղմուկի ձայնի մակարդակ, որը տեսողական հաշվանքի դեպքում համապատասխանում է աղմկաչափ սարքի առավելագույն ցուցմունքին, կամ ավտոմատ գնահատող սարքով (վիճակագրական վերլուծիչով) աղմուկը գրանցելու դեպքում, չափվող միջակայքի երկարատևության 1 % -ի տևողությունը գերազանցելու ընթացքում չափված ձայնի մակարդակ,
18) ձայնի համարժեք (ըստ էներգիայի) մակարդակ, դԲԱ` մշտական աղմուկի ձայնի մակարդակ, որն ունի նույն միջին քառակուսային ձայնային ճնշումը, ինչ որ ուսումնասիրվող ոչ մշտական աղմուկը ժամանակի որոշակի միջակայքի ընթացքում,
19) ձայնի մակարդակ, դԲԱ` աղմուկի ձայնային ճնշման մակարդակ հաճախությունների նորմավորվող տիրույթում, որը ճշգրտված է ըստ աղմկաչափի Ա հաճախության բնութագրի,
20) ճանապարհափողոցային ցանցի, երկաթուղիների, օդային տրանսպորտի, արդյունաբերական գոտիների և առանձին արդյունաբերական ու էներգետիկ օբյեկտների աղմուկի քարտեզներ` աղմուկի աղբյուրով տարածքների քարտեզներ` տեղանքում ձայնի տարբեր մակարդակներով, 5 դԲԱ միջակայքով անցկացված գծերով,
21) միջին ձայնակլանման գործակից, αմջն` գործակից, որը սենքում ձայնակլանման գումարային համարժեք մակերեսի` Aգմ , (ներառյալ բոլոր մակերևույթների, սարքավորումների և մարդկանց կողմից ձայնակլանումը) հարաբերությունն է սենքի բոլոր մակերևույթների գումարային մակերեսին` Sգմ.
|
Aգմ | ||
|
αմջն= |
____, | |
|
Sգմ | ||
22) մշտական աղմուկ` աղմուկ, որի ձայնի մակարդակը ժամանակի ընթացքում փոխվում է 5դԲԱ-ից ոչ ավելի չափով` աղմկաչափի «դանդաղ» ժամանակային բնութագրով չափումներ կատարելիս,
23) ներթափանցող աղմուկ` աղմուկ, որն առաջանում է տվյալ սենքից դուրս և ներթափանցում է սենք` պատող կոնստրուկցիաների, օդափոխության, ջրամատակարաման և ջեռուցման համակարգերի միջով,
24) ոչ մշտական աղմուկ` աղմուկ, որի ձայնի մակարդակը ժամանակի ընթացքում փոփոխվում է 5 դԲԱ-ից ավելի չափով` աղմկաչափի «դանդաղ» ժամանակային բնութագրով չափումներ կատարելիս,
25) պատուհանի ձայնամեկուսացում, RԱտր, դԲԱ` մեծություն, որը ծառայում է պատուհանով ներթափանցող օդային աղմուկի մեկուսացումը գնահատելու համար և իրենից ներկայացնում է քաղաքային տրանսպորտի հոսքով ստեղծվող արտաքին աղմուկի մեկուսացումը,
26) տոնային աղմուկ` աղմուկ, որի սպեկտրում առկա են լսվող ընդհատուն երանգներ և որի աղմուկի տոնային բնույթը սահմանվում է հաճախությունների մեկ երրորդ օկտավային շերտում չափումներով` երբ մեկ շերտի մակարդակը գերազանցում է հարևան շերտինը 10 դԲ-ից ոչ պակաս,
27) օդային աղմուկի մեկուսացման ինդեքս, Rw, դԲ` մեծություն, որը ծառայում է մեկ թվով պատող կոնստրուկցիայի ձայնամեկուսացումը գնահատելու համար և որոշվում է օդային աղմուկի մեկուսացման հաճախության բնութագիրը հատուկ գնահատման կորի հետ համեմատելու ճանապարհով,
28) օդային աղմուկի մեկուսացման հաճախության բնութագիր, R, դԲ ` օդային աղմուկի մեկուսացման մեծությունը հաճախությունների մեկ երրորդ օկտավային շերտում, 100-ից մինչև 3150 Հց տիրույթում (գրաֆիկական կամ աղյուսակային ձևով),
29) օդային աղմուկի մեկուսացում (ձայնամեկուսացում), R` պատող կոնստրուկցիայի միջով անցնող ձայնը նվազեցնելու ունակություն, որն ընդհանուր առմամբ, իրենից ներկայացնում է պատող կոնստրուկցիայի միջով անցնող էներգիայի և դրա վրա ընկնող ձայնային էներգիայի հարաբերության տասնապատիկ տասնորդական լոգարիթմը: Սույն նորմերում «օդային աղմուկի ձայնամեկուսացում» բառերի տակ հասկանում են երկու սենյակներն անջատող պատող կոնստրուկցիայով ձայնային ճնշման մակարդակների նվազեցումը, դԲ` պատող կոնստրուկցիայի մակերեսը և աղմուկից պաշտպանվող սենյակում ձայնակլանման համարժեք մակերեսը, տրված հավասարության պայմանների, այսինքն`
|
S | |||
|
R= |
L1 -L2 + 10 ● lg |
____, | |
|
A | |||
որտեղ` L1 – աղմուկի աղբյուրով սենքում ձայնային ճնշման մակարդակը, դԲ,
L2 - աղմուկից
պաշտպանվող սենքում ձայնային ճնշման մակարդակը, դԲ,S – պատող կոնստրուկցիայի մակերեսը, մ2,
А – աղմուկից պաշտպանվող սենքում ձայնակլանման համարժեք մակերեսը, մ2:
IV. ԸՆԴՀԱՆՈՒՐ ԴՐՈՒՅԹՆԵՐԸ
4. Շինարարական օբյեկտների պաշտպանությունն աղմուկից ապահովելու համար շինարարաձայնագիտական եղանակներով պետք է նախատեսված լինեն.
1) արդյունաբերական կազմակերպությունների աշխատատեղերում.
ա. օբյեկտի գլխավոր հատակագծի և շենքերի ճարտարապետահատակագծային արդյունավետ լուծումներ` ձայնագիտական (ակուստիկական) տեսանկյունից,
բ. շենքերի պահանջվող ձայնամեկուսացում ունեցող` պատող կոնստրուկցիաների կիրառում,
գ. ձայնակլանիչ կոնստրուկցիաների (ձայնակլանիչ երեսպատվածքների, ետնաբեմերի, հատավոր կլանիչների) կիրառում,
դ. դիտարկման և հեռակառավարման ձայնամեկուսիչ խցերի կիրառում,
ե. ձայնագիտական էկրանների կիրառում,
զ. օդափոխման, օդի լավորակման համակարգերում և օդագազադինամիկ սարքերում (տեղակայանքներում) աղմուկի խլացուցիչների կիրառում,
է. տեխնոլոգիական սարքավորումների թրթռամեկուսացում:
2) բնակելի և հասարակական շենքերի սենքերում.
ա. շենքի ճարտարապետահատակագծային արդյունավետ լուծումներ,
բ. նորմատիվ ձայնամեկուսացում ապահովող պատող կոնստրուկցիաների կիրառում,
գ. ձայնակլանիչ երեսպատվածքների կիրառում (հասարակական շենքերի սենքերում),
դ. հարկադրական օդափոխման և օդի լավորակման համակարգերում աղմուկի խլացուցիչների կիրառում,
ե. շենքերի ինժեներական և սանիտարատեխնիկական սարքավորումների թրթռամեկուսացում:
3) բնակելի կառուցապատման տարածքներում.
ա. արդյունաբերական և էներգետիկ կազմակերպությունների, երկաթուղիների և ավտոմոբիլային ճանապարհների, օդանավակայանների, տրանսպորտային կազմակերպությունների (տեսակավորման կայանների, ավտոբուսային հավաքակայանների և այլը), սանիտարապաշտպանիչ գոտիների (ըստ աղմուկի գործոնի) պահպանում,
բ. բնակելի թաղամասերի և շրջանների հատակագծման ու կառուցապատման արդյունավետ ձևերի կիրառում,
գ. աղմկապաշտպանիչ շենքերի կիրառում,
դ. ճանապարհամերձ աղմկապաշտպանիչ էկրանների կիրառում,
ե. աղմկապաշտպանիչ կանաչ գոտիների կիրառում:
5. Լսարաններում, թատրոնների, կինոթատրոնների և մշակույթի սրահներում, հանդիսասրահներում և սպորտային դահլիճներում, երկաթուղային, օդանավակայանների և ավտոկայանների սպասասրահներում, ինչպես նաև գործարքային սրահներում ձայնագիտական բարեկարգման և օպտիմալ ձայնագիտական պայմանների ապահովման համար պետք է նախատեսվեն.
1) դահլիճի արդյունավետ ծավալահատակագծային (ծավալը, գծային չափերի հարաբերակցությունը) լուծումներ,
2) ձայնակլանիչ նյութերի և կոնստրուկցիաների կիրառում,
3) ձայնաանդրադարձիչ և ձայնացրիչ կոնստրուկցիաների կիրառում,
4) արտաքին և ներքին աղբյուրներից աղմուկի պահանջվող ձայնամեկուսացումն ապահովող պատող կոնստրուկցիաների կիրառում,
5) հարկադրական օդափոխման և օդի լավորակման համակարգերում աղմուկի խլացուցիչների կիրառում,
6) ձայնի ուժեղացման, տեղեկատվության փոխանցման և ազդարարման համակարգերի կիրառում:
6. Նախագծերում պետք է նախատեսված լինեն աղմուկից պաշտպանության հետևյալ միջոցառումները.
1) «Տեխնոլոգիական լուծումներ» բաժնում` արտադրական կազմակերպությունների համար տեխնոլոգիական սարքավորումներ ընտրելիս անհրաժեշտ է ընտրել նվազագույն աղմուկի բնութագրերով սարքավորումներ, որոնք սահմանված են համապատասխան ստանդարտներով: Տեխնոլոգիական սարքավորումների տեղակայումը պետք է իրականացվի` հաշվի առնելով սենքերի և տարածքների աշխատատեղերում աղմուկի նվազեցման անհրաժեշտությունը` արդյունավետ ճարտարապետահատակագծային լուծումների կիրառմամբ,
2) «Շինարարական լուծումներ» բաժնում` արտադրական կազմակերպությունների աշխատատեղերի համար սպասվելիք աղմուկի ձայնագիտական հաշվարկի հիման վրա, անհրաժեշտության դեպքում, պետք է հաշվարկվեն և նախատեսվեն աղմուկից պաշտպանվելու շինարարական ձայնագիտական միջոցառումներ,
3) «Ճարտարապետաշինարարական լուծումներ» բաժնում` բնակելի և հասարակական շինարարական օբյեկտների համար` շենքերի պատող կոնստրուկցիաների ձայնամեկուսացման հաշվարկներով պետք է հիմնավորվեն դրանց նախագծային լուծումները,
4) «Ինժեներական սարքավորումներ» բաժնում` ինժեներական սարքավորումների թրթռամեկուսացման և ձայնամեկուսացման հաշվարկներով պետք է հիմնավորվեն համապատասխան նախագծային լուծումները:
7. «Պաշտպանությունն աղմուկից» բաժինը պետք է ընդգրկվի քաղաքների, գյուղական բնակավայրերի, ինչպես նաև քաղաքների առանձին միկրոշրջանների հատակագծման և կառուցապատման նախագծային, քաղաքաշինական փաստաթղթերի կազմում` ՍՆիՊ2.07.01 շինարարական նորմերին համապատասխան: Տվյալ բաժինը պետք է ներառի.
1) քաղաքի զարգացման, քաղաքի և բնակավայրերի գլխավոր հատակագծերի տեխնիկատնտեսական հիմնավորումների (ՏՏՀ) փուլում` ճանապարհափողոցային ցանցերի, երկաթուղային ճանապարհների, ջրային և օդային տրանսպորտի, արդյունաբերական գոտիների և առանձին արդյունաբերական ու էներգետիկ օբյեկտների վերաբերյալ աղմուկի քարտեզները,
2) քաղաքի արդյունաբերական գոտու հատակագծման և մի խումբ կազմակերպությունների գլխավոր հատակագծերի նախագծման փուլում` արդյունաբերական կազմակերպությունների աղմուկի քարտեզները, բնակելի տարածքի վրա դրանց աղմուկի ազդեցության նվազեցման ճարտարապետահատակագծային և շինարարաձայնագիտական միջոցառումները,
3) քաղաքի գոտիավորման նախագծման փուլում` տարածքում աղմուկի քարտեզները, ակնկալվող աղմուկի հաշվարկները` շենքերի (բնակելի, վարչական, մանկական նախադպրոցական հիմնարկների, դպրոցների, հիվանդանոցների) ճակատային մասերի մոտ և հանգստի հրապարակներում, աղմկապաշտպան շենքերի տեսակները և դրանց տեղակայումը մայրուղային փողոցներում, արագընթաց ճանապարհների հատվածներում աղմկապաշտպանիչ էկրանների կառուցումը, աղմկապաշտպանիչ կանաչ գոտիների ստեղծումը, մայրուղային փողոցների կողմն ուղղված շենքերի ճակատներում աղմկապաշտպանիչ պատուհանների կիրառումը:
8. Ձայնագիտական հաշվարկները պետք է կատարվեն հետևյալ հաջորդականությամբ.
1) աղմուկի աղբյուրների բացահայտումը և դրանց աղմուկի բնութագրերի որոշումը,
2) սենքերում և տարածքներում կետերի (հաշվարկային կետեր) ընտրությունը, որոնց համար անհրաժեշտ է կատարել հաշվարկը
3) աղմուկի աղբյուրից (աղբյուրներից) մինչև հաշվարկային կետեր աղմուկի տարածման ուղիների և ուղիներից յուրաքանչյուրում ձայնային էներգիայի կորուստների որոշումը (նվազեցումը` հեռավորության, էկրանավորման, պատող կոնստրուկցիաների ձայնամեկուսացման, ձայնակլանման և այլի հաշվին),
4) հաշվարկային կետերում աղմուկի ակնկալվող մակարդակների որոշումը,
5) աղմուկի մակարդակների պահանջվող նվազեցման որոշումը` աղմուկի ակնկալվող մակարդակները թույլատրելի մեծությունների հետ համադրման հիման վրա,
6) աղմուկի պահանջվող նվազեցման ապահովման համար միջոցառումների մշակում,
7) հաշվարկային կետերում աղմուկի ակնկալվող մակարդակների ստուգիչ հաշվարկումը` շինարարաձայնագիտական միջոցառումների կատարման հաշվառմամբ:
9. Ձայնագիտական հաշվարկը պետք է կատարել ըստ ձայնային ճնշման մակարդակների` Լ, դԲ, հաճախությունների ութ օկտավային շերտերում` 63, 125, 250, 500, 1000, 2000, 4000 և 8000 Հց միջին երկրաչափական հաճախություններով կամ ըստ «Ա» հաճախության ճշտումով ձայնի մակարդակների` ԼԱ, դԲԱ: Հաշվարկը կատարում են մինչև 0,1 դԲ ճշտությամբ, վերջնական արդյունքը կլորացնում են մինչև ամբողջական մեծություններ:
10. Աղմուկից պաշտպանության նախագծերում պետք է ներառվեն ընդունված լուծումների տեխնիկատնտեսական ցուցանիշները:
11. Նախագծերում օգտագործվող ձայնամեկուսիչ, ձայնակլանիչ, թրթռամարիչ նյութերը պետք է ունենան համապատասխան հրդեհային անվտանգության և հիգիենիկ եզրակացություններ:
V. ԱՂՄՈՒԿԻ ԱՂԲՅՈՒՐՆԵՐԸ ԵՎ ԴՐԱՆՑ ԱՂՄՈՒԿԻ ԲՆՈՒԹԱԳՐԵՐԸ
12. Տարբեր նշանակության շենքերում աղմուկի հիմնական աղբյուր են հանդիսանում տեխնոլոգիական և ինժեներական սարքավորումները: Հաստատուն աղմուկ ստեղծող տեխնոլոգիական և ինժեներական սարքավորումների աղմուկի բնութագրերն են` ձայնային հզորության մակարդակները` Լw, դԲ, հաճախությունների ութ օկտավային շերտերում` 63-ից մինչև 8000 Հց միջին երկրաչափական հաճախություններով (ձայնային հզորության օկտավային մակարդակները), իսկ ոչ մշտական աղմուկ ստեղծող սարքավորումներինը` ձայնային հզորության համարժեք մակարդակները` Լwհմժ և ձայնային հզորության առավելագույն մակարդակները` Լwառ , հաճախությունների ութ օկտավային շերտերում:
13. Տեխնոլոգիական և ինժեներական սարքավորումների աղմուկի բնութագրերը պետք է ներառվեն դրանց տեխնիկական փաստաթղթերում և կցվեն նախագծի «Պաշտպանություն աղմուկից» բաժնին: Պետք է հաշվի առնվեն աղմուկի բնութագրերի կախվածությունն աշխատանքի գործելակարգերից, կատարվող գործառնություններից, մշակվող նյութերից և այլն: Աղմուկի բնութագրերի հնարավոր տարբերակները պետք է նշվեն սարքավորումների տեխնիկական փաստաթղթերում:
14. Արտաքին աղմուկի հիմնական աղբյուրներ են հանդիսանում` փողոցներում և ճանապարհներում տրանսպորտային հոսքերը, երկաթուղային, ջրային և օդային տրանսպորտը, արդյունաբերական և էներգետիկ կազմակերպություններն ու դրանց առանձին կայանքները, աղմուկի աղբյուրները թաղամասում (տրասֆորմատորային ենթակայանները, կենտրոնացված ջերմային կայանները, խանութների տնտեսական բակերը, սպորտային և խաղային հրապարակները և այլը):
15. Արտաքին աղմուկի հիմնական աղբյուրների աղմուկի բնութագրերն են.
1) փողոցներում և ճանապարհներում տրանսպորտային հոսքերի համար` ձայնի համարժեք (ըստ էներգիայի) մակարդակը` ԼԱհմժ , դԲԱ, և ձայնի առավելագույն մակարդակը` ԼԱառ , դԲԱ, երթևեկության առաջին գծի առանցքից 7,5 մ հեռավորության վրա,
2) երկաթուղային գնացքների հոսքերի համար` ձայնի համարժեք մակարդակը` ԼԱհմժ, դԲԱ, և ձայնի առավելագույն մակարդակը` ԼԱառ , դԲԱ, հաշվարկային կետին ամենամոտ ուղու առանցքից 25 մ հեռավորության վրա,
3) ջրային տրանսպորտի համար` ձայնի համարժեք մակարդակը` ԼԱհմժ, դԲԱ, և ձայնի առավելագույն մակարդակը` ԼԱառ , դԲԱ, նավի կողեզրից 25 մ հեռավորության վրա,
4) օդային տրանսպորտի համար` ձայնի համարժեք մակարդակը` ԼԱհմժ, դԲԱ, և ձայնի առավելագույն մակարդակը` ԼԱառ , դԲԱ, հաշվարկային կետում,
5) հատակագծում ներառյալ մինչև 300 մ առավելագույն գծային չափով արդյունաբերական և էներգետիկ կազմակերպությունների համար` ձայնային հզորության համարժեք մակարդակը` Լwհմժ և ձայնային հզորության առավելագույն մակարդակը` Լwառ , հաճախությունների ութ օկտավային շերտերում` 63-ից մինչև 8000 Հց միջին երկրաչափական հաճախություններով և ճառագայթման ուղղվածության գործոնը` Փ, հաշվարկային կետի ուղղությամբ (Փ=1` եթե ուղղվածության գործոնն անհայտ է): Թույլատրվում է աղմուկի բնութագրերը ներկայացնել` ձայնային հզորության համարժեք ճշգրտված մակարդակների` ԼwԱհմժ , դԲԱ և ձայնային հզորության առավելագույն ճշգրտված մակարդակների` ԼwԱառ , դԲԱ, տեսքով,
6) արդյունաբերական գոտիների, հատակագծում 300 մ-ից ավելի առավելագույն գծային չափով արդյունաբերական և էներգետիկ կազմակերպությունների համար` կազմակերպության տարածքի և բնակելի տարածքի սահմանի վրա` հաշվարկային կետի ուղղությամբ, ձայնի համարժեք մակարդակը` ԼԱհմժ.սհմ, դԲԱ, և ձայնի առավելագույն մակարդակը` Լ Աառ.սհմ, դԲԱ,
7) ներթաղամասային աղմուկի աղբյուրների համար`աղմուկի աղբյուրից սևեռված հեռավորության վրա` ձայնի համարժեք մակարդակը` ԼԱհմժ , և ձայնի առավելագույն մակարդակը` ԼԱառ,:
VI. ԹՈՒՅԼԱՏՐԵԼԻ ԱՂՄՈՒԿԻ ՆՈՐՄԵՐ
16. Հաշվարկային կետերում մշտական աղմուկի նորմավորվող պարամետրերն են ձայնային ճնշման մակարդակները` Լ, դԲ հաճախությունների օկտավային շերտերում` 31.5, 63, 125, 250, 500, 1000, 2000, 4000 և 8000 Հց միջին երկրաչափական հաճախություններով: Մոտավոր հաշվարկների համար թույլատրվում է ձայնի մակարդակների` ԼԱ, դԲԱ կիրառումը:
17. Ոչ մշտական աղմուկի (ժամանակի ընթացքում տատանվող, ընդհատվող) նորմավորվող պարամետրերն են` ձայնային ճնշման համարժեք մակարդակները` Լհմժ, դԲ, և ձայնային ճնշման առավելագույն մակարդակները` Լառ, դԲ, հաճախությունների օկտավային շերտերում` 31.5, 63, 125, 250, 500, 1000, 2000, 4000 և 8000 Հց միջին երկրաչափական հաճախություններով: Թույլատրվում է կիրառել ձայնի համարժեք մակարդակները` ԼԱհմժ, դԲԱ, և ձայնի առավելագույն մակարդակները` ԼԱառ, դԲԱ: Աղմուկը համարվում է նորմերի սահմաններում` երբ այն ինչպես համարժեք, այնպես էլ առավելագույն մակարդակներով չի գերազանցում սույն շինարարական նորմերով սահմանված նորմատիվ մեծությունները:
18. Արտադրական և օժանդակ շենքերի աշխատատեղերում, արդյունաբերական կազմակերպությունների հրապարակներում, բնակելի և հասարակական շենքերի սենքերում և բնակելի կառուցապատման տարածքներում ձայնային ճնշման թույլատրելի մակարդակները` Լ, դԲ, (ձայնային ճնշման համարժեք մակարդակները` դԲ), ձայնի թույլատրելի համարժեք և առավելագույն մակարդակները անհրաժեշտ է ընդունել ըստ սույն նորմերի 1-ին աղյուսակի:
19. Բնակելի և հասարակական շենքերում նորմատիվ պահանջներն, ըստ աղմուկի մակարդակների, սահմանված են տարբեր կարգերի համար.
1) Ա կարգ` առավելագույն հարմարավետ պայմանների ապահովում,
2) Բ կարգ` հարմարավետ պայմանների ապահովում,
3) Գ կարգ` սահմանային թույլատրելի պայմանների ապահովում:
20. Շենքի կարգը սահմանվում է նախագծման տեխնիկական առաջադանքով: Ա կարգի հյուրանոցներին են դասվում միջազգային դասակարգմամբ չորս և հինգ աստղ ունեցող հյուրանոցները, Բ կարգին` երեք աստղ, Գ կարգին` երեք աստղից ցածրը:
Աղյուսակ 1
Սենքերի կամ տարածքների նշանակությունը Օրվա ժամանակը, ժ. Ձայնային ճնշման մակարդակը (ձայնային ճնշման համարժեք մակարդակը)` Լ, դԲ, միջին երկրաչափական հաճախությունների օկտավային շերտերում, Հց Ձայնի մակար-դակը` ԼԱ, Ձայնի առա-վելագույն մակար-դակը` ԼԱառ ., 31,5 63 125 250 500 1000 2000 4000 8000 1. Արտադրական կազմակերպությունների վարչակառավարման անձնակազմի աշխատանքային սենքեր, լաբորատորիաներ, վերլուծական և չափողական աշխատանքների համար սենքեր _ 93 79 70 63 58 55 52 50 49 60 70 2. Կարգավարական (դիսպետչերական) ծառայությունների աշխատանքային սենքեր, հեռախոսային խոսքային կապով դիտարկման և հեռակառավարման խցիկներ, ճշգրիտ հավաքման տեղամասեր, հեռախոսային և հեռագրական կայաններ, համակարգիչներով տեղեկությունների մշակման սրահներ _ 96 83 74 68 63 60 57 55 54 65 75 3.Փորձարարական աշխատանքներ կատարելու համար լաբորատորիաների սենքեր, առանց հեռախոսային խոսքային կապի դիտարկման և հեռակառավարման խցիկներ _ 103 91 83 77 73 70 68 66 64 75 90 4. Արտադրական կազմակերպությունների մշտական աշխատատեղերով սենքեր, մշտական աշխատատեղերով կազմակերպությունների տարածքներ (բացառությամբ սույն աղյուսակի 1-ից մինչև 3 կետերում թվարկված աշխատանքների) _ 107 95 87 82 78 75 73 71 69 80 95 5. Հիվանդանոցների և առողջարանների հիվանդասենյակներ 7.00 - 23.00 76 59 48 40 34 30 27 25 23 35 50 23.00 - 7.00 69 51 39 31 24 20 17 14 13 25 40 6. Հիվանդանոցների վիրահատարաններ, հիվանդանոցների, պոլիկլինիկաների և առողջարանների բժիշկների առանձնասենյակներ _ 76 59 48 40 34 30 27 25 23 35 50 7. Ուսումնական հաստատությունների դասասենյակներ, ուսումնական առանձնասենյակներ, լսարաններ, գրադարանների ընթերցասրահներ, ակումբների և կինոթատրոնների հանդիսասրահներ, դատական նիստերի դահլիճներ, պաշտամունքի շենքեր _ 79 63 52 45 39 35 32 30 28 40 55 8. Բնակարանների բնակելի սենյակներ. 1) Ա կարգի շենքերում 7.00 - 23.00 76 59 48 40 34 30 27 25 23 35 50 23.00 - 7.00 69 51 39 31 24 20 17 14 13 25 40 2) Բ և Գ կարգերի շենքերում 7.00 - 23.00 79 63 52 45 39 35 32 30 28 40 55 23.00 - 7.00 72 55 44 35 29 25 22 20 18 30 45 9. Հանրակացարանների բնակելի սենյակներ 7.00 - 23.00 83 67 57 49 44 40 37 35 33 45 60 23.00 - 7.00 76 59 48 40 34 30 27 25 23 35 50 10. Հյուրանոցների համարներ. 1) Ա կարգի 7.00 - 23.00 23.00 - 7.00 76 69 59 51 48 39 40 31 34 24 30 20 27 17 25 14 23 13 35 25 50 40 2) Բ կարգի 7.00 - 23.00 79 63 52 45 39 35 32 30 28 40 55 23.00 - 7.00 72 55 44 35 29 25 22 20 18 30 45 3) Գ կարգի 7.00 - 23.00 83 67 57 49 44 40 37 35 33 45 60 23.00 - 7.00 76 59 48 40 34 30 27 25 23 35 50 11. Հանգստյան տների, պանսիոնատների, տարեց և ֆիզիկական սահմանափակ հնարավորություններով մարդկանց և գիշերօթիկ տների բնակելի սենքեր, մանկական նախադպրոցական հիմնարկների և գիշերօթիկ դպրոցների ննջարաններ 7.00 - 23.00 79 63 52 45 39 35 32 30 28 40 55 23.00 - 7.00 72 55 44 35 29 25 22 20 18 30 45 12. Օֆիսների սենքեր, վարչական շենքերի կոնստրուկտորական, նախագծային և գիտահետազոտական կազմակերպությունների աշխատանքային սենքեր և առանձնասենյակներ. 1) Ա կարգի 2) Բ և Գ կարգերի - 83 86 67 71 57 61 49 54 44 49 40 45 37 42 35 40 33 38 45 50 60 65 13. Սրճարանների, ռեստորանների դահլիճներ, թատրոնների և կինոթատրոնների ճեմասրահներ. 1) Ա կարգի _ 86 71 61 54 49 45 42 40 38 50 60 2) Բ և Գ կարգերի 89 75 66 59 54 50 47 45 43 55 65 14. Խանութների առևտրասրահներ, կայարանների և օդանավակայանների ուղևորասրահներ, մարզադահլիճներ _ 93 79 70 63 58 55 52 50 49 60 70 15. Հիվանդանոցների և առողջարանների շենքերին անմիջապես հարակից տարածքներ 7.00 - 23.00 86 71 61 54 49 45 42 40 38 50 65 23.00 - 7.00 79 63 52 45 39 35 32 30 28 40 55 16. Բնակելի շենքերին, հանգստյան տներին, տարեց և ֆիզիկական սահմանափակ հնարավորություններով մարդկանց գիշերօթիկ տներին անմիջապես հարակից տարածքներ 7.00 - 23.00 90 75 66 59 54 50 47 45 44 55 70 23.00 - 7.00 83 67 57 49 44 40 37 35 33 45 60 17. Պոլիկլինիկաների, դպրոցների և այլ ուսումնական հաստատությունների, մանկական նախադպրոցական հիմնարկների շենքերին, միկրոշրջանների և բնակելի տների խմբերի հանգստահրապարակներին անմիջապես հարակից տարածքներ _ 90 75 66 59 54 50 47 45 44 55 70 18. Սույն աղյուսակի 1-ին, 5-ից մինչև 13-րդ կետերում նշված շենքերում աղմուկի թույլատրելի մակարդակները վերաբերում են միայն այլ սենքերից կամ դրսից ներթափանցող աղմուկներին: 19. Սույն աղյուսակի 5-ից մինչև 12-րդ կետերում տրված սենքերում արտաքին աղբյուրներից առաջացած աղմուկի թույլատրելի մակարդակները սահմանված են այն պայմանով, որպեսզի ապահովվի նորմատիվ օդափոխանակում, այսինքն` օդափոխման կամ օդի լավորակման հարկադրական համակարգի բացակայության դեպքում` թույլատրելի մակարդակները պետք է ապահովվեն օդանցքերի բաց լինելու պայմաններում կամ օդի ներհոսքն ապահովող այլ սարքերի առկայության դեպքում: Օդափոխման կամ օդի լավորակման հարկադրական համակարգերի առկայության դեպքում, որոնք ապահովում են նորմատիվ օդափոխանակումը, արտաքին աղմուկի թույլատրելի մակարդակները շենքերի մոտ (սույն աղյուսակի 15-ից մինչև 17-րդ կետերը) կարող են ավելացվել` փակ պատուհաններով շենքերում թույլատրելի մակարդակների ապահովման հաշվարկից ելնելով: 20. Աղմուկի տոնային և (կամ) իմպուլսային բնույթի դեպքում թույլատրելի մակարդակները պետք է ընդունել սույն աղյուսակում նշված մեծություններից 5դԲ (դԲԱ) –ով պակաս: 21. Օդափոխման, օդի լավորակման և օդային ջեռուցման համակարգերի սարքավորումներից, ինչպես նաև առևտրի և հասարակական սննդի ներկառուցված (կից կառուցված) կազմակերպությունների ջեռուցման, ջրամատակարարման և սառնարանային համակարգերի պոմպերի աղմուկի թույլատրելի մակարդակները պետք է ընդունել 1-ին աղյուսակում նշված արժեքներից 5դԲ (դԲԱ)-ով պակաս: Ընդ որում աղմուկի տոնայնության ուղղումը հաշվի չեն առնում: 22. Տրանսպորտային միջոցներից աղմուկի թույլատրելի մակարդակները (5,7-ից մինչև 10 և 12 կետերը) ընդունվում են սույն աղյուսակում նշված արժեքներից 5 դԲ-ով (5 դԲԱ-ով) բարձր:
(ձայնի համարժեք մակար-դակը`
Լ Ա հմժ), դԲԱ
դԲԱ
VII. ՀԱՇՎԱՐԿԱՅԻՆ ԿԵՏԵՐՈՒՄ ՁԱՅՆԱՅԻՆ ՃՆՇՄԱՆ ՄԱԿԱՐԴԱԿՆԵՐԻ ՈՐՈՇՈՒՄԸ
21. Արդյունաբերական կազմակերպությունների արտադրական և օժանդակ սենքերում հաշվարկային կետերն ընտրում են աշխատատեղերում և (կամ) մարդկանց մշտական գտնվելու տեղերում` հատակից 1,5 մ բարձրության վրա: Աղմուկի մեկ աղբյուր կամ մի քանի միանման աղբյուրներ ունեցող սենքում հաշվարկային մեկ կետ ընտրվում է աշխատատեղում, աղբյուրի անմիջական ձայնի գոտում, մյուսը` մարդկանց մշտական գտնվելու տեղերում անդրադարձող ձայնի գոտում, որն անմիջապես կապված չէ տվյալ աղբյուրի աշխատանքի հետ: Աղմուկի մի քանի աղբյուրներով սենքում, որոնց ձայնային հզորության մակարդակները տարբերվում են 10 դԲ-ով և ավելի, հաշվարկային կետերն ընտրվում են աշխատատեղերում առավելագույն և նվազագույն մակարդակներով աղբյուրների մոտ: Միատիպ սարքավորումով խմբային տեղաբաշխմամբ սենքում հաշվարկային կետերն ընտրում են աշխատատեղերում գտնվող առավելագույն և նվազագույն մակարդակներով խմբերի կենտրոններում:
22. Ձայնագիտական հաշվարկի համար ելակետային տվյալներ են.
1) սենքի հատակագիծը և կտրվածքը` տեխնոլոգիական ու ինժեներական սարքավորումների և հաշվարկային կետերի տեղաբաշխմամբ,
2) սենքի պատող կոնստրուկցիաների բնութագրերի վերաբերյալ (նյութը, հաստությունը, խտությունը և այլը) տեղեկությունները,
3) աղմուկի աղբյուրների ձայնային բնութագրերը և երկրաչափական չափերը:
23. Ոչ մշտական աղմուկի աղբյուրների համար տեխնոլոգիական և ինժեներական սարքավորումների աղմուկի բնութագրերը` ձայնային հզորության օկտավային մակարդակները` Լw , ձայնային հզորության ճշգրտված մակարդակները` ԼwԱ , ինչպես նաև համարժեք` ԼwԱհմժ , և առավելագույն` ԼwԱառ ձայնային հզորության ճշգրտված մակարդակները պետք է նշվեն այդ սարքավորումների տեխնիկական փաստաթղթերում` արտադրող գործարանների կողմից: Աղմուկի բնութագրերը թույլատրվում է ներկայացնել ձայնային ճնշման օկտավային մակարդակների` Լ, կամ աշխատատեղերում ձայնի մակարդակների` ԼԱ, տեսքով (սևեռված հեռավորության վրա)` առանձին աշխատող սարքավորումների դեպքում:
24. Հաշվարկային կետերի և այդ կետերում ձայնային ճնշման մակարդակների որոշումը տրված է սույն նորմերի 1-ին հավելվածում:
VIII. ԱՂՄՈՒԿԻ ՄԱԿԱՐԴԱԿՆԵՐԻ ՊԱՀԱՆՋՎՈՂ ՆՎԱԶԵՑՄԱՆ ՈՐՈՇՈՒՄԸ
25. Աղմուկի մակարդակների պահանջվող նվազեցումը`ΔLպհջ , հաճախությունների օկտավային շերտերում` դԲ, կամ ձայնի մակարդակներում` դԲԱ, անհրաժեշտ է որոշել 21-րդ կետին համապատասխան ընտրված յուրաքանչյուր հաշվարկային կետի համար: Փողոցի և ճանապարհի տրանսպորտային հոսքից, երկաթուղային գծերից, ջրային և օդային տրանսպորտից, ինչպես նաև արդյունաբերական գոտիներից և առանձին կազմակերպություններից առաջացող աղմուկի հաշվարկների դեպքում աղմուկի մակարդակների պահանջվող նվազեցումը նախագծման բոլոր փուլերում որոշվում է ձայնի մակարդակներով:
26. Տեխնիկատնտեսական հիմնավորման (ՏՏՀ) փուլերում աղմուկը հաշվարկելիս, արտադրական և օժանդակ շենքերի աշխատատեղերում և արդյունաբերական կազմակերպությունների հրապարակներում, բնակելի և հասարակական շենքերի սենքերի հաշվարկային կետերում աղմուկի մակարդակների պահանջվող նվազեցումը թույլատրվում է որոշել ձայնի մակարդակներով:
27. Աղմուկի մակարդակի պահանջվող նվազեցումը հաշվարկային կետերում` նախագծման աշխատանքային փուլում կամ կազմակերպության, բնակելի և հասարակական շինարարության օբյեկտների նախագծերում, որոշում են հաճախությունների նորմավորվող տիրույթի օկտավային շերտերում:
28. Աղմուկի մակարդակների պահանջվող նվազեցումը որոշում են սույն նորմերի 2-րդ հավելվածին համապատասխան:
IX. ՇԵՆՔԵՐԻ ՊԱՏՈՂ ԿՈՆՍՏՐՈՒԿՑԻԱՆԵՐԻ ՁԱՅՆԱՄԵԿՈՒՍԱՑՈՒՄԸ
29. Բնակելի և հասարակական, ինչպես նաև արտադրական կազմակերպությունների օժանդակ շենքերի ներքին պատող կոնստրուկցիաների ձայնամեկուսացման նորմավորվող պարամետրերն են` պատող կոնստրուկցիաներով օդային աղմուկի մեկուսացման ինդեքսները`Rw , դԲ, և հարվածային աղմուկի բերված մակարդակի ինդեքսները` Lբw , դԲ, (ծածկերի համար): Արտաքին պատող կոնստրուկցիաների (այդ թվում` պատուհանների, ցուցափեղկերի և ապակեպատման այլ ձևերի) ձայնամեկուսացման նորմավորվող պարամետրն է ձայնամեկուսացումը` RԱտր ., դԲԱ, որն իրենից ներկայացնում է քաղաքային տրանսպորտի հոսքից առաջացած արտաքին աղմուկի մեկուսացումը:
30. Բնակելի, հասարակական, ինչպես նաև արտադրական կազմակերպությունների օժանդակ շենքերի ներքին պատող կոնստրուկցիաներով օդային աղմուկի մեկուսացման` Rw , և հարվածային աղմուկի բերված մակարդակի` Lբw, ինդեքսների նորմատիվ արժեքները Ա, Բ, Գ կարգերի (տես սույն նորմերի 19-րդ կետը) շենքերի համար տրված են սույն հավելվածի 2-րդ աղյուսակում: Մինչև 25 մ2 մակերեսով բնակելի սենյակների, հյուրանոցների համարների, հանրակացարանների, վարչական շենքերի առանձնասենյակների և աշխատասենյակների, հիվանդասենյակների, բժիշկների առանձնասենյակների պատուհանների ձայնամեկուսացման նորմատիվ արժեքները` RԱտր , տրված են սույն հավելվածի 3-րդ աղյուսակում` կախված շենքի ճակատի մոտ տրանսպորտային աղմուկի հաշվարկային մակարդակից: Հաշվարկային մակարդակների միջանկյալ արժեքների համար RԱտր-ի պահանջվող մեծությունը հարկավոր է որոշել միջարկումով:
Աղյուսակ 2
|
Պատող կոնստրուկցիայի անվանումը և տեղադրումը |
Rw , դԲ |
Lբw , դԲ |
|
Բնակելի շենքեր | ||
|
1. Ծածկեր բնակարանների սենքերի միջև և բնակարանների սենքերը սանդղավանդակներից ու օգտագործվող ձեղնահարկային սենքերից անջատող ծածկեր. |
||
|
1) Ա կարգի շենքերում |
54 |
551) |
|
2) Բ կարգի շենքերում |
52 |
581) |
|
3) Գ կարգի շենքերում |
50 |
601) |
|
2. Ծածկեր բնակարանների սենքերի և դրանց տակ տեղակայված խանութների միջև. |
|
|
|
1) Ա կարգի շենքերում |
59 |
55 |
|
2) Բ և Գ կարգի շենքերում |
57 |
58 |
|
3. Ծածկեր երկու մակարդակներով բնակարանի սենյակների միջև. |
|
|
|
1) Ա կարգի շենքերում |
47 |
63 |
|
2) Բ կարգի շենքերում |
45 |
66 |
|
3) Գ կարգի շենքերում |
43 |
68 |
|
4. Ծածկեր հանրակացարանների բնակելի սենքերի միջև |
50 |
60 |
|
5. Հանրակացարանների մշակութակենցաղային սպասարկման սենքերը մեկը մյուսից և ընդհանուր օգտագործման սենքերից (սպասասրահներ, նախասրահներ և այլն) անջատող ծածկեր |
47 |
651) |
|
6. Ծածկեր բնակարանի սենքերի և դրանց տակ տեղակայված ռեստորանների, սրճարանների, մարզադահլիճների միջև. |
|
|
|
1) Ա կարգի շենքերում |
62 |
55 |
|
2) Բ և Գ կարգի շենքերում |
60 |
58 |
|
7. Ծածկեր բնակարանի սենքերի և դրանց տակ տեղակայված վարչական սենքերի, օֆիսների միջև. |
|
|
|
1) Ա կարգի շենքերում |
52 |
582) |
|
2) Բ և Գ կարգի շենքերում |
50 |
602) |
|
8. Պատեր և միջնորմներ բնակարանների միջև, բնակարանների, սենքերի և սանդղավանդակների, նախամուտքերի, միջանցքների նախասրահների միջև. |
||
|
1) Ա կարգի շենքերում |
54 |
- |
|
2) Բ կարգի շենքերում |
52 |
- |
|
3) Գ կարգի շենքերում |
50 |
- |
|
9. Պատեր բնակարանների սենքերի և խանութների միջև. |
||
|
1) Ա կարգի շենքերում |
59 |
- |
|
2) Բ և Գ կարգի շենքերում |
57 |
- |
|
10. Բնակարանների սենքերը ռեստորաններից, սրճարաններից և մարզադահլիճներից անջատող պատեր և միջնորմներ. |
||
|
1) Ա կարգի շենքերում |
62 |
- |
|
2) Բ և Գ կարգի շենքերում |
60 |
- |
|
11. Միջնորմներ բնակարաններում` սենյակների միջև, խոհանոցի և սենյակների միջև. |
||
|
1) Ա կարգի շենքերում |
43 |
- |
|
2) Բ և Գ կարգի շենքերում |
41 |
- |
|
12. Միջնորմներ միևնույն բնակարանի սանհանգույցի և սենյակի միջև |
47 |
|
|
13 .Պատեր և միջնորմներ հանրակացարանների սենյակների միջև |
50 |
- |
|
14. Հանրակացարանների մշակութակենցաղային սենքերը միմյանցից և ընդհանուր օգտագործման սենքերից (նախասրահներ, նախամուտքեր, սանդղավանդակներ) անջատող պատեր և միջնորմներ |
47 |
- |
|
15. Դեպի աստիճանավանդակներ, նախասրահներ և միջանցքներ դուրս եկող բնակարանների մուտքի դռներ. |
||
|
1) Ա կարգի շենքերում |
34 |
- |
|
2) Բ կարգի շենքերում |
32 |
- |
|
3) Գ կարգի շենքերում |
30 |
- |
|
Հյուրանոցներ | ||
|
16. Ծածկեր համարների միջև. |
||
|
1) Ա կարգի |
52 |
57 |
|
2) Բ կարգի |
50 |
60 |
|
3) Գ կարգի |
48 |
62 |
|
17. Համարներն ընդհանուր օգտագործման սենքերից (նախասրահներ, նախամուտքեր, բուֆետներ) անջատող ծածկեր. |
||
|
1) Ա կարգի |
54 |
55 502) |
|
2) Բ և Գ կարգերի |
52 |
58 532) |
|
18. Համարները ռեստորանների և սրճարանների սենքերից անջատող միջնորմներ. |
||
|
1) Ա կարգի |
62 |
57 452) |
|
2) Բ և Գ կարգերի |
59 |
60 482) |
|
19. Պատեր և միջնորմներ համարների միջև. |
||
|
1) Ա կարգի |
52 |
- |
|
2) Բ կարգի |
50 |
|
|
3) Գ կարգի |
48 |
- |
|
20. Համարներն ընդհանուր օգտագործման սենքերից (նախասրահներ, սպասասրահներ, սանդղավանդակներ, բուֆետներ) անջատող պատեր և միջնորմներ. |
||
|
1) Ա կարգի |
54 |
- |
|
2) Բ և Գ կարգերի |
52 |
- |
|
21. Համարները ռեստորաններից և սրճարաններից անջատող պատեր և միջնորմներ. |
||
|
1) Ա կարգի |
62 |
- |
|
2) Բ և Գ կարգերի |
59 |
- |
|
Վարչական շենքեր և օֆիսներ | ||
|
22. Ծածկեր` աշխատասենյակների, առանձնասենյակների, միջև և այդ սենքերի ու ընդհանուր օգտագործման սենքերի (նախասրահներ, նախամուտքեր) միջև. |
||
|
1) Ա կարգի |
52 |
632) |
|
2) Բ և Գ կարգերի |
50 |
662) |
|
23. Աշխատասենյակները, առանձնասենյակներն աղմուկի աղբյուր ունեցող սենքերից (մեքենագրական, հեռատիպային) անջատող ծածկեր. |
||
|
1) Ա կարգի |
54 |
602) |
|
2) Բ և Գ կարգերի |
52 |
632) |
|
24. Պատեր և միջնորմներ` առանձնասենյակների միջև, առանձնասենյակների և աշխատասենյակների միջև. |
||
|
1) Ա կարգի |
51 |
- |
|
2) Բ և Գ կարգերի |
49 |
- |
|
25. Աշխատասենյակներն ընդհանուր օգտագործման սենքերից (նախասրահներ, սպասասրահներ, բուֆետներ) և աղմուկի աղբյուր հանդիսացող սենքերից (մեքենագրական, հեռատիպային) անջատող պատեր և միջնորմներ. |
||
|
1) Ա կարգի |
50 |
- |
|
2) Բ և Գ կարգերի |
48 |
- |
|
26. Առանձնասենյակներն ընդհանուր օգտագործման սենքերից և աղմուկի աղբյուր հանդիսացող սենքերից անջատող պատեր և միջնորմներ |
||
|
1) Ա կարգի |
54 |
- |
|
2) Բ և Գ կարգերի |
52 |
- |
|
Հիվանդանոցներ և առողջարաններ | ||
|
27. Ծածկեր` հիվանդասենյակների, բժիշկների առանձնասենյակների միջև |
47 |
60 |
|
28. Ծածկեր` վիրահատարանների միջև, վիրահատարանների ու հիվանդասենյակների, առանձնասենյակների միջև |
57 |
60 |
|
29. Հիվանդասենյակները և բժիշկների առանձնասենյակներն ընդհանուր օգտագործման սենքերից (նախասրահներ, սպասասրահներ) առանձնացնող ծածկեր |
52 |
63 |
|
30. Հիվանդասենյակները և բժիշկների առանձնասենյակները ճաշարաններից ու խոհանոցներից անջատող ծածկեր |
57 |
502) |
|
31. Պատեր և միջնորմներ` հիվանդասենյակների, բժիշկների առանձնասենյակների միջև |
47 |
- |
|
32. Պատեր և միջնորմներ` վիրահատարանների միջև և վիրահատարանների ու այլ սենքերի միջև: Պատեր և միջնորմներ, որոնք անջատում են հիվանդասենյակներն ու առանձնասենյակները ճաշարաններից և խոհանոցներից |
57 |
- |
|
33. Հիվանդասենյակներն ու առանձնասենյակներն ընդհանուր օգտագործման սենքերից անջատող պատեր և միջնորմներ |
52 |
- |
|
Ուսումնական հաստատություններ | ||
|
34. Ծածկեր` դասասենյակների, առանձնասենյակների, լսարանների միջև և այդ սենքերն ընդհանուր օգտագործման սենքերից (նախամուտքեր, նախասրահներ, միջանցքներ) անջատող ծածկեր |
47 |
63 |
|
35. Ծածկեր միջնակարգ ուսումնական հաստատությունների երաժշտական դասասենյակների միջև |
57 |
58 |
|
36. Ծածկեր բարձրագույն ուսումնական հաստատությունների երաժշտական դասասենյակների միջև |
60 |
53 |
|
37. Պատեր և միջնորմներ` դասասենյակների, առանձնասենյակների և լսարանների և այդ սենյակների ու ընդհանուր օգտագործման սենքերի միջև |
47 |
- |
|
38. Պատեր և միջնորմներ` միջնակարգ ուսումնական հաստատությունների երաժշտական դասասենյակների, այդ սենքերի և ընդհանուր օգտագործման սենքերի միջև |
57 |
- |
|
39. Պատեր և միջնորմներ բարձրագույն ուսումնական հաստատությունների երաժշտական լսարանների միջև |
60 |
|
|
Մանկական նախադպրոցական հիմնարկներ | ||
|
40. Ծածկեր` խմբային սենյակների, ննջարանների միջև |
47 |
63 |
|
41. Խմբային սենյակները և ննջասենյակները խոհանոցներից անջատող ծածկեր |
51 |
632) |
|
42. Պատեր և միջնորմներ` խմբային սենյակների, ննջասենյակների և այլ մանկական սենյակների միջև |
47 |
- |
|
43. Խմբային սենյակները և ննջասենյակները խոհանոցներից անջատող պատեր և միջնորմներ |
51 |
- |
|
1) Պահանջը ներկայացվում է նաև հարակից բնակարանի (այդ թվում` նույն հարկում գտնվող) սենքի հատակի վրա հարվածային ազդեցության դեպքում բնակարանի բնակելի սենքեր հարվածային աղմուկի փոխանցմանը: 2) Պահանջը ներկայացվում է աղմուկի աղբյուր հանդիսացող սենքի հատակի վրա հարվածային ազդեցության դեպքում աղմուկից պաշտպանվող սենք հարվածային աղմուկի փոխանցմանը: | ||
Աղյուսակ 3
|
Սենքի նշանակությունը |
RԱտր -ի, դԲԱ, պահանջվող արժեքները` շենքի ճակատի մոտ ձայնի համարժեք մակարդակների դեպքում, տրանսպորտի առավել ինտենսիվ երթևեկության ժամանակ (ցերեկվա ընթացքում, «պիկ» ժամերին), դԲԱ | ||||
|
60 |
65 |
70 |
75 |
80 | |
|
1. Հիվանդանոցների, առողջարանների հիվանդասենյակները, բուժական հիմնարկների առանձնասենյակները |
15 |
20 |
25 |
30 |
35 |
|
2. Շենքերում բնակարանների բնակելի սենյակները. |
|||||
|
1) Ա կարգի շենքերում |
15 |
20 |
25 |
30 |
35 |
|
2) Բ և Գ կարգերի շենքերում |
- |
15 |
20 |
25 |
30 |
|
3. Հանրակացարանների բնակելի սենյակները |
- |
- |
15 |
20 |
25 |
|
4. Հյուրանոցների համարները. |
|||||
|
1) Ա կարգի |
15 |
20 |
25 |
30 |
35 |
|
2) Բ կարգի |
- |
15 |
20 |
25 |
30 |
|
3) Գ կարգի |
- |
- |
15 |
20 |
25 |
|
5. Հանգստյան տների, հաշմանդամների համար գիշերօթիկների բնակելի սենքերը |
15 |
20 |
25 |
30 |
35 |
|
6. Աշխատանքային սենյակները, առանձնասենյակները, վարչական շենքերում և գրասենյակներում. |
| ||||
|
1) Ա կարգի շենքերում |
- |
- |
15 |
20 |
25 |
|
2) Բ և Գ կարգերի շենքերում |
- |
- |
- |
15 |
20 |
31. Պատող կոնստրուկցիայով օդային աղմուկի մեկուսացման ինդեքսը` Rw, դԲ, հայտնի (հաշվարկված կամ չափված) օդային աղմուկի մեկուսացման հաճախության բնութագրով, պետք է որոշել սույն հավելվածի 4-րդ աղյուսակի 1-ին կետում տրված գնահատման կորի հետ հաճախության բնութագրի համադրման ճանապարհով: Օդային աղմուկի մեկուսացման ինդեքսը` Rw, որոշելու համար անհրաժեշտ է` որոշել գնահատման կորից տվյալ հաճախության բնութագրի անբարենպաստ շեղումների գումարը: Անբարենպաստ են համարվում գնահատման կորից դեպի ներքև շեղումները:
32. Եթե անբարենպաստ շեղումների գումարն առավել մոտ է 32 դԲ-ին, բայց չի գերազանցում այն, ապա ինդեքսի` Rw, մեծությունը պետք է ընդունել 52 դԲ:
Աղյուսակ 4
|
Ցուցանիշի անվանումը |
Մեկ երրորդ օկտավային շերտերի միջին երկրաչափական հաճախությունները, Հց | |||||||||||||||
|
100 |
125 |
160 |
200 |
250 |
315 |
400 |
500 |
630 |
800 |
1000 |
1250 |
1600 |
2000 |
2500 |
3150 | |
|
1. Օդային աղմուկի մեկուսացումը` R, դԲ |
33 |
36 |
39 |
42 |
45 |
48 |
51 |
52 |
53 |
54 |
55 |
56 |
56 |
56 |
56 |
56 |
|
2. Հարվածային աղմուկի |
62 |
62 |
62 |
62 |
62 |
62 |
61 |
60 |
59 |
58 |
57 |
54 |
51 |
48 |
45 |
42 |
|
3. Չափանմուշային սպեկտրի ճշգրտված ձայնային ճնշման մակարդակը` Li , դԲ |
55 |
55 |
57 |
59 |
60 |
61 |
62 |
63 |
64 |
66 |
67 |
66 |
65 |
64 |
62 |
60 |
33. Եթե անբարենպաստ շեղումների գումարը գերազանցում է 32 դԲ-ը` գնահատման կորը պետք է տեղաշարժել դեպի ներքև դեցիբելերի ամբողջական թվով այնպես, որպեսզի անբարենպաստ շեղումների գումարը չգերազանցի նշված մեծությունը:
34. Եթե անբարենպաստ շեղումների գումարը զգալիորեն փոքր է 32 դԲ-ից կամ դրանք բացակայում են` գնահատման կորը տեղաշարժում են դեպի վեր դեցիբելերի ամբողջական թվով այնպես, որպեսզի տեղաշարժված գնահատման կորից անբարենպաստ շեղումների գումարն առավելագույն չափով մոտենա 32 դԲ-ին` չգերազանցելով այդ մեծությունը:
35. Որպես ինդեքսի`Rw, մեծություն ընդունվում է վերև կամ ներքև տեղաշարժված գնահատման կորի օրդինատը 500 Հց միջին երկրաչափական հաճախությամբ մեկ երրորդ օկտավային շերտում:
36. Հարվածային աղմուկի բերված մակարդակի ինդեքսը` Lբw, հարվածային աղմուկի բերված մակարդակի հայտնի հաճախության բնութագրով ծածկի համար պետք է որոշել` համադրելով այդ հաճախության բնութագիրը սույն հավելվածի 4-րդ աղյուսակի 2-րդ կետում տրված գնահատման կորի հետ: Lբw ինդեքսը հաշվարկելու համար անհրաժեշտ է որոշել գնահատման կորից տվյալ հաճախության բնութագրի անբարենպաստ շեղումների գումարը: Անբարենպաստ են համարվում գնահատման կորից դեպի վեր շեղումները:
37. Եթե անբարենպաստ շեղումների գումարն առավելագույն չափով մոտենում է 32 դԲ-ին, բայց չի գերազանցում այն, ապա ինդեքսի`Lբw, մեծությունը պետք է վերցնել 60 դԲ:
38. Եթե անբարենպաստ շեղումների գումարը գերազանցում է 32 դԲ-ը` գնահատման կորը պետք է տեղաշարժել դեպի վեր (դեցիբելերի ամբողջական թվով) այնպես, որպեսզի տեղափոխված կորից անբարենպաստ շեղումների գումարը չգերազանցի նշված մեծությունը:
39. Եթե անբարենպաստ շեղումների գումարը զգալիորեն փոքր է 32 դԲ-ից կամ դրանք բացակայում են` գնահատման կորը պետք է տեղաշարժել դեպի ներքև (դեցիբելերի ամբողջական թվով) այնպես, որպեսզի տեղաշարժված գնահատման կորից անբարենպաստ շեղումների գումարն առավելագույն չափով մոտենա 32 դԲ-ին, բայց չգերազանցի այդ մեծությունը:
40. Որպես ինդեքսի` Lբw, մեծություն պետք է ընդունել վերև կամ ներքև տեղաշարժված գնահատման կորի օրդինատը 500 Հց միջին երկրաչափական հաճախությամբ մեկ երրորդ օկտավային շերտում:
41. Պատուհանի ձայնամեկուսացման` RԱտր, դԲԱ, մեծությունը պետք է որոշել պատուհանով օդային աղմուկի մեկուսացման հաճախության բնութագրի (հաշվարկված կամ չափված) հիման վրա` քաղաքային տրանսպորտի հոսքի չափանմուշային (էտալոնային) սպեկտրի օգնությամբ: Չափանմուշային սպեկտրի մակարդակները` ճշգրտված ըստ «Ա» հաճախության ճշտման կորի, 75 դԲԱ մակարդակով աղմուկի համար տրված են սույն հավելվածի 4-րդ աղյուսակի 3-րդ կետում:
42. Օդային աղմուկի հայտնի հաճախության բնութագրով (հաշվարկված կամ չափված) պատուհանի ձայնամեկուսացման` RԱտր, մեծությունը որոշելու համար անհրաժեշտ է` հաճախությունների յուրաքանչյուր մեկ երրորդ օկտավային շերտում չափանմուշային սպեկտրի մակարդակից` Li, հանել պատուհանի տվյալ կոնստրուկցիայով օդային աղմուկի մեկուսացման Ri մեծությունը: Մակարդակների ստացված մեծություններն անհրաժեշտ է էներգետիկորեն գումարել և գումարման արդյունքը հանել 75 դԲԱ-ին հավասար չափանմուշային աղմուկի մակարդակից: Պատուհանի ձայնամեկուսացումը` RԱտր, դԲԱ, որոշվում է հետևյալ բանաձևով.
|
, |
(1) |
որտեղ` Li- ըստ «Ա» հաճախության ճշտման կորի ճշգրտված հաճախությունների i-րդ մեկ երրորդ օկտավային շերտում չափանմուշային սպեկտրի ձայնային ճնշման մակարդակները, դԲ` (պետք է ընդունել ըստ սույն հավելվածի 4-րդ աղյուսակի 3-րդ կետի),
Ri – հաճախությունների i-րդ մեկ երրորդ օկտավային շերտում պատուհանի տվյալ կոնստրուկցիայով օդային աղմուկի մեկուսացումը, դԲ:
43. Պատող կոնստրուկցիաների պահանջվող ձայնամեկուսացումները որոշում են սույն նորմերի 3-րդ հավելվածին համապատասխան:
44. Պատող կոնստրուկցիաների ձայնամեկուսացման հաշվարկը պետք է կատարել պատնեշների (պատերի, ծածկերի) նոր կոնստրուկտիվ լուծումների մշակման, նոր շինարարական նյութերի և շինվածքների կիրառման դեպքում: Այդպիսի կոնստրուկցիաների ձայնամեկուսացման վերջնական գնահատումը պետք է կատարվի բնական փորձարկումների հիման վրա` ըստ համապատասխան ստանդարտի:
45. Նորմատիվ ձայնամեկուսացում ապահովող պատող կոնստրուկցիաների նախագծման հանձնարարականները տրված են սույն նորմերի 4-րդ հավելվածում:
X. ՁԱՅՆԱԿԼԱՆԻՉ ԿՈՆՍՏՐՈՒԿՑԻԱՆԵՐԸ, ԷԿՐԱՆՆԵՐԸ, ՊԱՇՏՊԱՆԱՊԱՏԵՐԸ
46. Արտադրական և հասարակական շենքերի աշխատատեղերում և մարդկանց մշտական գտնվելու գոտիներում հարկավոր է կիրառել ձայնակլանիչ կոնստրուկցիաներ (կախովի առաստաղներ, պատերի երեսպատվածքներ, ետնաբեմային և հատավոր կլանիչներ)` աղմուկի մակարդակները նվազեցնելու նպատակով: Ձայնակլանիչ երեսպատվածքների մակերեսը և հատավոր կլանիչների քանակը որոշվում են հաշվարկներով:
47. Հատավոր ձայնակլանիչները հարկավոր է կիրառել այն դեպքում, երբ երեսպատվածքները բավարար չեն աղմուկի պահանջվող նվազեցումը ստանալու համար, ինչպես նաև ձայնակլանիչ կախովի առաստաղի փոխարեն` երբ դրա իրականացումը հնարավոր չէ կամ քիչ արդյունավետ է (արտադրական մեծ բարձրությամբ սենքի, կամրջաձև ամբարձիչների, լուսային և օդափոխության երդիկների առկայությունը):
48. Ձայնակլանիչ կոնստրուկցիաները, որպես աղմուկի նվազեցման և սենքերի օպտիմալ ձայնագիտական պարամետրերի ապահովման պարտադիր միջոցառումներ, պետք է կիրառվեն.
1) արտադրական կազմակերպությունների աղմկոտ արտադրամասերում,
2) հաշվիչ կենտրոնների մեքենայասրահներում,
3) դպրոցների, հիվանդանոցների, հյուրանոցների, առողջարանների և այլի միջանցքներում և նախասրահներում,
4) երկաթուղային կայարանների, օդանավակայանների և ավտոկայանների գործարքային սրահներում և սպասասրահներում,
5) մարզադահլիճներում և լողավազաններում,
6) ձայնամեկուսիչ խցիկներում, մեկուսարաններում և ապաստարաններում:
49. Աղմուկի աղբյուրի և անձնակազմի (որն անմիջապես կապված չէ տվյալ աղբյուրի սպասարկման հետ) աշխատատեղերի միջև տեղադրվող էկրանները հարկավոր է կիրառել աշխատատեղերն ուղիղ ձայնից պաշտպանելու նպատակով (սույն նորմերի 1-ին հավելվածի 2-րդ կետ): Էկրանների կիրառումը բավականին արդյունավետ է միայն ձայնակլանիչ կոնստրուկցիաների զուգակցմամբ:
50. Պաշտպանապատն իրենից ներկայացնում է էկրան, որը բոլոր կողմերից օղակում է աղմուկի աղբյուրը: Պաշտպանապատերը նպատակահարմար է կիրառել այնպիսի աղմուկի աղբյուրի (աղբյուրների) համար, որի ձայնային հզորության մակարդակները 15 դԲ և ավելի չափով բարձր են աղմուկի մնացած աղբյուրների մակարդակներից:
51. Ձայնակլանիչ կոնստրուկցիաները պետք է տեղադրել առաստաղում և պատերի վերին մասերում: Ձայնակլանիչ կոնստրուկցիաները նպատակահարմար է տեղադրել առանձին տեղամասերով կամ շերտերով: 250 Հց-ից ցածր հաճախությունների դեպքում ձայնակլանիչ երեսպատման արդյունավետությունը մեծանում է` այն սենքի անկյուններում տեղադրելու դեպքում:
52. Աշխատատեղերում պետք է կիրառել էկրաններ, ուղիղ ձայնի (սույն նորմերի 1-ին հավելվածի 2-րդ կետ) ազդեցության և միջանկյալ գոտիներում` ձայնային ճնշման մակարդակները նվազեցնելու համար: Էկրանները հարկավոր է տեղադրել հնարավորին չափով աղմուկի աղբյուրին մոտ:
53. Էկրանների և պաշտպանապատերի տարբերակները և ձայնակլանիչ կոնստրուկցիաների արդյունավետության մեծության որոշումը տրված են սույն նորմերի 5-րդ հավելվածում:
XI. ՇԵՆՔԵՐԻ ԻՆԺԵՆԵՐԱԿԱՆ ՍԱՐՔԱՎՈՐՈՒՄՆԵՐԸ
54. Շենքերում աղմուկի ռեժիմի վրա էականորեն ազդող ինժեներական սարքավորումների թվին են պատկանում.
1) օդափոխման, օդի լավորակման և օդային ջեռուցման համակարգերը,
2) ներկառուցված տրանսֆորմատորային ենթակայանները (ՏԵ),
3) վերելակները,
4) ներկառուցված անհատական ջերմային կետերը (ԱՋԿ),
5) տանիքային կաթսայատները:
55. Օդափոխման, օդի լավորակման և օդային ջեռուցման համակարգերում աղմուկի աղբյուր են հանդիսանում` օդափոխիչները, օդորակիչները, ֆանկոյլները, ջեռուցիչ կալորիֆերները, օդատարների կարգավորող սարքերը (կարգավորող կափարիչները, մղափականները, կափույրները, փականները), օդաբաշխիչ սարքերը (ճաղավանդակները, լուսամփոփները, հողմաչափիչները), օդատարերի ոլորանները և ճյուղավորումները, օդորակիչների պոմպերը և ճնշակները: Աղմուկի աղբյուրների աղմուկի բնութագրերը պետք է գրանցված լինեն օդափոխման սարքավորման անձնագրերում և գրացուցակներում:
56. Օդափոխիչի աղմուկը նվազեցնելու համար հարկավոր է.
1) ընտրել ձայնային հզորության նվազագույն տեսակարար մակարդակներով ագրեգատներ,
2) ապահովել օդափոխիչի աշխատանքն առավելագույն օգտակար գործողության գործակցի (ՕԳԳ-ի) գործելակարգով,
3) նվազեցնել ցանցի դիմադրողականությունը և չօգտագործել ավելորդ ճնշում ստեղծող օդափոխիչ,
4) ապահովել օդի սահուն մոտեցում օդափոխիչի մուտքի խողովակաոստին:
57. Օդափոխիչից օդատարերով աղմուկի տարածման ճանապարհին աղմուկը նվազեցնելու համար հարկավոր է.
1) նախատեսել կենտրոնական (անմիջապես օդափոխիչի մոտ) և եզրային (օդատարում օդաբաշխիչ սարքավորումներից առաջ) աղմուկի խլացուցիչներ,
2) ցանցերում օդի շարժման արագությունը սահմանափակել մի մեծությամբ` ինչը սպասարկող սենքում կապահովի կարգավորող և օդաբաշխիչ սարքերով առաջացող աղմուկի մակարդակները թույլատրելի մեծությունների սահմաններում:
58. Որպես օդափոխության համակարգի աղմուկի խլացուցիչներ կարող են օգտագործվել` խողովակային, թիթեղնավոր գլանային և խցային, ինչպես նաև ներսից ձայնամեկուսիչ նյութերով երեսպատված օդատարերը և դրանց ոլորանները: Խլացուցիչի կոնստրուկցիան հարկավոր է ընտրել համապատասխան հաշվարկների հիման վրա` կախված օդատարի չափից, աղմուկի մակարդակների պահանջվող նվազեցումից, օդի թույլատրելի արագությունից:
59. Ինժեներական սարքավորումից առաջացած բարձր աղմուկի ներթափանցումը շենքի այլ սենքեր կանխարգելելու համար հարկավոր է.
1) օդափոխության խցիկների, ՏԵ-ների, ԱՋԿ-երի, վերելակային հորանների և այլի մոտ չտեղադրել աղմուկից մեծ պաշտպանություն պահանջող սենքեր,
2) ագրեգատները թրթռամեկուսացնել զսպանակային կամ ռետինե թրթռամեկուսիչների օգնությամբ,
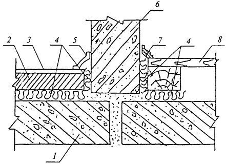
3) օդափոխության խցերում և աղմկոտ սարքավորումներով այլ սենքերում կիրառել ձայնակլանիչ երեսպատվածքներ,
4) նշված շենքերում օգտագործել առաձգական հիմքով հատակներ (լողացող հատակներ),
5) աղմկոտ սարքավորումով սենքում կիրառել պահանջվող ձայնամեկուսացմամբ պատող կոնստրուկցիաներ:
60. Առաձգական հիմքով հատակները (լողացող հատակները) հարկավոր է իրականացնել սենքի ամբողջ մակերեսով` 60-ից մինչև 80 մմ-ից ոչ պակաս հաստությամբ երկաթբետոնե սալերից: Որպես առաձգական շերտ կարելի է կիրառել 50- ից մինչև 100 կգ/մ3 խտությամբ ապակեթելքային կամ հանքաբամբակային սալեր կամ ներքնակներ: Նյութի 50 կգ/մ3 խտության դեպքում գումարային բեռնվածքը (սալի և ագրեգատի կշիռը) չպետք է գերազանցի 10 կՊա-ը, 100 կգ/մ3 խտության դեպքում` 20 կՊա-ը:
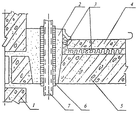
61. Վերելակային հորանները նպատակահարմար է տեղադրել սանդղավանդակում` սանդղաբազուկների միջև: Բնակելի շենքի ճարտարապետահատակագծային լուծումը պետք է նախատեսել այնպես, որպեսզի ներկառուցված վերելակային հորանին սահմանակից լինեն այն սենքերը, որոնք չեն պահանջում աղմուկից բարձր պաշտպանություն (նախասրահները, միջանցքները, խոհանոցները, սանհանգույցները): Բոլոր վերելակային հորանները պետք է ունենան ինքնուրույն հիմք և անջատված լինեն շենքի այլ կոնստրուկցիաներից 40-ից մինչև 50 մմ լայնությամբ ձայնագիտական կարանով:
62. Ներկառուցված պոմպակայանների, ԱՋԿ-երի, կաթսայատների խողովակաշարերի համակարգերում հարկավոր է նախատեսել ռետինագործվածքի ճկափողերի տեսքով ճկուն ներդիրներ (անհրաժեշտության դեպքում ամրանավորված մետաղական պարույրներով): Ճկուն ներդիրները հարկավոր է տեղադրել հնարավորին չափ պոմպերին մոտ:
XII. ՔԱՂԱՔՆԵՐԻ ՈՒ ԲՆԱԿԱՎԱՅՐԵՐԻ ԲՆԱԿԵԼԻ ՏԱՐԱԾՔՆԵՐԸ
63. Քաղաքների և գյուղական բնակավայրերի բնակելի տարածքների հատակագծումը և կառուցապատումը հարկավոր է իրականացնել` հաշվի առնելով աղմուկի թույլատրելի մակարդակների ապահովումը սույն նորմերի VI բաժնի համաձայն:
64. Միկրոշրջանների և խմբային բնակելի շենքերի հանգստի հրապարակներում, մանկական նախադպրոցական հիմնարկների խաղահրապարակներում, դպրոցների և հիվանդանոցների տարածքներում հաշվարկային կետերը հարկավոր է ընտրել` աղմուկի աղբյուրին առավել մոտ հրապարակի սահմանում և գետնի մակերևույթից 1,5 մ բարձրության վրա: Եթե հրապարակի մի մասը գտնվում է շենքի, կառուցվածքի կամ այլ էկրանավորող օբյեկտի ձայնային ստվերի գոտում, իսկ մյուսը` ուղիղ ձայնի ազդեցության գոտում, ապա հաշվարկային կետը պետք է գտնվի ձայնային ստվերի գոտուց դուրս:
65. Բնակելի տներին և այլ շենքերին անմիջականորեն հարակից տարածքների հաշվարկային կետերը, որոնցում ներթափանցող աղմուկի մակարդակները նորմավորվում են սույն շինարարական նորմերի VI բաժնով, հարկավոր է ընտրել աղմուկի աղբյուրի կողմն ուղղված շենքի ճակատից 2 մ հեռավորության և գետնի մակերևույթից 12 մ մակարդակի վրա, սակավահարկ շենքերի համար` վերջին հարկի պատուհանների մակարդակի վրա:
66. Բնակավայրի տեխնիկատնտեսական հիմնավորման և գլխավոր հատակագծի մշակման փուլում, բնակելի տարածքների վրա աղմուկի ազդեցության նվազեցման նպատակով, հարկավոր է կիրառել հետևյալ միջոցները.
1) տարածքի գործառնական գոտիավորում` արդյունաբերական, կոմունալ-պահեստային գոտիներից և հիմնական տրանսպորտային ուղիներից` բնակելի և հանգստի գոտիների անջատմամբ,
2) արագընթաց և բեռնատար երթևեկության մայրուղային ճանապարհների ուղեգծում` բնակելի և հանգստի գոտիների շրջանցմամբ,
3) ըստ տրանսպորտային հոսքերի կազմի` ճանապարհափողոցային ցանցի տարբերակում` մասնագիտացված մայրուղիներում բեռնատար երթևեկության հիմնական ծավալի առանձնացմամբ,
4) բնակելի կառուցապատման տարածքից հնարավորին չափով դուրս անցնող (արդյունաբերական և կոմունալ-պահեստային գոտիների սահմաններում, երկաթուղու օտարման շերտերում և պաշտպանական գոտիներում), բարձր թողունակությամբ, ոչ մեծ քանակի մայրուղային ճանապարհների վրա տրանսպորտային հոսքերի խտացում,
5) միջմայրուղային տարածքների խոշորացում` տրանսպորտային մայրուղիներից հիմնական կառուցապատման զանգվածների հեռացման նպատակով,
6) բնակելի շրջանների և բնակելի շենքերի խմբերի սահմանում ավտոմոբիլների կայանման համակարգի ստեղծում,
7) կանաչ գոտիների համաքաղաքային համակարգերի կազմավորում:
67. Ոչ մեծ բնակավայրի, բնակելի շրջանի, միկրոշրջանի նախագծի մանրամասն հատակագծման փուլում աղմուկից պաշտպանության համար պետք է ձեռնարկել հետևյալ միջոցները.
1) մայրուղային ճանապարհի կամ երկաթուղու մոտ ոչ մեծ բնակավայրի տեղադրման դեպքում, երբ դրանց միջև հեռավորությունը չի ապահովում աղմուկի անհրաժեշտ նվազեցումը, օգտագործել աղմկապաշտպանիչ էկրաններ` տեղանքի ռելիեֆի բնական կամ արհեստական տարրերի` փորվածքի թեքության, հողաթմբերի, պատերի, սրահների տեսքով, ինչպես նաև դրանց զուգակցմամբ (օրինակ, լիցք և պատ): Պետք է հաշվի առնել, որ այդպիսի էկրանները բավականին արդյունավետ են միայն սակավահարկ կառուցապատման դեպքում:
2) քաղաքային կառուցապատման մեջ բնակելի շրջանների, միկրոշրջանների համար առավել արդյունավետ է համարվում մայրուղային փողոցների կառուցապատման առաջին շարքում աղմկապաշտպանիչ էկրանային շենքերի տեղադրումը, որոնք պաշտպանում են միջթաղամասային տարածությունը տրանսպորտային աղմուկից:
68. Որպես շենքեր-էկրաններ կարող են օգտագործվել ոչ բնակելի նշանակության շենքերը` խանութներ, ավտոտնակներ, կոմունալ-կենցաղային սպասարկման կազմակերպությունների շենքեր, սակայն այդ շենքերն պետք է ունենան երկու հարկից ոչ ավելի բարձրություն, ինչի պատճառով դրանց էկրանավորման արդյունավետությունը մեծ չէ: Առավել արդյունավետ են բազմահարկ աղմկապաշտպանիչ բնակելի և վարչական շենքերը:
69. Որպես աղմկապաշտպանիչ բնակելի շենքեր կարող են լինել.
1) հատուկ ճարտարապետահատակագծային լուծմամբ շենքերը, որոնք նախատեսում են` բնակարանների օժանդակ սենքերի (խոհանոցներ, լողարաններ, սանհանգույցներ), արտաբնակարանային հաղորդակցուղիների (սանդղա-վերելակային հանգույցներ, միջանցքներ), ինչպես նաև երեք և ավելի բնակելի սենյակով բնակարանների մեկ սենյակի, կողմնորոշումը դեպի աղմուկի աղբյուրը (մայրուղիները),
2) աղմուկից պահանջվող պաշտպանությունն ապահովող, դեպի մայրուղի կողմնորոշված, ճակատամասում աղմկապաշտպանիչ պատուհաններով շենքերը,
3) հատուկ ճարտարապետահատակագծային լուծումով և դեպի մայրուղի կողմնորոշված աղմկապաշտպանիչ պատուհաններով` համակցված տիպի շենքերը:
70. Աղմկապաշտպանիչ շենքերը պետք է նախագծվեն և տեղակայվեն արևահարման և նորմատիվ օդափոխանակության պահանջների պարտադիր հաշվառմամբ, այսինքն` հատուկ հատակագծային լուծումով շենքերը պիտանի չեն լայնութենական կողմնորոշմամբ` փողոցները հյուսիսային կողմից կառուցապատելու համար: Աղմկապաշտպանիչ պատուհանները պետք է ունենան աղմուկի խլացուցիչների հետ համակցված օդափոխության սարքեր: Վերջին պահանջը չի վերաբերվում օդափոխության կամ օդի լավորակման հարկադրական համակարգերով շենքերին:
71. Էկրանավորման առավելագույն արդյունավետություն ապահովելու համար աղմկապաշտպանիչ շենքերը պետք է լինեն բավականին բարձր և երկարաձգված, տեղակայված լինեն աղմուկի աղբյուրին հնարավորին չափ մոտ: Դրանք պետք է տեղաբաշխվեն մայրուղային փողոցներից և երկաթուղային ճանապարհներից նվազագույն հեռավորության վրա` քաղաքաշինական նորմերի և արտաքին պատող կոնստրուկցիաների ձայնամեկուսիչ բնութագրերի հաշվառմամբ:
72. Ներթաղամասային տարածություններում, կառուցապատման առաջին շարքի լայնական առանցքների մոտ գտնվող գոտիներում, հարկավոր է տեղադրել` նախադպրոցական հաստատությունների, դպրոցների, պոլիկլինիկաների շենքերը, հանգստյան հրապարակները: Կառուցապատման առաջին շարքի շենքերի միջև գտնվող տարածքների դիմացի գոտիներում հարկավոր է տեղադրել առևտրի, հասարակական սննդի, կոմունալ-կենցաղային սպասարկման, կապի և այլ կազմակերպություններ:
73. Աղմկապաշտպանիչ էկրանների արդյունավետությունը բարձրացնելու համար դրանք պետք է տեղադրել մայրուղուց կամ երկաթուղուց նվազագույն թույլատրելի հեռավորության վրա` հաշվի առնելով երթևեկության անվտանգության, ճանապարհների և տրանսպորտային միջոցների շահագործման պահանջները:
74. Էկրան-պատերի կառուցման համար օգտագործվող նյութերը պետք է լինեն երկարակյաց, մթնոլորտային գործոնների և արտանետված գազերի ազդեցության նկատմամբ կայուն: Էկրանների երեսպատման համար օգտագործվող ձայնակլանիչ նյութերը պետք է ունենան կայուն ֆիզիկամեխանիկական և ձայնագիտական բնութագրեր, լինեն կենսակայուն և խոնավակայուն, չարտազատեն վնասակար նյութեր:
XIII. ԴԱՀԼԻՃՆԵՐԻ ՁԱՅՆԱԳԻՏՈՒԹՅՈՒՆԸ (ԱԿՈՒՍՏԻԿԱՆ)
75. Դահլիճային սենքերի ձայնագիտական (ակուստիկական) նախագծման գործընթացը պետք է ներառի.
1) սենքի եզրաչափերի և ձևի ընտրություն` դահլիճների ծավալահատակագծային լուծմանը ներկայացվող ընդհանուր պահանջների պահպանմամբ,
2) դահլիճի ձայնագիտության ընդհանրական գնահատականի արժանահավատության ստուգում` ըստ վիճակագրական տեսության,
3) դահլիճի հետարձագանքման (ռևերբերացիայի) ժամանակի հաճախության բնութագրի հաշվարկ` նրա ծավալային օպտիմումի համապատասխանությունը բացահայտելու համար (նկար 1-ին) և պատող կունստրուկցիաների մասով նախագծի անհրաժեշտ ճշտում,
4) դահլիճի գծագրերի գրաֆիկական վերլուծություն` դրա պատնեշների (պատող կոնստրուկցիաների) ձևի և ուրվագծի մասով նախագծի անհրաժեշտ ճշտումով,
5) դահլիճի ձայնային դաշտի հավասարաչափ բաշխման բարելավման միջոցառումների մշակում,
6) տեղային ձայնագիտականական չափանիշների հաշվարկն ըստ օպտիմումների գոտիներին դրանց համապատասխանության` անհրաժեշտության դեպքում նախագծի լրացուցիչ ճշտմամբ,
7) դահլիճի աղմուկի գործելակարգի (ռեժիմի) գնահատականը` նրա բարելավման անհրաժեշտ միջոցառումների մշակմամբ,
8) դահլիճի էլեկտրաձայնային գործելակարգի գնահատականը` անհրաժեշտ միջոցառումների մշակմամբ:
1 – դահլիճներ երգչախմբերի և երգեհոնային երաժշտության համար, 2 – դահլիճներ սիմֆոնիկ երաժշտության համար, 3 – կամերային երաժշտության և օպերային թատրոնների դահլիճներ, 4 – բազմանպատակ նշանակության դահլիճներ, երաժշտադրամատիկական թատրոնների դահլիճներ, մարզադահլիճներ, 5 – դասախոսական դահլիճներ, նիստերի դահլիճներ, դրամատիկական թատրոնների դահլիճներ, կինոդահլիճներ, ուղևորների սպասասրահներ
Նկար 1– Տարբեր նշանակության դահլիճների համար հետարձագանքման հանձնարարվող ժամանակը միջին հաճախություններում (500-ից մինչև 1000 Հց)` կախված դահլիճի ծավալից
76. Յուրաքանչյուր դահլիճում ծավալահատակագծային լուծմանը ներկայացվող պահանջները պետք է պահպանվեն ` կախված դահլիճի ստույգ նշանակությունից, տարբերակված հետևյալ կերպ.
24-25, 28-29, 30-32, 20-22, ե) երգչամբային և երգեհոնային համերգների, սիմֆոնիկ երաժշտության համերգային դահլիճներում, 42-46, 48-50
1) Տեսակարար օդային ծավալը մեկ հանդիսատեսի համար պետք է կազմի, մ3.
ա) դրամատիկական թատրոնների դահլիճներում, լսարաններում, կոնֆերենց (գիտաժողովների) դահլիճներում
4 - 5,
բ) երաժշտադրամատիկական թատրոնների դահլիճներում (օպերետա)
5 - 7,
գ) օպերայի և բալետի թատրոնների դահլիճներում
6 - 8,
դ) կամերային երաժշտության համերգային դահլիճներում
6 - 8,
ե) սիմֆոնիկ երաժշտության համերգային դահլիճներում
8 - 10,
զ) երգչախմբային և երգեհոնային համերգների դահլիճներում
10-12,
է) բազմանպատակային դահլիճներում
4 - 6,
ը) ժամանակակից էստրադային երաժշտության համերգային դահլիճներում (կինոհամերգային դահլիճներում)
4 - 6,
2) Դահլիճնելի առավելագույն երկարությունը` Lթյլ, պետք է կազմի, մ.
ա) դրամատիկական թատրոնների դահլիճներում, լսարաններում, գիտաժողովների դահլիճներում
բ) օպերային թատրոններում
գ) օպերայի և բալետի թատրոններում
դ) կամերային երաժշտության համերգային դահլիճներում
զ) 1000 նստատեղից ավելի տարողությամբ բազմանպատակային դահլիճներում
30-34,
է) ժամանակակից էստրադային երաժշտության համերգային դահլիճներում
3) Ձայնային դաշտի բավարար հավասարաչափ բաշխվածություն ստանալու համար հարկավոր է ճիշտ ընտրել դահլիճի ձևը և համաչափությունը:
4) Դահլիճի հիմնական չափերը և համաչափությունները պետք է ընտրվեն` ելնելով հետևյալ պայմաններից.
L ≤ Lթյլ, B = Sհ / L, H = V/Sհ, 1 < L/B < 2, 1 < B/H < 2,
որտեղ` L –դահլիճի երկարությունը ըստ նրա կենտրոնական առանցքի, մ,
Lթյլ– դահլիճի սահմանային թույլատրելի երկարությունը, մ,
В և Н – դահլիճի համապատասխանաբար միջին լայնությունը և բարձրությունը, մ,
V – դահլիճի ընդհանուր օդային ծավալը, մ3,
Sհ – դահլիճի հատակի մակերեսը, մ2:
5) Հատակագծում ուղղանկյուն ձևը, հարթ հորիզոնական առաստաղով, թույլատրելի է միայն ոչ մեծ` մինչև 200 մարդ տարողությամբ, դասախոսական դահլիճների համար: Հանդիսադահլիճների բոլոր մնացած դեպքերում դահլիճների հատակագծի օպտիմալ ձև է հանդիսանում սեղանաձևը` 10-ից մինչև 120 բացման անկյունով:
6) Հարթ, զուգահեռ մակերևույթների առկայությունը «Ճախրող արձագանքի» առաջացման վտանգ է կրում, իսկ գոգավոր կորություններինը` ձայնի կենտրոնացման (ֆոկուսավորման):
77. Հանդիսադահլիճներում աղմուկի նորմերն ապահովելու նպատակով անհրաժեշտ է.
1) շենքի ճարտարապետահատակագծային լուծման ժամանակ դահլիճին կից չտեղադրել ինտենսիվ աղմուկի աղբյուրներով սենքեր (օդափոխության խցիկներ, պոմպակայաններ և այլ),
2) դահլիճում կիրառել պահանջվող մեկուսացմամբ պատող կոնստրուկցիաներ` հատուկ ուշադրություն դարձնելով համեմատաբար ցածր ձայնամեկուսացմամբ տարրերի (պատուհաններ, դռներ) վրա,
3) միջոցներ ձեռնարկել օդափոխության և օդի լավորակման համակարգերի աղմուկը մինչև թույլատրելի արժեքները նվազեցնելու համար (խլացուցիչներ, օդաբաշխիչ սարքերում օդի արագության սահմանափակում):
78. Դահլիճի նախագծի էլեկտրաձայնային մասի մշակումը կատարվում է հատուկ ծրագրով և հիմնվում է դահլիճի բնական ձայնային հաշվարկի ժամանակ ստացված պարամետրերի վրա:
79. Դահլիճի ներսույթի (ինտերիերի) ձևավորումը և բնութագրերի որոշումը տրված է սույն նորմերի 6-րդ հավելվածում:
ՀԱՎԵԼՎԱԾ 1
Հաշվարկային կետերի և այդ կետերում ձայնային ճնշման մակարդակների որոշումը
1. Ձայնային ճնշման օկտավային մակարդակները` Լ, դԲ, համաչափ սենքերի (երկրաչափական առավելագույն և նվազագույն չափերի 5-ից ոչ ավելի հարաբերությամբ) հաշվարկային կետերում աղմուկի մեկ աղբյուրի աշխատելու ընթացքում, հարկավոր է որոշել հետևյալ բանաձևով.
|
L = Lw + 10.lg |
( |
χΦ |
+ |
4 |
) |
, (1.1) |
|
Ωr2 |
kB |
որտեղ `Lw – ձայնային հզորության օկտավային մակարդակը, դԲ,
χ - գործակից, որը հաշվի է առնում մոտակա դաշտի ազդեցությունն այն դեպքերում, երբ r հեռավորությունը փոքր է աղբյուրի կրկնապատիկ առավելագույն եզրաչափից (r < 21առ) (պետք է ընդունել ըստ 1.1 աղյուսակի),
Ф – աղմուկի աղբյուրի ուղղվածության գործոնը (համաչափ ճառագայթմամբ աղբյուրների համար Ф = 1),
Ω - աղբյուրի ճառագայթման տարածական անկյունը, ռադ. (պետք է ընդունել ըստ սույն հավելվածի 2-րդ աղյուսակի),
r – աղմուկի աղբյուրի ձայնային կենտրոնից (եթե ձայնային կենտրոնի ստույգ դիրքը հայտնի չէ, ապա այն ընդունվում է համընկած երկրաչափական կենտրոնի հետ) մինչև հաշվարկային կետը եղած հեռավորությունը` մ,
k – գործակից, որը հաշվի է առնում սենքում ձայնային դաշտի հավասարաչափ բաշխվածության խախտումը (պետք է ընդունել ըստ սույն հավելվածի 3-րդ աղյուսակի` կախված ձայնակլանման միջին գործակցից` αմջն),
В – սենքի ձայնագիտական հաստատունը, մ2, որը որոշվում է հետևյալ բանաձևով`
|
В= |
A |
, |
(1.2) |
|
1-αմջն |
որտեղ` А – ձայնակլանման համարժեք մակերեսը, մ2, որը որոշվում է հետևյալ բանաձևով`
|
А= |
n i=1 |
m ∑ Аj nj i=1 |
, |
(1.3) |
որտեղ`αi- i-րդ մակերևույթի ձայնակլանման գործակիցը,
Si - i-րդ մակերևույթի մակերեսը, մ2,
Аj - j-րդ հատավոր կլանիչի ձայնակլանման համարժեք մակերեսը, մ2,
ոj - j-րդ հատավոր կլանիչի քանակը, հատ,
αմջն – ձայնակլանման միջին գործակիցը, որը որոշվում է հետևյալ բանաձևով`
|
αմջն = |
A |
, |
(1.4) |
|
Sպտ |
Sպտ- սենքի պատող մակերևույթի գումարային մակերեսը, մ2:
Աղյուսակ 1
|
r/Lառ |
χ |
10 lg χ, дБ |
|
0,6 |
3 |
5 |
|
0,8 |
2,5 |
4 |
|
1,0 |
2 |
3 |
|
1,2 |
1,6 |
2 |
|
1,5 |
1,25 |
1 |
|
2 |
1 |
0 |
Աղյուսակ 1
|
Ճառագայթման պայմանները |
Ω, ռադ. |
10 lg Ω, դԲ |
|
Տարածության մեջ` աղբյուրը սենքում սյան, կայմասյան, խողովակի վրա է |
4 π |
11 |
|
Կիսատարածության մեջ` աղբյուրը հատակի, գետնի, պատի վրա է |
2 π |
8 |
|
1/4-րդ տարածության մեջ` աղբյուրը երկնիստ անկյունում է (հատակի վրա` մեկ պատի մոտ) |
π |
5 |
|
1/8-րդ տարածության մեջ` աղբյուրը եռանիստ անկյունում է (հատակի վրա` երկու պատերի մոտ) |
π/2 |
2 |
Աղյուսակ 1
|
αմջն |
k |
10 . lg k, բԲ |
|
0,2 |
1,25 |
1 |
|
0,4 |
1,6 |
2 |
|
0,5 |
2,0 |
3 |
|
0,6 |
2,5 |
4 |
2. Աղմուկի մեկ աղբյուրով սենքում սահմանային շառավիղը, rսհմ, մ ` հեռավորությունն է աղբյուրի ձայնային կենտրոնից, որտեղ ուղղագիծ ձայնի էներգիայի խտությունը հավասար է անդրադարձած ձայնի էներգիայի խտությանը: Այն որոշվում է հետևյալ բանաձևով.
|
. |
(1.5) |
1) Եթե աղբյուրը տեղադրված է սենքի հատակի վրա, սահմանային շառավիղը որոշվում է հետևյալ բանաձևով.
|
. |
(1.6) |
2) Մինչև 0,5 rսհմ հեռավորության վրա հաշվարկային կետերը կարելի է ընդունել ուղղագիծ ձայնի ազդեցության գոտում գտնվող: Այս դեպքում ձայնային ճնշման օկտավային մակարդակներն անհաժեշտ է որոշել հետևյալ բանաձևով.
|
L= Lw + 10 . lg Ф + 10. lg χ - 20 . lgr - 10 . lgΩ, |
(1.7) |
3) 2 rսհմ –ից ավել հեռավորության վրա գտնվող հաշվարկային կետերը կարելի է ընդունել անդրադարձած ձայնի ազդեցության գոտում գտնվող: Այս դեպքում ձայնային ճնշման օկտավային մակարդակները որոշվում են հետևյալ բանաձևով.
|
L= Lw - 10 . lg B - 10. lg k + 6 , |
(1.8) |
3. Մի քանի աղմուկի աղբյուր ունեցող համաչափ սենքի հաշվարկային կետերում ձայնային ճնշման օկտավային մակարդակները` Լ, դԲ, պետք է որոշել հետևյալ բանաձևով.
|
(1.9) |
որտեղ` Lwi - i-րդ աղբյուրի ձայնային հզորության օկտավային մակարդակը, դԲ,
χi , Фi, ri – նույնն են, ինչ որ (1.1) և (1.6) բանաձևերում է, սակայն i-րդ աղբյուրի համար,
m – հաշվարկային կետին ամենամոտը գտնվող աղմուկի աղբյուրների քանակը (ri ≤ 5 rmiո, հեռավորության վրա գտնվող, որտեղ rmiո- ը հեռավորությունն է հաշվարկային կետից մինչև մոտակա աղմուկի աղբյուրի ձայնային կենտրոն),
ո – սենքում աղմուկի աղբյուրների ընդհանուր քանակը,
K և B - նույնն են, ինչ որ (1.1) և (1.8) բանաձևերում:
1) Եթե բոլոր ո աղբյուրներն ունեն միևնույն ձայնային հզորությունը` Lwi, ապա`
|
, |
(1.10) |
4. Եթե աղմուկի աղբյուրը և հաշվարկային կետը տեղաբաշխված են տարածքում, որտեղ դրանց միջև հեռավորությունն աղմուկի աղբյուրի առավելագույն չափի կրկնապատիկից ավելի է և դրանց միջև չկան խոչընդոտներ, որոնք էկրանավորեն կամ անդրադարձնեն ձայնը հաշվարկային կետի ուղղությամբ, ապա ձայնային ճնշման օկտավային մակարդակները` Լ, դԲ, հաշվարկային կետերում հարկավոր է որոշել.
1) աղմուկի կետային աղբյուրի դեպքում (տարածքում առանձին կայանք, տրանսֆորմատոր և այլ)` հետևյալ բանաձևով.
|
, |
(1.11) |
2) սահմանափակ չափով երկարաձգված աղբյուրի (արտադրական շենքի պատ, օդափոխման համակարգերի մի շարք հորաններ արտադրական շենքի տանիքի վրա, բացօթյա տեղադրված տրանսֆորմատորների մեծ քանակությամբ տրանսֆորմատորային ենթակայան)` դեպքում հետևյալ բանաձևով`
|
(1.12) |
որտեղ` Lw, r, Ф, Ω - նույնն են, ինչ որ (1.1) և (1.7) բանաձևերում,
βմթ– մթնոլորտում ձայնի մարումը, դԲ/կմ, ընդունվում է ըստ սույն հավելվածի 4-րդ աղյուսակի: Մթնոլորտում r ≤ 50 մ հեռավորության դեպքում ձայնի մարումը հաշվի չեն առնում:
Աղյուսակ 4
|
Օկտավային շերտերի միջին երկրաչափական հաճախությունները, Հց |
63 |
125 |
250 |
500 |
1000 |
2000 |
4000 |
8000 |
|
βմթ, դԲ/կմ |
0 |
0,7 |
1,5 |
3 |
6 |
12 |
24 |
48 |
5. Աղմուկի աղբյուր (աղբյուրներ) ունեցող հարևան սենքից կամ տարածքից պատող կոնստրուկցիայի միջով ներթափանցող ձայնային ճնշման օկտավային մակարդակները` Լ, դԲ, մեկուսացվող սենքի հաշվարկային կետերում անհրաժեշտ է որոշել հետևյալ բանաձևով.
|
L = Lաղ - R + 10.. lg S - 10.lg Bմ - 10.. lg k , |
(1.13) |
որտեղ` Lաղ – սենքերն անջատող պատնեշից 2 մ հեռավորության վրա աղմուկի աղբյուրով սենքում ձայնային ճնշման օկտավային մակարդակը, դԲ, (որոշում են (1.1), (1.8) կամ (1.9) բանաձևերով): Տարածքից մեկուսացվող սենք ներթափանցող աղմուկի դեպքում ձայնային ճնշման օկտավային մակարդակը` Lաղ, պատող կոնստրուկցիայի դրսից 2 մ հեռավորության վրա, որոշում են (1.11) կամ (1.12) բանաձևերով,
R – պատող կոնստրուկցիայով (որի միջով ներթափանցում է աղմուկը) օդային աղմուկի մեկուսացումը, դԲ,
S – պատող կոնստրուկցիայի մակերեսը, մ2,
Bմ – մեկուսացվող սենքի ձայնագիտական հաստատունը մ2,
k - նույնը, ինչ որ (1.1) բանաձևում:
6. Եթե պատող կոնստրուկցիան կազմված է տարբեր ձայնամեկուսացմամբ մի քանի մասերից (օրինակ` պատը պատուհանով և դռնով), R –ը որոշվում է հետևյալ բանաձևով.
|
(1.14) | ||||||||
որտեղ`Si - i-րդ մասի մակերեսը, մ2,
Ri – i-րդ մասով օդային աղմուկի մեկուսացումը, դԲ:
7. Եթե պատող կոնստրուկցիան կազմված է տարբեր ձայնամեկուսացմամբ երկու մասերից (R1 > R2),
R –ը որոշվում է հետևյալ բանաձևով.
|
(1.15) | |||||||||
8. Երբ R1 >> R2 մակերեսների որոշակի հարաբերության` S1 /S2 դեպքում (1.13) բանաձևով հաշվարկելիս, թույլատրվում է պատող կոնստրուկցիայի ձայնամեկուսացման` R-ի, փոխարեն վերցնել կազմովի պատող կոնստրուկցիայի (պատնեշի) թույլ մասի ձայնամեկուսացումը` R2 և նրա մակերեսը` S2.
9. Պատուհան (պատուհաններ) ունեցող արտաքին պատի միջով սենք ներթափանցող, տրանսպորտային միջոցներից առաջացած ձայնի համարժեք և առավելագույն մակարդակները` LԱ, դԲԱ, հարկավոր է որոշել հետևյալ բանաձևով.
|
LԱ = LԱ2 մ - RԱտր.պտհ + 10.. lg Sպտհ - 10.lg Bմ - 10.. lg k , |
(1.16) |
որտեղ` LԱ2 մ – շենքից դուրս, պատից (պատնեշից) 2մ հեռավորության վրա ձայնի համարժեք (առավելագույն) մակարդակը, դԲԱ,
RԱտր.պտհ - պատուհանով արտաքին տրանսպորտային աղմուկի մեկուսացումը, դԲԱ,
Sպտհ - պատուհանի (պատուհանների) մակերեսը, մ2,
Bմ– սենքի ձայնագիտական հաստատունը 500 Հց օկտավային շերտում, մ2,
k - նույնը, ինչ որ (1.1) բանաձևում:
10. Բնակելի և վարչական շենքերի, հյուրանոցների, հանրակացարանների և այլի մինչև 25մ2 մակերեսով սենքերի համար LԱ-ն, դԲԱ, պետք է որոշել հետևյալ բանաձևով.
|
LԱ = LԱ2 մ - RԱտր - 5 . |
(1.17) |
11. Ձայնային ճնշման օկտավային մակարդակներն աղմուկից պաշտպանվող սենքում այն դեպքում, երբ աղմուկի աղբյուրները գտնվում են այլ շենքում, հարկավոր է որոշել մի քանի փուլերով.
1) որոշում են արտաքին պատնեշի (կամ մի քանի պատնեշների) միջով տարածք անցնող աղմուկի ձայնային հզորության օկտավային մակարդակները` Lwանց, դԲ, հետևյալ բանաձևով.
|
Lwանց =10 . lg i=1 |
(1.18) |
որտեղ` Lwi - i-րդ աղբյուրի ձայնային հզորության օկտավային մակարդակը, դԲ,
Bաղ – աղմուկի աղբյուրով (աղբյուրներով) սենքի ձայնագիտական հաստատունը, մ2,
S – պատնեշի մակերեսը, մ2,
R – պատնեշով օդային աղմուկի մեկուսացումը, դԲ,
2) որոշում են աղմուկի յուրաքանչյուր աղբյուրից (նկար 1 ԱԱ 1 և ԱԱ 2) ձայնային ճնշման օկտավային մակարդակները օժանդակ հաշվարկային կետի համար` աղմուկից պաշտպանվող սենքի արտաքին պատից 2 մ հեռավորության վրա (1.10) կամ (1.11) բանաձևով: Հաշվարկ կատարելիս հարկավոր է հաշվի առնել, որ շենքի պատի մակերևույթից 100-ի սահմաններում գտնվող հաշվարկային կետերի համար (1.1 նկարում ԱԱ1 աղմուկի համալիր աղբյուրը) մտցվում է ճառագայթման ուղղվածության ուղղում` 10. լg Ф = -5 դԲ,
3) որոշում են աղմուկի բոլոր աղբյուրներից ձայնային ճնշման գումարային օկտավային մակարդակները` Lգմ, դԲ, օժանդակ հաշվարկային կետում (աղմուկից պաշտպանվող սենքի արտաքին պատից 2մ հեռավորության վրա), հետևյալ բանաձևով.
|
Lգմ =10 . lg i=1 |
(1.19) |
որտեղ` Li - i-րդ աղբյուրի ձայնային ճնշման մակարդակը, դԲ,
4) Աղմուկից պաշտպանվող սենքում ձայնային ճնշման օկտավային մակարդակները` Լ, դԲ, որոշում են (1.13) – րդ բանաձևով` փոխարինելով Lաղ –ը Lգմ -ով:
12. Ոչ մշտական աղմուկի դեպքում ձայնային ճնշման օկտավային մակարդակները` Lj , դԲ, հաշվարկային կետում հարկավոր է որոշել (1.1), (1.7), (1.8), (1.9), (1.11), (1.12) կամ (1.13) բանաձևերով` յուրաքանչյուր ժամանակահատվածի` τj , րոպե, համար, որի ընթացքում մակարդակը մնում է հաստատուն` նշված բանաձևերում փոխարինելով L-ը Lj-ով:
Հ.Կ. – հաշվարկային կետ
Հ.Կ.1 – օժանդակ հաշվարկային կետ
ԱԱ1 և ԱԱ2- շենքեր` աղմուկի աղբյուրներ
Նկար 1 – Հաշվարկի սխեմա
13. Ձայնային ճնշման համարժեք օկտավային մակարդակները` Lհմժ , դԲ, ազդեցության ընդհանուր ժամանակաշրջանում` Т, րոպե, հարկավոր է որոշել հետևյալ բանաձևով.
|
(1.20) |
որտեղ` ιj - Lj մակարդակի ազդեցության ժամանակը, րոպե,
Lj – ιj ժամանակահատվածում օկտավային մակարդակը` դԲ:
14. Որպես աղմուկի ազդեցության ընդհանուր ժամանակ` T, ընդունում են. արտադրական և ծառայողական սենքերում` աշխատանքային հերթափոխի տևողությունը, բնակելի և այլ սենքերում, ինչպես նաև այն տարածքներում, որտեղ նորմերը սահմանված են առանձին ցերեկվա և գիշերվա համար` ցերեկվա տևողությունը ժամը 7.00-ից մինչև 23.00-ն է, գիշերվանը` ժամը 23.00-ից մինչև 7.00-ն: Վերջին դեպքում թույլատրվում է որպես ցերեկվա ազդեցության ժամանակաշրջան` T, ընդունել առավելագույն մակարդակներով չորսժամյա ժամանակահատվածը, իսկ գիշերվանը` մեկժամյա ժամանակահատվածը:
15. Ոչ մշտական աղմուկի ձայնի համարժեք մակարդակները`LԱհմժ , դԲԱ, հարկավոր է որոշել (1.20) բանաձևով` փոխարինելով Lհմժ –ն LԱհմժ –ով և Lj –ն LԱj- ով:
ՀԱՎԵԼՎԱԾ 2
Աղմուկի մակարդակների պահանջվող նվազեցման որոշումը
1. Տարածքի հաշվարկային կետում ձայնային ճնշման օկտավային մակարդակների պահանջվող նվազեցումը` Δ Lպհջ, դԲ (կամ ձայնի մակարդակների` ΔL Ապհջ.i, դԲԱ), աղմուկի յուրաքանչյուր աղբյուրից (փողոցի և ճանապարհի տրանսպորտային հոսք, երկաթուղային տրանսպորտ, աղմուկի միջթաղամասային աղբյուր, արդյունաբերական կազմակերպություն և այլ) որոշվում է հետևյալ բանաձևով.
|
(2.1) |
որտեղ` Li – հաշվարկային կետում հաշվարկված ձայնային ճնշման օկտավային մակարդակը կամ i-րդ աղբյուրից ձայնի մակարդակը, դԲ (դԲԱ),
Lթյլ – ձայնային ճնշման թույլատրելի` օկտավային մակարդակը, դԲ, կամ ձայնի մակարդակը, դԲԱ (որոշվում է ըստ 1-ին աղյուսակի),
n – հաշվարկային կետում գումարային մակարդակը հաշվարկելիս հաշվի առնվող աղմուկի աղբյուրների ընդհանուր քանակը:
2. Սենքի հաշվարկային կետում ձայնային ճնշման օկտավային մակարդակների կամ ձայնի մակարդակի պահանջվող նվազեցումը` ΔLպհջ, դԲ, կամ ΔLԱպհջ, դԲԱ, հարկավոր է որոշել.
1) աղմուկի մեկ աղբյուրի դեպքում հետևյալ բանաձևով.
|
(2.2) |
որտեղ` L – ձայնային ճնշման օկտավային մակարդակը, դԲ, կամ աղմուկի այդ աղբյուրից հաշվարկային կետում հաշվարկված ձայնի մակարդակը` LԱ, դԲԱ,
Lթյլ – նույնը, ինչ որ (2.1) բանաձևում:
2) մի քանի միատեսակ, միևնույն ժամանակահատվածում աշխատող աղբյուրներից (օրինակ` կարի արտադրամասի հաստոցները) որոշվում է հետևյալ բանաձևով.
|
(2.3) |
Lթյլ - նույնը, ինչ որ (2.1) բանաձևում,
3) միաժամանակ աշխատող և խմբերով տեղադրված մի քանի աղմուկի աղբյուրներից, որոնք խիստ տարբերվում են ձայնային հզորությունների մակարդակներով (10 դԲ-ից ավելի).
ա. առավել աղմկոտ խմբի կենտրոնի հաշվարկային կետում` ըստ (2.3) բանաձևի,
որտեղ` Lգմ - ձայնային ճնշման օկտավային մակարդակները կամ ձայնի մակարդակները` հաշվարկված (1.9) բանաձևով,
Lթյլ - նույնը, ինչ որ (2.1) բանաձևում,
բ. աղմուկի ավելի ցածրաձայն (մեղմ) աղբյուրների խմբի կենտրոնի հաշվարկային կետում` (2.3) բանաձևով,
4) առանց աղմուկի աղբյուրների սենքերում` հետևյալ բանաձևով.
|
(2.4) |
որտեղ` Li – աղմուկի յուրաքանչյուր արտաքին աղբյուրից ըստ սույն հավելվածի 5-ից մինչև 11-րդ կետերի առանձին հաշվարկված ձայնային ճնշման օկտավային մակարդակը, դԲ, կամ ձայնի մակարդակը, դԲԱ,
n – աղմուկի արտաքին աղբյուրների ընդհանուր քանակը,
Lթյլ - նույնը, ինչ որ (2.1) բանաձևում:
3. Այն տարածքներում և սենքերում, որտեղ տեղադրված են ձայնային հզորության մակարդակներով խիստ տարբերվող աղբյուրներ, աղմուկի նվազեցումը հարկավոր է սկսել առավել աղմկոտ աղբյուրներից:
ՀԱՎԵԼՎԱԾ 3
Պատող կոնստրուկցիաների պահանջվող ձայնամեկուսացումների որոշումը
1. Արտադրական շենքերում ներքին պատող կոնստրուկցիաների, ինչպես նաև աղմուկից պաշտպանվող սենքերը ձայնի աղբյուրով սենքերից (2-րդ աղյուսակում թվարկված սենքերի համար ոչ բնորոշ) առանձնացնող պատող կոնստրուկցիաների պահանջվող ձայնամեկուսացումը հարկավոր է որոշել օդային աղմուկի մեկուսացման տեսքով` Rպհջ , դԲ, հաճախությունների նորմավորվող տիրույթի օկտավային շերտերում (սույն նորմերի 15 և 16-րդ կետերը):
2. Աղմուկից պաշտպանվող սենքում աղմուկի աղբյուր ունեցող հարակից սենքից, ինչպես նաև մերձակա տարածքից աղմուկի տարածման դեպքում հաճախությունների օկտավային շերտերում պատող կոնստրուկցիայի (որի միջով ներթափանցում է աղմուկը) օդային աղմուկի պահանջվող ձայնամեկուսացումը` Rպհջ, դԲ, հարկավոր է որոշել հետևյալ բանաձևով.
|
(3.1) |
որտեղ` Lաղ, S, Вմ, k – նույնն են, ինչ որ (1.13) բանաձևում:
1) Այն դեպքերում, երբ պատող կոնստրուկցիան բաղկացած է տարբեր ձայնամեկուսացմամբ մի քանի մասերից (պատուհանով և դռնով պատ), (3.1) բանաձևով որոշված մեծությունները վերաբերում են տվյալ կազմովի պատող կոնստրուկցիայի ձայնամեկուսացման ընդհանուր մեծությանը` Rընդ.պհջ.: Տվյալ պատի (պատնեշի) առանձին բաղադրիչ մասերի պահանջվող ձայնամեկուսացումը` Riպհջ, հարկավոր է որոշել հետևյալ բանաձևով.
|
(3.2) |
որտեղ` Rմջ.պհջ – նույնն է, ինչ որ Rպհջ –ն (3.1) բանաձևում,
n – պատող կոնստրուկցիայի տարբեր մեկուսացմամբ տարրերի ընդհանուր քանակը:
2) Եթե պատող կոնստրուկցիան կազմված է ձայնամեկուսացմամբ խիստ տարբերվող երկու մասերից (R1 >> R2), ապա պահանջվող ձայնամեկուսացումը թույլատրվում է որոշել պատող կոնստրուկցիայի միայն թույլ մասի համար (3.1) բանաձևով` տեղադրելով Rպհջ2 –ը Rպհջ – ի փոխարեն և S2 –ը S-ի փոխարեն:
3. Մայրուղիների մոտ տեղաբաշխված շենքերում 25 մ2-ուց ավելի մակերեսով սենքերի, ինչպես նաև 3-րդ աղյուսակում չնշված սենքերի արտաքին պատող կոնստրուկցիաների (այդ թվում` պատուհանների, ցուցափեղկերի և այլ ապակեպատումների) պահանջվող ձայնամեկուսացումը պետք է որոշել հետևյալ բանաձևով.
|
(3.3) |
որտեղ` LԱ2մ , Sպ , Вմ, k - նույնն են ինչ որ (1.16) բանաձևում:
L
Աթիլ – սենքում ձայնի թույլատրելի համարժեք (առավելագույն) մակարդակը, դԲԱ:4. Պահանջվող ձայնամեկուսացումը` RպհջԱտր, հարկավոր է որոշել թափանցող աղմուկի ինչպես համարժեք, այնպես էլ առավելագույն մակարդակի թույլատրելի մեծությունների ապահովման հաշվարկից, այսինքն` երկու RպհջԱտր, մեծություններից պետք է ընդունել առավել մեծը:
ՀԱՎԵԼՎԱԾ 4
Նորմատիվ ձայնամեկուսացում ապահովող պատող կոնստրուկցիաների նախագծման հանձնարարականները
1. Պատնեշների (պատերի, ծածկերի) տարրերը հարկավոր է նախագծել միջանցիկ ծակոտիներ չունեցող, խիտ կառուցվածքով նյութերից: Միջանցիկ ծակոտիներով նյութերից պատրաստված պատնեշները (պատերը, ծածկերը) պետք է ունենան խիտ նյութերից` բետոնից կամ շաղախից, արտաքին շերտեր: Աղյուսից, կերամիկական և խարամաբետոնե բլոկներից պատրաստված ներքին պատերն ու միջնորմները պահանջվում է նախագծել` ամբողջ հաստությունով կարերի լցմամբ (առանց դատարկակարանների) և սվաղված երկու կողմից չկծկվող շաղախով:
2. Պատող կոնստրուկցիաներն անհրաժեշտ է նախագծել այնպես, որպեսզի շինարարության և շահագործման ընթացքում դրանց կցվանքներում չլինեն և չառաջանան նույնիսկ նվազագույն միջանցիկ անցքեր և ճեղքեր: Շինարարության ընթացքում առաջացող ճեղքերը և ճաքերը մաքրելուց հետո դրանք պետք է վերացվեն կոնստրուկտիվ միջոցներով` ամբողջ խորությամբ չչորացող հերմետիկ և այլ նյութերով լցափակելով:
Միջհարկային ծածկեր
3. Ձայնամեկուսիչ շերտի (միջադիրներով) վրայի հատակը չպետք է ունենա կոշտ կապեր (ձայնային կամրջակներ)` ծածկի կրող մասի, պատերի և շենքի այլ կոնստրուկցիաների հետ, այսինքն պետք է լինի «լողացող»: Փայտե հատակը կամ հատակի լողացող բետոնե հիմքը (երեսասվաղը) իրենց եզրագծով պատերից և շենքի այլ կոնստրուկցիաներից պետք է անջատված լինեն 1-ից մինչև 2 սմ լայնությամբ բացակներով, որոնք լցվում են ձայնամեկուսիչ նյութով կամ շինվածքով, օրինակ` փափուկ փայտաթելքային սալերով, ծակոտկեն պոլիէթիլենից գծային շինվածքներով և այլն: Շրիշակները և շերտաձողերը հարկավոր է ամրացնել միայն պատին կամ միայն հատակին: Ձայնամեկուսիչ շերտի վրայի հատակի կոնստրուկցիայի կցումը պատին կամ միջնորմին տրված է 1-ին նկարում:
4. Միաձույլ լողացող երեսասվաղի հիմքով հատակ նախագծելիս հարկավոր է ձայնամեկուսիչ շերտի վրա տեղադրել համատարած ջրամեկուսիչ շերտ (պերգամին, հիդրոիզոլ, ռուբերոիդ և այլն)` կցվանքներում շերտերի ծայրերը 20 սմ-ից ոչ պակաս չափով ծայրակցելով: Ձայնամեկուսիչ սալերի (ներքնակների) կցվանքներում չպետք է լինեն ճեղքեր և արանքներ:
5. Ձայնամեկուսացման պաշար չունեցող ծածկերի կոնստրուկցիաներում չի հանձնարարվում թելքային ենթահենք ունեցող լինոլեումից հատակներով ծածկերի կիրառումը, որոնք նվազեցնում են օդային աղմուկի մեկուսացումը 1 դԲ-ով` ըստ Rw ինդեքսի: Թույլատրվում է փրփրաշերտերով լինոլեումների օգտագործումը, որոնք չեն ազդում օդային աղմուկի մեկուսացման վրա և փրփրաշերտերի համապատասխան հարաչափերի դեպքում կարող են ապահովել հարվածային աղմուկի անհրաժեշտ մեկուսացումը:
1 – միջհարկային ծածկի կրող մաս, 2- հատակի բետոնե հիմք, 3-հատակի վերնածածկ, 4- ձայնամեկուսիչ նյութից միջադիր (շերտ), 5- ճկուն պլաստմասսե շրիշակ, 6-պատ, 7- փայտե շերտաձող, 8-տախտակե հատակ տափագերանների վրա
Նկար 1 – Ձայնամեկուսիչ շերտով հատակը պատին (միջնորմին) կցման հանգույցի կոնստրուկտիվ լուծման սխեման
6. Օդային աղմուկի մեկուսացման բարձր պահանջներով (Rw = 57 - 62 դԲ) միջհարկային ծածկերը, որոնք միմյանցից բաժանում են բնակելի և ներկառույց աղմկոտ սենքերը, հարկավոր է նախագծել բավարար հաստությամբ միաձույլ երկաթբետոնե սալերով (օրինակ` առաջին հարկի միաձույլ-հիմնակմախքային կամ միաձույլ կոնստրուկցիա): Այդպիսի կոնստրուկցիայի ձայնամեկուսացման բավարարությունը որոշվում է հաշվարկով: Ոչ բնակելի առաջին հարկերում աղմկոտ սենքերի տեղադրման դեպքում այլ տարբերակ կարող է լինել միջանկյալ (տեխնիկական) երկրորդ հարկի կառուցումը: Այդ դեպքում նույնպես անհրաժեշտ է կատարել բնակելի սենքերի բավարար ձայնամեկուսացումը հաստատող հաշվարկներ: Բոլոր դեպքերում ոչ բնակելի առաջին հարկում աղմուկի աղբյուրով սենքեր տեղակայելիս դրանցում հանձնարարվում է տեղադրել կախովի առաստաղներ, որոնք զգալիորեն մեծացնում են ծածկերի ձայնամեկուսացումը:
Ներքին պատեր և միջնորմներ
7. Երկտակ պատերը կամ միջնորմները սովորաբար նախագծում են ամբողջ եզրագծով կամ առանձին կետերում տարրերի միջև կոշտ կապով: Կոնստրուկցիաների տարրերի միջև արանքի մեծությունը պետք է լինի 4 սմ-ից ոչ պակաս: Կմախքաերեսված միջնորմների կոնստրուկցիաներում հարկավոր է նախատեսել թերթերի կետային ամրակցում հիմնակմախքին` 300 մմ-ից ոչ պակաս քայլով: Եթե հիմնակմախքի մեկ կողմից օգտագործում են երեսվածքի թերթերի երկու շերտ, ապա դրանք չպետք է սոսնձվեն միմյանց: Հիմնակմախքների կանգնակների քայլը և դրանց հորիզոնական տարրերի միջև հեռավորությունը հարկավոր է ընդունել 600 մմ-ից ոչ պակաս: Վերը հանձնարարված արանքների լցափակումը փափուկ ձայնակլանիչ նյութերով հատկապես արդյունավետ է կմախքաերեսված միջնորմների ձայնամեկուսացումը լավացնելու համար: Բացի այդ, դրանց ձայնամեկուսացումը բարձրացնելու համար առաջարկվում են ինքնուրույն հիմնակմախքներ յուրաքանչյուր երեսվածքի համար, իսկ անհրաժեշտության դեպքում հնարավոր է նաև երկշերտ կամ եռաշերտ երեսվածք` միջնորմի յուրաքանչյուր կողմից:
8. Երկաթբետոնե, բետոնե, աղյուսե և այլ նմանատիպ պատով կամ միջնորմով օդային աղմուկի մեկուսացումն ավելացնելու համար մի շարք դեպքերում նպատակահարմար է օգտագործել նաև լրացուցիչ երեսվածք` հեռադրմամբ: Որպես երեսվածքի նյութ կարող են օգտագործվել` գիպսաստվարաթղթե թերթեր, պինդ փայտաթելքային սալեր և նմանատիպ թերթային նյութեր` փայտե ձողերով կամ գիպսային շաղախից գծային կամ կետային փարոսների օգնությամբ ամրացված պատին: Օդային արանքը պատի և երեսվածքի միջև նպատակահարմար է իրականացնել 40-ից մինչև 50 մմ հաստությամբ և այն լցնել փափուկ ձայնակլանիչ նյութով (հանքաբամբակե կամ ապակեթելքային սալերով, ներքնակներով և այլն):
9. Բնակարանների մուտքի դռները հարկավոր է նախագծել շեմքով և փեղկերում խցանիչ միջադիրներով:
Կցվանքներ և հանգույցներ
10. Ներքին պատող կոնստրուկցիաների, ինչպես նաև դրանց և այլ հարակից կոնստրուկցիաների միջև կցվանքները պետք է նախագծվեն այնպես, որպեսզի շինարարության ժամանակ դրանցում չլինեն և շենքի շահագործման ընթացքում չառաջանան միջանցիկ ճաքեր, ճեղքեր և անկիպություններ, որոնք կտրուկ նվազեցնում են պատող կոնստրուկցիաների (պատնեշների) ձայնամեկուսացումը: Կցվանքները, որոնցում, չնայած ձեռնարկված կոնստրուկտիվ միջոցառումներին, շահագործման ընթացքում բեռնվածքների ազդեցության ներքո հնարավոր են կցվող տարրերի փոխադարձ տեղաշարժեր և ջերմաստիճանային ու կծկումային ձևախախտումներ, անհրաժեշտ է նախագծել կցվող մակերևույթներին սոսնձվող երկարակյաց հերմետիկացնող ճկուն նյութերի և շինվածքների կիրառմամբ:
11. Պատերի կրող տարրերի և դրանց վրա հենվող ծածկերի միջև կցվանքները պետք է նախագծել շաղախի կամ բետոնի լցվածքով: Եթե բեռնվածության կամ այլ ազդեցությունների արդյունքում հնարավոր է կարերի բացվածք, ապա նախագծման ժամանակ պետք է նախատեսված լինեն կցվանքներում միջանցիկ ճեղքերի առաջացումը չթույլատրող միջոցառումներ:
12. Ներքին պատերի կրող տարրերի միջև կցվանքներն անհրաժեշտ է նախագծել շաղախի կամ բետոնի լցվածքով: Կցվող տարրերի կցորդվող մակերևույթները պետք է ստեղծեն խոռոչ (հոր), որի լայնական չափերն ապահովում են տարրի ամբողջ բարձրությամբ տեղադրվող բետոնի կամ շաղախի խիտ կազմով այն լցնելու հնարավորությունը: Անհրաժեշտ է նախատեսել կցվող տարրերի փոխադարձ տեղաշարժը սահմանափակող միջոցառումներ (երիթների սարքվածք, միջադիր տարրերի եռակցում): Միացնող մանրամասները (դետալները), ամրանի արտաթողումները և այլն չպետք է խոչընդոտեն կցվանքի խոռոչը բետոնով կամ շաղախով լցմանը: Կցվանքների լցումը հանձնարարվում է կատարել չկծկվող (լայնացող) բետոնով կամ շաղախով: Կոնստրուկցիաների հավաքովի տարրեր նախագծելիս անհրաժեշտ է ընդունել կցորդվող հատվածների այնպիսի եզրաձև և չափեր, որոնք ապահովում են հերմետիկացնող նյութերի և շինվածքների տեղադրումը, սոսնձումը և սևեռակումը` երբ դրանց կիրառումը նախատեսված է:
Ինժեներական սարքավորման հետ կապված պատող կոնստրուկցիաների տարրեր
13. Ջրաջեռուցման, ջրամատակարարման և այլ նմանատիպ խողովակների անցկացումը միջբնակարանային պատերի միջով չի թույլատրվում: Ջրաջեռուցման, ջրամատակարարման և այլ նմանատիպ խողովակները միջհարկային ծածկերի և միջսենյակային պատերի (միջնորմների) միջով պետք է անցկացվեն էլաստիկ պարկուճների մեջ (ծակոտկեն պոլիէթիլենից կամ այլ ճկուն նյութերից), որոնք առանց միջանցիկ ճեղքեր առաջացնելու թույլ են տալիս խողովակների ջերմաստիճանային տեղափոխումներ և ձևախախտումներ (նկար 2): Ներքին պատերի պանելներում ջեռուցման միաձուլված կանգնակների խողովակների միացման համար նախատեսված խոռոչները պետք է լցափակվեն չկծկվող բետոնով կամ շաղախով:
1 – պատ, 2 – չկծկվող բետոն կամ շաղախ, 3 – ձայնամեկուսիչ նյութից միջադիր (շերտ), 4 – հատակի բետոնային հիմնատակ, 5 – ծածկի կրող մասը, 6 – էլաստիկ պարկուճ, 7 – ջեռուցման կանգնակի խողովակ
Նկար 2 – Ջեռուցման կանգնակի միջհարկային ծածկի միջով անցման հանգույցի կոնստրուկտիվ լուծման սխեման
14. Թաքնված էլեկտրահաղորդագիծը միջբնակարանային պատերում և միջնորմներում պետք է տեղադրվի յուրաքանչյուր բնակարանի համար առանձին խուղակում կամ ատամնաորմնանցքում: Զոդազերծման տուփերի և խրոցակների վարդակների տեղադրման խոռոչները պետք է լինեն ոչ միջանցիկ: Եթե միջանցիկ անցքերի առաջացումը պայմանավորված է որմնատարրերի արտադրման տեխնոլոգիայով, ապա նշված սարքերը պետք է տեղադրվեն պատերի միայն մեկ կողմից: Խոռոչի ազատ մասը լցափակում են գիպսային կամ այլ չկծկվող շաղախով` 40 մմ-ից ոչ պակաս հաստությամբ: Զոդազերծման տուփերը և խրոցակների վարդակները խորհուրդ չի տրվում տեղադրել միջբնակարանային կմախքաերեսված միջնորմներում: Անհրաժեշտության դեպքում հարկավոր է օգտագործել այնպիսի վարդակներ և անջատիչներ, որոնց տեղադրման ժամանակ երեսվածքի թերթերում անցքեր չեն բացվում:
15. Հաղորդալարի արտանցումը ծածկից դեպի առաստաղային ջահ հարկավոր է նախատեսել ոչ միջանցիկ խոռոչում: Եթե միջանցիկ անցքի առաջացումը պայմանավորված է ծածկի սալերի պատրաստման տեխնոլոգիայով, ապա անցքը պետք է կազմված լինի երկու մասից: Ավելի մեծ տրամագծով անցքի վերին մասը պետք է լցափակվի չկծկվող շաղախով, ստորին մասը` լցվի ձայնակլանիչ նյութով (օրինակ` գերբարակ ապակեթելքով) և առաստաղի կողմից ծածկված լինի շաղախի շերտով կամ խիտ, դեկորատիվ խուփով (նկար 3):
1 – ծածկի պանել, 2 – էլեկտրախուղակ, 3 - կեռ (զոդված է կլոր պողպատե թիթեղին), 4 - շաղախ (անցքի ստորին մասի լցափակվածքը պայմանականորեն ցույց չի տրված)
Նկար 3 – Ծածկից դեպի առաստաղային ջահ հաղորդալարի արտանցման կոնստրուկտիվ լուծման սխեման (ծածկը միջանցիկ անցքով է)
16. Օդափոխման բլոկների կոնստրուկցիան պետք է ապահովի խուղակներն (խողովակներն) անջատող պատերի ամբողջականությունը (դրանցում միջանցիկ խոռոչների և ճեղքերի բացակայություն): Օդափոխության բլոկների հորիզոնական կցվանքը պետք է բացառի մեկ խուղակից (խողովակից) մյուսը անկիպություններով աղմուկի թափանցման հնարավորությունը: Ուղղաձիգ հարակից բնակարանների օդափոխության անցքերը միմյանց պետք է հաղորդակցվեն մեկ հարկից ոչ մոտ հավաքովի կամ զուգընթաց խուղակների (խողովակների) միջով:
Դիտարկման, հեռակառավարման խցիկների, թաքստոցների և պատյանների պատող կոնստրուկցիաների ձայնամեկուսացում
17. Արդյունաբերական արտադրամասերում և տարածքներում, որտեղ թույլատրելի նորմերը գերազանցված են, բանվորներին և սպասարկող անձնակազմին աղմուկից պաշտպանելու նպատակով հարկավոր է կիրառել ձայնամեկուսիչ խցիկներ: Արտադրամասերի վարպետների և պետերի աշխատատեղերի տեխնոլոգիական գործընթացների և սարքավորումների հեռակառավարման ու հսկողության վահանակները հարկավոր է տեղադրել ձայնամեկուսիչ խցիկներում:
18. Ձայնամեկուսիչ խցիկներն իրենց ձայնամեկուսացմամբ ստորաբաժանվում են չորս կարգի: Հաճախությունների օկտավային շերտերում օդային աղմուկի մեկուսացման` R, մեծությունները, կախված խցիկի կարգից, պետք է լինեն սույն հավելվածի 1-ին աղյուսակում տրված մեծություններից ոչ պակաս:
Աղյուսակ 1
|
Խցիկի կարգը |
Օդային աղմուկի մեկուսացումը` R, դԲ, օկտավային շերտերի միջին | |||||||
|
63 |
125 |
250 |
500 |
1000 |
2000 |
4000 |
8000 | |
|
1 |
25 |
30 |
35 |
40 |
45 |
50 |
50 |
45 |
|
2 |
15 |
20 |
25 |
30 |
35 |
40 |
40 |
35 |
|
3 |
5 |
10 |
15 |
20 |
25 |
30 |
30 |
25 |
|
4 |
- |
- |
5 |
10 |
15 |
20 |
20 |
15 |
19. Խցիկների պատնեշների (պատող կոնստրուկցիաների) առանձին տարրերի պահանջվող ձայնամեկուսացումը պետք է որոշել (3.1) և (3.2) բանաձևերով` ընդունելով Lաղ - ի փոխարեն խցիկի տեղակայման տեղում ձայնային ճնշման հաշվարկային օկտավային մակարդակը, L` համաձայն սույն նորմերի 1-ին հավելվածի 1-ին, 2-րդ կամ 3-րդ կետերի, որտեղ Lթյլ – ն` խցիկի աշխատատեղում թույլատրելի օկտավային մակարդակն է, Вմ – ն` խցիկի ձայնագիտական հաստատունն է:
20. Պահանջվող ձայնամեկուսացումից կախված` խցիկները նախագծում են սովորական շինանյութերից (աղյուսից, երկաթբետոնից և այլն) կամ ունենալ հավաքովի կոնստրուկցիա` պողպատից, ալյումինից, պլաստիկատից, նրբատախտակից և այլ թերթավոր նյութերից նախօրոք պատրաստված կոնստրուկցիաներից` հավաքովի կամ եռակցված հիմնակմախքով: Պատող կոնստրուկցիաներին և խցիկի հիմնակմախքին թրթռումների փոխանցումը կանխարգելելու նպատակով ձայնամեկուսիչ խցիկները հարկավոր է տեղադրել ռետինե թրթռամեկուսիչների վրա:
21. Մեկ մարդու համար խցիկի ներքին ծավալը պետք է կազմի 15 մ3 -ից ոչ պակաս: Խցիկի բարձրությունը (ներսում) պետք է լինի 2,5 մ-ից ոչ պակաս: Խցիկը պետք է սարքավորված լինի աղմուկի անհրաժեշտ խլացուցիչներով օդափոխման կամ օդի լավորակման համակարգով: Խցիկի ներքին մակերևույթները 50%-ից մինչև 70%-ով պետք է երեսպատված լինեն ձայնակլանիչ նյութերով: Խցիկի դռները փեղկերում պետք է ունենան խցանիչ միջադիրներ և սեղմող-փակող սարքեր, որոնք ապահովում են միջադիրների շրջասեղմումը: 1-ին և 2-րդ կարգերի խցիկներում պետք է լինեն նախամուտքով երկտակ դռներ:
22. Նրբաթերթ նյութերից (մետաղներից, պլաստիկատներից, ապակուց և այլն) իրականացված մեքենաների և տեխնոլոգիական սարքավորումների ձայնամեկուսիչ պատնեշները, ձայնամեկուսիչ պատյանները, աղմուկի մակարդակը նվազեցնելու նպատակով, հարկավոր է կիրառել անմիջապես աղմուկի աղբյուրի մոտ գտնվող աշխատատեղերում, որտեղ այլ շինարարաձայնագիտական միջոցառումները նպատակահարմար չեն: Պատյանի կոնստրուկցիայի ձայնագիտական արդյունավետությունը գնահատում են դրա ձայնամեկուսացմամբ` Rպտյ, դԲ:
23. Ձայնամեկուսիչ պատյանը նպատակահարմար է օգտագործել այն դեպքերում, երբ ագրեգատի (մեքենայի) աղմուկը հաշվարկային կետում 5 դԲ-ով և ավելի գերազանցում է թույլատրելի մեծությունը թեկուզ մեկ օկտավային շերտում, իսկ բոլոր մնացած տեխնոլոգիական սարքավորումների ստեղծած աղմուկը նույն օկտավային շերտում (նույն հաշվարկային կետում)` 2 դԲ և ավելի չափով թույլատրելիից ցածր է: Օկտավային շերտում պատյանի պահանջվող ձայնամեկուսացումը հարկավոր է որոշել հետևյալ բանաձևով.
|
(4.1) |
որտեղ` L – հաշվարկային կետում տվյալ ագրեգատով ստեղծվող ձայնային ճնշման հաշվարկային օկտավային մակարդակը, դԲ,
Lթյլ – ձայնային ճնշման թույլատրելի օկտավային մակարդակը, դԲ,
αերս - պատյանի ներքին երեսպատվածքի ձայնակլանման գործակիցը,
Δ – ուղղում է, որը որոշվում է համաձայն սույն հավելվածի 2-րդ աղյուսակի` կախված ձայնային ճնշման թույլատրելի մակարդակի` Lթյլ, դԲ, և առանց տվյալ ագրեգատի ամբողջ սարքավորման աշխատանքից առաջացած աղմուկի հաշվարկային մակարդակի` Lփ , դԲ, տարբերությունից:
Աղյուսակ 2
|
Lթյլ - Lփ- տարբերությունը, դԲ |
△, դԲ |
|
2 |
4,3 |
|
3 |
3 |
|
4 |
2,2 |
|
5 |
1,6 |
|
6 |
1,2 |
|
7 |
1,0 |
|
8 |
0,8 |
|
9 |
0,6 |
24. Եթե Rպտյ.պհջ մեծությունը միջին և բարձր հաճախություններում չի գերազանցում 10 դԲ-ը, պատյանը կարող է պատրաստված լինել էլաստիկ նյութերից (վինիլից, ռետինից և այլն): Պատյանի տարրերը պետք է ամրացված լինեն հիմնակմախքի վրա: Եթե միջին և բարձր հաճախություններում Rպտյ.պհջ մեծությունը գերազանցում է 10 դԲ-ը, ապա պատյանը պետք է իրականացվի թերթային կոնստրուկցիոն նյութերից:
25. Մետաղե պատյանը հարկավոր է պատել թրթռամարիչ նյութով (թերթային կամ մածիկի տեսքով), ընդ որում պատվածքի հաստությունը պետք է 2-3 անգամ ավելի լինի պատի հաստությունից: Ներսի կողմից պատյանը պետք է պատվի 40-ից մինչև 50 մմ հաստությամբ ձայնակլանիչ նյութով: Պատյանը մեխանիկական ազդեցություններից, փոշուց և այլ աղտոտվածություններից պաշտպանելու համար հարկավոր է օգտագործել ապակե գործվածքով կամ 20-ից մինչև 30 մկմ հաստությամբ նրբաթաղանթով մետաղե ցանց: Պատյանը չպետք է ունենա անմիջական հպում ագրեգատի և խողովակաշարերի հետ: Տեխնոլոգիական և օդափոխության անցքերը պետք է ապահովված լինեն խլացուցիչներով և խցանիչներով:
ՀԱՎԵԼՎԱԾ 5
Էկրանների և պաշտպանապատերի տարբերակները և ձայնակլանիչ կոնստրուկցիաների արդյունավետության մեծության որոշումը
Էկրաններ և պաշտպանապատեր
1. Էկրանների և պաշտպանապատերի տարբերակները ներկայացված են սույ հավելվածի 1-ին նկարում:
ա – հարթ, բ - П-աձև, գ – պաշտպանապատ, ԱԱ – աղմուկի աղբյուրը, 1 – էկրան, 2 – հաշվարկային կետ, 3 - պաշտպանապատ
Նկար 1 – Աղմկապաշտպանիչ էկրանների ձևերը
2. Հատակագծում էկրանները կարող են լինել` հարթ (նկար 5.1,ա) և П-աձև (նկար 5.1, բ)` այս դեպքերում դրանց արդյունավետությունը բարձրանում է: Եթե էկրանը օղակում է աղմուկի աղբյուրը` այն վերածվում է պաշտպանապատի (նկար 1,գ), որի դեպքում նրա արդյունավետությունը մոտենում է H բարձրությամբ անվերջ էկրանի արդյունավետությանը: Էկրանների գծային չափերն առնվազն երեք անգամ ավելի մեծ պետք է լինեն աղմուկի աղբյուրի չափերից:
3. Էկրանները պետք է պատրաստել աղմուկի աղբյուրի կողմն ուղղված մակերևույթները պարտադիր ձայնակլանիչ նյութերով պատված պինդ թերթանյութերից կամ առանձին վահաններից:: Էկրաններով ստեղծվող լրացուցիչ ձայնակլանումը պետք է հաշվի առնել հետևյալ մեծությունները որոշելիս` սենքի ձայնագիտական հաստատունը` В-ն, (1.2) բանաձևով, ձայնակլանման համարժեք մակերեսը` A-ն (1.3) բանաձևով և ձայնակլանման միջին գործակիցը` αմջն –ը (1.4) բանաձևով:
Ձայնակլանիչ կոնստրուկցիաներ
4. Անդրադարձող ձայնի ազդեցության գոտում գտնվող ձայնային ճնշման մակարդակների նվազեցման մեծությունը` Δ L, դԲ, հաշվարկային կետերում հարկավոր է որոշել հետևյալ բանաձևով.
|
(5.1) | |||||||||
որտեղ` k և В –նույնն են, ինչ որ (1.1) բանաձևում,
k1 և B1 –նույնպես, սակայն ձայնակլանիչ կոնստրուկցիաներ տեղադրելուց հետո:
5. Անհրաժեշտ է հաշվի առնել, որ անդրադարձող ձայնի ազդեցության գոտում ձայնային ճնշման մակարդակների առավելագույն հնարավոր նվազեցումն աղբյուրից r ≥ 2rսհմ . հեռավորության վրա, ըստ սույն նորմերի 1-ին հավելվածի 2-րդ կետի, կազմում է 8-ից մինչև 10 դԲ: Միջանկյալ գոտում (0,5rսհմ < r < 2rսհմ դեպքում) ձայնակլանիչ կոնստրուկցիաների արդյունավետությունը չի գերազանցում 3-ից մինչև 5 դԲ-ը, ուղիղ ձայնի ազդեցության գոտում (r ≤ 0,5rսհմ) ձայնակլանիչ կոնստրուկցիաները գործնականում չեն նվազեցնում աղմուկի մակարդակները:
ՀԱՎԵԼՎԱԾ 6
Դահլիճի ներսույթի (ինտերիերի) ձևավորումը և բնութագրերի որոշումը
1. Հետազոտվող դահլիճի բնութագրերի հաշվարկներում, 125-ից մինչև 4000 Հց հաճախությունների նորմավորվող տիրույթում վիճակագրական ձայնագիտական մեթոդների թույլատրելիության ստուգման համար, հարկավոր է հաշվարկել կրիտիկական հաճախությունը` Հց, որից բարձր հաճախությունների դեպքում դիտվում է օդային ծավալի սեփական մոդերի (հաճախությունների) բավարար քանակություն, հետևյալ բանաձևով.
|
. |
(6.1) |
1) Եթե հաշվարկը ցույց է տալիս, որ fկր ≤ 125 Հց, ապա հետարձագանքման ժամանակը` T, վ, դահլիճում հարկավոր է որոշել հաճախությունների վեց օկտավային շերտերում` 125, 250, 500, 1000, 2000 և 4000 Հց միջին երկրաչափական հաճախություններով.
125-ից մինչև 1000 Հց տիրույթում հետևյալ բանաձևով`
|
' |
(6.2) |
2000-ից մինչև 4000 Հց տիրույթում հետևյալ բանաձևով`
|
|
(6.3) |
որտեղ` V – դահլիճի ծավալը, մ3 ;
αմջն – դահլիճում ձայնակլանման միջին գործակիցը (պետք է որոշել (1.4) բանաձևով),
S – դահլիճում պատող կոնստրուկցիաների ընդհանուր մակերեսը, մ2,
n – գործակից, որը հաշվի է առնում ձայնի կլանումն օդում` 2000 Հց հաճախականությունում ո=0,009, 4000 Հց-ի դեպքում` ո = 0,022:
2) Ձայնակլանման համարժեք մակերեսի գումարային մեծությունը (1.3) բանաձևով որոշելիս հարկավոր է հանդիսատեսային տեղերի զբաղվածությունը համարել 70%:
2. Հետարձագանքման (ռևերբերացիայի) ժամանակի օպտիմալ արժեքները 500-ից մինչև 1000 Հց միջին հաճախությունների տիրույթում տարբեր նշանակություն ունեցող դահլիճների համար, կախված դրանց ծավալից, տրված են 1-ին նկարում: Թույլատրելի շեղումը բերված մեծություններից` ±10%: Բացի այդ` 125 Հց օկտավային շերտում թույլատրվում է հետարձագանքման ժամանակի մեծության գերազանցում, բայց 20%-ից ոչ ավելի: Եթե դահլիճի հետարձագանքման ժամանակն առնվազն օկտավային շերտերից մեկում` Tfi, տարբերվում է Tօպտ-ից, ապա կոնստրուկտիվ լուծումներում հարկավոր է կատարել որոշ փոփոխություններ` Tfi-ն Tօպտ-–ին մոտեցնելու համար: fկր >125 Հց-ի դեպքում 125 Հց օկտավային շերտի համար (6.1) բանաձևով ստացված արդյունքը պետք է համարել կողմնորոշիչ:
3. Դահլիճի գծագրերի գրաֆիկական վերլուծության նպատակն է` պատերից և առաստաղից հանդիսատեսների նստատեղերի գոտիները հասնող առաջին անդրադարձումների հավասարաչափության ստուգումը` թույլատրելի ուշացումներով` Δt (Δt ≤ 20-25 մվ` խոսակցության համար և 30-35 մվ` երաժշտության համար): Բոլոր կառուցումները կատարվում են ըստ օպտիկայի ճառագայթային (երկրաչափական) օրենքների: Առաջին անդրադարձումների ուշացումը` Δt, մվ, պետք է որոշել հետևյալ բանաձևով.
|
|
(6.4) |
որտեղ` lանդր – անդրադարձող ձայնի ճանապարհի երկարությունը, մ,
lուղ - ուղիղ ձայնի ճանապարհի երկարությունը, մ,
с – օդում ձայնի արագությունը (с = 340 մ/վ):
4. Մինչև կառուցումներ կատարելը, հետազոտվող անդրադարձնող մակերևույթներից յուրաքանչյուրը, ձայնի աղբյուրի և ընդունիչի տրված դիրքերի դեպքում, ձայնային անդրադարձումները կառուցելու համար, պետք է անցնի դրա կիրառման թույլատրելիության ստուգում: Երկրաչափական անդրադարձումների կիրառման թույլատրելիությունը կախված է` ձայնային ալիքի երկարությունից, անդրադարձնող մակերևույթի չափերից և ձայնի աղբյուրի ու ընդունման կետի նկատմամբ նրա դիրքից: Երկրաչափական անդրադարձումների կիրառումը կարելի է համարել թույլատրելի` եթե անդրադարձիչի նվազագույն կողմը 1,5- 2,0 մ-ից պակաս չէ:
5. Ուղիղ ձայնի գործողության շառավիղը` rուղ., խոսակցության համար կազմում է 8-ից մինչև 9 մ, երաժշտության համար` 10-ից մինչև 12 մ: Հանդիսատեսային տեղերում rուղ., -ի սահմաններում անդրադարձումների օգնությամբ ուղիղ ձայնի ուժեղացում չի պահանջվում: Առաջին ինտենսիվ անդրադարձումները, սկսած rուղ., –ից, պետք է վերածածկեն հանդիսատեսային տեղերի ամբողջ գոտին: Եթե պատերի կամ առաստաղի մակերևույթները կազմված են առանձին բաժանումներից, ապա բաժանումների ուրվագիծը պետք է կատարել այնպես, որ հարևան տարրերից անդրադարձումները վերածածկեն միմյանց` չթողնելով անդրադարձող ձայնից զրկված «մեռած գոտիներ»:
6. Համեմատաբար մեծ բարձրություն և լայնություն ունեցող դահլիճներում, անթույլատրելի ուշացումով առաջին անդրադարձումների տեղ հասնելու առավելագույն վտանգավորությունն առաջանում է հանդիսատեսային տեղերի առաջին շարքերում: Այդ երևույթն ուղղելու համար հարկավոր է իրականացնել հատուկ ձայնն անդրադարձնող կոնստրուկցիաներ շքամուտքին մոտ գոտու առաստաղի և պատերի վրա: Այդպիսի կոնստրուկցիաների սկզբունքային սխեման տրված է 1-ին նկարում:
ա – դասախոսությունների դահլիճ, բ – դրամատիկական թատրոնի դահլիճ, գ – երաժշտական թատրոնի դահլիճ
Նկար 1 – Շքամուտքի ձևավորումը, որը թույլ է տալիս առաջին անդրադարձումներն ուղղել դեպի դահլիճի խորքը
7. Գծագրերի գրաֆիկական վերլուծությունից և դահլիճում վաղ անդրադարձումների օպտիմալ կառուցվածքի ստեղծումից հետո, այդ նպատակի համար չզբաղեցված մակերևույթները պետք է օգտագործվեն հավասարաչափ բաշխված ձայնային դաշտի ձևավորման համար` ձայնի ցրված, չուղղորդված անդրադարձում ստեղծելու նպատակով: Դրան հասնում են` մակերևույթները պատշգամբներով, որմնասյուներով, որմնախորշերով և այլ նմանատիպ անհարթություններով մասնատելով: Մեծ, հարթ մակերևույթները չեն նպաստում ձայնային դաշտի լավ հավասարաչափ բաշխվածություն ստանալու համար: Հատկապես ցանկալի չեն հարթ, միմյանց զուգահեռ հարթությունները, որոնց միջև ձայնի բազմակի անդրադարձումների արդյունքում առաջանում է «ճախրող արձագանքի» ազդեցություն: Այդպիսի պատերի մասնատումը թուլացնում է այդ ազդեցությունը և ավելացնում հավասարաչափ բաշխվածությունը: Ընդ որում` լավ են ցրվում այն ձայնային ալիքները, որոնց երկարությունը մոտ է տարրի մեծությանը: Ցրող ազդեցությունն ավելանում է, եթե մասնատումների քայլը կանոնավոր չէ, այսինքն` ամբողջ մասնատված մակերևույթի հարակից մասնատումների միջև հեռավորությունները նույնը չեն:
8. Պատշգամբները, օթյակները և շեղատված պատերը բարձրացնում են ձայնային դաշտի հավասարաչափ բաշխվածությունը ցածր հաճախություններում: Գործնականում կիրառվող ճարտարապետական որմնասյուները հիմնականում միջին և բարձր հաճախությունների տիրույթում են:
9. Դահլիճի ներսույթի (ինտերիերի) ձևի և կոնստրուկցիաների ձայնագիտական նախագծման ավարտից հետո հարկավոր է կատարել տեղային ձայնագիտական չափանիշների ստուգողական հաշվարկներ` խոսքի (խոսքի պարզության, հասկանալիության օբյեկտիվ պարամետրերը) և երաժշտության (թափանցիկության ինդեքսը, տարածական տպավորության աստիճանը, ձայնի ուժգնության ինդեքսը) համար, որոնք կարող են հաշվարկվել միայն սենքերի իմպուլսային (խթանային) բնութագրերի համակարգչային մոդելավորման միջոցով: Մոդելավորումը պետք է կատարել ճառագայթների կամ կարծեցյալ աղբյուրների հետազոտման հայտնի մեթոդներով` համակարգչային ժամանակակից որևէ ծրագրով: Եթե նույնիսկ չափանիշներից որևէ մեկի ցուցմունքները տարբերվեն առավել բարենպաստ (օպտիմալ) գոտիներից, ապա հարկավոր է կատարել դահլիճի նախագծի լրացուցիչ ճշտում:
10. Այն դեպքում, երբ դահլիճի հետին պատը առաստաղին կցվում է 90°-ի կամ պակաս անկյան տակ, կարող է առաջանալ այսպես կոչված «թատերական արձագանք»` առաստաղից և պատից ձայնի աղբյուրի ուղղությամբ մեծ ուշացումով տեղ հասնող ձայնի անդրադարձում: Այդպիսի արձագանքը վերացնելու նպատակով, հարկավոր է հետին պատի մոտ առաստաղի մի մասը կամ դահլիճի հետին պատն իրականացնել թեք (նկար 2).
ա, բ - «թատերական արձագանք», գ, դ, ե - «թատերական արձագանք»-ը բացակայում է
Նկար 2 – Դահլիճի առաստաղի կամ հետին պատի կոնստրուկցիան
11. Դահլիճների պատող կոնստրուկցիաների գոգավոր, մեծ մակերևույթները (գմբեթը, թաղը, հատակագծում գոգավոր հետին պատը) ստեղծում են անդրադարձումների խտացումների վտանգ, որի դեպքում ձայնը կենտրոնանում է դահլիճի որևէ մեկ մասում` ստեղծելով ուժեղ արձագանք, իսկ դահլիճի մյուս մասերն անդրադարձումներ չեն ստանում:
12. Գմբեթի նախագծային լուծման երեք տարբերակներ տրված են 3-րդ նկարում: Տարբերակ «ա»` լուսաբանում է ծայրահեղ անհաջող լուծում, գմբեթի կորության շառավիղը մոտավորապես հավասար է դահլիճի բարձրությանը, ձայնը կենտրոնանում է դահլիճի կենտրոնում: Տարբերակ «բ»` կորության շառավիղը կազմում է դահլիճի բարձրության կեսը, անդրադարձումներն անցնում են կիզակետով և այնուհետև բաշխվում են հատակի մակերեսով: Տարբերակ «գ»` կորության շառավիղը կազմում է դահլիճի բարձրության մոտ կրկնակի չափը: Ձայնը գմբեթից անդրադառնում է զուգահեռ ճառագայթների փնջի տեսքով: Եթե գմբեթի ձևը հնարավոր չէ փոխել (օրինակ` կրկեսի շենքը), ապա ձայնի կենտրոնացումից խուսափելու համար հարկավոր է գմբեթի մակերևույթը մասնատել (նկար 3, դ և 3, ե) կամ գմբեթը երեսպատել ձայնակլանիչ նյութերով:
Նկար 3 – Գմբեթով դահլիճի նախագծային լուծման տարբերակներ