«Գրանցված է»
ՀՀ արդարադատության
նախարարության կողմից
28 ապրիլի 2009 թ.
Պետական գրանցման թիվ 32209179
ՀԱՅԱՍՏԱՆԻ ՀԱՆՐԱՊԵՏՈՒԹՅԱՆ
ԿԱՌԱՎԱՐՈՒԹՅԱՆՆ ԱՌԸՆԹԵՐ
ԱՆՇԱՐԺ ԳՈՒՅՔԻ ԿԱԴԱՍՏՐԻ ՊԵՏԱԿԱՆ ԿՈՄԻՏԵ
|
26 փետրվարի 2009 թ. |
N 51-Ն |
Հ Ր Ա Մ Ա Ն
ԿԱԴԱՍՏՐԱՅԻՆ ՔԱՐՏԵԶԱԳՐՄԱՆ ԱՇԽԱՏԱՆՔՆԵՐԻ ԻՐԱԿԱՆԱՑՄԱՆ ՀՐԱՀԱՆԳԸ ՀԱՍՏԱՏԵԼՈՒ ՄԱՍԻՆ
Ղեկավարվելով «Գեոդեզիայի և քարտեզագրության մասին» Հայաստանի Հանրապետության օրենքի 5-րդ հոդվածի «բ» ենթակետով, 8-րդ հոդվածի և Հայաստանի Հանրապետության կառավարության 2001 թվականի հոկտեմբերի 24-ի «Գեոդեզիայի և քարտեզագրության բնագավառում Հայաստանի Հանրապետության կառավարության լիազորած պետական կառավարման մարմնի իրավասությունները Հայաստանի Հանրապետության կառավարությանն առընթեր անշարժ գույքի կադաստրի պետական կոմիտեին վերապահելու մասին» N 1028 որոշման պահանջներով՝
Հրամայում եմ՝
1. Հաստատել Կադաստրային քարտեզագրման աշխատանքների իրականացման հրահանգը՝ համաձայն հավելվածի։
2. Սույն հրամանը սահմանված կարգով ներկայացնել Հայաստանի Հանրապետության արդարադատության նախարարություն՝ պետական գրանցման։
3. Սույն հրամանը ուժի մեջ է մտնում պաշտոնական հրապարակմանը հաջորդող տասներորդ օրը։
| Կոմիտեի նախագահ՝ | Մ. Վարդանյան |
|
Հավելված ՀՀ կառավարությանն առընթեր անշարժ գույքի կադաստրի պետական կոմիտեի նախագահի 2009 թ. փետրվարի 26-ի N 51-Ն հրամանի |
Հ Ր Ա Հ Ա Ն Գ
ԿԱԴԱՍՏՐԱՅԻՆ ՔԱՐՏԵԶԱԳՐՄԱՆ ԱՇԽԱՏԱՆՔՆԵՐԻ ԻՐԱԿԱՆԱՑՄԱՆ
Գ Լ ՈՒ Խ 1
ԸՆԴՀԱՆՈՒՐ ԴՐՈՒՅԹՆԵՐ
1. Սույն հրահանգը սահմանում է անշարժ գույքի կադաստրային քարտեզագրման աշխատանքների բովանդակությունը, դրանց նկատմամբ առաջադրված պահանջները և այդ աշխատանքների իրականացման կարգը:
2. Կադաստրային հանութագրման նյութերը (կադաստրային քարտեզները և կադաստրային հատակագծերը) տեղանքի փոքրացված և ընդհանրացված արտապատկերումներն են համապատասխան մասշտաբով և պայմանական նշաններով, որոնց վրա արտահայտվում են անշարժ գույքի բոլոր միավորները (անկախ սեփականության ձևից), դրանց տեղադրությունը, սահմանները, մակերեսները, տեսքերն ու տեսակները, վերգետնյա և ստորգետնյա մայրուղային հաղորդակցուղիների ցանցը և անշարժ գույքի վերաբերյալ այլ տվյալներ:
3. Կադաստրային հատակագծերը (քարտեզները) հանդիսանում են անշարժ գույքի պետական գրանցման համակարգի հիմնական փաստաթղթերից մեկը և ծառայում են անշարժ գույքի միավորի նկատմամբ իրավունքների պետական գրանցման, գնահատման, հողի հարկի և գույքահարկի բազայի ստեղծման, ինչպես նաև բազմանպատակ կադաստրի վարման համար:
4. Կադաստրային քարտեզագրման աշխատանքների համար ելակետային նյութեր են ծառայում անշարժ գույքի վերաբերյալ գրաֆիկական և տեքստային իրավական փաստաթղթերը, 1:50-1:500, 1:1000, 1:2000, 1:5000, 1:10000 և 1:25000 մասշտաբների հանույթները, հողաշինարարական և քաղաքաշինական ծրագրային փաստաթղթերը, գլխավոր հատակագծերը, գեոդեզիական հիմքի կոորդինատների ժողովածուները:
5. Կադաստրային քարտեզագրման աշխատանքները կարող են իրականացվել համապատասխան լիցենզիա ունեցող իրավաբանական անձանց միջոցով:
6. Կադաստրային հատակագծերը (քարտեզները) կարող են լինել թղթային և թվային (էլեկտրոնային կրիչների վրա):
7. Անշարժ գույքի պետական գրանցման նպատակով կադաստրային քարտեզագրման աշխատանքները կատարվում են անշարժ գույքի յուրաքանչյուր միավորի համար: Իրավունքների պետական գրանցման ժամանակ անշարժ գույքի յուրաքանչյուր միավորին կադաստրային հատակագծի (քարտեզի) վրա տրվում է առանձին ծածկագիր: Անշարժ գույքի կադաստրային ծածկագիրը՝ դա թվերի համակցություն է, որը համապատասխանում է անշարժ գույքի միավորին և պահպանվում է այնքան ժամանակ, քանի դեռ այն գոյություն ունի որպես ֆիզիկական և իրավական մեկ ամբողջություն: Իրավունքների պետական գրանցում չստացած, ինչպես նաև ինքնակամ կառուցված շենքերին, շինություններին և ինքնակամ զբաղեցված հողամասերին տրվում են հերթական համարներ (պայմանական ծածկագրեր):
8. Կադաստրային ծածկագրման նպատակով Հայաստանի Հանրապետության տարածքը բաժանվում է կադաստրային տարածքների (մարզերի), ենթատարածքների (համայնքների), սեկտորների (համայնքի վարչական սահմաններից դուրս՝ մարզի վարչական տարածք), կադաստրային թաղամասերի և միավորների:
9. Կադաստրային հանութագրման աշխատանքները պետք է իրականացվեն ժամանակակից գեոդեզիական էլեկտրոնային գործիքներով և սարքավորումներով (էլեկտրոնային տախեոմետր, արբանյակային դիրքորոշման (GPS) կայան, լազերային հեռաչափ և այլն), որոնց ճշտության նկատմամբ պահանջները տրված են հավելված 2-ում:
10. Կադաստրային քարտեզագրման աշխատանքները իրականացվում են.
1) առաջին պետական գրանցում իրականացնելու նպատակով ամբողջական տարածքների և թաղամասերի համար, այսուհետ՝ համատարած քարտեզագրում,
2) անշարժ գույքի առանձին միավորների նկատմամբ ընթացիկ հաշվառման, գրանցման, միավորման կամ բաժանման նպատակով, այսուհետ՝ լոկալ քարտեզագրում:
11. Կադաստրային քարտեզագրման աշխատանքներն իրականացվում են երեք փուլերով՝
1) նախապատրաստական,
2) դաշտային,
3) գրասենյակային:
Գ Լ ՈՒ Խ 2
ՆԱԽԱՊԱՏՐԱՍՏԱԿԱՆ ԱՇԽԱՏԱՆՔՆԵՐ
12. Կադաստրային քարտեզագրման աշխատանքների նախապատրաստական փուլն իր մեջ ընդգրկում է՝
1) Անհրաժեշտ գրաֆիկական և տեքստային տեղեկատվության, պետական գեոդեզիական և խտացման ցանցերի կետերի ուսումնասիրում և հավաքագրում,
2) Սեփականատերերի, օգտագործողների, անշարժ գույքի միավորների վերաբերյալ անհրաժեշտ տեղեկատվության ուսումնասիրում և հավաքագրում:
Բ Ա Ժ Ի Ն 1
ԱՆՀՐԱԺԵՇՏ ԳՐԱՖԻԿԱԿԱՆ ԵՎ ՏԵՔՍՏԱՅԻՆ ՏԵՂԵԿԱՏՎՈՒԹՅԱՆ, ՊԵՏԱԿԱՆ ԳԵՈԴԵԶԻԱԿԱՆ ԵՎ ԽՏԱՑՄԱՆ ՑԱՆՑԵՐԻ ԿԵՏԵՐԻ ՈՒՍՈՒՄՆԱՍԻՐՈՒՄ ԵՎ ՀԱՎԱՔԱԳՐՈՒՄ
13. Կադաստրային քարտեզագրման համատարած հանութագրման աշխատանքները նախատեսված են ամբողջական տարածքներում անշարժ գույքի միավորների նկատմամբ իրավունքների առաջին պետական գրանցման, գնահատման, հողի հարկի և գույքահարկի բազայի ստեղծման, բազմանպատակ կադաստրի վարման, ինչպես նաև որոշակի պարբերականությամբ քարտեզների թարմացման համար:
14. Այդ աշխատանքների իրականացումից առաջ կատարվում է տվյալ տարածքի վերաբերյալ անհրաժեշտ գրաֆիկական տեղեկատվության, պետական գեոդեզիական և խտացման ցանցերի կետերի ուսումնասիրում և անհրաժեշտ տվյալների հավաքագրում, որն իր մեջ ներառում է՝
1) համապատասխան մասշտաբի տեղագրա-գեոդեզիական, քարտեզագրական, հանութագրման նյութեր, հողաշինարարական և քաղաքաշինական ծրագրային փաստաթղթեր, բնակավայրերի գլխավոր հատակագծեր, հողերի օգտագործման սխեմաներ և այլ նյութեր,
2) տվյալ տարածքի վարչական սահմանների նկարագրության և առկա հողային ֆոնդի վերաբերյալ տեղեկատվություն,
3) տվյալ տարածքում առկա վերգետնյա և ստորգետնյա մայրուղային հաղորդակցուղիների ցանցի վերաբերյալ տեղեկատվություն, որոնք առկա գույքային միավորների համար կարող են առաջացնել սահմանափակումներ կամ սերվիտուտներ,
4) հանութային աշխատանքների իրականացման համար տվյալ տարածքում առկա անհրաժեշտ պետական գեոդեզիական, խտացման և հանութային ցանցերի կետերի վերաբերյալ տվյալներ:
15. Առաջին պետական գրանցումն ավարտված տարածքներում լոկալ քարտեզագրման աշխատանքներն իրականացվում են նոր առաջացած անշարժ գույքի առկայության, գույքի միավորման կամ բաժանման դեպքերում: Աշխատանքներն իրականացնելուց առաջ առաջնահերթ ուսումնասիրվում է գույքի վերաբերյալ անհրաժեշտ իրավական հիմքերի առկայությունը, հողամասի օտարման կամ օգտագործման տրամադրված սահմանված կարգով հաստատված հատակագծային գրաֆիկական նյութերը և անհրաժեշտ այլ տվյալներ: Պետական գեոդեզիական ցանցի և խտացման ցանցերի կետերի հավաքագրումը պայմանավորված է հանութագրվող տարածքի մակերեսից, կառուցապատման խտությունից, վերգետնյա և ստորգետնյա մայրուղային հաղորդակցուղիների ցանցի առկայությունից, (որոնք կարող են հանդիսանալ տվյալ գույքային միավորի համար սահմանափակում կամ սերվիտուտ) և այլ հանգամանքներից: Ելնելով հանութագրվող տարածքի առանձնահատկություններից՝ վերը նշված նյութերը ձեռք են բերվում ըստ անհրաժեշտության:
Բ Ա Ժ Ի Ն 2
ՍԵՓԱԿԱՆԱՏԵՐԵՐԻ, ՕԳՏԱԳՈՐԾՈՂՆԵՐԻ ԱՆՇԱՐԺ ԳՈՒՅՔԻ ՄԻԱՎՈՐՆԵՐԻ ՎԵՐԱԲԵՐՅԱԼ ՏԵՂԵԿԱՏՎՈՒԹՅԱՆ ՀԱՎԱՔԱԳՐՈՒՄ
16. Առաջին պետական գրանցումն իրականացնելու նպատակով կատարվող համատարած կադաստրային քարտեզագրման աշխատանքներից առաջ անհրաժեշտ է, որպեսզի պատվիրատուն լիցենզավորված անձին տրամադրի տվյալներ` հանութագրվող տարածքում սեփականության սուբյեկտների, իրավունքի տեսակների, օգտագործման ձևերի, անշարժ գույքի նպատակային և գործառնական նշանակության, տեսքերի և տեսակների, ինչպես նաև անշարժ գույքի նկատմամբ իրավահաստատող փաստաթղթերի վերաբերյալ: Բացի այդ, իրավասու մարմինների կողմից պետք է տրամադրվեն սեփականատերերի ցուցակներն ըստ սեփականաշնորհման հանձնաժողովների արձանագրությունների, հողամասերի, շենքերի, շինությունների վերաբերյալ օրենսդրությամբ սահմանված կարգով հատկացման որոշումները, անշարժ գույքի օտարման, օգտագործման, վարձակալության պայմանագրերը, քաղվածքներ նախկին ծխամատյաններից կամ տնտեսական գրքերից, հողի սեփականության, օգտագործման իրավունքի ժամանակավոր և պետական ակտերը, անշարժ գույքի սեփականության (օգտագործման) իրավունքի գրանցման վկայականները, այգեգործների տոմսերը, հիփոթեքի, սահմանափակումների, այդ թվում՝ սերվիտուտների, ինչպես նաև քաղաքաշինական գործունեություն ծավալելու, սեփականաշնորհելու վերաբերյալ տրված փաստաթղթերը:
17. Լոկալ քարտեզագրման աշխատանքներ իրականացնելուց առաջ անշարժ գույքի միավորի վերաբերյալ վերը նշված տեղեկատվությունը ըստ անհրաժեշտության պատվիրատուի կողմից տրամադրվում է միայն տվյալ գույքային միավորի համար, իսկ առանձին դեպքերում՝ համապատասխան իրավասու մարմինների կողմից պետք է տրամադրվի նաև սահմանակից հողօգտագործողների վերաբերյալ:
Գ Լ ՈՒ Խ 3
ԴԱՇՏԱՅԻՆ ԱՇԽԱՏԱՆՔՆԵՐԻ ԻՐԱԿԱՆԱՑՄԱՆ ՓՈՒԼ
18. Կադաստրային քարտեզագրման դաշտային աշխատանքների իրականացման փուլը համատարած հանութագրման ժամանակ իր մեջ ընդգրկում է հետևյալ աշխատանքի տեսակները. գեոդեզիական խտացման և հանութային ցանցի ստեղծումը, համայնքի վարչական սահմանների նկարագրի հիման վրա սահմանների ճշգրտումը և համաձայնեցումը, անշարժ գույքի միավորների հանութագրումը, ինչպես նաև հողային ֆոնդի հողային ֆոնդում ընդգրկված հողերի հանութագրումը և դասակարգումը ըստ նպատակային և գործառնական նշանակության, դաշտային աշխատանքների ընթացիկ և վերջնական ստուգումները:
19. Լոկալ հանութագրման աշխատանքների իրականացման ընթացքում կատարվում է. հանութային ցանցի ստեղծում (ըստ անհրաժեշտության), անշարժ գույքի նկատմամբ սեփականատերերի, օգտագործողների իրավունքները հաստատող փաստաթղթերի հիման վրա բնության մեջ անշարժ գույքի միավորների սահմանների ճշգրտում, շենքերի, շինությունների հանութագրում, սերվիտուտ առաջացնող մայրուղային հաղորդակցուղային ցանցերի և այլ անշարժ գույքի միավորների հանութագրում:
Բ Ա Ժ Ի Ն 1
ԳԵՈԴԵԶԻԱԿԱՆ ԽՏԱՑՄԱՆ ԵՎ ՀԱՆՈՒԹԱՅԻՆ ՑԱՆՑԵՐԻ ՍՏԵՂԾՈՒՄԸ
20. Կադաստրային քարտեզագրման աշխատանքների կարևորագույն և պարտադիր պայմաններից մեկը, դա անշարժ գույքի յուրաքանչյուր միավորի պլանային կոորդինատների կապակցումն է ընդունված մեկ միասնական կոորդինատային համակարգում՝ սույն հրահանգով սահմանված ճշտությամբ:
21. Կադաստրային քարտեզագրման աշխատանքները Հայաստանի Հանրապետությունում իրականացվում են ՀՀ կառավարության 2002 թվականի մարտի 11-ի «Հայաստանի Հանրապետության տարածքում WGS-84 համաշխարհային գեոդեզիական կոորդինատային համակարգը ներդնելու մասին» N 225 որոշման պահանջներին համապատասխան` ՎԻՋԻԷՍ-84 (WGS-84) համաշխարհային գեոդեզիական կոորդինատային համակարգում, իսկ առանձին դեպքերում պետական մարմինների պատվերով, իրենց լիազորությունների շրջանակներում, կարող են իրականացվել նաև պետական գեոդեզիական ԿՀ-42 կոորդինատային համակարգում:
22. Անցումը մեկ կոորդինատային համակարգից մյուսին իրականացվում է համապատասխան բանաձևերի միջոցով:
23. Կադաստրային քարտեզագրման աշխատանքների իրականացման համար անհրաժեշտ ելակետային տվյալները լիցենզավորված անձանց տրամադրվում են սահմանված կարգով՝ լիազոր մարմնի կողմից:
24. Կադաստրային ենթատարածքներում (համայնքներում, սեկտորներում) համատարած կադաստրային հանութագրման իրականացման ժամանակ, օգտագործելով նախապատրաստական փուլում ձեռքբերված տեղեկատվությունը և հետազոտման տվյալները, անհրաժեշտ է խտացնել գոյություն ունեցող գեոդեզիական ցանցը կամ ստեղծել տվյալ տարածքի հանութային ցանց` կապակցելով գեոդեզիական ցանցի կետերի հետ (հավելված 5): Խտացման և հանութային գեոդեզիական ցանցերի ստեղծման աշխատանքների ընթացքում պետք է օգտագործվեն բարձր ճշտություն ապահովող գործիքներ և սարքավորումներ (էլեկտրոնային տախեոմետրեր, նիվելիրներ, արբանյակային դիրքորոշման կայաններ (GPS)):
25. Խտացման և հանութային գեոդեզիական ցանցերը անհրաժեշտ է ստեղծել Հայաստանի Հանրապետության կառավարությանն առընթեր անշարժ գույքի կադաստրի պետական կոմիտեի նախագահի 2002 թվականի հուլիսի 11-ի «1:500, 1:2000 և 1:5000 մասշտաբի տեղագրական հանույթների հրահանգի մասին» N 392-Ն հրահանգի պահանջներին համապատասխան:
26. Էլեկտրոնային տախեոմետրի կիրառմամբ ստեղծվող հանութային ցանցը պետք է բավարարի հավելված 1-ում տրված պահանջներին: Այս դեպքում ընթացքի հարաբերական սխալը չպետք է գերազանցի` 1:6000, ընթացքի կամ պարագծի անկյունային անկապքը չպետք է գերազանցի` +20// Ön, որտեղ n-ը` անկյունների թիվն է, անկյան չափման միջին քառակուսային սխալը չպետք է գերազանցի +10II , կողմերի չափման միջին քառակուսային սխալը չպետք է գերազանցի 2-3 սմ:
Պետական գեոդեզիական ցանցին կապակցելու դեպքում անհրաժեշտ է հաշվի առնել երկրի կորության ազդեցությունը չափվող գծերի վրա:
27. Գեոդեզիական խտացման և հանութային ցանցերի, ինչպես նաև դրանց ստեղծման նպատակով օգտագործված ելակետային կետերի կոորդինատները լրացվում են կոորդինատների ժողովածուում (հավելված 6):
Բ Ա Ժ Ի Ն 2
ԿԱԴԱՍՏՐԱՅԻՆ ՀԱՆՈՒՅԹԻ ԻՐԱԿԱՆԱՑՈՒՄԸ
28. Կադաստրային հանութագրման աշխատանքներն իրականացվում են գեոդեզիական հիմքի կետերից:
29. Կադաստրային համատարած հանութագրման ընթացքում իրականացվում են աշխատանքների հետևյալ տեսակները՝
1) համայնքի վարչական սահմանների ճշգրտում, սահմանասյուների տեղազննում, անհրաժեշտության դեպքում՝ հանութագրում,
2) անշարժ գույքի միավորների սահմանների հանութագրում,
3) հողամասերին ամրակայված շենքերի, շինությունների հանութագրում և դասակարգում ըստ նպատակային և գործառնական նշանակության,
4) հողային ֆոնդում ընդգրկված հողերի հանութագրում և դասակարգում ըստ նպատակային և գործառնական նշանակության,
5) հաղորդակցուղիների մայրուղային ցանցի ճշգրտում, որը կարող է առաջացնել սերվիտուտ:
30. Լոկալ կադաստրային հանութագրման ընթացքում իրականացվում են հետևյալ աշխատանքները՝
1) անշարժ գույքի միավորների սահմանների հանութագրում,
2) հողամասին ամրակայված շենքեր, շինությունների հանութագրում և դասակարգում ըստ նպատակային և գործառնական նշանակության,
3) հողամասի հանութագրում և դասակարգում ըստ նպատակային և գործառնական նշանակության,
4) հաղորդակցուղիների մայրուղային ցանցի ճշգրտում, որն առաջացնում է սերվիտուտ:
Կադաստրային հանույթը իրականացվում է ժամանակակից գեոդեզիական էլեկտրոնային գործիքներով և սարքավորումներով (էլեկտրոնային տախեոմետր, արբանյակային դիրքորոշման կայան, լազերային հեռաչափ և այլն):
Բ Ա Ժ Ի Ն 3
ԿԱԴԱՍՏՐԱՅԻՆ ՀԱՆՈՒՅԹԻ ԻՐԱԿԱՆԱՑՄԱՆ ՄԵԹՈԴՆԵՐԸ ԵՎ ԵՂԱՆԱԿՆԵՐԸ
31.Կադաստրային հանույթը կարող է իրականացվել հետևյալ մեթոդներով՝
1) տախեոմետրային հանույթ (էլեկտրոնային տախեոմետրի կիրառմամբ),
2) արբանյակային դիրքորոշման (GPS) ընդունիչների միջոցով իրականացվող հանույթ, կոմբինացված հանույթ, որի դեպքում օգտագործվում են օդալուսանկարահանման և տիեզերալուսանկարահանման նյութերը վերոհիշյալ եղանակներից որևէ մեկի հետ համատեղ:
32. Տախեոմետրային հանույթն իրականացվում է գեոդեզիական հիմքի կետերից՝ տախեոմետրի օգնությամբ: Էլեկտրոնային տախեոմետրով աշխատանքներն սկսելուց առաջ այն կենտրոնացվում է գեոդեզիական հիմքի կետի վրա՝ օպտիկական ուղղալարի օգնությամբ, որից հետո կատարվում է գործիքի կողմնորոշում առնվազն երկու հարևան գեոդեզիական հիմքի կետերով: Այդ նպատակով էլեկտրոնային տախեոմետրում մուտքագրվում են հարևան գեոդեզիական հիմքի կետերի կոորդինատները և գործիքի դիտման առանցքը ուղղորդում են այդ կետերի վրա տեղակայված անդրադարձիչներին: Ուղղորդված կետերի կոորդինատները ստանալուց և ստուգելուց հետո իրականացվում է տեղանքի կադաստրային հանույթը: Էլեկտրոնային տախեոմետրի կիրառման դեպքում կադաստրային հանույթի ենթակա տարրերի կոորդինատները անմիջապես ստացվում են դաշտում, որոնք ավտոմատ կերպով անմիջապես գրանցվում են տախեոմետրի ներքին հիշողության մեջ: Այն դեպքերում, երբ անշարժ գույքի միավորի որևէ շրջադարձային կետ հնարավոր չէ չափագրել տախեոմետրով, ապա անհրաժեշտ բոլոր չափումները կարող են կատարվել լազերային հեռաչափի կամ ժապավենի միջոցով: Տեղանքում կատարված բոլոր չափագրումների համար կազմվում է կադաստրային հանույթի ուրվանկար (աբրիս) (հավելված 7):
Տախեոմետրում կուտակված չափագրման տվյալների և կազմված ուրվանկարների հիման վրա կատարվում են թվայնացման աշխատանքներ:
33. Արբանյակային դիրքորոշման (GPS) ընդունիչների միջոցով իրականացվող կադաստրային հանույթի կիրառման ժամանակ բազային կայանը կենտրոնացվում է հայտնի կոորդինատներ ունեցող գեոդեզիական հիմքի կետի վրա, իսկ շարժվող (GPS) ընդունիչը հերթականությամբ տեղադրվում է կադաստրային հանույթի ենթակա կետերի վրա: Այս դեպքում նույնպես տեղանքում կատարված բոլոր չափագրումների համար կազմվում է կադաստրային հանույթի ուրվանկար: Կայանի և (GPS) ընդունիչի հիշողության մեջ կուտակված տվյալներով և ուրվանկարներով իրականացվում են թվայնացման աշխատանքներ:
34. Կոմբինացված հանույթի դեպքում օգտագործվում են հանութագրվող տարածքի օդալուսանկարահանման և տիեզերական հանութագրման նյութերը վերոհիշյալ եղանակներից որևէ մեկի հետ համատեղ:
Կադաստրային հանութագրման ընթացքում, ելնելով քարտեզագրվող տարածքի պայմաններից և հանութային ցանցի կողմերի դասավորությունից, հիմնականում կիրառվում են իրադրությունների հանույթի գծային հատումների և բևեռային եղանակները:
35. Բևեռային եղանակով հանույթն իրականացվում է գեոդեզիական ցանցի հիմքի կետերից, որի ընթացքում էլեկտրոնային տախեոմետրը հերթականությամբ ուղղորդվում է հանույթի ենթակա կետերի վրա տեղակայված անդրադարձիչներին և անմիջապես տեղանքում ստացվում են հանութագրված կետերի կոորդինատները:
36. Գծային հատումների եղանակը կիրառվում է այն դեպքերում, երբ հնարավոր չէ տեղանքում կիրառել հանույթի բևեռային եղանակը: Գծային հատումների եղանակով հանույթն իրականացնելու դեպքում կետի տեղադիրքը որոշվում է կատարելով 3-ից ոչ պակաս գծային հատումներ՝ գեոդեզիական հիմքի կետերից կամ կայուն եզրագիծ ունեցող անշարժ գույքի միավորների անկյուններից: Այս դեպքում թեք տարածքներում պետք է հաշվի առնել թեքման անկյունները, ինչպես նաև հատումների ուղղությունները չպետք է հատվեն 30 աստիճանից փոքր մեծություն ունեցող և 150 աստիճանը չգերազանցող անկյունների տակ:
37. Կադաստրային հանութագրման աշխատանքների ընթացքում հանույթի են ենթարկվում անշարժ գույքի բոլոր միավորները՝ հողամասեր, շենքեր, շինություններ անկախ սեփականության ձևից և օգտագործման նպատակից, ճանապարհային ցանցը, գետերը, լճերը, ջրանցքները, վերգետնյա և ստորգետնյա մայրուղային հաղորդակցուղային ցանցերը, որոնք կարող են առաջացնել սերվիտուտ:
38. Համայնքի վարչական սահմանների ճշգրտման և հանութագրման աշխատանքները կատարելիս անհրաժեշտ է հիմք ընդունել տվյալ համայնքի վերաբերյալ ՀՀ կառավարության համապատասխան որոշմամբ հաստատված վարչական սահմանների նկարագիրը: Աշխատանքների ավարտից հետո սահմանների հանութագրման տվյալները պետք է համաձայնեցվեն տվյալ համայնքի ղեկավարի հետ:
39. Հանութագրման աշխատանքին զուգահեռ կազմվում է տվյալ տարածքի ուրվանկարը (աբրիս), որի վրա պատկերվում են անշարժ գույքի միավորների սխեմատիկ տեղադրությունը, կոորդինատավորված կետերը, դրանց համարները և անհրաժեշտ այլ տվյալներ (հավելված 7):
40. Հողամասերի սահմաններից բացի կոորդինատավորվում են նաև շենքերի և շինությունների անկյունները: Շենքերի, շինությունների բոլոր այն կողմերը, որոնք հնարավոր չէ հանույթի ենթարկել գործիքային եղանակով, չափագրվում են լազերային հեռաչափի կամ ժապավենի միջոցով, իսկ չափագրման տվյալները լրացվում են ուրվագծի վրա:
41. Հասարակական նշանակության բացօթյա օբյեկտների ոչ հիմնական շինությունները հանութագրվում են առանց մանրամասն չափագրման, հատակագծի վրա կատարելով համապատասխան նշում՝ «ոչ հիմնական շինություն»:
42. Կադաստրային հանութային աշխատանքները բնակավայրի ներսում իրականացվում են 1:50-1:500, 1:1000, 1:2000, 1:5000 մասշտաբներով, իսկ բնակավայրից դուրս՝ 1:2000, 1:5000, 1:10000, 1:25000 մասշտաբներով՝ ելնելով տեղանքի բնույթից և հանութագրվող տարրերի խտությունից:
43. Հանութային աշխատանքների իրականացման արդյունքում անշարժ գույքի միավորները, ըստ իրենց նպատակային և գործառնական նշանակության, պետք է պատկերվեն սույն հրահանգի հավելված 9-ում, ինչպես նաև Հայաստանի Հանրապետության կառավարությանն առընթեր անշարժ գույքի կադաստրի պետական կոմիտեի նախագահի 2006 թվականի մայիսի 5-ի «1:10 000 մասշտաբի տեղագրական քարտեզների պայմանական նշանների հրահանգը» և «1:500, 1:1000, 1:2000, 1:5000 մասշտաբների տեղագրական հատակագծերի համար պայմանական նշանների հրահանգը», «Տեղագրական տեղեկատվության 1։500-1։10000 մասշտաբների թվային քարտեզագրության ավտոմատացված համակարգում օգտագործելու համար դասակարգչի հրահանգը» հաստատելու մասին N 06-119-Ն հրամանով հաստատված հրահանգներում տրված համապատասխան պայմանական նշաններով: Շենքերի, շինությունների դասակարգումը ըստ նպատակային և գործառնական նշանակությունների պետք է համապատասխանի Հայաստանի Հանրապետության քաղաքաշինության նախարարի և Հայաստանի Հանրապետության անշարժ գույքի պետական միասնական կադաստրի վարչության պետի 1998 թվականի մայիսի 26-ի «Հայաստանի Հանրապետության տարածքում ըստ նպատակային նշանակության, շենքերի և շինությունների դասակարգումը» N 108-Կ հրամանով հաստատված կարգով:
44. Կադաստրային հանույթների վրա արտահայտված մայրուղային հաղորդակցուղիների ցանցի վերաբերյալ տվյալները, որոնք առաջացնում են սերվիտուտ, համաձայնեցվում են տվյալ տարածքի համապատասխան ծառայության հետ: Դաշտային աշխատանքներին զուգընթաց ճշգրտվում են նաև անշարժ գույքի միավորին սահմանակից հողօգտագործողների անունները (անվանումները):
45. Առաջին պետական գրանցումն ավարտված տարածքներում լոկալ քարտեզագրման աշխատանքներն իրականացվում են նոր առաջացած անշարժ գույքի առկայության, գույքի միավորման կամ բաժանման դեպքերում, որի արդյունքում կազմվում է հանութագրվող տարածքի հատակագիծ (հավելված 8):
46. Նոր առաջացած անշարժ գույքի չափագրումը պետք է կատարվի Հայաստանի Հանրապետության կառավարությանն առընթեր անշարժ գույքի կադաստրի պետական կոմիտեի նախագահի 2008 թվականի սեպտեմբերի 30-ի «Անշարժ գույքի (հողամասերի, շենքերի, շինությունների) հաշվառման» հրահանգը, «Բնակելի, առանձին կանգնած հասարակական, արտադրական նշանակության շենքերի, շինությունների և դրանցով զբաղեցված հողամասերի բնութագիրը», «Բազմաբնակարան բնակելի շենքի բնակարանի, բազմաբնակարան բնակելի շենքում տեղակայված ոչ բնակելի տարածքի, հասարակական և արտադրական նշանակության օբյեկտի բնութագիրը», «Հողամասի, շենք, շինության հարկերի մակերեսների հաշվարկի» ձևաթղթերը, «Ուրվագծերի (ձևաթղթերի) և հողամասի, շենք, շինությունների հարկերի մակերեսների հաշվարկի ձևաթղթի լրացման մեթոդական ցուցումները» հաստատելու մասին» N 307-Ն հրամանի և սույն հրահանգի պահանջներին համապատասխան՝ նախատեսված եղանակներից որևէ մեկի միջոցով, որի արդյունքում կատարված չափագրումների հիման վրա կազմվում է տվյալ տարածքի ուրվագիծը: Նոր առաջացած գույքի չափագրման աշխատանքները իրականացվում են Էլեկտրոնային տախեոմետրի կիրառմամբ կամ գծային հատումների մեթոդով, որը կարող է կիրառվել միայն համեմատաբար փոքր մակերես ունեցող անշարժ գույքի դեպքում: Գծային հատումների մեթոդով չափագրումները կատարվում են հետևյալ կերպ. կադաստրային քարտեզի վրա արտահայտված տեղանքի բնորոշիչ տարրերից (շենքերի, շինությունների, պարիսպների, ցանկապատերի, խաչմերուկների անկյուններ, հենասյուներ և այլն) կատարվում են 3-ից ոչ պակաս գծային հատումներ (չափումներ) մինչև նոր հատկացված հողամասի սահմանագծերի բեկման կետերը: Հատումների երկարությունը չպետք է գերազանցի չափիչ սարքի (հեռաչափի, չափերիզի) երկարությունը, իսկ հատումների ուղղությունները չպետք է հատվեն 30 աստիճանից պակաս մեծություն ունեցող և 150 աստիճանը չգերազանցող անկյունների տակ: Չափագրման իրականացման ընթացքում կադաստրային քարտեզի տվյալ հատվածի պատճենի վրա կազմվում է տվյալ տարածքի ուրվագիծը, որի վրա պատկերվում է անշարժ գույքի միավորների սխեմատիկ տեղադրությունը, հողակտորների և շենքերի, շինությունների չափերը, դրանց հերթական համարները և այլ անհրաժեշտ տվյալներ: Կազմված հատակագիծը հիմք է հանդիսանում նոր առաջացած անշարժ գույքի միավորները հերթապահ կադաստրային քարտեզներում արտահայտելու համար, որն իրականացվում է տեղում կատարված չափագրման տվյալները կադաստրային քարտեզի տվյալ հատվածի վրա տեղադրելու եղանակով: Ստացված հատակագծի վրա իրականացվում է նոր առաջացած գույքային միավորների պայմանական ծածկագրում: Կազմված ուրվագծի, ներկայացված իրավահաստատող փաստաթղթերի և սեփականատիրոջ (օգտագործողի) դիմումի հիման վրա սահմանված կարգով կազմվում է կադաստրային գործ և կատարվում է անշարժ գույքի նկատմամբ իրավունքի պետական գրանցում:
47. Կադաստրային քարտեզներում առկա հողամասերի վրա նոր կառուցված շենքեր, շինությունների տեղանքին կապակցման և քարտեզում արտահայտման աշխատանքները ևս իրականացվում են նույն կարգով, իսկ շենքերի, շինությունների ներքին չափագրման աշխատանքներն իրականացվում են վերը նշված հրահանգի պահանջներին համապատասխան:
48. Գծային հատումների եղանակով չափագրման պայմաններին չբավարարող բոլոր մյուս նոր առաջացած գույքերի չափագրման, քարտեզագրման և տեղանքին կապակցման աշխատանքները պետք է իրականացվեն միայն էլեկտրոնային տախեոմետրի կիրառմամբ: Հանութային աշխատանքների համար որպես ելակետային պլանային հիմք կարող է հանդիսանալ պետական գեոդեզիական ցանցը, ինչպես նաև տվյալ համայնքի կադաստրային քարտեզագրման նպատակով նախկինում ստեղծված գեոդեզիական ցանցը, որոնց հիման վրա (անհրաժեշտության դեպքում) ստեղծվում է լրացուցիչ հանութային ցանց:
49. Հանութային ցանցի կետերից ժամանակակից գեոդեզիական էլեկտրոնային գործիքներով հանութագրման ժամանակ, կադաստրային հանույթի ենթակա տարրերի կոորդինատները անմիջապես ստացվում են դաշտում և միաժամանակ կազմվում է տվյալ տարածքի ուրվագիծը (աբրիսը), որի վրա պատկերվում են նոր առաջացած անշարժ գույքի միավորների սխեմատիկ տեղադրությունը, սահմանները, շենքերը, շինությունները, մայրուղային հաղորդակցուղային ցանցեր, դրանց կոորդինատավորված կետերը և այդ կետերի համարները: Որպես ուրվագծի հիմք պետք է ընդունել կադաստրային քարտեզի տվյալ հատվածի պատճենը:
50. Կադաստրային էլեկտրոնային քարտեզների կազմման նպատակով հանութագրման բոլոր անհրաժեշտ տվյալները էլեկտրոնային սարքերից (տախեոմետր կամ արբանյակային դիրքորոշման կայան) կամ նրանց հիշողության քարտից ներածվում է համակարգիչ, որից հետո կազմված ուրվագծի հիման վրա կատարվում է թվայնացում: Ստացված կադաստրային քարտեզի վրա իրականացվում է նոր առաջացած գույքային միավորների պայմանական ծածկագրում:
Տարբեր տարածքների հանույթների համակցման ժամանակ թույլատրելի սխալը չպետք է գերազանցի քարտեզի մասշտաբի 0.3 մմ չափը:
51. Անշարժ գույքի միավորների միավորման կամ բաժանման դեպքում չափագրումը պետք է իրականացվի հետևյալ եղանակով. կադաստրային քարտեզի տվյալ հատվածի պատճենի վրա նախկին միավորի (միավորների) սահմանագծերի, դրանց չափերի, նշված մակերեսների վրա կարմիր գույնի թանաքով դրվում են խաչեր այնպես, որ նախկին տվյալները լինեն ընթեռնելի: Նախկին միավորի ծածկագիրը չեղյալ է համարվում (արխիվացվում է), իսկ առկա քարտեզի հատվածի հին ծածկագրի վրա դրվում է խաչ` կարմիր գույնի թանաքով: Չափագրման նոր տվյալները (սահմանագիծ, չափեր, մակերես) կադաստրային քարտեզի վրա տրվում են կապույտ գույնի թանաքով` քարտեզի տվյալ մասշտաբին համապատասխան ճշտությամբ: Նոր առաջացած միավորին տրվող ծածկագիրը պետք է ունենա տվյալ կադաստրային թաղամասում առկա միավորների վերջին ծածկագրին հաջորդող հերթական համարը:
Անշարժ գույքի բաժանման դեպքում, բաժանման եզրագծի բեկման կետերի տեղանքի հետ կապակցումը իրականացվում է գծային հատումների եղանակով` վերը նշված հաջորդականությամբ:
Տարածքային ստորաբաժանումը հերթապահ կադաստրային քարտեզում կատարում է միավորման կամ բաժանման հետ կապված բոլոր փոփոխությունները և դրանց վերաբերյալ տվյալները փոխանցվում է տեղեկատվական կենտրոն, որտեղ տվյալների բազայում կատարվում է համապատասխան փոփոխություն:
52. Նոր առաջացած անշարժ գույքի կադաստրային հանութագրման աշխատանքների ավարտից հետո կատարվում է տվյալ տարածքի լուսանկարահանում տվյալ օրվա դրությամբ, որը հետագայում կցվում է կատարված աշխատանքների հաշվետվությանը:
Կադաստրային քարտեզագրման դաշտային աշխատանքների ավարտից անմիջապես հետո, անկախ այն հանգամանքից, քարտեզագրումը կատարվել է համատարած, թե լոկալ տարածքի համար, բոլոր հանութային նյութերի, ուրվագծերի (աբրիսների) վրա անհրաժեշտ է նշել աշխատանքների կատարման ամսաթիվը, որը նշանակելու է, որ քարտեզում արտահայտված տեղեկատվությունը համապատասխանում է տեղանքում տվյալ օրվա դրությամբ եղած իրադրությանը:
Բ Ա Ժ Ի Ն 4
ԿԱԴԱՍՏՐԱՅԻՆ ՀԱՏԱԿԱԳԾԵՐԻ ԵՎ ՔԱՐՏԵԶՆԵՐԻ ՃՇՏՈՒԹՅԱՆ ԲՆՈՒԹԱԳՐԵՐԸ
53. Հատակագծերի (քարտեզների) ճշտության թվային բնութագիր է ծառայում եզրագծային կետի դիրքի միջին քառակուսային mt, կամ միջին Qt սխալը` հանութային ցանցի ամենամոտ կետի նկատմամբ (Qt=0.8mt):
54. Միջին քառակուսային mt, սխալի Dt սահմանային արժեքը ընդունվում է հավասար 2mt:
Գործնականում տարբեր բնույթ ունեցող եզրագծերի կետերի դիրքի միջին քառակուսային սխալները կարելի է գնահատել հավելված 3-ում բերված տվյալներով:
55. Այդ տվյալներին տեղանքում համապատասխանող արժեքները ստանալու համար անհրաժեշտ է դրանք բազմապատկել հատակագծի թվային մասշտաբի հայտարարով:
56. Սահմանային սխալները (∆t) չպետք է գերազանցեն աղյուսակում բերված արժեքների կրկնակին և չպետք է գերազանցի կատարվող ստուգումների քանակի 10%-ը (եթե կատարվել է 100 կետի ստուգում, ապա 10 կետի համար սխալանքը կարող է հավասար լինել 2 mt, մնացած ստուգված կետերի համար սխալները պետք է լինեն 2mt-ից փոքր):
57. Հատակագծի վրա գտնվող կայուն եզրագիծ ունեցող անշարժ գույքի միավորների (օրինակ` շենքերի) միջև եղած հեռավորությունները պետք է համապատասխանեն բնության մեջ դրանց հեռավորություններին, սխալանքը չպետք է գերազանցի m=0.2մմM միջին քառակուսային սխալը:
Բ Ա Ժ Ի Ն 5
ԴԱՇՏԱՅԻՆ ԱՇԽԱՏԱՆՔՆԵՐԻ ՍՏՈՒԳՈՒՄԸ ԵՎ ԸՆԴՈՒՆՈՒՄԸ
58. Կադաստրային քարտեզագրման աշխատանքների կատարման ժամանակ և դրանց ավարտից հետո իրականացվում է աշխատանքների ստուգում և ընդունում: Աշխատանքների ստուգումը և ընդունումը կատարվում է դրանք սույն հրահանգի պահանջների հետ համապատասխանությունը ստուգելու նպատակով:
59. Համատարած քարտեզագրման աշխատանքների ստուգումը կատարվում է հետևյալ եղանակներով.
1) համեմատվում են կադաստրային քարտեզից գրաֆիկական կամ անալիտիկ եղանակով վերցված ստուգվող կետերի կոորդինատները՝ տեղանքում անմիջականորեն չափված և հաշվարկված համապատասխան կետերի կոորդինատների հետ,
2) ստուգվող գույքային միավորի գրաֆիկական չափերը համեմատվում են տեղանքում անմիջականորեն չափված համապատասխան մեծությունների հետ,
3) ստուգվում է մայրուղային հաղորդակցուղային ցանցերի առկայությունը և տեղադիրքը:
60. Շենքերի և շինությունների չափագրման աշխատանքների ստուգումը իրականացվում է երկու փուլով.
1) Բնության մեջ կատարված չափագրումների ճշտության ստուգում,
2) Գրասենյակային աշխատանքների՝ հատակագծերի գծագրման և մակերեսների հաշվարկման ճշտության ստուգում:
61. Չափագրման աշխատանքների ստուգման ժամանակ ստուգվում է դրանց ճշտությունը և ամբողջականությունը, հողամասի վրա առանձին շինությունների դասավորության համապատասխանությունը փաստացի վիճակին:
62. Ստուգման են ենթարկվում քարտեզագրվող տարածքի անշարժ գույքի միավորների մինչև 15%-ը: Կատարված աշխատանքների ճշտությունը պետք է բավարարի կադաստրային հանույթների ճշտության նկատմամբ առաջադրվող պահանջներին:
63. Գեոդեզիական հիմքի, հանույթի, սահմանների ճշտության համար պատասխանատու է աշխատանքները կատարողը: Թերություններ հայտնաբերելու դեպքում աշխատանքները վերադարձվում են կատարողին՝ սեփական միջոցների հաշվին ուղղումներ կատարելու համար:
64. Լոկալ տարածքների քարտեզագրման դաշտային աշխատանքների ստուգումը կարող է իրականացվել ըստ սեփականատիրոջ պահանջի, իր կողմից վարձված լիցենզավորված անձի միջոցով: Անհամապատասխանությունների հայտնաբերման դեպքում կատարված աշխատանքները հետ են վերադարձվում թերություններն ուղղելու համար:
Բ Ա Ժ Ի Ն 6
ԴԱՇՏԱՅԻՆ ԱՇԽԱՏԱՆՔՆԵՐԻ ԱՎԱՐՏԻՑ ՀԵՏՈ ՆԵՐԿԱՅԱՑՎՈՂ ՆՅՈՒԹԵՐԸ
65. Համատարած քարտեզագրման դաշտային աշխատանքների ավարտից հետո անհրաժեշտ է ներկայացնել հետևյալ նյութերը.
1) հանձնվող նյութերի ցանկը,
2) կադաստրային հանույթի ուրվանկարները,
3) հիշողության քարտերը,
4) գեոդեզիական ցանցի սխեման,
5) գեոդեզիական հիմքի կետերի կոորդինատների հաշվարկման ամփոփագրերը,
6) գեոդեզիական հիմքի կետերի կոորդինատների ժողովածուն,
7) գեոդեզիական հիմքի և խտացման ցանցի կետերի տեղադրման (կառուցման) ուրվանկարները և լուսանկարները,
8) բացատրագիր:
Լոկալ տարածքների քարտեզագրման դաշտային աշխատանքների ավարտից հետո կազմվում է առանձին գործ, որը հետագայում պետք է ներառվի աշխատանքների կատարման ամփոփ հաշվետվության մեջ:
Գ Լ ՈՒ Խ 4
Բ Ա Ժ Ի Ն 1
ԳՐԱՍԵՆՅԱԿԱՅԻՆ ԱՇԽԱՏԱՆՔՆԵՐ
66. Կադաստրային քարտեզագրման գրասենյակային աշխատանքների փուլն իր մեջ ներառում է՝
1) անշարժ գույքի միավորների վերաբերյալ գրաֆիկական տվյալների մշակումը, մուտքագրումը և թվայնացումը,
2) կադաստրային պայմանական ծածկագրումը (համարակալումը),
3) կադաստրային քարտեզների (հատակագծերի) ստուգումը,
4) անշարժ գույքի միավորների և օգտագործողների վերաբերյալ տեղեկատվության ամփոփումը:
ԱՆՇԱՐԺ ԳՈՒՅՔԻ ՄԻԱՎՈՐՆԵՐԻ ՎԵՐԱԲԵՐՅԱԼ ԳՐԱՖԻԿԱԿԱՆ ՏՎՅԱԼՆԵՐԻ ՄՈՒՏՔԱԳՐՈՒՄ ԵՎ ԹՎԱՅՆԱՑՈՒՄ
67. Անշարժ գույքի միավորների վերաբերյալ գրաֆիկական տվյալների մուտքագրումը և թվայնացումը իրականացվում է դաշտային հանութագրման տվյալների հիման վրա: էլեկտրոնային քարտեզների կազմման համար անհրաժեշտ է մուտքագրել կադաստրային քարտեզագրման անհրաժեշտ տվյալները էլեկտրոնային տախեոմետրի կամ արբանյակային դիրքորոշման (GPS) ընդունիչների հիշողության քարտից կամ ներքին հիշողությունից (R 232): Մուտքագրված տվյալներով և կազմված ուրվանկարներով կատարվում են թվայնացման աշխատանքներ: Կադաստրային քարտեզները (հատակագծերը) կազմվում են բացառապես էլեկտրոնային եղանակով բնակավայրերում՝ 1:50 - 1: 500, 1:1000, 1: 2000, բնակավայրերից դուրս՝ 1:2000, 1:5000, 1: 10000, 1: 25000 մասշտաբներով:
68. էլեկտրոնային եղանակով թվային կադաստրային հատակագծեր (քարտեզներ) կազմելու ժամանակ օգտագործվում են քարտեզագրական ծրագրերի համապատասխան ծրագրային փաթեթներ, որոնց թվային տվյալները պետք է լինեն դիվիջի Ավտոկադ (.dwg (AutoCad)) կամ դիջիէն Մայքրոստեյշն (.dgn (Microstation)) կամ շեյփ ԱրկԳիս (.shape (ArcGis)) կամ մեփինֆո Մեփինֆո (.mapinfo (MapInfo)) ֆորմատներով:
69. Կադաստրային քարտեզների մուտքագրման և թվայնացման ընթացքում անհրաժեշտ է իրականացնել հետևյալ աշխատանքները.
1) նախապատրաստական աշխատանքներ, որոնց կատարման ժամանակ պետք է ստուգվեն թվային քարտեզների կազմման համար հիմք ծառայող նյութերի որակը,
2) մուտքագրման աշխատանքներ, որոնց կատարման ժամանակ մուտքագրվում են դաշտային հանութային նյութերը` էլեկտրոնային տախեոմետրերի ու արբանյակային դիրքորոշման կայանների միջոցով ստացված դաշտային հանութային տվյալները (եթե աշխատանքները կատարվել են էլեկտրոնային եղանակներով), պլանշետները (եթե աշխատանքները կատարվել են ավանդական եղանակներով), ինչպես նաև նոր առաջացած անշարժ գույքի չափագրման գրաֆիկական տվյալները (երկարություն, լայնություն, որևէ հստակ արտահայտված օբյեկտից հեռավորություն): Էլեկտրոնային տախեոմետրի և արբանյակային դիրքորոշման կայանի չափագրման տվյալները մուտքագրվում են համակարգչի մեջ դրանց հիշողության քարտից կամ ներքին հիշողությունից՝ ինտերֆեյսի միջոցով:
3) մուտքագրված կետերի ստացում էկրանի վրա,
4) ռաստրային պատկերների մշակում,
5) ռաստրային պատկերների վեկտորացում,
6) թեմատիկ շերտերի ստեղծում և վերականգնում (անհրաժեշտության դեպքում),
7) տոպոլոգիայի ստուգում և ճշտում,
8) ավելորդ տարրերի հեռացում,
9) բազային քարտեզի խմբագրում և ստուգում,
10) կադաստրային թվային քարտեզների (բազային և թեմատիկ) բազմացումը՝ էլեկտրոնային կրիչների և թղթի վրա:
70. Կադաստրային քարտեզների ծածկագրման (համարակալման) ընթացքում անհրաժեշտ է իրականացնել հետևյալ աշխատանքները.
1) ծածկագրման (համարակալման) նպատակով տոպոլոգիայի ստուգում,
2) տիրույթների փակության ստուգում և ճշտում,
3) ավելորդ տարրերի հեռացում,
4) ծածկագրում (համարակալում) (կադաստրային թաղամասերի, սեկտորների, հողամասերի, շենքերի, շինությունների),
Ծածկագրման (համարակալման) աշխատանքներն անհրաժեշտ է իրականացնել Առփակ (Arpac) համակարգում:
71. Կատարվող աշխատանքների որակի նկատմամբ ներկայացվող պահանջները.
1) Թվային կադաստրային քարտեզները պետք է համապատասխանեն ելակետային նյութերին:
2) Թվայնացման պետք է ենթարկվեն ելակետային նյութերի վրա պատկերված բոլոր գրաֆիկական տարրերը:
3) Չի թույլատրվում միևնույն գրաֆիկական բնութագրություն (գույն, հաստություն և տիպ) ունեցող տարբեր տիպի օբյեկտների պատկերումը միևնույն թեմատիկ շերտում:
72. Պահանջներ գրաֆիկական տեղեկատվության նկատմամբ.
1) Կոորդինատային ցանցը պատկերել քարտեզի թերթի շրջանակի շերտում:
2) Գրաֆիկական տեղեկատվությունը պատկերելու համար օգտագործել գծերի հետևյալ տեսակները՝
3) գիծ,
4) բազմագիծ,
5) աղեղ,
6) շրջան:
7) Կոմունիկացիոն ցանցը պատկերվում է անընդհատ գծերով (առանց հատվածների):
8) Տարածական օբյեկտները նկարագրվում են կետերի կոորդինատների հերթականությամբ:
9) Տարածական բարդ օբյեկտները, որոնցից մեկը տեղադրված է մյուսի մեջ, նկարագրել հետևյալ կերպ. արտաքին ուրվագիծը՝ ժամացույցի սլաքի հակառակ ուղղությամբ, իսկ ներքինը՝ ժամացույցի սլաքի ուղղությամբ:
10) Տարածական օբյեկտների ձևավորման ժամանակ պատկերել միայն ուրվագիծը (առանց գունավորումների):
11) Գծային և տարածական օբյեկտները, որոնց պայմանական նշանները ընդհատվում են այլ օբյեկտների նշաններով, թվայնացվում են առանց առանձին հատվածների բաժանելու:
12) Եթե տարածական օբյեկտի պատկերը դուրս է գալիս թերթի շրջանակից, ապա տվյալ օբյեկտը հատող կողմի հատվածը հանդիսանում է նրա սահմանային գիծը:
13) Երկու հատվող օբյեկտների համար պետք է ֆիքսվեն միայն հանգուցային կետերը, ընդ որում յուրաքանչյուր հանգուցային կետ պետք է սկիզբ հանդիսանա նոր ուրվագծի համար, եթե նույնիսկ այն բաժանում է միևնույն օբյեկտը:
14) Թվայնացման ժամանակ բոլոր օբյեկտները բաժանվում են թեմատիկ խմբերի, որոնցից յուրաքանչյուրը պարունակում է 1 կամ ավելի շերտեր:
15) Թվային քարտեզների փոխակերպման (տրանսֆորմացիայի) դեպքում օգտագործել միայն աֆինային ձևափոխությունը:
16) Հարևան թերթերի կցակարման աշխատանքների (համաձայնեցման) կատարման ժամանակ միևնույն ուրվագծով կետերը պետք է ունենան միևնույն կոորդինատները (գտնվեն թերթի շրջանակի վրա) և միևնույն պայմանական նշանը: Այդ պատճառով անհրաժեշտ է առաջին հերթին իրականացնել գրաֆիկական ֆայլի տրանսֆորմացիա, այնուհետև՝ շրջանակների կցակար, իսկ վերջում՝ տեղեկատվության ձևափոխում՝ համապատասխան պայմանական նշաններով:
17) Տեքստային տեղեկատվությունը պատկերել օբյեկտների խմբերի առանձին շերտում:
18) Տեքստային տեղեկատվությունը չպետք է ծածկի օբյեկտների ուրվագծերը:
19) Ուրվագծերի ատրիբուտները (գծի տիպ, գույն, հաստություն) տրվում են յուրաքանչյուր կոնկրետ օբյեկտին:
73. Վարձակալությամբ տրամադրված նոր առաջացած անշարժ գույքը կադաստրային քարտեզներում ցույց է տրվում նարնջագույն սահմանագծերով:
74. Նոր առաջացած հողամասերը գծվում են մանուշակագույն ընդհատվող սահմանագծով, իսկ շենքերը` փիրուզագույն սահմանագծերով: Տեղեկատվական կենտրոնում ստուգումները կատարելուց հետո վերը նշված սահմանագծերը փոխարինվում են կադաստրային քարտեզներում նախատեսված պայմանական գծերով:
75. Համատարած քարտեզագրման թվայնացման աշխատանքների ավարտից հետո էլեկտրոնային քարտեզի վրա պատկերվում են՝
1) կոորդինատային ցանցը,
2) գեոդեզիական հիմքի կետերը,
3) համայնքի սահմանները,
4) կադաստրային թաղամասերի սահմանները,
5) կադաստրային միավորների սահմանները,
6) շենքերը և շինությունները,
7) կադաստրային պայմանական ծածկագրերը (համարները),
8) անշարժ գույքի միավորների գծային չափերը և մակերեսները,
9) հաղորդակցուղիները:
Լոկալ տարածքների քարտեզագրման թվայնացման աշխատանքների ավարտից հետո էլեկտրոնային քարտեզի վրա պատկերվում են՝
10) կադաստրային թաղամասի սահմանները,
11) կադաստրային միավորների սահմանները և դրանց բեկման կետերի կոորդինատները,
12) շենքերը և շինությունները,
13) կադաստրային պայմանական ծածկագրերը (համարները),
14) անշարժ գույքի միավորների գծային չափսերը և մակերեսները,
15) տվյալ տարածքում առկա հաղորդակցուղիները:
Բ Ա Ժ Ի Ն 2
ԱՆՇԱՐԺ ԳՈՒՅՔԻ ՄԻԱՎՈՐՆԵՐԻ ԿԱԴԱՍՏՐԱՅԻՆ ԾԱԾԿԱԳՐՈՒՄԸ ԵՎ ՀԱՄԱՐԱԿԱԼՈՒՄԸ
1. ԻՐԱՎՈՒՆՔՆԵՐԻ ՊԵՏԱԿԱՆ ԳՐԱՆՑՈՒՄ ՍՏԱՑԱԾ ԱՆՇԱՐԺ ԳՈՒՅՔԻ ՄԻԱՎՈՐՆԵՐԻ ԾԱԾԿԱԳՐՈՒՄԸ
76. Իրավունքների պետական գրանցում ստացած անշարժ գույքի միավորին տրվում է կադաստրային ծածկագիր` ՀՀ կառավարության 1998 թվականի փետրվարի 17-ի «Անշարժ գույքի ծածկագրման կարգը հաստատելու մասին» N 91 որոշմամբ հաստատված կարգի պահանջներին համաձայն:
77. Անշարժ գույքի կադաստրային ծածկագիրը՝ դա թվերի համակցություն է, որը համապատասխանում է անշարժ գույքի միավորին և պահպանվում է այնքան ժամանակ, քանի դեռ այն գոյություն ունի որպես ֆիզիկական և իրավական մեկ ամբողջություն: Տվյալ կադաստրային ծածկագիրը չի կարող տրվել այլ միավորի, եթե նույնիսկ այդ միավորը դադարեցրել է իր գոյությունը:
78. Կադաստրային ծածկագրման նպատակով Հայաստանի Հանրապետության տարածքը բաժանվում է կադաստրային տարածքների, ենթատարածքների, սեկտորների, կադաստրային թաղամասերի և միավորների:
79. Կադաստրային տարածքների (մարզերի) և կադաստրային ենթատարածքների (համայնքների) ծածկագրերը տրված են հավելված 10-ում:
80. Կադաստրային ծածկագիրն ունի հաստատուն և աստիճանական կառուցվածք՝ բաղկացած հետևյալ խմբերից.
1) թվերի առաջին խումբը կադաստրային տարածքի՝ մարզի ծածկագիրն է, կազմվում է երկնիշ թվերից և սկսվում է 01-ից,
2) թվերի երկրորդ խումբը կադաստրային ենթատարածքի՝ համայնքի ծածկագիրն է, կազմվում է եռանիշ թվերից և սկսվում է 001-ից,
3) եթե անշարժ գույքի միավորը գտնվում է մարզի վարչական տարածքում, բայց համայնքի վարչական սահմաններից դուրս (կադաստրային սեկտոր), ապա այն նույնպես ծածկագրվում է թվերի երկրորդ խմբով և սկսվում է 801-ից,
4) թվերի երրորդ խումբը կադաստրային թաղամասի ծածկագիրն է, կազմվում է եռանիշ թվերից և սկսվում է 001-ից,
5) թվերի չորրորդ խումբը հողամասի ծածկագիրն է, կազմվում է եռանիշ թվերից և սկսվում է 001-ից։
81. Հողամասին ամրակայված շենքերին, շինություններին տրվում են առանձին կադաստրային ծածկագրեր, որոնք կազմված են եռանիշ թվերից և սկսվում է 001-ից։
82. Շենքերի, շինությունների մաս հանդիսացող անշարժ գույքի առանձին միավորներին (բնակելի և ոչ բնակելի տարածքներին) տրվում է եռանիշ թվից բաղկացած ծածկագիր, որն սկսվում է 001-ից:
83. Կադաստրային ծածկագրման աշխատանքները իրականացվում են կադաստրային քարտեզների վրա: Կադաստրային տարածքները համապատասխանում են մարզերի վարչական տարածքներին և բաժանվում են առանձին կադաստրային ենթատարածքների և սեկտորների:
84. Կադաստրային ենթատարածքները համապատասխանում են համայնքների վարչական տարածքներին, իսկ կադաստրային սեկտորները՝ համայնքների վարչական սահմաններից դուրս գտնվող տարածքներին և բաժանվում են առանձին կադաստրային թաղամասերի:
85. Կադաստրային թաղամասը բոլոր կողմերից փողոցներով, ճանապարհներով, երկաթգծերով, գետերով, ջրանցքներով, բնական լանդշաֆտի և բնության մեջ հստակ սահմանագծերով առանձնացված տարածք է:
86. Կադաստրային թաղամասերը բաժանվում են առանձին միավորների (հողամասերի), որոնցից յուրաքանչյուրը ստանում է առանձին ծածկագիր:
87. Հողամասերի վրա շենքերը և շինությունները ծածկագրվում են ըստ իրենց նպատակային նշանակության. սկզբում ծածկագրվում են հիմնական կառույցները, այնուհետև օժանդակ շինությունները: Քաղաքային տարածքներում՝ սկզբում բազմաբնակարան շենքերը, այնուհետև մյուս շենքերը և շինությունները: Շենքերը և շինությունները ծածկագրվում են սկսած 001 թվից:
88. Բազմաբնակարան շենքերում բնակարանները ծածկագրվում են իրենց հասցեներին համապատասխան՝ սկսելով 001 թվով՝ առաջին մուտքի առաջին բնակարանից: Օրինակ՝ Երևան քաղաքի Արաբկիր համայնքի 24-րդ թաղամասի 12-րդ հողամասի 2-րդ շենքի 18-րդ բնակարանի ծածկագիրը կունենա հետևյալ տեսքը՝ 01-003-024-012-002-018: Եթե շենքում բնակարաններից բացի կան նաև անշարժ գույքի այլ միավորներ (խանութ, կենցաղ սպասարկման օբյեկտ և այլն), ապա դրանք ծածկագրվում են բնակարանների ծածկագրումից հետո հաջորդող հերթականությամբ:
89. Ինքնակամ զբաղեցված հողամասերի, շենքերի, շինությունների առկայությամբ անշարժ գույքի նկատմամբ իրավունքների պետական գրանցման ընթացքում ինքնակամ զբաղեցված հողամասերի, շենքերի, շինությունների համարակալումը կատարվում է Հայաստանի Հանրապետության կառավարությանն առընթեր անշարժ գույքի կադաստրի պետական կոմիտեի նախագահի 2005 թվականի հուլիսի 19-ի «Ինքնակամ կառուցված շենքերի, շինությունների և ինքնակամ զբաղեցված հողամասերի առկայությամբ գույքի նկատմամբ իրավունքների պետական գրանցման հրահանգը հաստատելու մասին» N 207-Ն հրամանով հաստատված հրահանգի պահանջներին համապատասխան:
90. Իրավունքների պետական գրանցում ստացած գծային կառույցների, հաղորդակցուղային ցանցերի և ստորգետնյա շինությունների դեպքում նույնպես իրականացվում են ծածկագրման (համարակալման) աշխատանքներ:
2. ԿԱԴԱՍՏՐԱՅԻՆ ՔԱՐՏԵԶԱԳՐՈՒՄԻՑ ՀԵՏՈ ԱՆՇԱՐԺ ԳՈՒՅՔԻ ՄԻԱՎՈՐՆԵՐԻ ՀԱՄԱՐԱԿԱԼՈՒՄԸ (ՊԱՅՄԱՆԱԿԱՆ ԾԱԾԿԱԳՐՈՒՄԸ)
91. Կադաստրային քարտեզագրման աշխատանքների ավարտից հետո համարակալվում են (պայմանական ծածկագրեր են ստանում) հատակագծերում (քարտեզներում) արտացոլված անշարժ գույքի բոլոր միավորները` հողամասերը, շենքերը, շինությունները, գծային կառուցվածքները, որոնց տրվում են հաշվառման հերթական համարներ (պայմանական ծածկագրեր)` անկախ սեփականության ձևից:
92. Կադաստրային հատակագծի (քարտեզի) վրա անցկացվում են համայնքի վարչական սահմանը, բնակավայրի սահմանագիծը, ճանապարհները (փողոցները), երկաթուղիները, գետերը, ջրանցքները և բնական լանդշաֆտի հիմնական գծերը: Վերոհիշյալ գծերի հատումներից ձևավորվում են առանձին կադաստրային թաղամասերը:
93. Սկզբում համարակալվում են բնակավայրի սահմանագծից ներս գտնվող կադաստրային թաղամասերը (հավելված 11): Համարակալումը սկսվում է 001 թվով:
94. Բնակավայրի սահմանագծից ներս գտնվող կադաստրային թաղամասերի համարակալումից հետո նույն սկզբունքով իրականացվում է նաև բնակավայրի սահմանագծից դուրս գտնվող տարածքներում կադաստրային թաղամասերի համարակալումը (հավելված 12): Բնակավայրի սահմանագծից դուրս գտնվող կադաստրային թաղամասերի համարակալումը սկսվում է բնակավայրի վերջին թաղամասի համարին հաջորդող հարյուրակ գումարած մեկ թվից, այսինքն՝ բնակավայրի թաղամասերի համարների և բնակավայրից դուրս գտնվող կադաստրային թաղամասերի համարների միջև թողնվում են պահուստային համարներ՝ անհրաժեշտության դեպքում բնակավայրի տարածքում նոր առաջացած կադաստրային թաղամասերի համարակալման համար: Օրինակ, եթե բնակավայրում համարակալվել է մինչև 085 համար կադաստրային թաղամասը, ապա բնակավայրից դուրս գտնվող կադաստրային թաղամասերի համարակալումը սկսվում է 101-ից, 086-ից մինչև 101 համարները հանդիսանում են պահուստային համարներ:
95. Եթե համայնքի վարչական սահմաններում կան տարբեր բնակավայրեր կամ միևնույն բնակավայրի 2 տարբեր հատվածներ (հավելված 13), ապա դրանցից վարչական կենտրոնին մոտ գտնվող կամ առավել մեծ տարածք ունեցող հատվածին տրվում է 001 համարը, իսկ մնացած բնակավայրերին կամ հատվածներին տրվում է հաջորդ հարյուրակ գումարած մեկ թիվը:
96. Կադաստրային թաղամասերի ներսում հողամասերի համարակալումը սկսվում է 001 թվից: Համարակալվում են անշարժ գույքի միավորները՝ անկախ սեփականության ձևից:
97. Կադաստրային թաղամասերի և հողամասերի համարակալումը նպատակահարմար է սկսել տվյալ տարածքի հյուսիս-արևմտյան անկյունից և շարունակել ժամացույցի սլաքի ուղղությամբ:
98. Հողամասերի վրա շենքերը, շինությունները կապակցվում են հողամասի հետ և համարակալվում են հետևյալ սկզբունքով.
առաջին հերթին համարակալվում են հողամասի վրա գտնվող հիմնական նպատակային նշանակություն ունեցող կառույցները (բնակելի տուն, բազմաբնակարան շենք, ադմինիստրատիվ շենք և այլն), որից հետո ըստ հերթականության համարակալվում են մնացած օժանդակ շինությունները: Քաղաքային տարածքներում՝ սկզբում բազմաբնակարան շենքերը, այնուհետև մյուս շենքերը և շինությունները (հավելված 14):
Շենքերը և շինությունները համարակալվում են սկսած 001 թվից: Օրինակ՝ համայնքի 28 թաղամասի 5-րդ հողամասի հաշվառման համարը (պայմանական ծածկագիրը) կլինի՝ 03-037-028-005, իսկ այդ հողամասի վրա գտնվող բնակելի տան համարը (պայմանական ծածկագիրը) կլինի՝ 03-037-028-005-001:
Իրականացված աշխատանքների արդյունքում կադաստրային հատակագծի (քարտեզի) վրա համարակալվում են անշարժ գույքի բոլոր միավորները, բացի բազմաբնակարան շենքերի առանձին միավորներից:
Իրավունքների պետական գրանցման դեպքում գրանցված անշարժ գույքի միավորի հաշվառման համարը (պայմանական ծածկագիրը) նույնացվում է որպես կադաստրային ծածկագիր, 3.2.1 կետի պահանջներին համապատասխան:
Իրավունքների պետական գրանցում չստացած անշարժ գույքի միավորների հաշվառման համարները (պայմանական ծածկագրերը) կադաստրային հատակագծերում (քարտեզներում) տրվում են 30-50% փոքր շրիֆտով, քան կադաստրային ծածկագրերը, բայց անհրաժեշտ է հետևել, որ տվյալ հատվածի տպագրման ժամանակ դրանք լինեն ընթեռնելի, հակառակ դեպքում անհրաժեշտ է հատակագծի ազատ հատվածում կատարել տվյալ համարի դուրսգրում:
3. ԿԱԴԱՍՏՐԱՅԻՆ ՔԱՐՏԵԶԱԳՐՈՒՄՆ ԱՎԱՐՏՎԱԾ ՏԱՐԱԾՔՆԵՐՈՒՄ ՆՈՐ ԱՌԱՋԱՑԱԾ, ՄԻԱՎՈՐՎԱԾ ԿԱՄ ԲԱԺԱՆՎԱԾ ԱՆՇԱՐԺ ԳՈՒՅՔԻ ՄԻԱՎՈՐՆԵՐԻ ԾԱԾԿԱԳՐՈՒՄԸ
99. Կադաստրային քարտեզագրումն ավարտված տարածքներում անշարժ գույքի նոր միավորի առաջացման, գույքային միավորների բաժանման կամ միավորման դեպքում անհրաժեշտ է իրականացնել ծածկագրման աշխատանքներ:
100. Կադաստրային քարտեզում նոր առաջացած գույքի դեպքում տվյալ անշարժ գույքի միավորի վրա գրվում է ծածկագիր՝ կապույտ գույնի թանաքով, որը տվյալ թաղամասում ծածկագրված միավորների վերջին համարին հաջորդող հերթական համարը պետք է լինի:
101. Անշարժ գույքի միավորի բաժանման կամ միավորման դեպքում չափագրման նոր տվյալները (սահմանագիծ, չափեր) կադաստրային քարտեզի պատճենի վրա տրվում են կապույտ գույնի թանաքով: Նախկին միավորի ծածկագիրը չեղյալ է համարվում (արխիվացվում է), իսկ կադաստրային գործում առկա քարտեզի հատվածի պատճենի հին ծածկագրի վրա դրվում է խաչ՝ կարմիր գույնի թանաքով: Նույն գույնի թանաքով խաչեր են դրվում նաև նախկին միավորի սահմանների, դրանց չափերի, նշված մակերեսների վրա, այնպես, որ նախկին տվյալները լինեն ընթեռնելի: Նոր առաջացած միավորին տրվող ծածկագիրը պետք է ունենա տվյալ կադաստրային թաղամասում առկա միավորների վերջին ծածկագրին հաջորդող հերթական համարը: Կատարված փոփոխությունները փոխանցվում են տեղեկատվական կենտրոն:
102. Եթե նոր առաջացած անշարժ գույքի միավորների կադաստրային հատակագծում (քարտեզում) տեղադրման, նոր ճանապարհների նախագծման և կառուցման կամ բնակավայրի սահմանի փոփոխության հետևանքով առաջանում են նոր կադաստրային թաղամասեր, ապա առաջնահերթ ծածկագրվում են նաև այդ թաղամասերը: Այդ թաղամասերին տրվում է տվյալ տարածքում ծածկագրված կադաստրային թաղամասերի վերջին համարին հաջորդող հերթական համարը, այսինքն՝ եթե կադաստրային թաղամասը առաջացել է բնակավայրի ներսում կամ նրան կից և համարվում է բնակավայրի տարածք, ապա նրան տրվում է բնակավայրի տարածքում ծածկագրված կադաստրային թաղամասերի վերջին համարին հաջորդող հերթական համարը: Եթե նոր կադաստրային թաղամասը առաջացել է այլ կադաստրային թաղամասի որևէ հողամասի մի հատվածի վրա, ապա տվյալ հողամասի ծածկագրի վրա դրվում է կարմիր գույնի խաչ, իսկ մնացած մյուս հատվածի նոր ծածկագիրը գրվում է կապույտ գույնի թանաքով, որը տվյալ թաղամասում ծածկագրված միավորների վերջին համարին հաջորդող հերթական համարը կլինի: Նախկին ծածկագիրը չեղյալ է համարվում (արխիվացվում է): Այնուհետև ծածկագրում է իրականացվում նաև նոր առաջացած կադաստրային թաղամասերի համար՝ նույն սկզբունքով: Նոր առաջացած թաղամասերի ներսում կապույտ գույնի թանաքով իրականացվում է առանձին հողամասերի ծածկագրումը ըստ հերթականության՝ սույն բաժնի 1 կետի պահանջներին համապատասխան:
4. ԿԱԴԱՍՏՐԱՅԻՆ ՔԱՐՏԵԶՆԵՐԻ ԵՎ ՀԱՏԱԿԱԳԾԵՐԻ ՍՏՈՒԳՈՒՄԸ
103. Գրասենյակային աշխատանքների ստուգման ժամանակ ստուգվում են հատակագծի ընդհանուր ձևավորումը, հողամասի հատակագծի համապատասխանությունը ուրվագծին, գծագրում նշված մասշտաբների ճշտությունը, պայմանական նշանները, բոլոր գրառումների առկայությունը և լրացման ճշտությունը:
104. Էլեկտրոնային կադաստրային քարտեզներ և հատակագծեր ստուգելու ընթացքում ստուգվում են՝
1) ելակետային քարտեզագրական նյութերի որակը,
2) ելակետային քարտեզագրական նյութերի տեսաներածման որակը,
3) թվայնացման որակը:
105. Ելակետային քարտեզագրական նյութերի որակը ստուգելիս հաշվի են առնում՝
1) քարտեզի թերթի (բնօրինակի) և նրա պատճենի առկայությունը,
2) մաթեմատիկական հիմքի (կոորդինատային ցանց, գեոդեզիական հիմքի կետեր) ճշտությունը չպետք է գերազանցի տեսական չափերը համապատասխանաբար +0.2 մմ-ը բնօրինակի և +0.3 մմ-ը պատճենի համար:
106. Տեսաներածման որակի ստուգումը ընդգրկում է՝
1) Տեսաներածման ճշտության ստուգումը, որի ժամանակ ռաստրային պատկերի կոորդինատային ցանցի անկյունագծերի երկարությունը չպետք է գերազանցի +0.2 մմ-ը փաստացի չափերի նկատմամբ։
2) Տեսաներածման ամբողջականության և որակի ստուգումը կատարվում է տեսողական եղանակով, որի ժամանակ համակարգչի էկրանի ռաստրային պատկերը համեմատվում է ելակետային քարտեզի վրա պատկերված բոլոր տարրերի հետ:
107. Թվայնացման որակի ստուգումը ընդգրկում է՝
1) թվայնացման ճշտությունը,
2) թվայնացման տեղեկատվության ամբողջականությունը և հավաստիությունը:
Կադաստրային քարտեզի թվայնացման ճշտությունը ստուգվում է գեոդեզիական հիմքի կետերի, կոորդինատային ցանցի տվյալները համեմատելով դրանց տեսական մեծությունների հետ: Մնացած տեղեկատվությունը ստուգվում է թվային քարտեզների տպիչի վրա ստացված պատճենները համեմատելով ելակետային քարտեզագրական նյութերի հետ:
108. Ծածկագրման (համարակալման) որակի ստուգումը ընդգրկում է՝
1) ծածկագրման ճշտությունը ըստ թաղամասերի և հողամասերի,
2) ծածկագրերի ամբողջականությունը և հավաստիությունը:
Ծածկագրման ճշտությունը անհրաժեշտ է ստուգել թվային քարտեզների տպիչի վրա ստացված պատճենները համեմատելով ելակետային քարտեզագրական նյութերի հետ:
Կադաստրային քարտեզների վրա առանձին տարրերի (օբյեկտների) պատկերման սխալները չպետք է գերազանցեն հավելված 4-ում բերված արժեքները:
5. ԱՆՇԱՐԺ ԳՈՒՅՔԻ ՄԻԱՎՈՐՆԵՐԻ ԵՎ ՕԳՏԱԳՈՐԾՈՂՆԵՐԻ ՎԵՐԱԲԵՐՅԱԼ ՏԵՂԵԿԱՏՎՈՒԹՅԱՆ ԱՄՓՈՓՈՒՄԸ
109. Համատարած կադաստրային քարտեզագրման աշխատանքների ավարտից հետո կազմվում է քարտեզագրված տարածքի հողային ֆոնդի առկայության և բաշխվածության վերաբերյալ ամփոփագիր` ըստ նպատակային նշանակության, հողատեսքերի, գործառնական նշանակության և սեփականության սուբյեկտների (հավելված 15): Կազմվում է նաև անշարժ գույքի միավորների, օգտագործողների և սեփականատերերի վերաբերյալ ամփոփ տեղեկագիր (հավելված 16), որում պետք է արտացոլվեն անշարժ գույքի բոլոր միավորների` հողամասերի և շենքերի, շինությունների վերաբերյալ տեղեկատվությունը:
110. Տեղեկագրի հողամասերի վերաբերյալ բաժնում անհրաժեշտ է լրացնել հողամասերի պայմանական ծածկագրերը (համարները), դրանց նպատակային և գործառնական նշանակությունները, մակերեսները (բնակավայրի տարածքում քառակուսի մետրով, իսկ բնակավայրից դուրս տարածքներում հեկտարով), անշարժ գույքի միավորների օգտագործողների և սեփականատերերի անունները (անվանումները):
111. Տեղեկագրի շենքերի, շինությունների վերաբերյալ բաժնում անհրաժեշտ է լրացնել դրանց պայմանական ծածկագրերը (համարները), մակերեսները՝ արտաքին չափերով (քառ.մ), հարկայնությունը, կառուցման նյութը և կառուցման տարեթիվը:
112. Հողամասերի, շենքերի, շինությունների վերաբերյալ տեղեկատվությունը լրացվում է հանութագրման ժամանակ փաստացի վիճակին համապատասխան, ինչպես նաև սեփականատիրոջ կամ տեղական ինքնակառավարման մարմնի կողմից տրված տեղեկատվության հիման վրա:
113. Լոկալ տարածքների կադաստրային քարտեզագրման աշխատանքների ավարտից հետո հանձնվող նյութերը պետք է ներկայացվեն Հայաստանի Հանրապետության կառավարությանն առընթեր անշարժ գույքի կադաստրի պետական կոմիտի նախագահի 2008 թվականի սեպտեմբերի 25-ի «Տեղագրական քարտեզագրման և հողաշինարարական աշխատանքների իրականացում» լիցենզավորման ենթակա գործունեության իրականացման համար պարտադիր պահանջներ և պայմաններ սահմանող իրավական ակտերի ցանկը հաստատելու մասին» N 290-Ն հրամանով հաստատված ցանկի պահանջներին համապատասխան:
114. Կադաստրային հատակագծերում և քարտեզներում արտահայտված անշարժ գույքի միավորների մակերեսները որոշվում են միայն համակարգչային հատուկ ծրագրերի միջոցով` վերլուծական (անալիտիկ) եղանակով:
115. Կադաստրային հատակագծերում և քարտեզներում և տեղեկագրերում շենքերի, շինությունների մակերեսները տրվում են քառակուսի մետրով՝ 0.01 մ ճշտությամբ, հողամասերի մակերեսները բնակավայրերի տարածքներում տրվում են քառակուսի մետրի 0.01 ճշտությամբ, իսկ բնակավայրից դուրս տարածքներում՝ հեկտարի 0.01 ճշտությամբ:
6. ԿԱԴԱՍՏՐԱՅԻՆ ՔԱՐՏԵԶԱԳՐՄԱՆ ԱՇԽԱՏԱՆՔՆԵՐԻ ԱՎԱՐՏԻՑ ՀԵՏՈ ՀԱՆՁՆՎՈՂ ՆՅՈՒԹԵՐԸ
116. Կադաստրային քարտեզագրման աշխատանքների ամբողջական ավարտից հետո կատարված աշխատանքների վերաբերյալ անհրաժեշտ է ներկայացնել հաշվետվություն` երկու օրինակից, որը պետք է հաստատված լինի աշխատանքներն իրականացնող լիցենզավորված անձի կողմից` ստորագրությամբ և կնիքով, նշելով լիցենզիայի համարը, աշխատանքների կատարման և հանձման ամսաթվերը, ինչպես նաև հաշվետվության թերթերի քանակը: Հաշվետվությունը պետք է պարունակի հետևյալ նյութերը.
1) քարտեզագրված տարածքի հատակագիծը (կամ քարտեզը) թղթային և էլեկտրոնային կրիչներով: Կադաստրային քարտեզներում պատկերված անշարժ գույքի միավորները պետք է արտահայտվեն համապատասխան պայմանական նշաններով, կադաստրային ծածկագրերով (համարներով), գծային չափերով և մակերեսներով: Կադաստրային քարտեզի բոլոր տարրերի պատկերումը և գրագրությունները պետք է լինեն պարզ, ընթեռնելի և միևնույն տառաշարերով (շրիֆտով): Տպագրված կադաստրային հատակագծերի (քարտեզների) հարևան տարածքների առանձին թերթերը պետք է միմյանց հետ լինեն համադրված: Տպագրված կադաստրային հատակագծերի (քարտեզների) թերթերի վրա հստակ պետք է նշված լինեն դաշտային աշխատանքների կատարման և ավարտված աշխատանքների վերջնական հանձնման ամսաթվերը,
2) քարտեզագրված տարածքի էքսպլիկացիան (տարբեր հողատեսքերի հանութագրման դեպքում),
3) ամփոփ տեղեկագիր` անշարժ գույքի միավորների, օգտագործողների և սեփականատերերի վերաբերյալ,
4) քարտեզագրված տարածքի լուսանկարները տվյալ օրվա դրությամբ,
5) կատարված աշխատանքների ամփոփ բացատրագիր` քարտեզագրված տարածքի, դաշտային աշխատանքների կատարման ամսաթվի, աշխատանքների բնույթի, ծավալների, հանույթի տեսակի, մասշտաբի, աշխատանքները կատարող ֆիզիկական անձանց (անուն, ազգանուն, ստորագրություն, վկայականի համար) վերաբերյալ:
7. ԿԱԴԱՍՏՐԱՅԻՆ ՀԱՏԱԿԱԳԾԵՐԻ ԵՎ ՔԱՐՏԵԶՆԵՐԻ ԹԱՐՄԱՑՈՒՄԸ
117. Կադաստրային քարտեզների թարմացումը իրականացվում է ժամանակի տվյալ պահին համապատասխան արդիական կադաստրային քարտեզներ ստանալու նպատակով: Կադաստրային քարտեզների թարմացման աշխատանքները՝ կախված տեղանքում փոփոխությունների ինտենսիվությունից և իրականացվող քաղաքաշինական ծրագրերի ծավալից կատարվում են այն տարածքներում, որտեղ համատարած քարտեզագրման աշխատանքների ավարտից հետո անշարժ գույքի հետ կապված փոփոխությունները մեծ ծավալ են կազմում: Թարմացման աշխատանքներն իրականացվում են օդալուսանկարահանման կամ տիեզերական հանութագրման արդյունքում ստացված օրթոֆոտոհատակագծերի հիման վրա՝ Հայաստանի Հանրապետության կառավարությանն առընթեր անշարժ գույքի կադաստրի պետական կոմիտեի նախագահի 2002 թվականի հուլիսի 11-ի «1:500, 1:2000 և 1:5000 մասշտաբի տեղագրական հանույթների հրահանգի մասին» N 392-Ն հրամանով հաստատված հրահանգի պահանջներին համապատասխան: Թարմացման են ենթարկվում տեղանքի այն տարրերը և գույքային միավորները, որոնք բացակայում են նախկինում ստեղծված հատակագծերում և քարտեզներում կամ կրել են որոշակի փոփոխություն:
118. Կադաստրային քարտեզները թարմացվում են նաև նոր առաջացած, միավորված և բաժանված անշարժ գույքի միավորների նկատմամբ իրավունքների պետական գրանցման ժամանակ, երբ իրականացվում է տվյալ գույքը քարտեզում արտացոլելու գործընթացը:
119. Տարածքային ստորաբաժանումների կողմից ընթացիկ հաշվառման, գույքագրման, տեղազննության, գույքի գրանցման, ինքնակամ գույքի օրինականացման գործընթացի ժամանակ փոփոխությունների բացահայտման դեպքում կադաստրային քարտեզների տվյալ հատվածի վրա կատարվում են համապատասխան լրացումներ, որոնք փոխանցվում են կադաստրային քարտեզների տվյալների բազա:
120. Ինքնակամ կառուցված գույքի բացահայտման դեպքում դրանք կադաստրային քարտեզներում պետք է արտահայտվեն մուգ կապույտ գույնով և պայմանական ծածկագրերով, մինչև դրանց օրինականացումը:
121. Փոփոխությունների վերաբերյալ ներկայացվող տվյալներում պետք է հստակ արտահայտված լինեն համայնքի անվանումը, կադաստրային թաղամասը, նոր առաջացող կամ փոփոխվող և նրանց սահմանակից միավորները, դրանց ծածկագրերը (համարները) և գծային չափերը:
Գ Լ ՈՒ Խ 5
Բ Ա Ժ Ի Ն 1
ԱՆՇԱՐԺ ԳՈՒՅՔԻ ՄԻԱՎՈՐԻ (ՀՈՂԱՄԱՍԻ) ՍԱՀՄԱՆՆԵՐԻ ԱՄՐԱՑՈՒՄԸ
ԸՆԴՀԱՆՈՒՐ ԴՐՈՒՅԹՆԵՐ
122. Հայաստանի Հանրապետության վարչատարածքային միավորների սահմանները ամրացվում են «Հայաստանի Հանրապետության վարչատարածքային բաժանման մասին» Հայաստանի Հանրապետության օրենքի և ՀՀ կառավարության համապատասխան որոշմամբ հաստատված վարչատարածքային միավորի սահմանների նկարագրի հիման վրա՝ Հայաստանի Հանրապետության կառավարությանն առընթեր անշարժ գույքի կադաստրի պետական կոմիտեի նախագահի 2001 թվականի նոյեմբերի 20-ի «ՀՀ վարչատարածքային միավորների սահմանագծերի նկարագրման և սահմանների ամրացման հրահանգի հաստատման մասին» N 847-Կ հրամանի պահանջներին համապատասխան:
123. Անշարժ գույքի առանձին միավորների սահմանների ամրացման համար հիմք են հանդիսանում հողամասերի սահմանների շրջադարձային (բեկման) կետերի կոորդինատները:
124. Անշարժ գույքի սահմանները լինում են մոտավոր և ճշգրիտ:
125. Մոտավոր են համարվում անշարժ գույքի սահմանների սխեմատիկ արտապատկերումները կադաստրային քարտեզների (հատակագծերի) վրա, առանց սահմանային ճշգրիտ չափագրումների:
126. Ճշգրիտ են համարվում անշարժ գույքի այն սահմանները, որոնց շրջադարձային (բեկման), անկյունային կետերը և դրանց միացնող գծերը ճշգրիտ արտապատկերված են կադաստրային հատակագծերում և քարտեզներում: Ճշգրիտ սահմանների շրջադարձային կետերի կոորդինատները հիմք են հանդիսանում հողամասի սահմանների ամրացման համար:
127. Սահմանները տեղանքում ամրացվում են սահմանանիշերով միայն սեփականատիրոջ պատվերով և նրա միջոցների հաշվին:
128. Առանձին հողամասերի սահմանները ամրացնելու, այսինքն՝ սահմանազատում կատարելու համար, իրավունքը հաստատող փաստաթղթերի առկայության դեպքում իրականացվում են հետևյալ աշխատանքները՝
1) հողամասերի սահմանային կետերի տեղափոխում բնության մեջ,
2) հողամասերի սահմանների ամրացում սահմանանիշերով,
3) սահմանանիշերի կոորդինատների որոշում,
4) հողամասերի մակերեսների որոշում,
5) սահմանազատման գործի կազմում:
129. Հողամասերի սահմանազատման և դրանց հետ կապված կադաստրային քարտեզագրման աշխատանքները կարող են կատարվել համապատասխան լիցենզիա ունեցող ֆիզիկական կամ իրավաբանական անձանց կողմից:
Բ Ա Ժ Ի Ն 2
ՍԱՀՄԱՆԱՆԻՇԵՐԻ ՏԵՍԱԿՆԵՐԸ
130. Սահմանանիշերը լինում են 2 տեսակի՝
1) երկարաժամկետ պահպանության սահմանանիշեր,
2) ժամանակավոր սահմանանիշեր:
Սահմանանիշերով ամրացվում են հողամասերի սահմանների շրջադարձային կետերը:
131. Սահմանանիշերով չեն ամրացվում և որպես սահմանանիշ կարող են ծառայել այն կետերը, որոնք համընկնում են քարից, բետոնից կառուցված պատերի, ցանկապատերի, պարիսպների, շենքերի և շինությունների պատերի անկյուններին, ինչպես նաև բնական լանդշաֆտի էլեմենտների (ժայռեր, ձորեր, գետեր, գետակներ) և բնական այլ սահմանների հետ:
132. Չկառուցապատված տարածքներում որպես երկարաժամկետ պահպանության սահմանանիշեր օգտագործվում են 20-50 մմ տրամագիծ և 40-100 սմ երկարություն ունեցող բետոնե շաղախով ամրացված մետաղյա խողովակները (հավելված N 17):
133. Կառուցապատված տարածքներում որպես երկարատև պահպանության սահմանանիշեր են օգտագործվում մետաղյա դրոշմանիշեր, որոնք ցեմենտի շաղախով ամրացվում են շենքերի, շինությունների պատերին և փողոցների մայթեզրերին (հավելված N 18):
134. Երկարատև պահպանության սահմանանիշերը պահպանության են հանձնվում համապատասխան արձանագրություն կազմելով:
135. Ժամանակավոր սահմանանիշեր են համարվում փայտյա և մետաղյա ձողերը, որոնք ամրացվում են միայն կադաստրային քարտեզագրման աշխատանքների իրականացման համար: Դրանք ծառայում են կադաստրային թաղամասերի կամ առանձին հողամասերի սահմանների ամրացման համար: Ժամանակավոր սահմանանիշերը պահպանության չեն հանձնվում:
Բ Ա Ժ Ի Ն 3
ՀՈՂԱՄԱՍԵՐԻ ՍԱՀՄԱՆԱԶԱՏՄԱՆ ԲՈՎԱՆԴԱԿՈՒԹՅՈՒՆԸ
136. Հողամասերի սահմանազատումը համալիր աշխատանք է, որն իրականացվում է հողամասի ձեռքբերման վերաբերյալ համապատասխան փաստաթղթի (անշարժ գույքի նկատմամբ համապատասխան իրավունքի գրանցման վկայականի) և հերթապահ կադաստրային քարտեզի (հատակագծի) հիման վրա և իր մեջ ընդգրկում է՝
1) Կադաստրային քարտեզների (հատակագծերի) ուսումնասիրություն,
2) Սահմանազատման ենթակա հողամասերի սահմանների դաշտային հետազոտություն,
3) Սահմանազատման ենթակա հողամասերի սեփականատերերի և օգտագործողների տեղեկացում՝ սահմանազատման աշխատանքների կատարման մասին,
4) Սահմանանիշերի կոորդինատների փոխանցում բնության մեջ,
5) Տեղանքում հողամասերի սահմանների շրջադարձային կետերի սահմանանիշերով ամրացում,
6) Հողամասի մակերեսի որոշում,
7) Սահմանների վերականգնման և ամրացման գործի հանձնում արխիվ:
4. ՍԱՀՄԱՆԱՆԻՇԵՐԻ ՏԵՂԱԴԻՐՔԻ ԴԱՇՏԱՅԻՆ ՀԵՏԱԶՈՏՈՒԹՅՈՒՆ
Դաշտային հետազոտությունները (տեղազննություն) տեղանքում կատարվում են նախկինում սահմանազատման առկայությունը ստուգելու, դաշտային աշխատանքների առավել հարմար տեխնոլոգիայի ընտրության և սահմանանիշերի տեսակներն ու տեղադրման վայրն ընտրելու նպատակով:
5. ԾԱՆՈՒՑՈՒՄ ՍԵՓԱԿԱՆԱՏԵՐԵՐԻՆ ԵՎ ՀՈՂՕԳՏԱԳՈՐԾՈՂՆԵՐԻՆ ՀՈՂԱՄԱՍԵՐԻ ՍԱՀՄԱՆԱԶԱՏՄԱՆ ՄԱՍԻՆ
137. Սահմանազատման աշխատանքները կատարող անձը օրենսդրությամբ սահմանված կարգով վաղօրոք՝ աշխատանքները սկսելուց առնվազն տասը օրացուցային օր առաջ, սահմանազատվող և հարևան հողամասերի սեփականատերերին ու հողօգտագործողներին պատվիրված ծանուցագրի միջոցով տեղեկացնում է սահմանազատման աշխատանքների կատարման օրվա և ժամի մասին:
Ծանուցագրերը կազմվում են երկու օրինակից, որոնցից մեկը կցվում է գործին (հավելված N 19):
Եթե հարևան սեփականատերերից որևէ մեկը 2 անգամ ծանուցագիր ստանալուց հետո չի ներկայանում, ապա սահմանազատումը կատարվում է առանց նրա, որի մասին կազմվում է համապատասխան արձանագրություն համայնքի ղեկավարի ներկայացուցչի և հարևան հողօգտագործողների հետ:
6. ՏԵՂԱՆՔՈՒՄ ՀՈՂԱՄԱՍԵՐԻ ՍԱՀՄԱՆՆԵՐԻ ԱՄՐԱՑՈՒՄԸ ԵՎ ՀԱՄԱՁԱՅՆԵՑՈՒՄԸ
138. Հողամասերի սահմանների որոշումը կատարվում է տեղանքում՝ անշարժ գույքի կադաստրի պետական կոմիտեի տարածքային ստորաբաժանման ներկայացուցչի, սահմանազատվող և կից հողամասերի սեփականատերերի, օգտագործողների կամ նրանց ներկայացուցիչների ներկայությամբ, որոնց լիազորությունները վավերացված են սահմանված կարգով տրված լիազորագրերով:
139. Հողամասերի սահմանազատման համար հիմք է հանդիսանում կադաստրային գործը (անշարժ գույքի նկատմամբ համապատասխան իրավունքի գրանցման վկայականը և հերթապահ կադաստրային քարտեզը), որի հիման վրա վերականգնում են հողամասերի սահմանները` համաձայնեցնելով կից հողամասերի սեփականատերերի, օգտագործողների կամ նրանց ներկայացուցիչների հետ:
Հողամասերի սահմանների ամրացումը կատարվում է սահմանված տիպի սահմանանիշերով:
140. Սահմանները ամրացնելուց հետո կազմվում է արձանագրություն, որը ստորագրվում է սահմանազատվող և կից հողակտորների սեփականատերերի, օգտագործողների (կամ նրանց կողմից լիազորված անձանց) և աշխատանքներն իրականացնող ձեռնարկության ղեկավարի կողմից: Ակտը հաստատվում է անշարժ գույքի կադաստրի պետական կոմիտեի տարածքային ստորաբաժանման ղեկավարի կողմից և կցվում է տվյալ հողամասի կադաստրային գործին:
7. ՍԱՀՄԱՆԱՆԻՇԵՐԻ ԿՈՈՐԴԻՆԱՏՆԵՐԻ ՈՐՈՇՈՒՄԸ
141. Այն տարածքներում, որտեղ կադաստրային քարտեզագրման աշխատանքներ դեռևս չեն կատարվել, սահմանազատման աշխատանքները իրականացվում են հետևյալ հաջորդականությամբ.
1) Տեղանքում սահմանները ամրացվում են սահմանանիշերով,
2) Սահմանանիշերի ամրացումից հետո իրականացվում են նրանց պլանային դիրքի որոշման աշխատանքներ: Սահմանանիշերի կոորդինատները որոշվում են մետրի 0.01 ճշտությամբ։ Օրինակ՝ X = 4526.78մ, Y= 3741.23մ:
Չափումները կատարելու համար կիրառում են՝
3) էլեկտրոնային տախեոմետր,
4) արբանյակային դիրքորոշման կայան:
Գեոդեզիական չափումների արդյունքներով հաշվարկում են սահմանանիշերի կոորդինատները:
142. Հողամասերի մակերեսների հաշվարկումը կատարվում է վերլուծական եղանակով` համակարգչային հատուկ ծրագրերի միջոցով:
8. ՍԱՀՄԱՆԱԶԱՏՄԱՆ ԱՐԴՅՈՒՆՔՆԵՐԻ ԲՈՂՈՔԱՐԿՈՒՄԸ
Հողամասերի սահմանազատման արդյունքները կարող են բողոքարկվել աշխատանքները ավարտելուց հետո մեկամսյա ժամկետում՝ դիմելով կոմիտեի տարածքային ստորաբաժանում, կադաստրի պետական կոմիտե կամ դատական կարգով:
9. ՍԱՀՄԱՆԱԶԱՏՄԱՆ ԳՈՐԾԻ ՁԵՎԱԿԵՐՊՈՒՄԸ
143. Սահմանազատման աշխատանքների ավարտից հետո աշխատանքներ կատարողը պատվիրատուին և (կամ) անշարժ գույքի կադաստրի պետական կոմիտեի աշխատակազմի տարածքային ստորաբաժանմանն է հանձնում սահմանազատման գործը, որի մեջ պետք է ընդգրկված լինի ՝
1) Բացատրագիր՝ կատարված աշխատանքների մասին,
2) Գեոդեզիական ցանցի կետերի կոորդինատների ժողովածուն, որոնք հիմք են հանդիսացել սահմանազատման աշխատանքները իրականացնելու համար (հավելված N 6),
3) Հողամասի հատակագիծը (հավելված N 8),
4) Սահմանազատված հողամասերի օգտագործողներին տրված ծանուցագրերը (հավելված N 19),
5) Հողամասերի սահմանազատման վերաբերյալ կազմված արձանագրությունը (հավելված N 20),
6) Տեղանքի և ամրացված սահմանանիշերի լուսանկարները՝ կատարման օրվա նշագրումով,
7) Սահմանազատման գործը գրանցվում և դրվում է տվյալ հողամասի կադաստրային գործի մեջ:
Հավելված 1
Էլեկտրոնային տախեոմետրի կիրառմամբ ստեղծվող գեոդեզիական ցանցի ընթացքների ցուցանիշները եվ բնութագրերը
|
Բնութագրերի և ցուցանիշների անվանումը |
Պարամետրերը, նշանակությունը, նրան համապատասխանող ճշտությունները հատակագծերի կազմման ընթացքում | |||||||||
|
մասշ. 1:500 |
մասշ. 1:1000 |
մասշ. 1:2000 |
մասշ. 1:5000 |
մասշ. 1:10000 | ||||||
|
քաղաքային |
քաղաքային |
քաղաքային |
քաղաքային |
քաղաքային | ||||||
|
չկառուցապատ. |
չկառուցապատ. |
չկառուցապատ. |
չկառուցապատ. |
չկառուցապատ. | ||||||
|
ընթացքի կողմի միջ. երկարութ. (մ) |
ընթ. կող. միջ. երկ. (մ) |
ընթ. կող. միջ.երկ. (մ) |
ընթ. կող. միջ. երկ. (մ) | |||||||
|
200 |
100 |
500 |
200 |
500 |
200 |
500 |
200 |
500 |
200 | |
|
1 |
2 |
3 |
4 |
5 |
6 |
7 |
8 |
9 |
10 |
11 |
|
Ընթացքի սահմանային երկարությունը (կմ) |
||||||||||
|
ա) Երկու ելակետային կետերի միջև |
1.8 |
1.3 |
3.2 |
2.8 |
6.0 |
5.0 |
9.0 |
6.0 |
25.0 |
18.0 |
|
բ) ելակետային կետերի ու հանգուցային կետերի միջև |
1.5 |
1.2 |
2.8 |
2.0 |
4.5 |
4.0 |
6.0 |
4.5 |
18.0 |
12.0 |
|
գ) Երկու հանգուցային կետերի միջև |
1.2 |
1.0 |
2.5 |
2.0 |
4.0 |
3.5 |
5.0 |
3.5 |
12.0 |
9.0 |
|
Սահմանային պարագիծը (կմ) |
4.0 |
3.0 |
8.5 |
7.0 |
15.0 |
12.0 |
37.0 |
30.0 |
45.0 |
40.0 |
|
Բազմանկյան կողմերի թիվը ոչ ավելի՝ |
||||||||||
|
ա) Ընթացքում |
9 |
13 |
10 |
14 |
18 |
25 |
27 |
20 |
60 |
90 |
|
բ) Պարագծի մեջ |
15 |
30 |
20 |
35 |
37 |
52 |
90 |
95 |
100 |
100 |
Հավելված 2
Կադաստրային հանութագրման աշխատանքներում կիրառվող գեոդեզիական գործիքներով եվ սարքավորումներով անկյունների եվ գծերի երկարությունների չափման նկատմամբ պահանջվող ճշտությունները
|
Է լ ե կ տ ր ո ն ա յ ի ն տ ա խ ե ո մ ե տ ր | |||
|
TC-305 |
TC-605 | ||
|
հորիզոնական անկյան չափման ճշտությունը |
5'' |
5'' | |
|
հեռավորության չափման ճշտությունը |
+2մմ + Dx10-6 |
+3մմ + Dx10-6 | |
|
Լ ա զ ե ր ա յ ի ն հ ե ռ ա չ ա փ D I S T O | |||
|
հեռավորության չափման ճշտությունը |
+3 մմ | ||
|
Ժ ա պ ա վ ե ն ա մ ե տ ր | |||
|
հեռավորության չափման հարաբերական սխալը |
1/1000 | ||
Հավելված 3
Կադաստրային հատակագծերի եվ քարտեզների ճշտության բնութագրերը
|
Հ/հ |
Տեղագրական օբյեկտի անվանումը |
mt սմ հատա-կագծի (քարտեզի) վրա |
mt սմ տեղանքում | ||||||
|
մինչև 1:500 |
1:500 |
1:1000 |
1:2000 |
1:5000 |
1:10000 |
1:25000 | |||
|
1 |
Կապիտալ շինություններ, պարիսպների անկյուններ, հորերի կենտրոններ, այլ հստակ ճանաչվող առարկաներ |
0.02 |
4 |
10 |
20 |
40 |
100 |
200 |
500 |
|
2 |
Ասֆալտած ճանապարհների հատման կետերը, գյուղերի թաղամասերի հատման կետերը, առուների և ուրիշ հաստատուն օբյեկտների եզրագծերը |
0.04-0.05 |
8-10 |
20-25 |
40-50 |
80-100 |
200-250 |
400-500 |
1000-1250 |
|
3 |
Վարելահողի սահմանները, գրունտային ճանապարհների, անտառուղիների հատումները և ժամանակի ընթացքում քիչ փոփոխվող այլ օբյեկտներ |
0.06-0.10 |
12-20 |
30-50 |
60-100 |
120-200 |
300-500 |
600-1000 |
1500-2500 |
|
4 |
Անտառների, արոտատեղերի, գետերի և գետակների, ինչպես նաև ուրիշ փոփոխվող և հստակ չճանաչվող օբյեկտների եզրագծերի կետերը |
0.11-0.15 |
22-30 |
55-75 |
110-150 |
220-300 |
550-750 |
1100-1500 |
2750-3750 |
Հավելված 4
Կադաստրային հատակագծերի եվ քարտեզների վրա առանձին տարրերի (օբյեկտների) պատկերման նկատմամբ պահանջվող ճշտությունները
|
Սխալների անվանումը |
Թույլատրելի առավելագույն |
|
Օբյեկտի բնութագրման սխալը |
5-ից ավելի |
|
Օբյեկտի պլանային տեղադիրքի սխալը |
3-ից ավելի |
|
Մաթեմատիկական հիմքի սխալի (կոորդինատային ցանց, գեոդեզիական հիմքի կետեր) գերազանցում 0.2 մմ-ից ավելի |
1-ից ավելի |
|
Առանձին շերտերում օբյեկտների անհամապատասխանություն, օբյեկտների ուրվագծերի հատումներ |
5-ից ավելի |
|
Բաց թողնված (չպատկերված) օբյեկտներ |
3-ից ավելի |
|
Չհամաձայնեցված ուրվագծի առկայություն իրար կից (հարևան) թերթերի վրա |
1-ից ավելի |
|
Ռաստրային հիմքի (ելակետային քարտեզի) և թվայնացման արդյունքում ստացված քարտեզի վրա պատկերված միևնույն օբյեկտի տեղադիրքի տարբերությունը՝ բ) գծի 0.2 մմ-ից ավելի շեղում |
30% ավելի 30% ավելի |
Հավելված 5
Հ Ա Տ Ա Կ Ա Գ Ի Ծ
ԳԵՈԴԵԶԻԱԿԱՆ ԽՏԱՑՄԱՆ ԵՎ ՀԱՆՈՒԹԱՅԻՆ ՑԱՆՑԻ
Մ 1:_______
|
____________________________ (կատարող կազմակերպության անվանումը) |
____________________________ (լիցենզիայի համարը) |
|
________________________________ (ղեկավարի անունը, ազգանունը, ստորագրությունը) |
______________________________ (կատարողի անունը, ազգանունը, ստորագրությունը) |
|
|
___________________ (ամսաթիվը)
Կ.Տ. |
Պայմանական նշաններ
Հավելված 6
ԿՈՈՐԴԻՆԱՏՆԵՐԻ ԺՈՂՈՎԱԾՈՒ
ՀՀ______________________մարզի______________________համայնք
|
Կետերի N |
Կետերի տեսակը |
Կոորդինատները |
Բացարձակ բարձրությունները | |
|
X |
Y |
H | ||
|
Գեոդեզիական ցանցի ելակետային կետեր | ||||
|
Գեոդեզիական խտացման և հանութային ցանցի կետեր | ||||
|
____________________________ (կատարող կազմակերպության անվանումը) |
____________________________ (լիցենզիայի համարը) |
|
________________________________ (ղեկավարի անունը, ազգանունը, ստորագրությունը) |
______________________________ (կատարողի անունը, ազգանունը, ստորագրությունը) |
|
|
___________________ (ամսաթիվը)
Կ.Տ. |
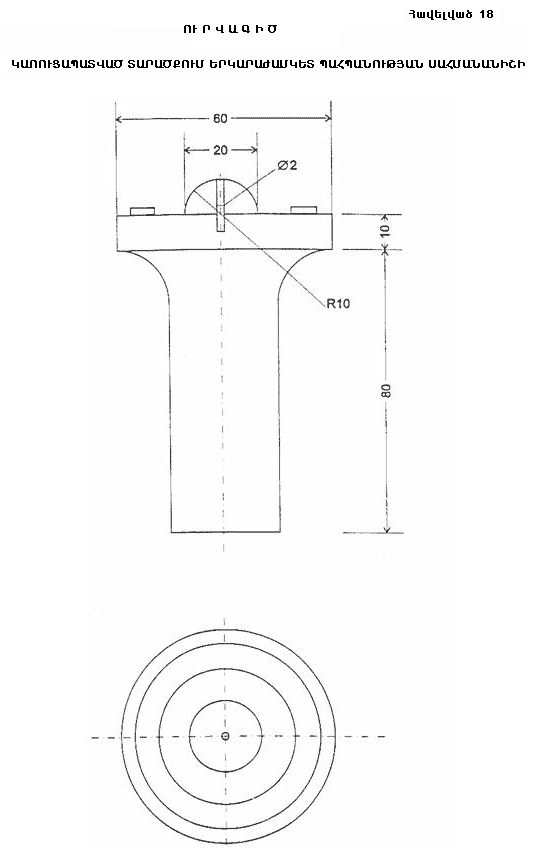
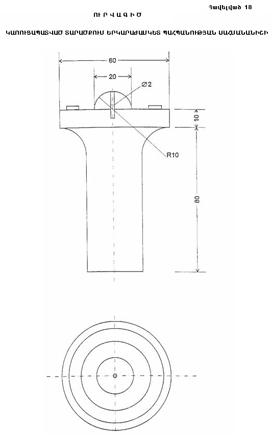
Հավելված 7
Կադաստրային հանույթի ուրվանկար
Պայմանական նշաններ
■ 20, ■ 21 Գեոդեզիական հանութային ցանցի կետեր,
4, 5 Անշարժ գույքի միավորների հանութագրվող կետերի համարներ,
Չափված գծի երկարությունը (մ):
Հավելված 8
ՀԱՏԱԿԱԳԻԾ N_______
|
____________________________________________________ (մարզի, համայնքի անվանումը) ____________________________________________________ (անշարժ գույքի սեփականատիրոջ (օգտագործողի) անունը (անվանումը))
__________________ (ամսաթիվը)
Կ.Տ.
|
Հավելված 9
Կադաստրային հատակագծերում և քարտեզներում օգտագործվող պայմանական նշաններ
Հավելված 10
Ց ա ն կ
ՀՀ կադաստրային տարածքների (մարզերի) ծածկագրերի
|
Հ/հ |
Կադաստրային տարածքի անվանումը |
Կադաստրային տարածքի ծածկագիրը |
|
1 |
Երևան |
01 |
|
2 |
Արագածոտն |
02 |
|
3 |
Արարատ |
03 |
|
4 |
Արմավիր |
04 |
|
5 |
Գեղարքունիք |
05 |
|
6 |
Լոռի |
06 |
|
7 |
Կոտայք |
07 |
|
8 |
Շիրակ |
08 |
|
9 |
Սյունիք |
09 |
|
10 |
Վայոց ձոր |
10 |
|
11 |
Տավուշ |
11 |
Ց ա ն կ
ՀՀ կադաստրային ենթատարածքների ծածկագրերի
|
Երևան քաղաքի ենթատարածքների ծածկագրերը | ||
|
Հ/հ |
Կադաստրային ենթատարածքի անվանումը |
Կադաստրային ենթատարածքի ծածկագիրը |
|
1 |
Աջափնյակ |
01-001 |
|
2 |
Ավան |
01-002 |
|
3 |
Արաբկիր |
01-003 |
|
4 |
Դավթաշեն |
01-004 |
|
5 |
Էրեբունի |
01-005 |
|
6 |
Կենտրոն |
01-006 |
|
7 |
Մալաթիա-Սեբաստիա |
01-007 |
|
8 |
Նոր Նորք |
01-008 |
|
9 |
Նորք-Մարաշ |
01-009 |
|
10 |
Նուբարաշեն |
01-010 |
|
11 |
Շենգավիթ |
01-011 |
|
12 |
Քանաքեռ-Զեյթուն |
01-012 |
|
ՀՀ Արագածոտնի մարզի ենթատարածքների (համայնքների) ծածկագրերը | ||
|
Հ/հ |
Կադաստրային ենթատարածքի անվանումը |
Կադաստրային ենթատարածքի ծածկագիրը |
|
1 |
Աշտարակ |
02-001 |
|
2 |
Ապարան |
02-002 |
|
3 |
Թալին |
02-003 |
|
4 |
Ագարակ (Աշտարակի շրջ.) |
02-004 |
|
5 |
Ագարակավան |
02-005 |
|
6 |
Ալագյազ |
02-006 |
|
7 |
Ակունք |
02-007 |
|
8 |
Աղձք |
02-008 |
|
9 |
Սադունց |
02-009 |
|
10 |
Անտառուտ |
02-010 |
|
11 |
Աշնակ |
02-011 |
|
12 |
Ավան |
02-012 |
|
13 |
Մեծաձոր |
02-013 |
|
14 |
Ավշեն |
02-014 |
|
15 |
Արագած (Ապարանի շրջ.) |
02-015 |
|
16 |
Արագածավան |
02-016 |
|
17 |
Արագածոտն |
02-017 |
|
18 |
Արա |
02-018 |
|
19 |
Թաթուլ |
02-019 |
|
20 |
Արտաշատավան |
02-020 |
|
21 |
Արտենի |
02-021 |
|
22 |
Արուճ |
02-022 |
|
23 |
Ափնագյուղ |
02-023 |
|
24 |
Բազմաղբյուր |
02-024 |
|
25 |
Օթևան |
02-025 |
|
26 |
Արևուտ |
02-026 |
|
27 |
Բերքառատ |
02-027 |
|
28 |
Բյուրական |
02-028 |
|
29 |
Գառնահովիտ |
02-029 |
|
30 |
Գեղադիր |
02-030 |
|
31 |
Գեղաձոր |
02-031 |
|
32 |
Գեղարոտ |
02-032 |
|
33 |
Գետափ |
02-033 |
|
34 |
Կանչ |
02-034 |
|
35 |
Դաշտադեմ |
02-035 |
|
36 |
Դավթաշեն |
02-036 |
|
37 |
Ճարճակիս |
02-037 |
|
38 |
Դիան |
02-038 |
|
39 |
Դպրեվանք |
02-039 |
|
40 |
Եղիպատրուշ |
02-040 |
|
41 |
Եղնիկ |
02-041 |
|
42 |
Երնջատափ |
02-042 |
|
43 |
Երրորդ սովխոզ |
02-043 |
|
44 |
Զարինջա |
02-044 |
|
45 |
Զովասար |
02-045 |
|
46 |
Թթուջուր |
02-046 |
|
47 |
Թլիկ |
02-047 |
|
48 |
Իրինդ |
02-048 |
|
49 |
ԼԵռնապար |
02-049 |
|
50 |
Լեռնարոտ |
02-050 |
|
51 |
Լուսագյուղ |
02-051 |
|
52 |
Լուսակն |
02-052 |
|
53 |
Ծաղկահովիտ |
02-053 |
|
54 |
Ծաղկաշեն |
02-054 |
|
55 |
Ծաղկասար |
02-055 |
|
56 |
Ծիլքար |
02-056 |
|
57 |
Կաթնաղբյուր |
02-057 |
|
58 |
Կարբի |
02-058 |
|
59 |
Կարմրաշեն |
02-059 |
|
60 |
Կաքավաձոր |
02-060 |
|
61 |
Կոշ |
02-061 |
|
62 |
Հակկո |
02-062 |
|
63 |
Հարթավան |
02-063 |
|
64 |
Հացաշեն |
02-064 |
|
65 |
Հնաբերդ |
02-065 |
|
66 |
Ձորագլուխ |
02-066 |
|
67 |
Դդմասար |
02-067 |
|
68 |
Ղազարավան |
02-068 |
|
69 |
Մաստարա |
02-069 |
|
70 |
Մելիքգյուղ |
02-070 |
|
71 |
Միրաք |
02-071 |
|
72 |
Կայք |
02-072 |
|
73 |
Ներքին Բազմաբերդ |
02-073 |
|
74 |
Ներքին Սասունաշեն |
02-074 |
|
75 |
Նիգավան |
02-075 |
|
76 |
Նոր Ամանոս |
02-076 |
|
77 |
Շողակն |
02-077 |
|
78 |
Նորաշեն (Արագածի շրջ.) |
02-078 |
|
79 |
Նոր Արթիկ |
02-079 |
|
80 |
Նոր Եդեսիա |
02-080 |
|
81 |
Շամիրամ |
02-081 |
|
82 |
Շենավան |
02-082 |
|
83 |
Շենկանի |
02-083 |
|
84 |
Շղարշիկ |
02-084 |
|
85 |
Ոսկեթաս |
02-085 |
|
86 |
Ոսկեհատ |
02-086 |
|
87 |
Ոսկեվազ |
02-087 |
|
88 |
Չքնաղ |
02-088 |
|
89 |
Պարտիզակ |
02-089 |
|
90 |
Ջամշլու |
02-090 |
|
91 |
Ջրամբար |
02-091 |
|
92 |
Ռյա թազա |
02-092 |
|
93 |
Սաղմոսավան |
02-093 |
|
94 |
Կանիաշիր |
02-094 |
|
95 |
Սասունիկ |
02-095 |
|
96 |
Սարալանջ |
02-096 |
|
97 |
Սիփան |
02-097 |
|
98 |
Սորիկ |
02-098 |
|
99 |
Սուսեր |
02-099 |
|
100 |
Վարդաբյուր |
02-100 |
|
101 |
Վարդենիս |
02-101 |
|
102 |
Վարդենուտ |
02-102 |
|
103 |
Վերին Բազմաբերդ |
02-103 |
|
104 |
Վերին Սասնաշեն |
02-104 |
|
105 |
Վերին Սասունիկ |
02-105 |
|
106 |
Տեղեր |
02-106 |
|
107 |
Ցամաքասար |
02-107 |
|
108 |
Ուշի |
02-108 |
|
109 |
Ուջան |
02-109 |
|
110 |
Փարպի |
02-110 |
|
111 |
Քուչակ |
02-111 |
|
112 |
Օհանավան |
02-112 |
|
113 |
Օշական |
02-113 |
|
114 |
Օրգով |
02-114 |
|
115 |
Միջնատուն |
02-115 |
|
ՀՀ Արարատի մարզի ենթատարածքների (համայնքների) ծածկագրերը | ||
|
Հ/հ |
Կադաստրային ենթատարածքի անվանումը |
Կադաստրային ենթատարածքի ծածկագիրը |
|
1 |
Արտաշատ |
03-001 |
|
2 |
Արարատ |
03-002 |
|
3 |
Մասիս |
03-003 |
|
4 |
Վեդի |
03-004 |
|
5 |
Աբովյան |
03-005 |
|
6 |
Ազատաշեն |
03-006 |
|
7 |
Ազատավան |
03-007 |
|
8 |
Այգավան |
03-008 |
|
9 |
Այգեզարդ |
03-009 |
|
10 |
Այգեպատ |
03-010 |
|
11 |
Այգեստան |
03-011 |
|
12 |
Այնթապ |
03-012 |
|
13 |
Ավշար |
03-013 |
|
14 |
Արալեզ |
03-014 |
|
15 |
Արարատ |
03-015 |
|
16 |
Արաքսավան |
03-016 |
|
17 |
Արբաթ |
03-017 |
|
18 |
Արգավանդ |
03-018 |
|
19 |
Արմաշ |
03-019 |
|
20 |
Արևաբույր |
03-020 |
|
21 |
Արևշատ |
03-021 |
|
22 |
Բաղրամյան |
03-022 |
|
23 |
Բարձրաշեն |
03-023 |
|
24 |
Բերդիկ |
03-024 |
|
25 |
Բերքանուշ |
03-025 |
|
26 |
Բյուրավան |
03-026 |
|
27 |
Բուրաստան |
03-027 |
|
28 |
Գեղանիստ |
03-028 |
|
29 |
Գետազատ |
03-029 |
|
30 |
Գետափնյա |
03-030 |
|
31 |
Գոռավան |
03-031 |
|
32 |
Դալար |
03-032 |
|
33 |
Դաշտավան |
03-033 |
|
34 |
Դաշտաքար |
03-034 |
|
35 |
Դարակերտ |
03-035 |
|
36 |
Դարբնիկ |
03-036 |
|
37 |
Դեղձուտ |
03-037 |
|
38 |
Դիմիտրով |
03-038 |
|
39 |
Դիտակ |
03-039 |
|
40 |
Դվին |
03-040 |
|
41 |
Եղեգնավան |
03-041 |
|
42 |
Երասխ |
03-042 |
|
43 |
Զանգակատուն |
03-043 |
|
44 |
Զորակ |
03-044 |
|
45 |
Լանջազատ |
03-045 |
|
46 |
Լանջանիստ |
03-046 |
|
47 |
Լանջառ |
03-047 |
|
48 |
Լուսաշող |
03-048 |
|
49 |
Լուսառատ |
03-049 |
|
50 |
Խաչփառ |
03-050 |
|
51 |
Կանաչուտ |
03-051 |
|
52 |
Հայանիստ |
03-052 |
|
53 |
Հնաբերդ |
03-053 |
|
54 |
Հովտաշատ |
03-054 |
|
55 |
Հովտաշեն |
03-055 |
|
56 |
Ղուկասավան |
03-056 |
|
57 |
Մասիս |
03-057 |
|
58 |
Մարմարաշեն |
03-058 |
|
59 |
Մխչյան |
03-059 |
|
60 |
Մրգանուշ |
03-060 |
|
61 |
Մրգավան |
03-061 |
|
62 |
Մրգավետ |
03-062 |
|
63 |
Նարեկ |
03-063 |
|
64 |
Նիզամի |
03-064 |
|
65 |
Նշավան |
03-065 |
|
66 |
Նոյակերտ |
03-066 |
|
67 |
Նորաբաց |
03-067 |
|
68 |
Նորամարգ |
03-068 |
|
69 |
Նորաշեն |
03-069 |
|
70 |
Նոր Խարբերդ |
03-070 |
|
71 |
Նոր կյանք |
03-071 |
|
72 |
Նոր Կյուրին |
03-072 |
|
73 |
Նոր ուղի |
03-073 |
|
74 |
Շահումյան |
03-074 |
|
75 |
Շաղափ |
03-075 |
|
76 |
Ոսկետափ |
03-076 |
|
77 |
Ոստան |
03-077 |
|
78 |
Պարույր Սևակ |
03-078 |
|
79 |
Ջրահովիտ |
03-079 |
|
80 |
Ջրաշեն |
03-080 |
|
81 |
Ռանչպար |
03-081 |
|
82 |
Սայաթ - Նովա |
03-082 |
|
83 |
Սիս |
03-083 |
|
84 |
Սիսավան |
03-084 |
|
85 |
Սիփանիկ |
03-085 |
|
86 |
Սուրենավան |
03-086 |
|
87 |
Վանաշեն |
03-087 |
|
88 |
Վարդաշատ |
03-088 |
|
89 |
Վարդաշեն |
03-089 |
|
90 |
Գինեվետ |
03-090 |
|
91 |
Վերին Արտաշատ |
03-091 |
|
92 |
Վերին Դվին |
03-092 |
|
93 |
Տափերական |
03-093 |
|
94 |
Ուրցալանջ |
03-094 |
|
95 |
Ուրցաձոր |
03-095 |
|
96 |
Փոքր Վեդի |
03-096 |
|
97 |
Քաղցրաշեն |
03-097 |
|
ՀՀ Արմավիրի մարզի ենթատարածքների (համայնքների) ծածկագրերը | ||
|
Հ/հ |
Կադաստրային ենթատարածքի անվանումը |
Կադաստրային ենթատարածքի ծածկագիրը |
|
1 |
Արմավիր (Հոկտեմբերյան) |
04-001 |
|
2 |
Վաղարշապատ (Էջմիածին) |
04-002 |
|
3 |
Մեծամոր |
04-003 |
|
4 |
Ակնալիճ |
04-004 |
|
5 |
Ակնաշեն |
04-005 |
|
6 |
Աղավնատուն |
04-006 |
|
7 |
Ամասիա |
04-007 |
|
8 |
Ամբերդ |
04-008 |
|
9 |
Այգեկ |
04-009 |
|
10 |
Այգեշատ (Արմավիրի շրջ.) |
04-010 |
|
11 |
Այգեշատ (Էջմիածնի շրջ.) |
04-011 |
|
12 |
Ապագա |
04-012 |
|
13 |
Առատաշեն |
04-013 |
|
14 |
Արագած |
04-014 |
|
15 |
Արազափ |
04-015 |
|
16 |
Արաքս (Արմավիրի շրջ.) |
04-016 |
|
17 |
Արաքս (Էջմիածնի շրջ.) |
04-017 |
|
18 |
Արգավանդ |
04-018 |
|
19 |
Արգինա |
04-019 |
|
20 |
Արմավիր |
04-020 |
|
21 |
Արշալույս |
04-021 |
|
22 |
Արտամետ |
04-022 |
|
23 |
Արտիմետ |
04-023 |
|
24 |
Արտաշար |
04-024 |
|
25 |
Արևադաշտ |
04-025 |
|
26 |
Արևաշատ |
04-026 |
|
27 |
Արևիկ |
04-027 |
|
28 |
Բագարան |
04-028 |
|
29 |
Բաղրամյան (Բաղրամյանի շրջ.) |
04-029 |
|
30 |
Բաղրամյան (Էջմիածնի շրջ.) |
04-030 |
|
31 |
Բամբակաշատ |
04-031 |
|
32 |
Բերքաշատ |
04-032 |
|
33 |
Գայ |
04-033 |
|
34 |
Գետաշեն |
04-034 |
|
35 |
Գրիբոյեդով |
04-035 |
|
36 |
Դալարիկ |
04-036 |
|
37 |
Դաշտ |
04-037 |
|
38 |
Դողս |
04-038 |
|
39 |
Եղեգնուտ |
04-039 |
|
40 |
Երասխահուն |
04-040 |
|
41 |
Երվանդաշատ |
04-041 |
|
42 |
Զարթոնք |
04-042 |
|
43 |
Մայիսյան |
04-043 |
|
44 |
Լենուղի |
04-044 |
|
45 |
Լեռնագոգ |
04-045 |
|
46 |
Լեռնամերձ |
04-046 |
|
47 |
Լուկաշին |
04-047 |
|
48 |
Լուսագյուղ |
04-048 |
|
49 |
Խանջյան |
04-049 |
|
50 |
Խորոնք |
04-050 |
|
51 |
Ծաղկալանջ |
04-051 |
|
52 |
Ծաղկունք |
04-052 |
|
53 |
Ծիածան |
04-053 |
|
54 |
Կողթավան |
04-054 |
|
55 |
Հայթաղ |
04-055 |
|
56 |
Հայկաշեն |
04-056 |
|
57 |
Հայկավան |
04-057 |
|
58 |
Հացիկ |
04-058 |
|
59 |
Սարդարապատ |
04-059 |
|
60 |
Հովտամեջ |
04-060 |
|
61 |
Հուշակերտ |
04-061 |
|
62 |
Այգեվան |
04-062 |
|
63 |
Մարգարա |
04-063 |
|
64 |
Մեծամոր |
04-064 |
|
65 |
Մերձավան |
04-065 |
|
66 |
Մյասնիկյան |
04-066 |
|
67 |
Մրգաշատ |
04-067 |
|
68 |
Մրգաստան |
04-068 |
|
69 |
Մուսալեռ |
04-069 |
|
70 |
Նալբանդյան |
04-070 |
|
71 |
Նոր Արմավիր |
04-071 |
|
72 |
Նոր Արտագես |
04-072 |
|
73 |
Նոր Կեսարիա |
04-073 |
|
74 |
Նորակերտ |
04-074 |
|
75 |
Նորապատ |
04-075 |
|
76 |
Նորավան |
04-076 |
|
77 |
Շահումյան |
04-077 |
|
78 |
Շահումյանի թռչնաֆաբրիկա |
04-078 |
|
79 |
Շենավան |
04-079 |
|
80 |
Շենիկ |
04-080 |
|
81 |
Ոսկեհատ |
04-081 |
|
82 |
Պտղունք |
04-082 |
|
83 |
Ջանֆիդա |
04-083 |
|
84 |
Ջրաշեն |
04-084 |
|
85 |
Ջրառատ |
04-085 |
|
86 |
Ջրաբի |
04-086 |
|
87 |
Գեղակերտ |
04-087 |
|
88 |
Ալաշկերտ |
04-088 |
|
89 |
Վանանդ |
04-089 |
|
90 |
Վարդանաշեն |
04-090 |
|
91 |
Տալվորիկ |
04-091 |
|
92 |
Տանձուտ |
04-092 |
|
93 |
Տարոնիկ |
04-093 |
|
94 |
Փարաքար |
04-094 |
|
95 |
Փշատավան |
04-095 |
|
96 |
Քարակերտ |
04-096 |
|
97 |
Ֆերիկ |
04-097 |
|
98 |
Թաիրով |
04-098 |
|
ՀՀ Գեղարքունիքի մարզի ենթատարածքների (համայնքների) ծածկագրերը | ||
|
Հ/հ |
Կադաստրային ենթատարածքի անվանումը |
Կադաստրային ենթատարածքի ծածկագիրը |
|
1 |
Գավառ |
05-001 |
|
2 |
Ճամբարակ |
05-002 |
|
3 |
Մարտունի |
05-003 |
|
4 |
Սևան |
05-004 |
|
5 |
Վարդենիս |
05-005 |
|
6 |
Ազատ |
05-006 |
|
7 |
Ախպրաձոր |
05-007 |
|
8 |
Ակունք |
05-008 |
|
9 |
Աղբերք |
05-009 |
|
10 |
Այգուտ |
05-010 |
|
11 |
Այրք |
05-011 |
|
12 |
Անտառամեջ |
05-012 |
|
13 |
Աստղաձոր |
05-013 |
|
14 |
Ավազան |
05-014 |
|
15 |
Արեգունի |
05-015 |
|
16 |
Արծվանիստ |
05-016 |
|
17 |
Արծվաշեն |
05-017 |
|
18 |
Արտանիշ |
05-018 |
|
19 |
Արփունք |
05-019 |
|
20 |
Բերդկունք |
05-020 |
|
21 |
Գանձակ |
05-021 |
|
22 |
Գեղամաբակ |
05-022 |
|
23 |
Գեղամասար |
05-023 |
|
24 |
Գեղամավան |
05-024 |
|
25 |
Գեղարքունիք |
05-025 |
|
26 |
Գեղաքար |
05-026 |
|
27 |
Գեղահովիտ |
05-027 |
|
28 |
Գետիկ |
05-028 |
|
29 |
Դարանակ |
05-029 |
|
30 |
Դդմաշեն |
05-030 |
|
31 |
Դպրաբակ |
05-031 |
|
32 |
Դրախտիկ |
05-032 |
|
33 |
Երանոս |
05-033 |
|
34 |
Զոլաքար |
05-034 |
|
35 |
Զովաբեր |
05-035 |
|
36 |
Ծովասար |
05-036 |
|
37 |
Թթուջուր |
05-037 |
|
38 |
Լանջաղբյուր |
05-038 |
|
39 |
Լիճք |
05-039 |
|
40 |
Լճաշեն |
05-040 |
|
41 |
Լճավան |
05-041 |
|
42 |
Լճափ |
05-042 |
|
43 |
Լուսակունք |
05-043 |
|
44 |
Խաչաղբյուր |
05-044 |
|
45 |
Ծակքար |
05-045 |
|
46 |
Ծաղկաշեն |
05-046 |
|
47 |
Ծաղկունք |
05-047 |
|
48 |
Ծափաթաղ |
05-048 |
|
49 |
Ծովագյուղ |
05-049 |
|
50 |
Ծովազարդ |
05-050 |
|
51 |
Ծովակ |
05-051 |
|
52 |
Ծովինար |
05-052 |
|
53 |
Կալավան |
05-053 |
|
54 |
Կախակն |
05-054 |
|
55 |
Կարճաղբյուր |
05-055 |
|
56 |
Կարմիրգյուղ |
05-056 |
|
57 |
Կութ |
05-057 |
|
58 |
Կուտական |
05-058 |
|
59 |
Հայրավանք |
05-059 |
|
60 |
Ձորագյուղ |
05-060 |
|
61 |
Ձորավանք |
05-061 |
|
62 |
Մադինա |
05-062 |
|
63 |
Մարտունի |
05-063 |
|
64 |
Մաքենիս |
05-064 |
|
65 |
Մեծ Մասրիկ |
05-065 |
|
66 |
Ներքին Գետաշեն |
05-066 |
|
67 |
Ներքին Շորժա |
05-067 |
|
68 |
Նորաբակ |
05-068 |
|
69 |
Նորակերտ |
05-069 |
|
70 |
Նորաշեն |
05-070 |
|
71 |
Նորատուս |
05-071 |
|
72 |
Շատջրեք |
05-072 |
|
73 |
Շատվան |
05-073 |
|
74 |
Շորժա |
05-074 |
|
75 |
Չկալովկա |
05-075 |
|
76 |
Ջաղացաձոր |
05-076 |
|
77 |
Ջիլ |
05-077 |
|
78 |
Սարուխան |
05-078 |
|
79 |
Սեմյոնովկա |
05-079 |
|
80 |
Սոթք |
05-080 |
|
81 |
Վահան |
05-081 |
|
82 |
Վաղաշեն |
05-082 |
|
83 |
Վանևան |
05-083 |
|
84 |
Վարդաձոր |
05-084 |
|
85 |
Վարդենիկ |
05-085 |
|
86 |
Վարսեր |
05-086 |
|
87 |
Վերին Գետաշեն |
05-087 |
|
88 |
Վերին Շորժա |
05-088 |
|
89 |
Տորֆավան |
05-089 |
|
90 |
Տրետուք |
05-090 |
|
91 |
Փամբակ |
05-091 |
|
92 |
Փոքր Մասրիկ |
05-092 |
|
ՀՀ Լոռու մարզի ենթատարածքների (համայնքների) ծածկագրերը | ||
|
Հ/հ |
Կադաստրային ենթատարածքի անվանումը |
Կադաստրային ենթատարածքի ծածկագիրը |
|
1 |
Վանաձոր |
06-001 |
|
2 |
Ալավերդի |
06-002 |
|
3 |
Ախթալա |
06-003 |
|
4 |
Թումանյան |
06-004 |
|
5 |
Շամլուղ |
06-005 |
|
6 |
Սպիտակ |
06-006 |
|
7 |
Ստեփանավան |
06-007 |
|
8 |
Տաշիր |
06-008 |
|
9 |
Ագարակ |
06-009 |
|
10 |
Ազնվաձոր |
06-010 |
|
11 |
Աթան |
06-011 |
|
12 |
Ահնիձոր |
06-012 |
|
13 |
Ամրակից |
06-013 |
|
14 |
Այգեհատ |
06-014 |
|
15 |
Անտառամուտ |
06-015 |
|
16 |
Ապավեն |
06-016 |
|
17 |
Արդվի |
06-017 |
|
18 |
Արծնի |
06-018 |
|
19 |
Արջուտ |
06-019 |
|
20 |
Արևածագ |
06-020 |
|
21 |
Արևաշող |
06-021 |
|
22 |
Աքորի |
06-022 |
|
23 |
Բազում |
06-023 |
|
24 |
Բլագոդարնոյե |
06-024 |
|
25 |
Բովաձոր |
06-025 |
|
26 |
Անտառաշեն |
06-026 |
|
27 |
Գարգառ |
06-027 |
|
28 |
Գեղասար |
06-028 |
|
29 |
Գյուլագարակ |
06-029 |
|
30 |
Գոգարան |
06-030 |
|
31 |
Գուգարք |
06-031 |
|
32 |
Դաշտադեմ |
06-032 |
|
33 |
Դարպաս |
06-033 |
|
34 |
Դեբետ |
06-034 |
|
35 |
Դսեղ |
06-035 |
|
36 |
Եղեգնուտ |
06-036 |
|
37 |
Թեղուտ |
06-037 |
|
38 |
Լեջան |
06-038 |
|
39 |
Լեռնահովիտ |
06-039 |
|
40 |
Լեռնանցք |
06-040 |
|
41 |
Լեռնապատ |
06-041 |
|
42 |
Լեռնավան |
06-042 |
|
43 |
Լերմոնտովո |
06-043 |
|
44 |
Լոռի Բերդ |
06-044 |
|
45 |
Լորուտ |
06-045 |
|
46 |
Լուսաղբյուր |
06-046 |
|
47 |
Խնկոյան |
06-047 |
|
48 |
Ծաթեր |
06-048 |
|
49 |
Ծաղկաբեր |
06-049 |
|
50 |
Ծաղկաշատ |
06-050 |
|
51 |
Կաթնաղբյուր |
06-051 |
|
52 |
Կաթնաջուր |
06-052 |
|
53 |
Կաթնառատ |
06-053 |
|
54 |
Կաճաճկուտ |
06-054 |
|
55 |
Կարմիր Աղեկ |
06-055 |
|
56 |
Կողես |
06-056 |
|
57 |
Կուրթան |
06-057 |
|
58 |
Հագվի |
06-058 |
|
59 |
Հալավար |
06-059 |
|
60 |
Հաղպատ |
06-060 |
|
61 |
Հարթագյուղ |
06-061 |
|
62 |
Հոբարձ |
06-062 |
|
63 |
Հովնանաձոր |
06-063 |
|
64 |
Ձյունաշող |
06-064 |
|
65 |
Ձորագետ |
06-065 |
|
66 |
Ձորագյուղ |
06-066 |
|
67 |
Ձորամուտ |
06-067 |
|
68 |
Ղուրսալ |
06-068 |
|
69 |
Ճոճկան |
06-069 |
|
70 |
Մարգահովիտ |
06-070 |
|
71 |
Մարց |
06-071 |
|
72 |
Մեդովկա |
06-072 |
|
73 |
Մեծ Այրում |
06-073 |
|
74 |
Մեծավան |
06-074 |
|
75 |
Մեծ Պառնի |
06-075 |
|
76 |
Մեղվահովիտ |
06-076 |
|
77 |
Միխայելովկա |
06-077 |
|
78 |
Մղարթ |
06-078 |
|
79 |
Յաղդան |
06-079 |
|
80 |
Նեղոց |
06-080 |
|
81 |
Նովոսելցովո |
06-081 |
|
82 |
Նորաշեն |
06-082 |
|
83 |
Նոր Խաչակապ |
06-083 |
|
84 |
Շահումյան |
06-084 |
|
85 |
Շամուտ |
06-085 |
|
86 |
Շենավան |
06-086 |
|
87 |
Շիրակամուտ |
06-087 |
|
88 |
Շնող |
06-088 |
|
89 |
Չկալով |
06-089 |
|
90 |
Պաղաղբյուր |
06-090 |
|
91 |
Պետրովկա |
06-091 |
|
92 |
Պրիվոլնոյե |
06-092 |
|
93 |
Պուշկինո |
06-093 |
|
94 |
Ջիլիզա |
06-094 |
|
95 |
Ջրաշեն |
06-095 |
|
96 |
Սարալանջ |
06-096 |
|
97 |
Սարահարթ |
06-097 |
|
98 |
Սարամեջ |
06-098 |
|
99 |
Սարատովկա |
06-099 |
|
100 |
Սարչապետ |
06-100 |
|
101 |
Սվերդլով |
06-101 |
|
102 |
Վահագնաձոր |
06-102 |
|
103 |
Վահագնի |
06-103 |
|
104 |
Վարդաբլուր |
06-104 |
|
105 |
Ուռուտ |
06-105 |
|
106 |
Ուրասար |
06-106 |
|
107 |
Փամբակ |
06-107 |
|
108 |
Քարաբերդ |
06-108 |
|
109 |
Քարաձոր |
06-109 |
|
110 |
Քարինջ |
06-110 |
|
111 |
Քարկոփ |
06-111 |
|
112 |
Օձուն |
06-112 |
|
113 |
Ֆիոլետովո |
06-113 |
|
ՀՀ Կոտայքի մարզի ենթատարածքների (համայնքների) ծածկագրերը | ||
|
Հ/հ |
Կադաստրային ենթատարածքի անվանումը |
Կադաստրային ենթատարածքի ծածկագիրը |
|
1 |
Հրազդան |
07-001 |
|
2 |
Աբովյան |
07-002 |
|
3 |
Բյուրեղավան |
07-003 |
|
4 |
Եղվարդ |
07-004 |
|
5 |
Ծաղկաձոր |
07-005 |
|
6 |
Նոր Հաճն |
07-006 |
|
7 |
Չարենցավան |
07-007 |
|
8 |
Ալափարս |
07-008 |
|
9 |
Ակունք |
07-009 |
|
10 |
Աղավնաձոր |
07-010 |
|
11 |
Առինջ |
07-011 |
|
12 |
Արագյուղ |
07-012 |
|
13 |
Արամուս |
07-013 |
|
14 |
Արգել |
07-014 |
|
15 |
Արզական |
07-015 |
|
16 |
Արզնի |
07-016 |
|
17 |
Արտավազ |
07-017 |
|
18 |
Բալահովիտ |
07-018 |
|
19 |
Բջնի |
07-019 |
|
20 |
Բուժական |
07-020 |
|
21 |
Գառնի |
07-021 |
|
22 |
Գեղադիր |
07-022 |
|
23 |
Գեղաշեն |
07-023 |
|
24 |
Գեղարդ |
07-024 |
|
25 |
Գետամեջ |
07-025 |
|
26 |
Գողթ |
07-026 |
|
27 |
Զառ |
07-027 |
|
28 |
Զովաշեն |
07-028 |
|
29 |
Զովունի |
07-029 |
|
30 |
Զովք |
07-030 |
|
31 |
Զորավան |
07-031 |
|
32 |
Թեղենիք |
07-032 |
|
33 |
Լեռնանիստ |
07-033 |
|
34 |
Կաթնաղբյուր |
07-034 |
|
35 |
Կամարիս |
07-035 |
|
36 |
Կապուտան |
07-036 |
|
37 |
Կարենիս |
07-037 |
|
38 |
Կոտայք |
07-038 |
|
39 |
Հանքավան |
07-039 |
|
40 |
Հատիս |
07-040 |
|
41 |
Հացավան |
07-041 |
|
42 |
Ձորաղբյուր |
07-042 |
|
43 |
Մայակովսկի |
07-043 |
|
44 |
Մարմարիկ |
07-044 |
|
45 |
Մեղրաձոր |
07-045 |
|
46 |
Մրգաշեն |
07-046 |
|
47 |
Նոր Արտամետ |
07-047 |
|
48 |
Նոր Գեղի |
07-048 |
|
49 |
Նոր գյուղ |
07-049 |
|
50 |
Նոր Երզնկա |
07-050 |
|
51 |
Նուռնուս |
07-051 |
|
52 |
Ողջաբերդ |
07-052 |
|
53 |
Պռոշյան |
07-053 |
|
54 |
Պտղնի |
07-054 |
|
55 |
Ջրաբեր |
07-055 |
|
56 |
Ջրառատ |
07-056 |
|
57 |
Ջրվեժ |
07-057 |
|
58 |
Գետարգել |
07-058 |
|
59 |
Սարալանջ |
07-059 |
|
60 |
Սոլակ |
07-060 |
|
61 |
Մաբերդ |
07-061 |
|
62 |
Վերին Պտղնի |
07-062 |
|
63 |
Քաղսի |
07-063 |
|
64 |
Քանաքեռավան |
07-064 |
|
65 |
Քասախ |
07-065 |
|
66 |
Քարաշամբ |
07-066 |
|
67 |
Ֆանտան |
07-067 |
|
ՀՀ Շիրակի մարզի ենթատարածքների (համայնքների) ծածկագրերը | ||
|
Հ/հ |
Կադաստրային ենթատարածքի անվանումը |
Կադաստրային ենթատարածքի ծածկագիրը |
|
1 |
Գյումրի |
08-001 |
|
2 |
Արթիկ |
08-002 |
|
3 |
Մարալիկ |
08-003 |
|
4 |
Ազատան |
08-004 |
|
5 |
Ալվար |
08-005 |
|
6 |
Ախուրիկ |
08-006 |
|
7 |
Ախուրյան |
08-007 |
|
8 |
Աղին |
08-008 |
|
9 |
Աղվորիկ |
08-009 |
|
10 |
Ամասիա |
08-010 |
|
11 |
Այգեբաց |
08-011 |
|
12 |
Անիավան |
08-012 |
|
13 |
Անիպեմզա |
08-013 |
|
14 |
Անուշավան |
08-014 |
|
15 |
Աշոցք |
08-015 |
|
16 |
Առափի |
08-016 |
|
17 |
Արդենիս |
08-017 |
|
18 |
Արեգնադեմ |
08-018 |
|
19 |
Արփենի |
08-019 |
|
20 |
Արևիկ |
08-020 |
|
21 |
Արևշատ |
08-021 |
|
22 |
Բագրավան |
08-022 |
|
23 |
Բայանդուր |
08-023 |
|
24 |
Բանդիվան |
08-024 |
|
25 |
Բաշգյուղ |
08-025 |
|
26 |
Բավրա |
08-026 |
|
27 |
Բենիամին |
08-027 |
|
28 |
Բերդաշեն |
08-028 |
|
29 |
Գառնառիճ |
08-029 |
|
30 |
Գեղանիստ |
08-030 |
|
31 |
Գետափ |
08-031 |
|
32 |
Գետք |
08-032 |
|
33 |
Բյուրակն |
08-033 |
|
34 |
Գոգհովիտ |
08-034 |
|
35 |
Գտաշեն |
08-035 |
|
36 |
Գուսանագյուղ |
08-036 |
|
37 |
Երազգավորս |
08-037 |
|
38 |
Զարիշատ |
08-038 |
|
39 |
Զորակերտ |
08-039 |
|
40 |
Զույգաղբյուր |
08-040 |
|
41 |
Թավուշ |
08-041 |
|
42 |
Թորոսգյուղ |
08-042 |
|
43 |
Իսահակյան |
08-043 |
|
44 |
Լանջիկ |
08-044 |
|
45 |
Լեռնագյուղ |
08-045 |
|
46 |
Լեռնակերտ |
08-046 |
|
47 |
Լեռնուտ |
08-047 |
|
48 |
Լուսակերտ |
08-048 |
|
49 |
Լուսաղբյուր |
08-049 |
|
50 |
Ծաղկուտ |
08-050 |
|
51 |
Կամո |
08-051 |
|
52 |
Կապս |
08-052 |
|
53 |
Կառնուտ |
08-053 |
|
54 |
Կարմրավան |
08-054 |
|
55 |
Կարմրաքար |
08-055 |
|
56 |
Կաքավասար |
08-056 |
|
57 |
Կրաշեն |
08-057 |
|
58 |
Կրասար |
08-058 |
|
59 |
Հայկաձոր |
08-059 |
|
60 |
Հայկասար |
08-060 |
|
61 |
Հայկավան |
08-061 |
|
62 |
Հայրենյաց |
08-062 |
|
63 |
Հառիճ |
08-063 |
|
64 |
Հարթաշեն |
08-064 |
|
65 |
Հացիկ |
08-065 |
|
66 |
Հողմիկ |
08-066 |
|
67 |
Հոռոմ |
08-067 |
|
68 |
Հովիտ |
08-068 |
|
69 |
Հովտաշեն |
08-069 |
|
70 |
Հովտուն |
08-070 |
|
71 |
Հովունի |
08-071 |
|
72 |
Ձիթհանքով |
08-072 |
|
73 |
Ձորակապ |
08-073 |
|
74 |
Ձորաշեն |
08-074 |
|
75 |
Ղազանչի |
08-075 |
|
76 |
Ղարիբջանյան |
08-076 |
|
77 |
Մայիսյան |
08-077 |
|
78 |
Մարմաշեն |
08-078 |
|
79 |
Մեծ Մանթաշ |
08-079 |
|
80 |
Մեծ Սարիար |
08-080 |
|
81 |
Մեծ Սեպասար |
08-081 |
|
82 |
Մեղրաշատ |
08-082 |
|
83 |
Մեղրաշեն |
08-083 |
|
84 |
Բասեն |
08-084 |
|
85 |
Մուսայելյան (Աշոցքի շրջ.) |
08-085 |
|
86 |
Նահապետավան |
08-086 |
|
87 |
Նոր կյանք |
08-087 |
|
88 |
Շաղիկ |
08-088 |
|
89 |
Շիրակ |
08-089 |
|
90 |
Շիրակավան |
08-090 |
|
91 |
Ողջի |
08-091 |
|
92 |
Ոսկեհասկ |
08-092 |
|
93 |
Պեմզաշեն |
08-093 |
|
94 |
Ջաջուռ |
08-094 |
|
95 |
Ջաջուռավան |
08-095 |
|
96 |
Ջրաձոր |
08-096 |
|
97 |
Ջրառատ |
08-097 |
|
98 |
Ջրափի |
08-098 |
|
99 |
Սալուտ |
08-099 |
|
100 |
Սառնաղբյուր |
08-100 |
|
101 |
Սարագյուղ |
08-101 |
|
102 |
Սարալանջ |
08-102 |
|
103 |
Սարակապ |
08-103 |
|
104 |
Սարապատ |
08-104 |
|
105 |
Սարատակ |
08-105 |
|
106 |
Սիզավետ |
08-106 |
|
107 |
Սպանդարյան |
08-107 |
|
108 |
Վահրամաբերդ |
08-108 |
|
109 |
Վարդաղբյուր |
08-109 |
|
110 |
Վարդաքար |
08-110 |
|
111 |
Տուֆաշեն |
08-111 |
|
112 |
Ցողամարգ |
08-112 |
|
113 |
Փանիկ |
08-113 |
|
114 |
Փոքրաշեն |
08-114 |
|
115 |
Փոքր Մանթաշ |
08-115 |
|
116 |
Փոքր Սարիար |
08-116 |
|
117 |
Փոքր Սեպասար |
08-117 |
|
118 |
Քարաբերդ |
08-118 |
|
119 |
Քեթի |
08-119 |
|
ՀՀ Սյունիքի մարզի ենթատարածքների (համայնքների) ծածկագրերը | ||
|
Հ/հ |
Կադաստրային ենթատարածքի անվանումը |
Կադաստրային ենթատարածքի ծածկագիրը |
|
1 |
Կապան |
09-001 |
|
2 |
Ագարակ |
09-002 |
|
3 |
Գորիս |
09-003 |
|
4 |
Դաստակերտ |
09-004 |
|
5 |
Մեղրի |
09-005 |
|
6 |
Սիսիան |
09-006 |
|
7 |
Քաջարան |
09-007 |
|
8 |
Ագարակ |
09-008 |
|
9 |
Ալվանք |
09-009 |
|
10 |
Ախլաթյան |
09-010 |
|
11 |
Աղիտու |
09-011 |
|
12 |
Աղվանի |
09-012 |
|
13 |
Անգեղակոթ |
09-013 |
|
14 |
Անտառաշատ |
09-014 |
|
15 |
Աշոտավան |
09-015 |
|
16 |
Առաջաձոր |
09-016 |
|
17 |
Արավուս |
09-017 |
|
18 |
Արծվանիկ |
09-018 |
|
19 |
Արևիս |
09-019 |
|
20 |
Բալաք |
09-020 |
|
21 |
Բարձրավան |
09-021 |
|
22 |
Բնունիս գյուղ |
09-022 |
|
23 |
Բռնակոթ |
09-023 |
|
24 |
Ակներ |
09-024 |
|
25 |
Գեղանուշ |
09-025 |
|
26 |
Գեղի |
09-026 |
|
27 |
Գետաթաղ |
09-027 |
|
28 |
Գորայք |
09-028 |
|
29 |
Գուդեմնիս |
09-029 |
|
30 |
Դավիթ Բեկ |
09-030 |
|
31 |
Դարբաս |
09-031 |
|
32 |
Տավրուս |
09-032 |
|
33 |
Եղեգ |
09-033 |
|
34 |
Եղվարդ |
09-034 |
|
35 |
Թանահատ |
09-035 |
|
36 |
Թասիկ |
09-036 |
|
37 |
Լեհվազ |
09-037 |
|
38 |
Լեռնաձոր |
09-038 |
|
39 |
Լիճք |
09-039 |
|
40 |
Լծեն |
09-040 |
|
41 |
Լոր |
09-041 |
|
42 |
Աճանան |
09-042 |
|
43 |
Խդրանց |
09-043 |
|
44 |
Խնածախ |
09-044 |
|
45 |
Խնձորեսկ |
09-045 |
|
46 |
Խոզնավար |
09-046 |
|
47 |
Խոտ |
09-047 |
|
48 |
Ծավ |
09-048 |
|
49 |
Ծղուկ |
09-049 |
|
50 |
Կաղնուտ |
09-050 |
|
51 |
Կարճևան |
09-051 |
|
52 |
Կոռնիձոր |
09-052 |
|
53 |
Կուրիս |
09-053 |
|
54 |
Հալիձոր |
09-054 |
|
55 |
Հարթաշեն |
09-055 |
|
56 |
Հարժիս |
09-056 |
|
57 |
Հացավան |
09-057 |
|
58 |
Ձորաստան |
09-058 |
|
59 |
Ղարատղա |
09-059 |
|
60 |
Իշխանասար |
09-060 |
|
61 |
Ճակատեն |
09-061 |
|
62 |
Մուցք |
09-062 |
|
63 |
Ներքին Խնձորեսկ |
09-063 |
|
64 |
Ներքին Խոտանան |
09-064 |
|
65 |
Ներքին Հանդ |
09-065 |
|
66 |
Նռնաձոր |
09-066 |
|
67 |
Նորաշենիկ |
09-067 |
|
68 |
Նորավան |
09-068 |
|
69 |
Շաղատ |
09-069 |
|
70 |
Շաքի |
09-070 |
|
71 |
Շենաթաղ |
09-071 |
|
72 |
Շիկահող |
09-072 |
|
73 |
Շինուհայր |
09-073 |
|
74 |
Շվանիձոր |
09-074 |
|
75 |
Շրվենանց |
09-075 |
|
76 |
Շուռնուխ |
09-076 |
|
77 |
Որոտան (Գորիսի շրջ.) |
09-077 |
|
78 |
Որոտան (Սիսիանի շրջ.) |
09-078 |
|
79 |
Չափնի |
09-079 |
|
80 |
Սալվարդ |
09-080 |
|
81 |
Սառնակունք |
09-081 |
|
82 |
Սյունիք |
09-082 |
|
83 |
Նժդեհ |
09-083 |
|
84 |
Սպանդարյան |
09-084 |
|
85 |
Սվարանց |
09-085 |
|
86 |
Սրաշեն |
09-086 |
|
87 |
Սևաքար |
09-087 |
|
88 |
Վահրավար |
09-088 |
|
89 |
Վաղատին |
09-089 |
|
90 |
Վաղատուր |
09-090 |
|
91 |
Վանեք |
09-091 |
|
92 |
Վարդանիձոր |
09-092 |
|
94 |
Վարդավանք |
09-094 |
|
95 |
Վերին Խոտանան |
09-095 |
|
96 |
Վերիշեն |
09-096 |
|
97 |
Տաթև |
09-097 |
|
98 |
Տանձավեր |
09-098 |
|
99 |
Տանձատափ |
09-099 |
|
100 |
Տաշտուն |
09-100 |
|
101 |
Տեղ |
09-101 |
|
102 |
Տոլորս |
09-102 |
|
103 |
Տորունիք |
09-103 |
|
104 |
Ուժանիս |
09-104 |
|
105 |
Ույծ |
09-105 |
|
106 |
Նոր Աստղաբերդ |
09-106 |
|
108 |
Քաշունի |
09-108 |
|
109 |
Քաջարան |
09-109 |
|
110 |
Քարահունջ |
09-110 |
|
111 |
Քարաշեն |
09-111 |
|
113 |
Օխտար |
09-113 |
|
ՀՀ Վայոց ձորի մարզի ենթատարածքների (համայնքների) ծածկագրերը | ||
|
Հ/հ |
Կադաստրային ենթատարածքի անվանումը |
Կադաստրային ենթատարածքի ծածկագիրը |
|
1 |
Եղեգնաձոր |
10-001 |
|
2 |
Ջերմուկ |
10-002 |
|
3 |
Վայք |
10-003 |
|
4 |
Ագարակաձոր |
10-004 |
|
5 |
Ազատեկ |
10-005 |
|
6 |
Աղավնաձոր |
10-006 |
|
7 |
Աղնջաձոր |
10-007 |
|
8 |
Արենի |
10-008 |
|
9 |
Արին |
10-009 |
|
10 |
Արտաբույնք |
10-010 |
|
11 |
Արտավան |
10-011 |
|
12 |
Արփի |
10-012 |
|
13 |
Բարձրունի |
10-013 |
|
14 |
Գետափ |
10-014 |
|
15 |
Գլաձոր |
10-015 |
|
16 |
Գնդեվազ |
10-016 |
|
17 |
Գնիշիկ |
10-017 |
|
18 |
Գողթանիկ |
10-018 |
|
19 |
Գոմք |
10-019 |
|
20 |
Ելփին |
10-020 |
|
21 |
Եղեգիս |
10-021 |
|
22 |
Զառիթափ |
10-022 |
|
23 |
Զեդեա |
10-023 |
|
24 |
Թառաթումբ |
10-024 |
|
25 |
Խաչիկ |
10-025 |
|
26 |
Խնձորուտ |
10-026 |
|
27 |
Կարմրաշեն |
10-027 |
|
28 |
Հերհեր |
10-028 |
|
29 |
Հերմոն |
10-029 |
|
30 |
Հորբատեղ |
10-030 |
|
31 |
Հորս |
10-031 |
|
32 |
Մալիշկա |
10-032 |
|
33 |
Մարտիրոս |
10-033 |
|
34 |
Նոր Ազնաբերդ |
10-034 |
|
35 |
Շատին |
10-035 |
|
36 |
Չիվա |
10-036 |
|
37 |
Ռինդ |
10-037 |
|
38 |
Սալլի |
10-038 |
|
39 |
Սարավան |
10-039 |
|
40 |
Սերս |
10-040 |
|
41 |
Վարդահովիտ |
10-041 |
|
42 |
Վերնաշեն |
10-042 |
|
43 |
Փոռ |
10-043 |
|
44 |
Քարագլուխ |
10-044 |
|
ՀՀ Տավուշի մարզի ենթատարածքների (համայնքների) ծածկագրերը | ||
|
Հ/հ |
Կադաստրային ենթատարածքի անվանումը |
Կադաստրային ենթատարածքի ծածկագիրը |
|
1 |
Իջևան |
11-001 |
|
2 |
Բերդ |
11-002 |
|
3 |
Դիլիջան |
11-003 |
|
4 |
Նոյեմբերյան |
11-004 |
|
5 |
Ազատամուտ |
11-005 |
|
6 |
Ակնաղբյուր |
11-006 |
|
7 |
Աղավնավանք |
11-007 |
|
8 |
Աճարկուտ |
11-008 |
|
9 |
Այգեհովիտ |
11-009 |
|
10 |
Այգեձոր |
11-010 |
|
11 |
Այգեպար |
11-011 |
|
12 |
Այրում |
11-012 |
|
13 |
Աչաջուր |
11-013 |
|
14 |
Արծվաբերդ |
11-014 |
|
15 |
Արճիս |
11-015 |
|
16 |
Բագրատաշեն |
11-016 |
|
17 |
Բաղանիս |
11-017 |
|
18 |
Բարեկամավան |
11-018 |
|
19 |
Բերդավան |
11-019 |
|
20 |
Բերքաբեր |
11-020 |
|
21 |
Գանձաքար |
11-021 |
|
22 |
Գետահովիտ |
11-022 |
|
23 |
Գոշ |
11-023 |
|
24 |
Դեբեդավան |
11-024 |
|
25 |
Դեղձավան |
11-025 |
|
26 |
Դիտավան |
11-026 |
|
27 |
Դովեղ |
11-027 |
|
28 |
Ենոքավան |
11-028 |
|
29 |
Թեղուտ |
11-029 |
|
30 |
Տավուշ |
11-030 |
|
31 |
Իծաքար |
11-031 |
|
32 |
Լճկաձոր |
11-032 |
|
33 |
Լուսահովիտ |
11-033 |
|
34 |
Լուսաձոր |
11-034 |
|
35 |
Խաշթառակ |
11-035 |
|
36 |
Խաչարձան |
11-036 |
|
37 |
Ծաղկավան (Իջևանի շրջ.) |
11-037 |
|
38 |
Ծաղկավան (Բերդի շրջ.) |
11-038 |
|
39 |
Կիրանց |
11-039 |
|
40 |
Կոթի |
11-040 |
|
41 |
Կողբ |
11-041 |
|
42 |
Հաղարծին |
11-042 |
|
43 |
Հաղթանակ |
11-043 |
|
44 |
Հովք |
11-044 |
|
45 |
Մոսեսգեղ |
11-045 |
|
46 |
Նավուր |
11-046 |
|
47 |
Ներքին Կարմիր աղբյուր |
11-047 |
|
48 |
Նորաշեն |
11-048 |
|
49 |
Ոսկեպար |
11-049 |
|
50 |
Ոսկեվան |
11-050 |
|
51 |
Չինարի |
11-051 |
|
52 |
Չինչին |
11-052 |
|
53 |
Չորաթան |
11-053 |
|
54 |
Պառավաքար |
11-054 |
|
55 |
Պտղավան |
11-055 |
|
56 |
Ջուջևան |
11-056 |
|
57 |
Սարիգյուղ |
11-057 |
|
58 |
Սևքար |
11-058 |
|
59 |
Վազաշեն |
11-059 |
|
60 |
Վարագավան |
11-060 |
|
61 |
Վերին Կարմիր աղբյուր |
11-061 |
|
62 |
Զորական |
11-062 |
Օ ր ի ն ա կ
համայնքի բնակավայրի սահմանագծից ներս գտնվող տարածքի կադաստրային թաղամասերի պայմանական ծածկագրման (համարակալման)
Օ ր ի ն ա կ
համայնքի բնակավայրի սահմանագծից դուրս գտնվող տարածքի կադաստրային թաղամասերի պայմանական ծածկագրման (համարակալման)
Օ ր ի ն ա կ
համայնքի ներսում մեկից ավելի բնակավայրեր ունեցող տարածքների կադաստրային թաղամասերի պայմանական ծածկագրման (համարակալման)
Օ ր ի ն ա կ
բնակավայրի տարածքի կադաստրային թաղամասում գտնվող շենքերի, շինությունների պայմանական ծածկագրման (համարակալման)
Հավելված 15
Ա Մ Փ Ո Փ Ա Գ Ի Ր
հողային ֆոնդի առկայության ԵՎ բաշխման
(ըստ նպատակային նշանակության, հողատեսքերի ու գործառնական նշանակության և սեփականության սուբյեկտների)
|
առ ____________.200... թ. |
||||||||
|
Մարզ՝ |
|
|
||||||
|
(անվանում) |
(ծածկագիր*) | |||||||
|
Համայնք՝ |
|
|
||||||
|
(անվանում) |
(ծածկագիր*) | |||||||
|
(հեկտարներով) |
|
NN |
Նպատա- |
Հողատեսք, գործառնական նշանակություն |
պայմա- |
Ընդա- |
Սեփականության սուբյեկտ | ||||||||||
|
ՀՀ քաղա- |
ՀՀ իրա- |
համայնքային |
պետական |
Օտար- | |||||||||||
|
ընդա- |
տրված անհա- |
տրված վար- |
օգտա- |
ընդա- |
տրված անհա- |
տրված վար- |
օգտա- | ||||||||
|
Ա |
Բ |
Գ |
1 |
2 |
3 |
4 |
5 |
6 |
7 |
8 |
9 |
10 |
11 |
12 | |
|
1.1 |
1. Գյուղա- |
վարելահող |
|||||||||||||
|
1.2 |
բազմ. տնկ., ընդամ. |
||||||||||||||
|
1.2.1 |
այդ թվում՝ պտղ. այգի |
||||||||||||||
|
1.2.2 |
խաղողի այգի |
||||||||||||||
|
1.2.3 |
այլ բազմամյա |
||||||||||||||
|
1.3 |
խոտհարք |
||||||||||||||
|
1.4 |
արոտ |
||||||||||||||
|
1.5 |
այլ հողատեսքեր |
||||||||||||||
|
1 |
Ընդամենը |
||||||||||||||
|
2.1 |
2. Բնակա- |
բնակելի կառուց. |
|||||||||||||
|
2.1.1 |
այդ թվում՝ տնամերձ |
||||||||||||||
|
2.1.2 |
այգեգ-ն (ամառ-ն) |
||||||||||||||
|
2.2 |
հասարակ կառուց. |
||||||||||||||
|
2.3 |
խառը կառուցապ. |
||||||||||||||
|
2.4 |
ընդհ. օգտագործ. |
||||||||||||||
|
2.5 |
այլ հողեր |
||||||||||||||
|
2 |
Ընդամենը |
||||||||||||||
|
3.1 |
3. Արդյուն. ընդերքօգ. |
արդյունաբ. |
|||||||||||||
|
3.2 |
գյուղտնտ., արտադ. |
||||||||||||||
|
3.3 |
պահեստների |
||||||||||||||
|
3.4 |
ընդերք. օգտագործ. |
||||||||||||||
|
3 |
Ընդամենը |
||||||||||||||
|
4.1 |
4. Էներգե- |
էներգետիկայի |
|||||||||||||
|
4.2 |
կապի |
||||||||||||||
|
4.3 |
տրանսպորտի |
||||||||||||||
|
4.4 |
կոմուն. ենթակառ. |
||||||||||||||
|
4 |
Ընդամենը |
||||||||||||||
|
5.1 |
5. Հատուկ պահ- |
բնապահպան. |
|||||||||||||
|
5.1.1 |
այդ թվում՝ արգելց. |
||||||||||||||
|
5.1.2 |
արգելավայրեր |
||||||||||||||
|
5.1.3 |
ազգային պարկ |
||||||||||||||
|
5.2 |
առողջարարակ. |
||||||||||||||
|
5.3 |
հանգստի |
||||||||||||||
|
5.4 |
պատմ. և մշակութ. |
||||||||||||||
|
5 |
Ընդամենը |
||||||||||||||
|
6 |
6. Հատուկ նշանա- |
Ընդամենը |
|||||||||||||
|
7.1 |
7. Անտա- |
անտառ |
|||||||||||||
|
7.2 |
թփուտ |
||||||||||||||
|
7.3 |
վարելահող |
||||||||||||||
|
7.4 |
խոտհարք |
||||||||||||||
|
7.5 |
արոտ |
||||||||||||||
|
7.6 |
այլ հողեր |
||||||||||||||
|
7 |
Ընդամենը |
||||||||||||||
|
8.1 |
8. Ջրային |
գետեր |
|||||||||||||
|
8.2 |
ջրամբարներ |
||||||||||||||
|
8.3 |
լճեր |
||||||||||||||
|
8.4 |
ջրանցքներ |
||||||||||||||
|
8.5 |
հդտ. և ջր. այլ օբ. |
||||||||||||||
|
8 |
Ընդամենը |
||||||||||||||
|
9.1 |
9. Պահու- |
աղուտներ |
|||||||||||||
|
9.2 |
ավազուտներ |
||||||||||||||
|
9.3 |
ճահիճներ |
||||||||||||||
|
9.4 |
|||||||||||||||
|
9.5 |
այլ անօգտագործելի հողեր |
||||||||||||||
|
9 |
Ընդամենը |
||||||||||||||
|
ԸՆԴԱՄԵՆԸ ՀՈՂԵՐ (1+2+3+4+5+6+7+8+9) |
|||||||||||||||
|
Համայնքի ղեկավար` |
____________ |
ԱԳԿՊԿ տարածքային ստորաբաժանման ղեկավար` |
____________ | ||||||||||||
|
(ստորագրություն, կնիք) |
(ստորագրություն, կնիք) | ||||||||||||||
Հավելված 16
|
Տարածքի ծածկագիրը _________ Ենթատարածքի ծածկագիրը _______ |
Տ ե ղ ե կ ա գ ի ր
____________ մարզի ___________ համայնքի անշարժ գույքի միավորների, օգտագործողների և սեփականատերերի
|
Հ/հ |
Անշարժ գույքի միավորի օգտա- |
Հողամասեր |
Շենքեր, շինություններ |
Ծանոթու- | |||||||
|
Պայմանական ծածկագիրը |
Նպատա- |
Գործառնական նշանակությունը |
Մակերեսը |
Պայմանական ծածկագիրը |
Հարկայ- |
Կառուց- |
Կառուցման տարեթիվը |
Մակերեսը | |||
|
1 |
2 |
3 |
4 |
5 |
6 |
7 |
8 |
9 |
10 |
11 |
12 |
Ու ր վ ա գ ի ծ
չկառուցապատված տարածքում երկարաժամկետ պահպանության սահմանանիշի
Ու ր վ ա գ ի ծ
կառուցապատված տարածքում երկարաժամկետ պահպանության սահմանանիշի
Հավելված 19
|
Ծ ա ն ու ց ա գ ի ր
Տրվում է__________________________________________________________ սահմանազատվող հողամասի սեփականատիրոջ/օգտագործողի տվյալները
Խնդրվում է Ձեզ «___»_________ 20__թ-ի ժամը ___-ին ներկայանալ անձամբ կամ ուղարկել Ձեր հողամասի պայմանական ծածկագիրը (համարը)
Ձեր և Ձեր հարևանների հողամասերի սահմանների ճշտման և վերականգնման աշխատանքներին Ձեր կամ Ձեր լիազորված անձի (լիազորագրով) ներկայությունը սահմանազատման աշխատանքներին և _______________________________ ''_____'' ___________________ 20 թ. |
Հավելված 20
|
«_____» _________________ 20 թ. Ա ր ձ ա ն ա գ ր ու թ յ ու ն
հողամասի սահմանազատման վերաբերյալ ___________________________________________________________ սահմանազատվող հողամասի պայմանական ծածկագիրը (համարը)
Հիմք ընդունելով ________________________ դիմումը տրված «___» ______ 20 թ-ին դիմումատուի անունը (անվանումը)
_________________________________________________________ սահմանազատում իրականացնող անձի անունը (անվանումը) և տվյալները
կատարել է ________________________________ հողամասի սահմանազատման աշխատանքներ: հողամասի պայմանական ծածկագիրը (համարը) |
Սահմանազատումը կատարել է հողամասերի սեփականատերերի (օգտագործողների) կամ նրանց կողմից լիազորված անձանց ներկայությամբ
|
Սահմանակետի հերթական համարը |
Սահմանանիշի համարը |
Սահմանակետերի կոորդինատները |
Սահմանազատ-վող հողամասի կողմերը |
Սահմանակից հողօգտագործողների անվանումները | |
|
x |
y | ||||
|
1 |
1-2 |
||||
|
2 |
|||||
|
2-3 |
|||||
|
3 |
|||||
|
3-4 |
|||||
|
4 |
|||||
| Կատարող կազմակերպության անվանումը՝ | ____________________ (Կ.Տ.) |
| Լիցենզիայի համարը՝ | ____________________ |
| Կատարողի ստորագրությունը, անունը, ազգանունը՝ | ____________________ |
|
Սահմանազատվող հողամասի սեփականատիրոջ ստորագրությունը, անունը, ազգանունը (անվանումը)՝ |
____________________ |
|
Սահմանակից հողօգտագործողների ստորագրությունները, անունները, ազգանունները (անվանումները)՝ |
____________________ |