«Գրանցված է»
ՀՀ արդարադատության
նախարարության կողմից
4 հունիսի 2007 թ.
Պետական գրանցման թիվ 32007230
ՀԱՅԱՍՏԱՆԻ ՀԱՆՐԱՊԵՏՈՒԹՅԱՆ
ԿԱՌԱՎԱՐՈՒԹՅԱՆՆ ԱՌԸՆԹԵՐ
ՔԱՂԱՔԱՑԻԱԿԱՆ ԱՎԻԱՑԻԱՅԻ ԳԼԽԱՎՈՐ ՎԱՐՉՈՒԹՅՈՒՆ
|
18 մայիսի 2007 թ. |
N 82-Ն |
Հ Ր Ա Մ Ա Ն
ՈՒՂՂԱԹԻՌԱԴԱՇՏԻ ՇԱՀԱԳՈՐԾՄԱՆ ՊԱՅՄԱՆՆԵՐԸ ԵՎ ՍԱՀՄԱՆԱՓԱԿՈՒՄՆԵՐԸ ՍԱՀՄԱՆԵԼՈՒ ՄԱՍԻՆ
Ղեկավարվելով Հայաստանի Հանրապետության «Ավիացիայի մասին» օրենքի 12-րդ հոդվածի 4-րդ մասով և հիմք ընդունելով «Միջազգային քաղաքացիական ավիացիայի մասին» կոնվենցիայի (այսուհետ` Չիկագոյի Կոնվենցիա) թիվ 14 «Աերոդրոմներ» Հավելվածի և Քաղաքացիական ավիացիայի միջազգային կազմակերպության (այսուհետ՝ ԻԿԱՕ) ղեկավար ձեռնարկի (Doc. 9261-AN/903/2) դրույթները`
Հրամայում եմ՝
1. Հաստատել «Ուղղաթիռադաշտի շահագործման պայմանները և սահմանափակումները»՝ համաձայն հավելվածի:
2. Սույն հրամանն ուժի մեջ է մտնում պաշտոնական հրապարակման օրվան հաջորդող տասներորդ օրը:
|
Գլխավոր վարչության պետ՝ |
Ա. Մովսեսյան |
|
Հավելված |
Կ Ա Ր Գ
ՈՒՂՂԱԹԻՌԱԴԱՇՏԻ ՇԱՀԱԳՈՐԾՄԱՆ ՊԱՅՄԱՆՆԵՐԸ ԵՎ ՍԱՀՄԱՆԱՓԱԿՈՒՄՆԵՐԸ
Գ լ ու խ I
Ընդհանուր դրույթներ
1. Ուղղաթիռադաշտի շահագործման պայմաններում և սահմանափակումներում (այսուհետ` Պայմաններ) օգտագործվող հիմնական հասկացությունները և հապավումները՝
1) Ուղղաթիռադաշտ (հրապարակ) - հողային (ջրային) տարածքը կամ հատուկ նախապատրաստված հրապարակը (ներառյալ շենքերը, շինություններն ու սարքավորումները), որն ապահովում է ուղղաթիռների ինքնաթիռային կամ ուղղաթիռային թռիչք-վայրէջքը, գետնավարումը, պահպանումը և սպասարկումը.
ա. Պայմաններում ուղղաթիռադաշտ է համարվում գետնի մակերևույթի վրա նախապատրաստված հողային տարածքը:
բ. Պայմաններում ուղղաթիռահրապարակ է համարվում գետնի մակերևույթից բարձր նախապատրաստված հրապարակը:
2) Օդով երթևեկման ղեկուղի (ՕՂՈՒ) - հարթության սահմանված հետագիծ, որը նախատեսված է ուղղաթիռների օդով երթևեկման համար:
3) Ուղղաթիռների վերգետնյա գետնավարման համար ղեկուղի (ՎՂՈՒ) - վերգետնյա ղեկուղի, որը նախատեսված է միայն ուղղաթիռների կողմից շահագործման համար:
4) Վայրէջքի և վերելքի վերջնական փուլի գոտի (այսուհետ` FATO գոտի) - հաստատված գոտի, որի վրա իրականացվում է վայրէջքի մանևրման վերջնական փուլը մինչև ուղղաթիռի առկախման ռեժիմը կամ վայրէջքը, և որտեղից սկսվում է վերելքի մանևրումը: Եթե FATO գոտին նախատեսվում է շահագործել թռիչքատեխնիկական բնութագրերով 1-ին դասին համապատասխանող ուղղաթիռների համար, ապա այն պետք է ընդգրկի նաև ընդհատված վերելքի համար հատկացված գոտին:
5) Վայրէջքի և պոկման գոտի (այսուհետ` TLOF գոտի) - բեռնակրողունակ հրապարակ, որի վրա ուղղաթիռը կարող է իրականացնել վայրէջք կամ պոկում:
6) Օդում երթևեկման համար նախատեսված երթուղի - գետնի մակերևույթի վրա սահմանված հետագիծ, որին համապատասխան իրականացվում է ուղղաթիռների օդով երթևեկումը:
7) Ուղղաթիռի կայանատեղ - կայանատեղ, որը նախատեսված է ուղղաթիռի կայանման համար, և եթե նախատեսվում է ուղղաթիռի օդում երթևեկման իրականացում, ապա նաև ուղղաթիռի վայրէջքի և պոկման համար:
8) Խոչընդոտ - բոլոր անշարժ (մշտական կամ ժամանակավոր) և շարժական օբյեկտները կամ դրանց մասերը, որոնք տեղակայված են ուղղաթիռների գետնավարման գոտիներում, կամ դրանց բարձրությունը գերազանցում է ուղղաթիռների թռիչքների համար սահմանված հարաբերական հարթությունները:
9) Խոչընդոտներից ազատ գոտի - ուղղաթիռադաշտ (ուղղաթիռահրապարակ) շահագործողի վերահսկողության տակ գտնվող գետնի ուղղանկյուն հատված, որն ընտրված և նախապատրաստված է որպես պիտանի գոտի, որի սահմաններում 1-ին դասի ուղղաթիռները կարող են կատարել թափավազք և հավաքել համապատասխան բարձրություն:
10) Հայտարարված հեռավորություններ`
ա. թռիչքի համար տրամադրվող երկարություն (TODAH) - ուղղաթիռներրի վերելքի ավարտման համար պիտանի հատված, որում ընդգրկվում են վերելքի և վայրէջքի վերջնական փուլի գոտու և խոչընդոտներից ազատ ուղղաթիռագոտու երկարությունները,
բ. ընդհատված թռիչքի համար տրամադրվող երկարություն (RTODAH) - վերելքի և վայրէջքի վերջնական փուլի գոտու երկարություն, որը պիտանի է 1-ին դասի ուղղաթիռների ընդհատված վերելքի ավարտման համար,
գ. վայրէջքի համար տրամադրվող երկարություն (LDAH) - սահմանված բարձրությունից ուղղաթիռներրի վայրէջքի ավարտման համար պիտանի հատված, որում ընդգրկվում են վերելքի և վայրէջքի վերջնական փուլի և ցանկացած լրացուցիչ գոտիների երկարությունը:
11) Սարքերով օդերևութաբանական պայմաններ (ՍՕՊ) - օդերևութաբանական պայմաններ, որոնց ժամանակ թռիչքներն իրականացվում են սարքերի միջոցով:
12) Տեսողական օդերևութաբանական պայմաններ (ՏՕՊ) - օդերևութաբանական պայմաններ, որոնց ժամանակ իրականացվում են տեսողական թռիչքներ:
13) Ուղղաթիռադաշտի տեղորոշիչ կետ - ուղղաթիռադաշտի ծայրում կամ կենտրոնում գտնվող կետ, որը սահմանվում է յուրաքանչյուր ուղղաթիռադաշտի համար և որոշում է դրա աշխարհագրական դիրքը: Ուղղաթիռադաշտի տեղորոշիչ կետի աշխարհագրական կոորդինատները չափվում և աերոնավիգացիոն տեղեկագրերում ներկայացվում են աստիճաններով, րոպեներով և վայրկյաններով: Ուղղաթիռադաշտի տեղորոշիչ կետը սահմանվում է, եթե ուղղաթիռադաշտը զուգակցված չէ աերոդրոմի հետ:
14) Ուղղաթիռադաշտի բարձրությունը - ծովի մակարդակի նկատմամբ ուղղաթիռադաշտի առավելագույն բարձր կետի բարձրություն, որը չափվում և ներկայացվում է աերոնավիգացիոն տեղեկագրերում մինչև 0.5 մ կամ 1 ֆուտ ճշտությամբ:
Գ լ ու խ II
Ուղղաթիռադաշտեր
2. Ուղղաթիռադաշտերի համար սահմանվում են հետևյալ գոտիները`
1) Վայրէջքի և թռիչքի վերջնական փուլի (FATO) գոտի:
2) Ուղղաթիռների համար խոչընդոտներից ազատ գոտի:
3) Վայրէջքի և պոկման (TLOF) գոտի:
4) Անվտանգության գոտի:
3. Ուղղաթիռադաշտում պետք է նախատեսվի առնվազն մեկ FATO գոտի, որը կարող է տեղաբախշված լինել թռիչքային կամ գետնավարման գոտիներում կամ դրանց մոտ:
4. Ուղղաթիռադաշտերում, ըստ շահագործվող ուղղաթիռների դասի, սահմանվում են FATO գոտու հետևյալ չափերը`
ա. FATO գոտու լայնությունը պետք է լինի շահագործվող ամենամեծ ուղղաթիռի եզրաչափերից առնվազն 1.5 անգամ ավելի, եթե ուղղաթիռադաշտում շահագործվում են թռիչքատեխնիկական բնութագրերով 1-ին դասին համապատասխանող ուղղաթիռներ.
բ. FATO գոտու չափսերը և ուրվագիծը պետք է լինեն այնպիսին, որ դրա սահմաններում հնարավոր լինի տեղավորել ուղղաթիռի եզրաչափերից առնվազն 1.5 անգամ ավելի տրամագծով շրջան, եթե ուղղաթիռադաշտում շահագործվում են թռիչքատեխնիկական բնութագրերով 2-րդ և 3-րդ դասերին համապատասխանող ուղղաթիռներ:
5. FATO գոտու ընդհանուր թեքությունը ցանկացած ուղղություններով չպետք է գերազանցի 3%-ից, իսկ գոտու ցանկացած հատվածի թեքությունը չպետք է գերազանցի`
ա. 5%, եթե ուղղաթիռադաշտը նախատեսված է թռիչքատեխնիկական բնութագրերով 1-ին դասին համապատասխանող ուղղաթիռների շահագործման համար և
բ. 7%, եթե ուղղաթիռադաշտը նախատեսված է թռիչքատեխնիկական բնութագրերով 2-րդ և 3-րդ դասին համապատասխանող ուղղաթիռների շահագործման համար:
6. FATO գոտու մակերևույթը պետք է՝
ա. դիմակայի կրող պտուտակի օդի շիթի ազդեցությանը,
բ. չունենա անհարթություններ, որոնք կարող են բացասականորեն ազդել ուղղաթիռների թռիչքի և վայրէջքի կատարման վրա,
գ. ունենա 1 դասի թռիչքատեխնիկական բնութագրերով ուղղաթիռների ընդհատված թռիչքի կատարման համար բավականաչափ կրողունակություն,
դ) ապահովի գետնի ազդեցությունը:
7. Ուղղաթիռների համար խոչընդոտներից ազատ գոտի է համարվում թեք հարթությունը, որը գտնվում է ընդհատված թռիչքի համար նախատեսված գոտու հողմաշունչ վերջնամասի շարունակության վրա:
1) Ուղղաթիռների համար խոչընդոտներից ազատ գոտու լայնությունը պետք է լինի ոչ պակաս համապատասխան անվտանգության գոտու լայնությունից:
2) Ուղղաթիռների համար խոչընդոտներից ազատ գոտու հարթությունը չպետք է գերազանցի այն հարթությունը, որի թեքությունը կազմում է 3%, իսկ ներքին սահամանը համընկնում է FATO գոտու սահմանով անցնող հորիզոնական գծի հետ:
3) Ուղղաթիռների համար խոչընդոտներից ազատ գոտում գտնվող և թռիչքների անվտանգության համար հնարավոր վտանգ ներկայացնող օբյեկտները դիտվում են որպես խոչընդոտ և ենթակա են վերացման:
8. Ուղղաթիռադաշտում պետք է նախատեսվի առնվազն մեկ TLOF գոտի, որը կարող է գտնվել FATO գոտու սահմաններում կամ դրանցից դուրս և պետք է ունենա բավարար չափսեր, որպեսզի տեղավորվի տվյալ գոտու շահագործման համար նախատեսված ամենամեծ ուղղաթիռի հենասարքի 1.5 երկարության կամ լայնության (նայած թե որն է մեծ) տրամագծով շրջանում:
1) TLOF գոտու մակերևույթի թեքությունները պետք է բացառեն ջրակուտակումների առաջացումը և չգերազանցեն 2%-ը:
2) TLOF գոտու կրողունակությունը պետք է ապահովի ուղղաթիռների (որոնց շահագործման համար նախատեսված է տվյալ գոտին) անվտանգ շահագործումը:
9. FATO գոտու անվտանգության գոտիները գտնվում են FATO գոտու շուրջը:
1) Եթե FATO գոտին նախատեսված է տեսողական օդերևութաբանական պայմաններում (ՏՕՊ) շահագործման համար, ապա անվտանգության գոտիները տարածվում են FATO գոտու ուրվագծի սահմաններով առնվազն 3 մ կամ 0.25 գաբարիտային երկարություն/լայնություն` կախված շահագործվող ամենամեծ ուղղաթիռի չափսերից:
2) Եթե FATO գոտին նախատեսված է սարքերով օդերևութաբանական պայմաններում (ՍՕՊ) շահագործման համար, ապա սահմանվում են հետևյալ նկարում ներկայացված անվտանգության գոտիները, որոնք տարածվում են`
ա. լայնակի ուղղությամբ` առանցքային գծի յուրաքանչյուր կողմից նվազագույնը 45 մ և
բ. երկայնակի ուղղությամբ` FATO գոտու սահմանից նվազագույնը 60 մ:
3) Անվտանգության գոտիներում չի թույլատրվում որևէ անշարժ օբյեկտների առկայություն, բացառությամբ դյուրաբեկ օբյեկտների, որոնք իրենց ֆունկցիոնալ նշանակությամբ պետք է տեղաբաշխվեն այդ գոտիներում: Ուղղաթիռների թռիչքների ժամանակ անվտանգության գոտում չի թույլատրվում շարժվող օբյեկտների առկայություն:
4) Օբյեկտները, որոնք իրենց ֆունկցիոնալ նշանակությամբ անհրաժեշտ է տեղադրել անվտանգության գոտիներում, բարձրությունով չպետք է գերազանցեն 25 սմ-ը, եթե դրանք տեղավորվում են FATO գոտու սահմանի երկայնքով, և դուրս չեն գալիս FATO գոտու սահմանի վրա 25 սմ բարձրությամբ սկիզբ առնող և 5% թեքությամբ FATO գոտու կողմից սկիզբ առնող հարթության սահմաններից:
5) Անվտանգության գոտու մակերևույթի վերընթաց թեքությունը FATO գոտու սահմանի ուղղությամբ չպետք է գերազանցի 4%-ը:
6) Կրող պտուտակի օդի շիթի ազդեցության տակ կարծր առարկաների հայտնվելը կանխելու նպատակով նախատեսվում է անվտանգության գոտիների մակերևույթի մաքրում:
7) Անվտանգության գոտու մակերևույթը, որի ներսում գտնվում է FATO գոտին, համարվում է FATO գոտու մակերևույթի շարունակությունը և պետք է դիմակայի ուղղաթիռների (որոնց սպասարկման համար նախատեսված է տվյալ ուղղաթիռադաշտը) կողմից ստեղծված բեռնվածություններին առանց կառուցվածքային վնասվածքներ հարուցելու:
10. Ուղղաթիռադաշտերում ուղղաթիռների երթևեկման համար նախատեսվում են վերգետնյա և օդով երթևեկման ղեկուղիներ:
1) Ուղղաթիռների վերգետնյա ղեկուղիները պետք է ապահովեն ուղղաթիռների գետնավարումը սեփական քարշուժի հաշվին:
2) Վերգետնյա ղեկուղիների լայնությունը պետք է համապատասխանի շահագործվող ուղղաթիռների հիմնական հենասարքի լայնությանը՝ համաձայն հետևյալ աղյուսակի`
|
Ուղղաթիռի հիմնական |
Ղեկուղու լայնությունը, մ |
|
մինչև 4.5 մ, բացառելով 4.5 մ |
7.5 |
3) Վերգետնյա ղեկուղիների կրողունակությունը պետք է դիմակայի շահագործվող ուղղաթիռների բեռնվածություններին:
4) Վերգետնյա ղեկուղիները պետք է ապահովված լինեն անվտանգության եզրագոտիներով, որոնցից յուրաքանչյուրի լայնությունը պետք է լինի շահագործվող ամենամեծ գաբարիտային լայնություն ունեցող ուղղաթիռի լայնության կեսից ոչ պակաս:
5) Վերգետնյա ղեկուղիների և դրանց անվտանգության եզրագոտիների մակերևույթը պետք է բացառի ջրակուտակումները և ապահովի մակերևույթից արագ ջրահեռացումը: Միաժամանակ`
ա. վերգետնյա ղեկուղու լայնակի թեքությունը չպետք է գերազանցի 2%-ը, իսկ երկայնակի թեքությունը՝ 3%-ը,
բ. վերգետնյա ղեկուղիների անվտանգության եզրագոտիների ծածկույթը պետք է դիմակայի պտուտակի օդի շիթի ազդեցությանը:
6) Եթե վերգետնյա ղեկուղին նախատեված է ինքնաթիռների և ուղղաթիռի համատեղ շահագործման համար, ապա դրա նկատմամբ կիրառվում են աերոդրոմի ղեկուղուն ներկայացվող պահանջները, որոնք սահմանված են Չիկագոյի կոնվենցիայի թիվ 14 «Աերոդրոմներ» Հավելվածով:
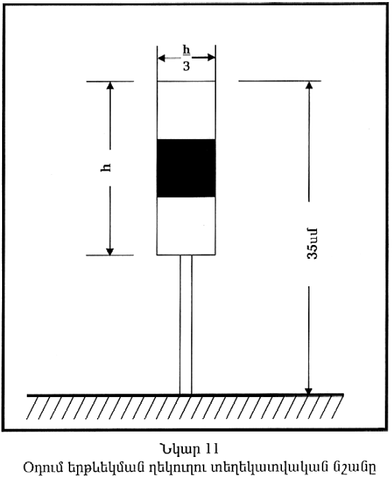
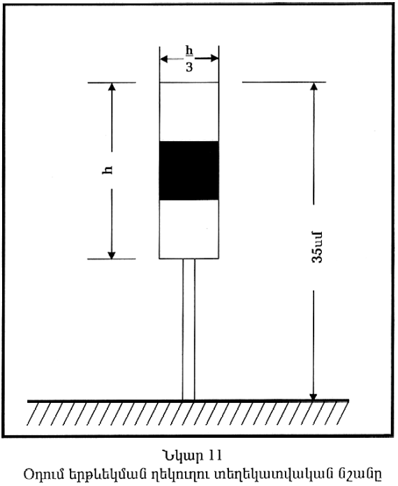
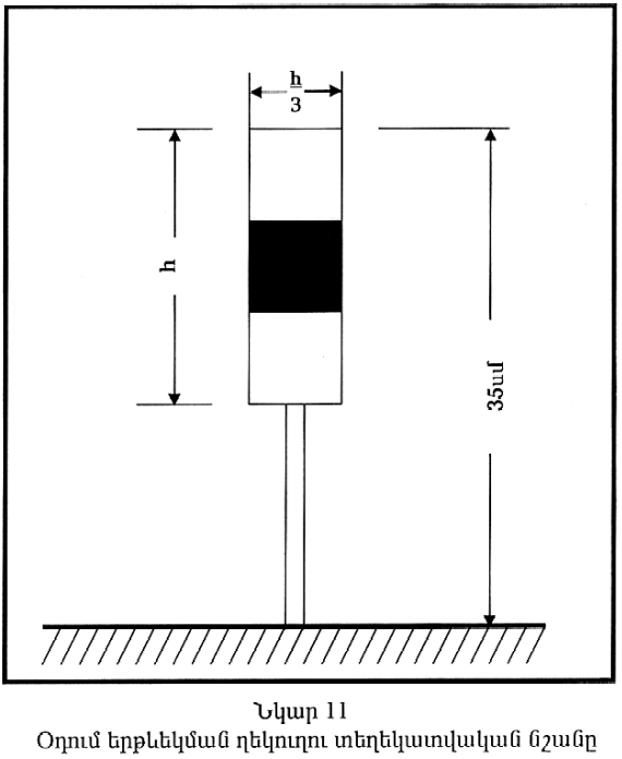
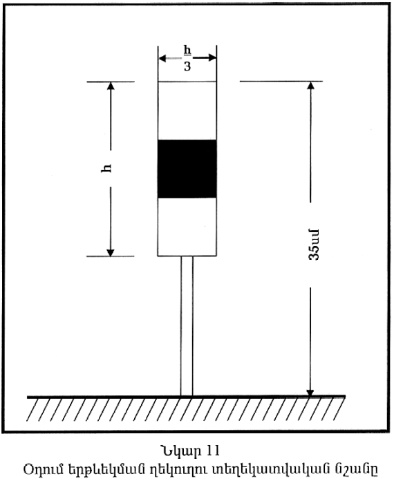
11. Օդով երթևեկման ղեկուղին նախատեսվում է գետնի մակերևույթից բարձր, 37 կմ/ժ-ից ցածր արագությամբ ուղղաթիռի երթևեկումն ապահովելու համար:
1) Օդով երթևեկման ղեկուղու լայնությունը պետք է լինի ոչ քիչ շահագործվող ուղղաթիռի ամենամեծ գաբարիտային մեծության կրկնակի մեծությունից:
2) Օդով երթևեկման ղեկուղու մակերևույթը պետք է դիմակայի կրող պտուտակի օդի շիթի ազդեցությանը և պիտանի լինի վթարային վայրէջք կատարելու համար:
3) Օդով երթևեկման ղեկուղու հարթության լայնակի թեքությունը չպետք է գերազանցի 10%-ը, իսկ երկայնակի թեքությունը՝ 7%-ը:
4) Օդով երթևեկման ղեկուղու հարթության թեքությունները չպետք է գերազանցեն ուղղաթիռների վայրէջքի համար հաստատված թեքությունների սահմանափակումները:
5) Վերգետնյա և օդով երթևեկման ղեկուղիների, ուղղաթիռադաշտում գտնվող օբյեկտների և ուղղաթիռների կայանատեղերի միջև սահմանված նվազագույն անվտանգ հեռավորությունները ներկայացված են հետևյալ աղյուսակում`
|
Ղեկուղու |
Վերգետնյա |
Օդում երթևեկման |
ՈՒղղաթիռադաշտի |
Ուղղաթիռի |
|
ՎՂՈւ |
2 |
4 |
1 |
2 (եզրերի միջև) |
|
ՕՂՈւ |
4 |
4 |
1.5 |
4 |
որտեղ ներկայացված արժեքները համապատասխանում են պտտվող տանող պտուտակով ուղղաթիռի ամենամեծ եզրաչափային լայնության բազմապատիկ մեծությանը:
12. Օդով տեղաշարժվելու երթուղին նախատեսված է գետնից 30 մ (100 ֆուտ) ոչ ավելի բարձրության վրա և 37 կմ/ժ (20 հանգույց) չգերազանցող արագությունով ուղղաթիռի երթևեկումն իրականացնելու համար:
1) Օդով տեղաշարժվելու երթուղու լայնությունը պետք է լինի առնվազն՝
ա. 7.0 RD, եթե այն նախատեսված է միայն ցերեկային թռիչքների համար և
բ. 10.0 RD, եթե այն նախատեսված է նաև գիշերային թռիչքների համար, որտեղ RD ուղղաթիռի ամենամեծ տանող պտուտակի տրամագիծն է:
2) Օդով տեղաշարժվելու երթուղու առանցքագծի ուղղությամբ ցանկացած շեղումները պետք է գերազանցեն 1200-ը և հաշվարկվում են այնպես, որպեսզի չառաջացնեն անհրաժեշտություն 270 մ քիչ շառավղով հետադարձ կատարելու համար:
3) Օդով տեղաշարժման երթուղին պետք է ընտրվի այնպես, որպեսզի ապահովվի վայրէջքն ավտոռոտացիայի ռեժիմում կամ մեկ չաշխատող շարժիչով` բացառելով շրջակայքում գտնվող մարդկանց կամ գույքի հնարավոր վնասումները:
13. Ուղղաթիռների տեխնիկական և(կամ) առևտրային սպասարկման համար ուղղաթիռադաշտերում պետք է նախատեսվեն ուղղաթիռների կառամատույց և կայանատեղեր:
1) Պայմանների իմաստով կառամատույց է համարվում ուղղաթիռադաշտի որոշակի հատվածը, որը նախատեսված է ուղղաթիռների կայանման համար` դրանց առևտրային սպասարկման նպատակով:
2) Պայմանների իմաստով կայանատեղ է համարվում ուղղաթիռադաշտի որոշակի հատվածը, որը նախատեսված է ուղղաթիռների կայանման համար` դրանց տեխնիկական և(կամ) առևտրային սպասարկման նպատակով և, եթե նախատեսվում է ուղղաթիռի օդում երթևեկման իրականացում, ապա նաև ուղղաթիռի վայրէջքի և պոկման համար:
3) Կառամատույցի բնութագրերի նկատմամբ կիրառվում են աերոդրոմի կառամատույցի բնութագրերին ներկայացվող պահանջները, որոնք սահմանված են Չիկագոյի կոնվենցիայի թիվ 14 «Աերոդրոմներ» Հավելվածով:
4) Ուղղաթիռի կայանատեղի թեքությունը ցանկացած ուղղությամբ չպետք է գերազանցի 2%-ը:
5) Կայանատեղում կայանված ուղղաթիռի և ցանկացած օբյեկտի կամ այլ օդանավերի միջև թույլատրելի նվազագույն հեռավորությունը պետք է լինի ուղղաթիռի ամենամեծ եզրաչափային լայնության կեսից ոչ պակաս, որի համար նախատեսված է տվյալ կայանատեղը:
6) Կայանատեղը պետք է ունենա բավարար չափսեր, որպեսզի տեղավորի ամենախոշոր ուղղաթիռի ամենամեծ եզրաչափերին հավասար տրամագծով շրջան:
14. Եթե FATO գոտին տեղավորված է վազքուղու (ՎՈւ) կամ ղեկուղու (ՂՈւ) մոտ և պլանավորվում է ՏՕՊ թռիչքների իրականացում, ապա ՎՈւ կամ ՂՈւ և FATO գոտու սահմանների միջև նվազագույն անվտանգ հեռավորությունները պետք է համապատասխանեն հետևյալ աղյուսակում ներկայացված մեծություններին`
|
Ինքնաթիռի և/կամ ուղղաթիռի |
FATO գոտու և ՎՈՒ կամ ՂՈՒ եզրերի |
|
մինչև 2720 |
60 |
|
2720-5759 |
120 |
|
5760-99999 |
180 |
|
100000 |
250 |
15. FATO գոտին չպետք է տեղակայված լինի՝
1) Ղեկուղիների հատման գոտիներում կամ օդանավերի սպասման կետերի մոտ, որտեղ շարժիչների ռեակտիվ շիթը կարող է առաջացնել ուժեղ մրրկայնություն:
2) Այն գոտիների մոտ, որտեղ գոյություն ունի ինքնաթիռի մրրկային հոսանքի առաջացման հավանականություն:
Գ լ ու խ III
Ուղղաթիռահրապարակներ
16. Ուղղաթիռահրապարակները կարող են տեղադրվել շինությունների և շենքերի տանիքների կամ ջրի վրա կառուցված տախտակամածների վրա: Տանիքների վրա տեղադրված ուղղաթիռահրապարակների պլանավորման ժամանակ անհրաժեշտ է հաշվի առնել տեղական շինարարական նորմերը, բնակեցվածությունը, ելքերի օգտագործումը, վերելակների հորանները, օդորակիչների սարքավորումները, հակահրդեհային կանոնները և այլն:
17. Ուղղաթիռահրապարակում պետք է նախատեսվի առնվազն մեկ FATO գոտի, որի չափերը և թեքությունները պետք է համապատասխանեն Պայմանների 3-րդ և 4-րդ կետերով սահմանված պահանջներին:
18. Ուղղաթիռահրապարակի FATO գոտու մակերևույթը պետք է ապահովի ուղղաթիռների երթևեկումը, որոնց շահագործման համար այն նախատեսված է:
1) Ուղղաթիռահրապարակ ընտրելիս կամ նախագծելիս պետք է հաշվի առնվեն լրացուցիչ բեռնվածությունները` սպասարկող անձնակազմը, ձյունը, բեռը, վառելիքի լցավորման ու հրդեհաշիջման սարքավորումները և միջոցները:
19. Ուղղաթիռահրապարակի FATO գոտին պետք է ապահովված լինի անվտանգության գոտով, որը գտնվում է FATO գոտու սահմաններից դուրս և որի երկարությունը պետք է լինի առնվազն 3 մ կամ ուղղաթիռի եզրաչափային մեծությունների մեկ քառորդի չափով՝ կախված շահագործվող ամենամեծ ուղղաթիռի չափսերից:
1) Անվտանգության գոտում չի թույլատրվում որևէ անշարժ օբյեկտի առկայություն, բացառությամբ դյուրաբեկ օբյեկտների, որոնք իրենց ֆունկցիոնալ նշանակությամբ պետք է գտնվեն այդ գոտում: Այդ օբյեկտների բարձրությունը չպետք է գերազանցի 25 սմ-ը, եթե դրանք տեղավորվում են FATO սահմանի երկայնքով, և դուրս չեն գալիս FATO գոտու սահմանի վրա 25 սմ բարձրությամբ սկիզբ առնող և 5% թեքությամբ FATO գոտու կողմից սկիզբ առնող հարթության սահմաններից:
2) Ուղղաթիռների թռիչքների ժամանակ անվտանգության գոտում չի թույլատրվում շարժվող օբյեկտների առկայությունը:
3) Անվտանգության գոտու մակերևույթի վերընթաց թեքությունը FATO գոտու սահմանի ուղղությամբ չպետք է գերազանցի 4%-ը:
4) FATO գոտուն հարակից անվտանգության գոտու մակերևույթը կազմում է FATO գոտու շարունակությունը և առանց կառուցվածքային վնասվածքներ հարուցելու կարող է դիմակայել ուղղաթիռներին:
Գ լ ու խ IV
Ուղղաթիռատախտակամածներ
20. Պայմանների իմաստով ուղղաթիռատախտակամած է համարվում ջրի վրա լողացող կամ անշարժ օբյեկտի վրա նախապատրաստված ուղղաթիռահրապարակը:
21. Ուղղաթիռատախտակամածների համար FATO և TLOF գոտիները համընկնում են:
22. Ուղղաթիռատախտակամածի համար պետք է նախատեսվի առնվազն մեկ FATO գոտի:
23. FATO գոտին կարող է ունենալ ցանկացած ուրվապատկեր:
1) Եթե ուղղաթիռատախտակամածը նախատեսված է մեկ տանող պտուտակով կամ երկու լայնակի սխեմայով տեղակայված տանող պտուտակներով ուղղաթիռների շահագործման համար, ապա FATO գոտու չափսերը պետք է լինեն այնպիսին, որպեսզի դրանում հնարավոր լինի ընդգրկել 1.0D տրամագծով շրջան, որտեղ D-ն պտտվող պտուտակներով ուղղաթիռի առավել չափսն է:
2) Եթե ուղղաթիռատախտակամածում նախատեսվում են վայրէջքներ ցանկացած ուղղություններից երկու լայնակի սխեմայով տեղակայված տանող պտուտակներով ուղղաթիռների կողմից, ապա FATO գոտու չափսերը պետք է լինեն այնպիսին, որպեսզի դրանում հնարավոր լինի ընդգրկել շրջան, որի տրամագիծն առնվազն հավասար է տանող պտուտակներով ուղղաթիռի ամբողջ երկարության 0.9 չափին: Եթե նշված պահանջն ապահովելն անհնար է, ապա FATO գոտին կարող է ունենալ ուղղանկյան ձև` 0.75D լայնությամբ և 0.9D երկարությամբ, որի դեպքում վայրէջքը թույլատրվում է իրականացնել միայն ուղղանկյան երկարության ուղղությամբ:
3) FATO գոտու սահմաններում բացառվում է անշարժ օբյեկտների առկայությունը, բացառությամբ աերոնավիգացիոն միջոցների, որոնց բարձրությունը չպետք է գերազանցի 25 սմ և որոնք պետք է տեղադրված լինեն դյուրաբեկ ամրանների վրա:
4) FATO գոտու մակերևույթը պետք է ունենա թեքություն` ջրակուտակումները բացառելու նպատակով և լինի սայթունադիմակայուն ուղղաթիռների և սպասարկող անձնակազմի անվտանգությունն ապահովելու նպատակով:
Գ լ ու խ V
Ուղղաթիռադաշտի (ուղղաթիռահրապարակի) շրջանի օդային տարածքի օգտագործման պայմանները
24. Պայմանների իմաստով ուղղաթիռադաշտի (ուղղաթիռահրապարակի) շրջան է համարվում ուղղաթիռադաշտի (ուղղաթիռահրապարակի) և դրան կից գոտիների տարածքը, որի վրայի օդային տարածությունը նախատեսված է ուղղաթիռադաշտում (ուղղաթիռահրապարակում) թռիչք-վայրէջք կատարելու համար:
25. Ուղղաթիռադաշտի (ուղղաթիռահրապարակի) շրջանի օդային տարածքը, թռիչքների համար նախատեսված ազատ գոտիների ապահովման տեսանկյունից, բաժանվում է հետևյալ հարթությունների, որոնց գծապատկերները ներկայացված են Պայմանների նկար 1:
1) Վայրէջքի հարթություն - FATO գոտու կենտրոնով անցնող, անվտանգության գոտու սահմանից վեր բարձրացող և դրանց առանցքագծի նկատմամբ համաչափ դասավորված թեք հարթություն կամ հարթությունների համակցություն: Վայրէջքի հարթության թեքությունը սահմանվում է առանցքագծի հարթությանն ուղղահայաց հարթության նկատմամբ: Վայրէջքի հարթության սահմաններ են հանդիսանում ներքին, արտաքին և երկու եզրային սահմանները՝
ա. ներքին սահմանը - հորիզոնական տեղակայված է անվտանգության գոտու արտաքին սահմանի վրա և հանդիսանում է վայրէջքի հարթության առանցքագծին ուղղահայաց, որի լայնությունը ընդգրկում է FATO և անվտանգության գոտիների նվազագույն լայնությունները: Ներքին սահմանի գերազանցումը հավասար է ներքին սահմանի կետի վրա անվտանգության գոտու գերազանցմանը, որով անցնում է վայրէջքամուտի հարթության առանցքագիծը,
բ. արտաքին սահմանը - հորիզոնական տեղակայված է FATO գոտու գերազանցումից հաստատուն բարձրության վրա և ուղղահայաց է վայրէջքի մակերևույթի առանցքագծին,
գ. եզրային սահմանները - սկսվում են ներքին սահմանի ծայրերից և հավասարաչափ շեղվում են ուղղահայաց հարթությունից, որով անցնում է FATO գոտու առանցքագիծը, մինչև FATO գոտուց վերև հաստատված բարձրությունը, ապա մինչև հաստատված վերջնական լայնությունը:
2) Անցումային հարթություն - բարդ հարթություն է, որը դասավորված է անվտանգության գոտու կողային սահմանի երկայնքով և վայրէջքի կողային սահմանի հատվածով: Այն տարածվում է դեպի վեր, ներքին հորիզոնական կամ նախօրոք հաստատված հարաբերական բարձրության ուղղությամբ: Անցումային հարթության սահմաններն են՝
ա. ներքին սահմանը, որը սկսվում է վայրէջքի հարթության եզրային և ներքին հորիզոնական հարթության սահմանների հատման կետից կամ, եթե չի ապահովվում ներքին հորիզոնական հարթությունը, ներքին սահմանի վրա հաստատված բարձրությունից և տարածվում է ներքև վայրէջքի հարթության եզրային սահմանի ուղղությամբ մինչև վայրէջքի հարթության ներքին սահմանն ու շարունակվում է FATO գոտու առանցքագծին զուգահեռ անվտանգության գոտու կողային սահմանի երկայնքով: Ներքին սահմանի գերազանցումը վայրէջքի հարթության եզրային սահմանի երկայնքով հավասար է այդ կետում հարթության գերազանցմանը, իսկ անվտանգության գոտու գծի երկայնքով` այդ կետի դիմաց FATO գոտու առանցքագծի գերազանցմանը,
բ. վերին սահմանը, որը համընկնում է ներքին հորիզոնական հարթության հետ կամ, եթե այն ապահովված չէ, գտնվում է ներքին սահմանի վրա հաստատված բարձրության վրա:
3) Ներքին հորիզոնական հարթություն - նախատեսված է տեսողական մանևրման անվտանգությունն ապահովելու համար և ունի շրջանի ձև, որը գտնվում է FATO գոտու և նրան հարակից հատվածների վրա: Ներքին հորիզոնական հարթության շառավիղը սահմանվում է FATO գոտու կենտրոնից, իսկ դրա հարաբերական բարձրությունը չափվում է այդ նպատակով հաստատված սկզբնական գերազանցումից:
4) Կոնային հարթություն - թեք հարթություն է, որի ստորին սահմանը համընկնում է ներքին հորիզոնական հարթության սահմանի հետ կամ անցումային հարթության վերին սահմանի հետ, եթե ներքին հորիզոնական հարթությունն ապահովված չէ: Կոնային հարթության թեքությունը սահմանվում է հորիզոնական հարթությունում: Կոնային հարթության սահմաններն են`
ա. ներքին սահմանը, որը համընկնում է ներքին հորիզոնական հարթության սահմանի հետ կամ անցումային հարթության վերին սահմանի հետ, եթե ներքին հորիզոնական հարթությունն ապահովված չէ,
բ. վերին սահմանը, որը գտնվում է ներքին հորիզոնական հարթության սահմանված բարձրության վրա կամ FATO գոտու առավել ստորին վերջավորության բարձրությունից բարձր, եթե ներքին հորիզոնական հարթությունն ապահովված չէ:
5) Վերելքի ժամանակ բարձրություն հավաքելու հարթություն - անվտանգության գոտուց սկսվող և FATO գոտու կենտրոնով անցնող առանցքագծին համաչափ թեք հարթություն է, որը հանդիսանում է հարթությունների համակցություն կամ բարդ հարթություն, երբ նախատեսված է հետադարձի համար: Եթե վերելքի ժամանակ բարձրություն հավաքելու հարթությունն ուղղաձիգ է, ապա դրա թեքությունը սահմանվում է ուղղահայաց հարթությունում, որում գտնվում է բարձրություն հավաքելու հարթության առանցքագիծը, իսկ եթե պարունակում են շրջադարձի կատարման տեղամաս, ապա այդ հարթությունն իրենից ներկայացնում է հորիզոնական հարթությունում ընկած և իր առանցքագծին տարված ուղղահայացներ պարունակող բարդ հարթություն, որի առանցքագծի թեքությունը համանման է ուղղաձիգ հետագծով վերելքի ժամանակ բարձրություն հավաքելու հարթության թեքությանը: Վերելքի ժամանակ բարձրություն հավաքելու հարթության սահմաններն են՝
ա. նեքին սահմանը, որը համընկնում անվտանգության կամ խոչընդոտներից ազատ գոտիների հորիզոնական հարթության հետ, ուղղահայաց է վերելքի ժամանակ բարձրություն հավաքելու հարթության առանցքագծին և, որի երկարությունը հավասար է FATO գոտու և անվտանգության գոտու հաստատված նվազագույն լայնությանը: Ներքին սահմանի գերազանցումը հավասար է ներքին սահմանի վրա գտնվող կետում անվտանգության գոտու բարձրությանը, որով անցնում է վերելքի ժամանակ բարձրության հավաքելու հարթության առանցքագիծը: Սակայն այն դեպքում, երբ նախատեսվում է խոչընդոտներից ազատ գոտի, այդ բարձրությունը հավասար է խոչընդոտներից ազատ գոտու առանցքագծի վրա գտնվող գետնի մակերևույթի ամենաբարձր կետի գերազանցմանը: Ներքին սահմանի և ներքին սահմանից 30 մ բարձր կետագծերի միջև հարթության տեղամասն ուղղաձիգ է,
բ. երկու եզրային սահմանները, որոնք սկսվում են ներքին սահմանի ծայրերից և հավասարաչափ շեղված են FATO գոտու առանցքագծով անցնող ուղղահայաց հարթության նկատմամբ,
գ. արտաքին սահմանը, որը ուղղահայաց է վերելքի ժամանակ բարձրություն հավաքելու հարթության առանցքագծին և համընկնում է հորիզոնական FATO գոտու բարձրության վրա սահմանված բարձրության վրա գտնվող հորիզոնականի հետ:
6) Խոչընդոտներից ազատ հատվածները (հարթությունները) բարդ հարթություններ են, որոնք սկսվում են ուղղաթիռատախտակամածի FATO գոտու սահմաններից և ունեն սահմանված երկարություն: Խոչընդոտներից ազատ հատվածները (հարթությունները) իրենցից ներկայացնում են սահմանված չափերի աղեղներ.
ա. ուղղաթիռատախտակամածների համար խոչընդոտներից ազատ հատվածի աղեղը սահմանվում է 2100 չափով և տարածվում է կողմերի վրա, որոնց երկարությունը պետք է ապահովի տվյալ ուղղաթիռատախտակամածի համար հաշվարկված ամենամեծ ուղղաթիռի անվտանգ շահագործումը մեկ չաշխատող շարժիչի դեպքում: Ուղղաթիռատախտակամածների համար խոչընդոտներից ազատ հատվածի գծապատկերը ներկայացված է Պայմանների նկար 2-ում,
բ. ուղղաթիռատախտակամածների համար խոչընդոտներից ազատ հարթությունն իրենից ներկայացնում է ուղղաթիռատախտակամածի գերազանցման մակարդակի վրա գտնվող հորիզոնական հարթություն, բացառությամբ FATO գոտու կենտրոնով անցնող և ջրի մակարդակի վրա գտնվող 1800 հատվածի:
Գ լ ու խ VI
Խոչընդոտներից ազատ հարթություններին ներկայացվող պահանջները
26. Ըստ ուղղաթիռադաշտերի տեխնիկական հագեցվածության սահմանվում են խոչընդոտներից ազատ հարթություններ:
1) Ճշգրիտ վայրէջքի համար սարքավորված ուղղաթիռադաշտի FATO գոտու խոչընդոտներից ազատ հարթություններն են`
ա. վերելքի ժամանակ բարձրություն հավաքելու հարթությունը,
բ. վայրէջքի հարթությունը,
գ. անցումային հարթությունները և
դ. կոնային հարթությունը:
2) Ոչ ճշգրիտ վայրէջքի համար սարքավորված ուղղաթիռադաշտի FATO գոտու խոչընդոտներից ազատ հարթություններն են՝
ա. վերելքի ժամանակ բարձրություն հավաքելու հարթությունը,
բ. վայրէջքի հարթությունը,
գ. անցումային հարթությունները,
դ. կոնային հարթությունը և
ե. ներքին հորիզոնական հարթությունը:
3) Չսարքավորված ուղղաթիռադաշտի FATO գոտու խոչընդոտներից ազատ հարթություններն են՝
ա. վերելքի ժամանակ բարձրություն հավաքելու հարթությունը և
բ. վայրէջքի հարթությունը:
27. Հարթությունների գծապատկերները և ֆիզիկական բնութագրերը ըստ ուղղաթիռադաշտերի տեխնիկական հագեցվածության, ներկայացված են համապատասխանաբար Պայմանների նկարներ 3-7 և աղյուսակներում 1-3:
1) Հարթությունների թեքությունները չպետք է գերազանցեն աղյուսակներում սահմանված մեծությունները, իսկ չափերը լինեն սահմանված մեծություններից ոչ պակաս:
28. Նոր կառուցվող կամ վերակառուցվող օբյեկտների բարձրությունները չպետք է գերազանցեն Պայմանների 27-րդ կետով սահմանված ուղղաթիռադաշտի խոչընդոտներից ազատ հարթությունների սահմանները, բացառությամբ, եթե դրանք ստվերարկված են այլ օբյեկտներով:
1) Սահմանված հարթությունները գերազանցող ցանկացած օբյեկտներ ենթակա են վերացման, բացառությամբ այն օբյեկտների, որոնք ստվերարկված են գոյություն ունեցող օբյեկտների կողմից կամ ավիացիոն ուսումնասիրությունների արդյունքում արձանագրվել է, որ դրանք բացասաբար չեն ազդում թռիչքների անվտանգությանը:
2) Ուղղաթիռադաշտերում պետք է նախատեսվեն վայրէջքի և վերելքի ժամանակ բարձրություն հավաքելու առնվազն երկու հարթություն` իրարից առնվազն 1500 հեռացված:
3) Վայրէջքի և վերելքի ժամանակ բարձրություն հավաքելու հարթությունների դիրքերը և քանակը պետք է ապահովեն ուղղաթիռադաշտերի օգտագործման գործակցի 95% այն ուղղաթիռների համար, որոնց համար դրանք նախատեսված են:
29. Ողղաթիռահրապարակների խոչընդոտներից ազատ հարթությունների համար սահմանվում են ողղաթիռադաշտերի խոչընդոտներից ազատ հարթություններին ներկայացվող պահանջները:
1) Ուղղաթիռահրապարակներում պետք է նախատեսվեն վայրէջքի և վերելքի ժամանակ բարձրություն հավաքելու առնվազն երկու հարթություն` իրարից առնվազն 1500 հեռացված:
30. Ուղղաթիռատախտակամածները պետք է ունենան խոչընդոտներից ազատ հատված, իսկ անհրաժեշտության դեպքում՝ սահմանափակ խոչընդոտներով հատված: Խոչընդոտներից ազատ հատվածի սահմաններում չի կարելի տեղադրել անշարժ օբյեկտներ, որոնք խոչընդոտների ազատ հարթությունից ավելի բարձր են:
Ուղղաթիռադաշտի (ուղղաթիռահրապարակի) շրջանի օդային տարածքի հարթությունները եվ դրանց բնութագրերը չսարքավորված FATO գոտու եվ ոչ ճշգրիտ վայրէջքի դեպքում
Աղյուսակ 1
|
Հարթությունները, |
Շահա- |
Չսարքավորված FATO գոտի |
Ոչ ճշգրիտ | ||
|
Ուղղաթիռի դասային թիվը | |||||
|
1 |
2 |
3 | |||
|
Վայրէջքի հարթություն | |||||
|
Ներքին սահմանի լայնությունը |
|
Անվտանգության գոտու լայնությունը | |||
|
Առաջին հատվածի՝ |
|
|
|
|
|
|
շեղվածությունը |
ցերեկը |
10% |
10% |
10% |
16% |
|
|
գիշերը |
15% |
15% |
15% | |
|
երկարությունը |
ցերեկը |
245 մա |
245 մա |
245 մա |
2 500 |
|
|
գիշերը |
245 մա |
245 մա |
245 մա | |
|
արտաքին սահմանը |
ցերեկը |
49 մբ |
49 մբ |
49 մբ |
890 մ |
|
|
գիշերը |
73,5 մբ |
73,5 մբ |
73,5 մբ |
|
|
թեքությունը (առավելագույն) |
|
8% |
8% |
8% |
3,33% |
|
Երկրորդ հատվածի՝ |
|
|
|
|
|
|
շեղվածությունը |
ցերեկը |
10% |
10% |
10% |
- |
|
|
գիշերը |
15% |
15% |
15% |
- |
|
երկարությունը |
ցերեկը |
գ |
գ |
գ |
- |
|
|
գիշերը |
գ |
գ |
գ |
- |
|
արտաքին սահմանը |
ցերեկը |
դ |
դ |
դ |
- |
|
|
գիշերը |
դ |
դ |
դ |
- |
|
թեքությունը (առավելագույն) |
|
12,5% |
12,5% |
12,5% |
- |
|
Երրորդ հատվածի՝ |
|
|
|
|
- |
|
շեղվածությունը |
|
զուգահեռ |
- | ||
|
երկարությունը |
ցերեկը |
ե |
ե |
ե |
- |
|
|
գիշերը |
ե |
ե |
ե |
- |
|
արտաքին սահմանը |
ցերեկը |
դ |
դ |
դ |
- |
|
|
գիշերը |
դ |
դ |
դ |
- |
|
թեքությունը (առավելագույն) |
|
15% |
15% |
15% |
- |
|
Ներքին հորիզոնական հարթություն | |||||
|
Բարձրությունը |
|
- |
- |
- |
45 մ |
|
Շառավիղը |
|
- |
- |
- |
2000 մ |
|
Կոնային հարթություն | |||||
|
Թեքությունը |
|
- |
- |
- |
5% |
|
Բարձրությունը |
|
- |
- |
- |
55 մ |
|
Անցումային հարթություն | |||||
|
Թեքությունը |
|
- |
- |
- |
20% |
|
Բարձրությունը |
|
- |
- |
- |
45 մ |
որտեղ՝
| «ա» |
- |
թեքությունը և երկարությունը թույլ են տալիս վայրէջքի նպատակով արգելակումն իրականացնել կրիտիկական գոտիների «շրջանցման» կանոններով, |
|
«բ» |
- |
սույն մեծությանն ավելացվում է ներքին սահմանի լայնությունը, |
|
«գ» |
- |
ներքին սահմանից մինչև այն կետի միջև ընկած հեռավորությունը, որտեղ լայնությունը հավասար է 7RD և 10RD, համապատասխանաբար, ցերեկային և գիշերային ժամերին շահագործման դեպքում, |
| «դ» |
- |
ընդհանուր լայնությունը, որն ըստ շահագործման ժամերի (ցերեկը և գիշերը) համապատասխանաբար հավասար է 7RD և 10RD, |
| «ե» |
- |
ներքին սահմանից մինչև այն կետի միջև ընկած հեռավորությունը, որտեղ վայրէջքի հարթության բարձրությունը ներքին սահմանի բարձրության նկատմամբ կազմում է 150 մ: |
Ուղղաթիռադաշտի (ուղղաթիռահրապարակի) շրջանի օդային տարածքի հարթությունները եվ դրանց բնութագրերը սարքավորված FATO գոտու համար
Աղյուսակ 2
|
Հարթությունները, դրանց տարրերը և չափերը |
30 անկյունով վայրէջքի դեպքում |
60 անկյունով վայրէջքի դեպքում | ||||||
|
Բարձրությունը FATO գոտու վրա | ||||||||
|
90 մ |
60 մ |
45 մ |
30 մ |
90 մ |
60 մ |
45 մ |
30 մ | |
|
Վայրէջքի հարթություն | ||||||||
|
Ներքին սահմանի երկարությունը |
90 մ |
90 մ |
90 մ |
90 մ |
90 մ |
90 մ |
90 մ |
90 մ |
|
Հեռավորությունը FATO գոտու սահմանից |
60 մ |
60 մ |
60 մ |
60 մ |
60 մ |
60 մ |
60 մ |
60 մ |
|
Յուրաքանչյուր կողմի շեղվածությունը. |
25% |
25% |
25% |
25% |
25% |
25% |
25% |
25% |
|
Հեռավորությունը մինչև FATO գոտու բարձրութ. |
1745 մ |
1163 մ |
872 մ |
581 մ |
870 մ |
580 մ |
435 մ |
290 մ |
|
Լայնությունը FATO գոտու բարձրության վրա |
962 մ |
671 մ |
526 մ |
380 մ |
521 մ |
380 մ |
307,5մ |
235 մ |
|
Շեղվածությունը մինչև զուգահեռ հատվածը |
15% |
15% |
15% |
15% |
15% |
15% |
15% |
15 % |
|
Հեռավորությունը մինչև զուգահեռ հատվածը |
2793 մ |
3763 մ |
4246 մ |
4733 մ |
4250 մ |
4733 մ |
4975 մ |
5217 մ |
|
Զուգահեռ հատվածի լայնությունը |
1800 մ |
1800 մ |
1800 մ |
1800 մ |
1800 մ |
1800 մ |
1800 մ |
1800 մ |
|
Հեռավորությունը մինչև արտաքին սահմանը |
5462 մ |
5074 մ |
4882 մ |
4686 մ |
3380 մ |
3187 մ |
3090 մ |
2993 մ |
|
Լայնությունն արտաքին սահմանի վրա |
1800 մ |
1800 մ |
1800 մ |
1800 մ |
1800 մ |
1800 մ |
1800 մ |
1800 մ |
|
Առաջին հատվածի թեքությունը |
2,5% |
2,5% |
2,5% |
2,5% |
5% |
5% |
5% |
5% |
|
Առաջին հատվածի երկարությունը |
3000 մ |
3000 մ |
3000 մ |
3000 մ |
1500 մ |
1500 մ |
1500 մ |
1500 մ |
|
Երկրորդ հատվածի թեքությունը |
3% |
3% |
3% |
3% |
6% |
6% |
6% |
6% |
|
Երկրորդ հատվածի երկարությունը |
2500 մ |
2500 մ |
2500 մ |
2500 մ |
1250 մ |
1250 մ |
1250 մ |
1250 մ |
|
Հարթության ընդհանուր երկարությունը |
10000 մ |
10000 մ |
10000 մ |
10000 մ |
8500 մ |
8500 մ |
8500 մ |
8500 մ |
|
Կոնային հարթություն | ||||||||
|
Թեքությունը |
5% |
5% |
5% |
5% |
5% |
5% |
5% |
5% |
|
Բարձրությունը |
55 մ |
55 մ |
55 մ |
55 մ |
55 մ |
55 մ |
55 մ |
55 մ |
|
Անցումային հարթություն | ||||||||
|
Թեքությունը |
14,3% |
14,3% |
14,3% |
14,3% |
14,3% |
14,3% |
14,3% |
14,3% |
|
Բարձրությունը |
45 մ |
45 մ |
45 մ |
45 մ |
45 մ |
45 մ |
45 մ |
45 մ |
Ուղղաթիռադաշտի (ուղղաթիռահրապարակի) շրջանի օդային տարածքի հարթությունները եվ դրանց բնութագրերը ուղղագծային վերելքի համար
Աղյուսակ 3
|
Հարթությունները, դրանց |
Շահագործման |
Տեսողական թռիչքներ |
Ոչ ճշգրիտ | ||
|
Ուղղաթիռի դասային թիվը | |||||
|
1 |
2 |
3 | |||
|
Վերելքի ժամանակ բարձրություն հավաքելու հարթություն | |||||
|
Ներքին սահմանի լայնությունը |
|
Անվտանգության գոտու լայնությունը |
90 մ | ||
|
Առաջին հատվածի՝ |
| ||||
|
շեղվածությունը |
ցերեկը |
10% |
10% |
10% |
30% |
|
|
գիշերը |
15% |
15% |
15% | |
|
երկարությունը |
ցերեկը |
ա |
245 մբ |
245 մ բ |
2850 մ |
|
|
գիշերը |
ա |
245 մ բ |
245 մբ | |
|
արտաքին սահմանը |
ցերեկը |
գ |
49 մ դ |
49 մդ |
1800 մ |
|
|
գիշերը |
գ |
73,5 մ դ |
73,5 մդ | |
|
թեքությունը (առավելագույն) |
|
4.5% * |
8% բ |
8% բ |
3,5% |
|
Երկրորդ հատվածի՝ |
| ||||
|
շեղվածությունը |
ցերեկը |
զուգահեռ |
10% |
10% |
զուգահեռ |
|
|
գիշերը |
զուգահեռ |
15% |
15% |
- |
|
երկարությունը |
ցերեկը |
ե |
ա |
ա |
1510 մ |
|
|
գիշերը |
ե |
ա |
ա | |
|
արտաքին սահմանը |
ցերեկը |
գ |
գ |
գ |
1800 մ |
|
|
գիշերը |
գ |
գ |
գ | |
|
թեքությունը (առավելագույն) |
|
4,5%* |
15% |
15% |
3.5% * |
|
Երրորդ հատվածի՝ |
| ||||
|
շեղվածությունը |
|
|
- |
զուգահեռ |
զուգահեռ |
|
երկարությունը |
ցերեկը |
- |
ե |
ե |
7640 մ |
|
|
գիշերը |
- |
ե |
ե | |
|
արտաքին սահմանը |
ցերեկը |
- |
գ |
գ |
1800 մ |
|
|
գիշերը |
- |
գ |
գ | |
|
թեքությունը (առավելագույն) |
|
- |
15% |
15% |
2% |
որտեղ`
| «ա» |
- |
ներքին սահմանից մինչև այն կետի միջև ընկած հեռավորությունը, որտեղ լայնությունը հավասար է 7RD և 10RD, համապատասխանաբար, ցերեկային և գիշերային ժամերին շահագործման դեպքում, |
|
«բ» |
- |
թեքությունը և երկարությունն ապահովում են վերելքի ժամանակ թափավազքի և բարձրությունը հավաքելու գոտին՝ կրիտիկական գոտիների «շրջանցման» կանոնների ապահովման դեպքում, |
|
«գ» |
- |
ներքին սահմանից մինչև այն կետի միջև ընկած հեռավորությունը, որտեղ լայնությունը հավասար է 7RD և 10RD, համապատասխանաբար ցերեկային և գիշերային ժամերին շահագործման դեպքում, |
| «դ» |
- |
սույն մեծությանն ավելացվում է ներքին սահմանի լայնությունը, |
| «ե» |
- |
ներքին սահմանից մինչև այն կետի միջև ընկած հեռավորությունը, որտեղ վայրէջքի հարթության բարձրությունը ներքին սահմանի բարձրության նկատմամբ կազմում է 150 մ, |
| «*» |
- |
թեքությունը գերազանցում է բարձրություն հավաքելու թեքությունը, ուղղաթիռի լրիվ բեռնվածության և մեկ չաշխատող շարժիչի դեպքում: |
Գ լ ու խ VII
Տեսողական միջոցներ
31. Պայմանների իմաստով տեսողական միջոցներ են համարվում այն միջոցները, սարքավորումները և համալիրները, որոնք ցուցանշում են ուղղաթիռների թռիչք-վայրէջքի և գետնավարման ուղղությունները:
32. Տեսողական միջոցներ են հանդիսանում`
ա. քամու ուղղության ցուցիչը,
բ. մականշանները,
գ. լուսարձակները և լուսազդանշանային համակարգը:
33. Ուղղաթիռադաշտը (ուղղաթիռահրապարակը) պետք է սարքավորված լինի առնվազն մեկ քամու ուղղության ցուցիչով, որը պետք է տեղադրվի թռիչք-վայրէջքի վերջնական փուլի գոտում այնպես, որպեսզի կախման ռեժիմում կամ աշխատանքային հրապարակում տեսանելի լինի ուղղաթիռի անձնակազմի համար և դրա վրա չազդեն օդի կողմնակի կամ տանող պտուտակի կողմից ստեղծած օդի տատանումները:
1) Եթե վայրէջքի և պոկման գոտին ենթարկվում է օդի հոսանքի ստեղծած տատանումներին, ապա նշված գոտում պետք է տեղադրվեն լրացուցիչ քամու ուղղության ցուցիչներ:
2) Քամու ուղղության ցուցիչն ունի կտրված կոնի ձև հետևյալ աղյուսակում ներկայացված նվազագույն չափերով`
|
Քամու ուղղության |
Ուղղաթիռադաշտերի |
Ուղղաթիռահրապարակների և |
|
Երկարությունը |
2.4 |
1.2 |
|
Կոնի հիմքի |
0.6 |
0.3 |
|
Կոնի կտրված հատվածի |
0.3 |
0.15 |
3) Քամու ուղղության ցուցիչի գույնը պետք է ապահովի տեսանելիությունը առնվազն 200 մ (650ֆուտ) բարձրությունից: Նախընտրելի են համարվում սպիտակ կամ նարնջագույն գույները:
4) Ելնելով շրջակա միջավայրի ընդհանուր ֆոնից կարող է կիրառվել գույների զուգակցում` նարնջագույն և սպիտակ, կարմիր և սպիտակ կամ սև և սպիտակ՝ ապահովելով դրանց հաջորդականությունը, ընդ որում, գույները դասավորվում են հինգ հաջորդող շերտերով այնպես, որպեսզի կոնի սկզբի և վերջի շերտագծերը լինեն մուգ գույնի:
5) Եթե ուղղաթիռադաշտը (ուղղաթիռահրապարակը) շահագործվում է նաև գիշերային ժամերին, ապա պետք է ապահովվի նաև քամու ուղղության ցուցչի լուսավորությունը:
34. Ուղղաթիռադաշտի (ուղղաթիռահրապարակի) ճանաչողական մակնշումն իրականացվում է թռիչք-վայրէջքի վերջնական փուլի գոտու սահմաններում, գոտու կենտրոնում կամ կենտրոնին մոտ, իսկ եթե օգտագործվում է վազքուղու մակնշման հետ, ապա գոտու յուրաքանչյուր վերջնահատվածում:
1) Ուղղաթիռադաշտի (ուղղաթիռահրապարակի), բացառությամբ հիվանդանոցներին կից ուղղաթիռադաշտի, ճանաչողական մակնշումն իրականացվում է սպիտակ գույնի «H» տառի ձևով, որի գծապատկերը և նվազագույն չափերը ներկայացված են Պայմանների նկար 8: Եթե տվյալ մակնշումն օգտագործվում է թռիչք-վայրէջքի վերջնական փուլի գոտու մակնշման հետ համատեղ, ապա ներկայացված չափերը եռապատկվում են:
2) Հիվանդանոցներին կից ուղղաթիռադաշտի (ուղղաթիռահրապարակի) ճանաչողական մակնշումն իրականացվում է կարմիր գույնի «H» նշանով` սպիտակ խաչի ֆոնի վրա համաձայն Պայմանների նկար 8:
3) Բեռների մշակման համար նախատեսված ուղղաթիռադաշտի մակնշումն իրականացվում է առնվազն 1.5 մ տրամագծով շրջանի ձևով` դեղին գույնով, ընդ որում, շրջանի կենտրոնը պետք է համընկնի այդ գոտում գտնվող խոչընդոտներից ազատ գոտու կենտրոնի հետ:
35. Ուղղաթիռահրապարակը լրացուցիչ պետք է մակնշվի առավելագույն թույլատրելի զանգվածի մակնշումով:
1) Առավելագույն թույլատրելի զանգվածի մակնշումը պետք է իրականացվի վայրէջքի և պոկման գոտում և լինի հեշտ կարդացվող վայրէջքի հիմնական ուղղության կողմից:
2) Առավելագույն թույլատրելի զանգվածի մակնշումն իրականացվում է երկնիշ թվով և «T» տառով, որոնց ձևը և չափերը սահմանված են միջազգային ստանդարտներով, իսկ գույնն ընտրվում է այնպիսին, որպեսզի մակնշումը լինի ցայտուն շրջակա ֆոնի նկատմամբ:
36. Եթե ուղղաթիռադաշտի վայրէջքի և թռիչքի վերջնական փուլի գոտին հստակ արտահայտված չէ, ապա այն պետք է ապահովվի գծամակնշումով կամ տեղեկատվական նշաններով գոտու սահմանների վրա:
1) Վայրէջքի և թռիչքի վերջնական փուլի գոտու մականշանների կամ տեղեկատվական նշանների միջև սահմանվում են հետևյալ հավասար հեռավորություններն ըստ գոտու ձևի՝
ա. եթե գոտին ունի քառակուսու կամ ուղղանկյան ձև, ապա մականշանները կամ տեղեկատվական նշանները տեղադրվում եմ իրարից առնվազն 50 մ վրա, ընդ որում, դրանց քանակը, հաշվի առնելով գոտու անկյունները, պետք է լինի ոչ քիչ 3 հատից,
բ. եթե գոտին ունի ցանկացած ուրիշ ձև, այդ թվում՝ շրջանի, ապա մականշանները կամ տեղեկատվական նշանները տեղադրվում եմ իրարից առնվազն 10 մ վրա, ընդ որում, դրանց քանակը պետք է լինի ոչ քիչ 5 հատից:
2) Վայրէջքի և թռիչքի վերջնական փուլի գոտու մականշանն իրենից ներկայացնում ուղղանկյուն` 1 մ լայնությամբ և 9 մ կամ գոտու կողմի 1/5 չափով երկարությամբ:
3) Տեղեկատվական նշանն իրենից ներկայացնում է կոն` 0.75 մ հիմքի տրամագծով կամ բուրգ` 1.0 մ և 3.0 մ հիմքի կողմերով, որոնց բարձրությունը գետնի կամ ձյան շերտի մակարդակի նկատմամբ չպետք է գերազանցի 0.25 մ:
4) Վայրէջքի և թռիչքի վերջնական փուլի գոտու մակնշումները և տեղեկատվական նշանները պետք է լինեն սպիտակ գույնի:
5) Վայրէջքի և թռիչքի վերջնական փուլի գոտու մակնշումը կարող է իրականացվել նաև Պայմանների նկար 9 համաձայն, որտեղ թվերով նշվում է մագնիսական ուղղվածությունը:
37. Այն ուղղաթիռադաշտը, որտեղ անհրաժեշտ է, որպեսզի օդաչուի կողմից վայրէջքն իրականացվի սահմանված կետի ուղղությամբ մինչև վայրէջքի և պոկման գոտու մուտք գործելը, պետք է ապահովվեն վայրէջքի ճշգրիտ կետի մականշանով, որն իրականացվում է թռիչք-վայրէջքի վերջնական փուլի գոտու սահմաններում:
1) Վայրէջքի ճշգրիտ կետի մականշանն իրենից ներկայացնում է հավասարակողմ եռանկյուն, որի գծապատկերը և չափերը ներկայացված են Պայմանների նկար 10:
2) Վայրէջքի ճշգրիտ կետի մակնշումն իրականացվում է սպիտակ գույնով և, եթե ուղղաթիռադաշտը շահագործվում է գիշերային ժամերին, ապա լրացվում է լույսերով, որոնք տեղադրվում են համաձայն Պայմանների նկար 10:
38. Ուղղաթիռահրապարակները և ուղղաթիռատախտակամածներն ապահովվում են վայրէջքի և պոկման գոտու մակնշումով, որը պետք է իրականացվի գոտու պարագծով առնվազն 0.3 մ լայնությամբ սպիտակ գույնի գծանշանով:
39. Ուղղաթիռադաշտը վայրէջքի կետի մակնշումով պետք է ապահովված լինի այն դեպքում, երբ պահանջվում է ուղղաթիռի վայրէջք կոնկրետ տեղում:
1) Վայրէջքի կետի մականշումը պետք է իրականացվի այնպես, որ հենասարքի վրա կանգնած ուղղաթիռը գտնվի դրա սահմաններում: Վայրէջքի կետի վրա գտնվելիս ուղղաթիռը կգտնվի ցանկացած խոչընդոտից անվտանգ հեռավորության վրա:
2) Ուղղաթիռահրապարակում կամ ուղղաթիռատախտակամածում վայրէջքի կետի մակնշումը պետք է իրականացվի վայրէջքի և պոկման գոտու կենտրոնում: Եթե ավիացիոն ուսումնասիրությունների արդյունքում անհրաժեշտություն է առաջանում վայրէջքի կետի տեղաշարժման, որը չի ազդում թռիչքների անվտանգությանը, ապա վայրէջքի կետը 0.1D չափով կարող է տեղաշարժվել խոչընդոտներից ազատ հատվածի սկզբնասահմանից:
3) Վայրէջքի կետի մակնշումն իրականացվում է շրջանի ձևով առնվազը 0.5 մ լայնությամբ դեղին գույնի գծանշանով: Ուղղաթիռատախտակամածի համար գծանշանի լայնությունը սահմանվում է առնվազը 1.0 մ:
4) Ուղղաթիռատախտակամածի համար շրջանի ներքին տրամագիծը պետք է լինի 6 մ կամ ուղղաթիռատախտակամածի տրամագծի կեսին հավասար` կախված նրանից, թե որն է մեծ:
40. Ուղղաթիռադաշտի անվան մակնշումով պետք է ապահովվի այն ուղղաթիռադաշտը, որտեղ տեսողական ճանաչման այլ միջոցներն անբավարար են: Ուղղաթիռադաշտի անվան մակնշումը պետք է իրականացվի այնպես, որպեսզի տեսանելի լինի հորիզոնագծի բոլոր անկյուններից: Այնտեղ, որտեղ գոյություն ունի խոչընդոտների հատված, մակնշումը պետք է դասավորել H ճանաչողական մակնշման այն կողմում, որտեղ գտնվում է խոչընդոտը:
1) Ուղղաթիռադաշտի անվան մակնշումը պետք է կազմված լինի ուղղաթիռադաշտի անվանումից կամ ռադիոհեռախոսահաղորդագրերում օգտագործվող ուղղաթիռադաշտն արտահայտող տառաթվային նշաններից, որոնց բարձրությունը պետք է լինի առնվազը 3 մ, իսկ ուղղաթիռահրապարակի կամ ուղղաթիռատախտակամածի համար` առնվազը 1.2 մ: Մակնշման գույնն ընտրվում է այնպիսին, որպեսզի մակնշումը լինի ցայտուն շրջակա ֆոնի նկատմամբ:
2) Եթե ուղղաթիռադաշտը շահագործվում է գիշերային ժամերին, ապա պետք է ապահովվի դրա անվան մակնշման լուսավորվածությունը, որը կարող է լինել արտաքին կամ ներքին:
41. Օդում երթևեկման ղեկուղիները պետք է ապահովվեն տեղեկատվական նշաններով, որոնք տեղադրվում են ղեկուղու առանցքագծով, իրարից 30 մ և 15 մ ոչ ավելի հեռավորությունների վրա ղեկուղու համապատասխանաբար ուղղագծային և կորագծային հատվածների համար:
1) Տեղեկատվական նշանի գծապատկերը և չափերը ներկայացված են Պայմանների նկար 11:
2) Տեղեկատվական նշանները պետք է լինեն դյուրաբեկ և դրանց բարձրությունը գետնի կամ ձյան ծածկույթի մակարդակից չպետք է գերազանցի 35 սմ:
3) Տեղեկատվական նշանը պետք լինի բավական տեսանելի և ունենա առնվազն 150 քառ. սմ մակերես, ընդ որում, պետք է ապահովվի նշանի բարձրության և լայնության 3/1 հարաբերությունը:
42. Ուղղաթիռների վերգետնյա գետնավարման համար ղեկուղիները պետք է ապահովվեն մականշաններով, որոնց նկատմամբ կիրառվում են աերոդրոմի ղեկուղիների մակնշումներին ներկայացվող պահանջները` սահմանված Չիկագոյի կոնվենցիայի թիվ 14 «Աերոդրոմներ» Հավելվածով:
43. Եթե ուղղաթիռադաշտում սահմանվում է օդում երթևեկման երթուղի, ապա այն պետք է ապահովվի տեղեկատվական նշաներով, որոնք տեղադրվում են երթուղու առանցքագծով իրարից 60 մ և 15 մ ոչ ավելի հեռավորությունների վրա երթուղու, համապատասխանաբար, ուղղագծային և կորագծային հատվածների համար:
1) Տեղեկատվական նշանները պետք է լինեն դյուրաբեկ և դրանց բարձրությունը գետնի կամ ձյան ծածկույթի մակարդակից չպետք է գերազանցի 1 մ:
2) Տեղեկատվական նշանը պետք լինի բավական տեսանելի և ունենա առնվազն 1500 քառ. սմ մակերես, ընդ որում, պետք է ապահովվի նշանի բարձրության և լայնության 1/3 հարաբերությունը:
3) Օդում երթևեկման երթուղու տեղեկատվական նշանի գծապատկերը և չափերը ներկայացված են Պայմանների նկար 12: Տեղեկատվական նշանները կարող են լինել ուղղանկյուն կամ եռանկյուն՝ համաձայն Պայմանների նկար 12 «Ա» և «Բ» տարբերակների:
4) Տեղեկատվական նշանները կազմվում են դեղին-կանաչ-դեղին գույնի շերտագծերից:
5) Եթե ուղղաթիռադաշտը նախատեսված է գիշերային ժամերին շահագործման համար, ապա օդում երթևեկման երթուղու տեղեկատվական նշանները պետք է ունենան ներքին լուսավորվածություն կամ լինեն լուսաանդրադարձնող:
44. Ուղղաթիռատախտակամածի համար պետք է ապահովվի խոչընդոտներից ազատ հատվածի մակնշումը, որն իրականացվում է վայրէջքի և պոկման գոտու մակնշման վրա և ունի վեցանկյան ձև՝ համաձայն Պայմանների նկար 13:
1) Ուղղաթիռատախտակամածի խոչընդոտներից ազատ հատվածի մակնշումը սահմանում է խոչընդոտներից ազատ հատվածի սկիզբը` երկշեղ (շևրոն) նշանի ձևով, հատվածի սահմանները և տվյալ ուղղաթիռատախտակամածի համար նախատեսված ուղղաթիռի առավելագույն չափը` պտտվող պտուտակների դեպքում (D):
2) Շևրոն նշանն իրականացվում է սև գույնի և դրա բարձրությունը հավասար է վայրէջքի և պոկման գոտու մակնշման գծանշանի լայնությանը` 10 սմ:
Գ լ ու խ VII
Ուղղաթիռադաշտի (ուղղաթիռահրապարակի) լուսազդանշանային համակարգերը եվ լուսարձակները
45. Ուղղաթիռադաշտի (ուղղաթիռահրապարակի) լուսազդանշանային համակարգերի, լուսարձակների և ոչ աերոնավիգացիոն լույսերի նկատմամբ կիրառվում են աերոդրոմի լուսազդանշանային համակարգերին, լուսարձակներին և ոչ աերոնավիգացիոն լույսերին ներկայացվող պահանջները` սահմանված Չիկագոյի կոնվենցիայի թիվ 14 «Աերոդրոմներ» Հավելվածով:
46. Օդաչուների ապակողմնորոշումը բացառելու նպատակով ուղղաթիռադաշտի (ուղղաթիռահրապարակի) համար անհրաժեշտ է սահմանել խիստ հսկողություն ոչ աերոնավիգացիոն լույսերի էկրանավորման նկատմամբ:
47. Ուղղաթիռադաշտը պետք է ապահովվի ուղղաթիռադաշտային փարոսով, եթե՝
ա. անհրաժեշտ է ուղղաթիռների տեսողական ուղղորդում որոշակի հեռավորությունից, որն այլ տեսողական միջոցներով չի ապահովվում կամ
բ. շրջակայքի լույսերի առկայությունը դժվարացնում է ուղղաթիռադաշտի ճանաչումը:
1) Փարոսը տեղադրվում է բարձունքի վրա ուղղաթիռադաշտում կամ նրա շրջակայքում այնպես, որպեսզի լինի տեսանելի բոլոր կողմերից և մոտ հեռավորության վրա չկուրացնի օդաչուներին:
2) Ուղղաթիռադաշտային փարոսը հանդիսանում է սպիտակ գույնի առկայծիչ լուսարձակ, հետևյալ առկայծման չափանիշներով`
ա. մեկ առկայծման տևողությունը` 0.5-2.0 մվ,
բ. առկայծումների խմբի տևողությունը` 0.8 վ, ընդհատումը` 1.2 վ չափով:
3) Ուղղաթիռադաշտային փարոսի լուսարձակի լույսի ուժի արժեքը, ըստ դրա բաշխման անկյունների, պետք է համապատասխանի հետևյալ աղյուսակում ներկայացված մեծություններին`
|
Լույսի բաշխման անկյունները |
Լույսի ուժը, կդ |
|
00 |
1700 |
|
1.50 |
2500 |
|
2.50 |
2500 |
|
40 |
1700 |
|
70 |
750 |
|
100 |
250 |
48. Ուղղաթիռադաշտի (ուղղաթիռահրապարակի) լուսազդանշանային համակարգը կազմվում է հետևյալ հիմնական ենթահամակարգերից`
ա. մոտեցման լույսեր,
բ. դեպի վայրէջքի հրապարակի շեմն ուղղորդող լույսեր,
գ. վայրէջքագծի ցուցանշման լույսեր,
դ. թռիչք-վայրէջքի վերջնական փուլի լույսեր,
ե. վայրէջքի ճշգրիտ կետ,
զ. վայրէջքի և պոկման գոտու լույսեր,
է. գետնավարման լույսեր,
ը. կառամատույցի և(կամ) կայանատեղերի լուսավորվածության և
թ. խոչընդոտների լուսավորվածության:
49. Մոտեցման լույսերի ենթահամակարգով պետք է ապահովված լինի այն ուղղաթիռադաշտը (ուղղաթիռահրապարակը), որտեղ գիշերային ժամերին նպատակահարմար և գործնականում հնարավոր է օդաչուներին ցուցանշել վայրէջքի ուղղությունը:
1) Մոտեցման լույսերը տեղադրվում են ուղիղ գծով` վայրէջքի նախընտրելի ուղղությամբ:
2) Մոտեցման լույսերի համակարգը պետք է կազմված լինի առնվազն երեք լուսարձակներից, որոնք տեղադրվում են մեկ շարքով, իրարից 30 մ հավասար հեռավորությունների վրա, ինչպես նաև վայրէջքի և թռիչքի վերջնական փուլի գոտու սահմաններից 90 մ հեռավորության վրա գտնվող, 18 մ լայնությամբ լուսային հորիզոնից՝ համաձայն Պայմանների նկար 14:
3) Լուսային հորիզոնը կազմվում է 5 լուսարձակներից, որոնք տեղադրվում են առանցքագծով տեղադրված լույսերին ուղղահայաց` իրարից 4.5 մ հավասար հեռավորությունների վրա:
4) Ելնելով շրջակա միջավայրի պայմաններից, վայրէջքի վերջնական փուլի հետագիծն առավել տեսանելի դարձնելու նպատակով առանցքագծով տեղադրված լույսերը լուսային հորիզոնից հետո ընկած հատվածում կարող են լրացվել հաստատուն ճառագայթման կամ «վազող» առկայծիչ լուսարձակներով, որոնք տեղադրվում են իրարից 30 մ հավասար հեռավորությունների վրա:
5) Ոչ ճշգրիտ վայրէջքի համար սարքավորված վայրէջքի և թռիչքի վերջնական փուլի գոտու մոտեցման լույսերի ենթահամակարգի ընդհանուր երկարությունը, հաշված գուտու սահմաններից, պետք է լինի առնվազն 210 մ:
6) Ենթահամակարգի հաստատուն ճառագայթման լուսարձակները հանդիսանում են բոլոր ուղղություններով սպիտակ լույս ճառագայթող լուսարձակներ, որոնց լույսի ուժի արժեքը (ինտենսիվությունը), ըստ դրա բաշխման անկյունների, պետք է համապատասխանի հետևյալ աղյուսակում ներակայացված մեծություններին`
|
Լույսի բաշխման անկյունները |
Լույսի ուժը (ինտենսիվությունը), կդ |
|
00 |
25 |
|
20 |
250 |
|
50 |
350 |
|
60 |
350 |
|
90 |
250 |
|
150 |
25 |
7) Եթե վայրէջքի և թռիչքի վերջնական փուլի գոտին շահագործվում է ոչ ճշգրիտ վայրէջքի համար, ապա սույն կետի «6» ենթակետով սահմանված լույսի ուժի արժեքները պետք է ավելացնել 3 անգամ:
8) Եթե մոտեցման լույսերի ենթահամակարգում նախատեսվում է օգտագործել առկայծիչ լույսեր, ապա դրանց առկայծման հաճախականությունը պետք է կազմի 1 առկայծում/1 վայրկյանում, իսկ լույսի ուժի արժեքը (ինտենսիվությունը), ըստ դրա բաշխման անկյունների, պետք է համապատասխանի հետևյալ աղյուսակում ներկայացված մեծություններին`
|
Լույսի բաշխման անկյունները |
Լույսի ուժը (ինտենսիվությունը), կդ |
|
00 |
25 |
|
20 |
2500 |
|
50 |
3500 |
|
60 |
3500 |
|
90 |
2500 |
|
150 |
250 |
9) Մոտեցման լույսերի ենթահամակարգի կարգավորման սխեման պետք է ապահովի լույսերի ինտենսիվության կառավարումը հետևյալ սահմաններում`
ա. հաստատուն ճառագայթման լույսերի համար - լույսի ուժի նոմինալ արժեքի 100, 30, և 10% չափով և
բ. առկայծիչ լույսերի համար - լույսի ուժի նոմինալ արժեքի 100, 10 և 3% չափով:
50. Դեպի վայրէջքի հրապարակի շեմն ուղղորդող լույսերի ենթահամակարգը նախատեսվում է այն դեպքերում, երբ`
ա. խոչընդոտների վրայով իրականացվող թռիչքների ընթացքում աղմուկի նվազեցման նպատակով կամ ելնելով օդային երթևեկման կանոններից պահանջվում է թռիչքների հստակ ուղղության ապահովում,
բ. ուղղաթիռադաշտի (ուղղաթիռահրապարակի) շրջակա միջավայրն ապահովված չէ վերգետնյա տեսողական կողմնորոշիչների բավարար քանակությամբ,
գ. անհնար է տեղադրել մոտեցման լույսերի ենթահամակարգ:
1) Դեպի վայրէջքի հրապարակի շեմն ուղղորդող լույսերի ենթահամակարգը տեղադրվում է այնպես, որպեսզի ապահովի ուղղաթիռի ուղղորդումը սահմանված գծով դեպի վայրէջքի և թռիչքի վերջնական փուլի գոտի, երկրորդ և երրորդ շրջադարձերի միջև ընկած հատվածի վերջնամասում:
2) Ենթահամակարգի լուսարձակները պետք է հնարավորության սահմաններում տեղադրվեն ցածր, դյուրաբեկ ամրանների վրա:
3) Եթե անհրաժեշտ է, որպեսզի ենթահամակարգի լուսարձակները երևան որպես լույսի առանձին աղբյուրներ, ապա դրանք տեղադրվում են այնպես, որպեսզի ենթահամակարգի առավելագույն ընդգրկման դեպքում օդաչուին տեսանելի երկու լույսերի միջև անկյունը կազմի առնվազն 3:
4) Դեպի վայրէջքի հրապարակի շեմն ուղղորդող լույսերի ենթահամակարգն ընդգրկում է «Աջ տեղաշարժ», «Հետագծի վրա» և «Ձախ տեղաշարժ» ազդանշաններն ապահովող երեք դիսկրետ ազդանշանի բաժիններ:
5) «Հետագծի վրա» ազդանշանի բաժանները և դրանց անկյունները պետք է համապատասխանեն Պայմանների նկար 15 ներկայացված արժեքներին:
6) Ենթահամակարգի լուսարձակների ազդանշանները պետք է լինեն այնպիսին, որպեսզի բացառվի դրանց շփոթումը վայրէջքագծի ցուցանշման ենթահամակարգի լուսարձակների ազդանշանների հետ և օդաչուի համար չառաջացնեն աշխատանքային ծանրաբեռնվածություն:
7) Դեպի վայրէջքի հրապարակի շեմն ուղղորդող լույսերի ենթահամակարգի աշխատանքային գոտին պետք է համապատասխանի վայրէջքագծի ցուցանշման ենթահամակարգի աշխատանքային գոտուն կամ լինի դրանից ավելի:
8) Եթե որպես վայրէջքի հրապարակ օգտագործվում է վազքուղի, ապա դեպի դրա շեմն ուղղորդող լույսերի ենթահամակարգը հորիզոնական հարթությունում վայրէջքի հետագծի նկատմամբ կարող է կարգավորվել ± 5, ճշտությամբ:
9) Դեպի վայրէջքի հրապարակի շեմն ուղղորդող լույսերի ենթահամակարգի լուսարձակների տեղադրման անկյունները պետք է լինեն այնպիսին, որպեսզի «Հետագծի վրա» ազդանշանի և վայրէջքի գոտու սահմաններում ուղղաթիռը գտնվի խոչընդոտներից կամ օբյեկտներից անվտանգ հեռավորության վրա:
10) Ուղղաթիռադաշտի (ուղղաթիռահրապարակի) լուսազդանշանային համակարգը պետք է ապահովի դեպի վայրէջքի հրապարակի շեմն ուղղորդող լույսերի ենթահամակարգի լուսարձակների ինտենսիվության կառավարումը և դրա ավտոմատ անջատումը որևիցէ լուսարձակի խափանման դեպքում` պատկերի աղավաղումը բացառելու նպատակով:
11) Ուղղաթիռադաշտ (ուղղաթիռահրապարակ) շահագործողի կողմից պետք է ապահովվի ենթահամակարգի աշխատունակությունն անկախ բնակլիմայական պայմաններից:
51. Անկախ սարքավորվածությունից կամ լուսազդանշանային համակարգի այլ ենթահամակարգերի առկայությունից, ուղղաթիռադաշտը (ուղղաթիռահրապարակը) պետք է ապահովված լինի վայրէջքագծի ցուցանշման տեսողական ենթահամակարգով, եթե առկա են հետևյալ պայմանները՝
ա. խոչընդոտների վրայով իրականացվող թռիչքների կանոնները, աղմուկի նվազեցման նպատակով միջոցառումները կամ վայրէջքի օդային երթևեկման սխեմաները պահանջում են թռիչքների իրականացում` վայրէջքի թեքության հստակ անկյան տակ,
բ. ուղղաթիռադաշտի (ուղղաթիռահրապարակի) շրջակա միջավայրն ապահովված չէ վերգետնյա տեսողական կողմնորոշիչների բավարար քանակությամբ,
գ. շահագործվող ուղղաթիռների թռիչքատեխնիկական բնութագրերը պահանջում են վայրէջքի իրականացում հաստատված ռեժիմում:
1) Ուղղաթիռադաշտերի (ուղղաթիռահրապարակների) համար կիրառվում են վայրէջքագծի ցուցանշման հետևյալ տեսողական ենթահամակարգերը՝
ա. PAPI (APAPI) ենթահամակարգ և
բ. HAPI ենթահամակարգ:
2) Վայրէջքագծի ցուցանշման տեսողական ենթահամակարգերը տեղադրվում են վայրէջքի ճշգրիտ կետի սահմաններում այնպես, որպեսզի բացառվի վայրէջքի վերջնական փուլում գտնվող ուղղաթիռի օդաչուի կուրացումը:
3) PAPI (APAPI) ենթահամակարգին ներկայացվող պահանջները սահմանվում են Չիկագոյի կոնվենցիայի թիվ 14 «Աերոդրոմներ» Հավելվածով, բացառությամբ «Վայրէջքագծի վրա» ազդանշանի գոտու անկյունից, որը պետք է ավելացվի մինչև 45:
4) HAPI ենթահամակարգը կազմված է չորս լուսարձակներից, որոնք ապահովում են վայրէջքի հետևյալ գոտիները` «Վայրէջքագծից բարձր», «Վայրէջքագծի վրա», «Վայրէջքագծից մի փոքր ցածր» և «Վայրէջքագծից ցածր»:
5) Ըստ սահմանված գոտիների HAPI ենթահամակարգը պետք է արձակի հետևյալ լուսային ազդանշանները`
ա. կանաչ գույնի առկայծիչ լույս, եթե ուղղաթիռը գտնվում է վայրէջքագծից բարձր,
բ. կանաչ գույնի հաստատուն ճառագայթման լույս, եթե ուղղաթիռը գտնվում է վայրէջքագծի վրա,
գ. կարմիր գույնի հաստատուն ճառագայթման լույս, եթե ուղղաթիռը գտնվում է վայրէջքագծից մի փոքր ցածր և
դ. կարմիր գույնի առկայծիչ լույս, եթե ուղղաթիռը գտնվում է վայրէջքագծից ցածր:
6) HAPI ենթահամակարգի առկայծիչ լույսերի հաճախականությունը պետք է կազմի առնվազն 2 Հց, իսկ «միացված/անջատված» ռեժիմների հարաբերությունը պետք է լինի 1:1 առնվազն 80 մոդուլման դեպքում:
7) «Վայրէջքագծի վրա» և «Վայրէջքագծից մի փոքր ցածր» գոտիների համար համապատասխանաբար սահմանվում են հետևյալ անկյունները` 45' և 15', իսկ դրանց լուսարձակների լույսի ուժի արժեքը (ինտենսիվությունը), ըստ դրանց բաշխման անկյունների, պետք է համապատասխանի հետևյալ աղյուսակում ներկայացված մեծություններին`
|
Գոտիները |
Լույսի բաշխման անկյունները |
Լույսի ուժը (ինտենսիվությունը), կդ |
|
|
30 |
9000 |
|
Վայրէջքագծի |
60 |
6375 |
|
վրա |
90 |
3750 |
|
(կանաչ գույն) |
120 |
1875 |
|
|
150 |
375 |
|
Վայրէջքագծից |
20 |
9000 |
|
40 |
6375 | |
|
60 |
3750 | |
|
80 |
1875 | |
|
100 |
375 |
8) Ուղղահայաց հարթությունում HAPI ենթահամակարգի մի գույնից մյուսին անցումը պետք է լինի այնպիսին, որ 300 մ քիչ հեռավորության վրա գտնվող դիտորդի համար անցման ուղղահայաց անկյունը լինի 3' ոչ ավելի:
9) Ենթահամակարգի լուսարձակների վրա տեղադրվող կանաչ և կարմիր լուսաֆիլտրերը պետք է ապահովեն լույսի թողունակության գործակիցը, որը լույսի առավելագույն ինտենսիվության դեպքում պետք է լինի ոչ քիչ 15%:
10) Ուղղաձիգ հարթությունում HAPI ենթահամակարգի տեղադրման անկյունը կարող է կարգավորվել 10-120 սահմաններում ± 5' ճշտությամբ այնպես, որ ապահովվի ուղղաթիռի անվտանգ հեռավորությունը խոչընդոտներից կամ օբյեկտներից, երբ այն գտնվում է «Վայրէջագծից ցածր» գոտում:
11) HAPI ենթահամակարգի կառավարման սխեման պետք է՝
ա. ապահովի ենթահամակարգի ավտոմատ անջատումը լուսարձակի ± 0.50(± 30') մեծությամբ ուղղաձիգ շեղման դեպքում,
բ. բացառի լուսարձակների ազդանշանումն առկայծման միջոցների խափանման դեպքում:
12) Ուղղաթիռադաշտ (ուղղաթիռահրապարակ) շահագործողի կողմից պետք է ապահովվի ենթահամակարգի աշխատունակությունն անկախ բնակլիմայական պայմաններից:
52. Ուղղաթիռադաշտի (ուղղաթիռահրապարակի) վայրէջքագծի ցուցանշման տեսողական PAPI (APAPI) և HAPI ենթահամակարգերի համար սահմանվում է խոչընդոտներից պաշտպանված հարթություն, որի գծապատկերը և երկրաչափական չափերը ներկայացված են Պայմանների նկար 16 և հետևյալ աղյուսակում`
|
Հարթության տարրերը, դրանց չափերը և թեքությունները |
Չսարքավորված FATO գոտի |
Սարքավորված FATO գոտի ոչ ճշգրիտ վայրէջքի համար |
|
Ներքին սահմանի երկարությունը |
Անվտանգության գոտու լայնությունը |
Անվտանգության գոտու լայնությունը |
|
Հեռավորությունը FATO գոտու սահմանից, մ |
առնվազն 3 |
60 |
|
Շեղվածությունը |
10% |
15% |
|
Ընդհանուր երկարությունը, մ |
2500 |
2500 |
|
Հարթության թեքություններն ըստ ենթահամակարգերի` |
|
|
|
ա. PAPI |
Aա-0.570 |
Aա-0.570 |
|
բ. HAPI |
Aբ-0.650 |
Aբ-0.650 |
|
գ. APAPI |
Aա-0.90 |
Aա-0.90 |
որտեղ`
ա. «ա»` սահմանված է Չիկագոյի կոնվենցիայի թիվ 14 «Աերոդրոմներ» Հավելվածով,
բ. «բ»` «Վայրէջքագծից ցածր» գոտու վերին սահմանի անկյունն է:
1) Նոր կառուցվող կամ վերակառուցվող օբյեկտների բարձրությունները չպետք է գերազանցեն վայրէջքագծի ցուցանշման տեսողական ենթահամակարգի խոչընդոտներից պաշտպանված հարթության սահմանները, բացառությամբ այն դեպքերի, եթե դրանք ստվերարկված են այլ օբյեկտներով:
2) Վայրէջքագծային համակարգերի խոչընդոտներից պաշտպանված հարթության սահմանները գերազանցող առկա խոչընդոտները ենթակա են վերացման, եթե դրանք ստվերարկված չեն այլ անշարժ օբյեկտներով և կարող են ազդել թռիչքների անվտանգության վրա:
3) Եթե ուսումնասիրությունների արդյունքում արձանագրվում է, որ խոչընդոտներից պաշտպանված հարթության սահմաններում առկա են օբյեկտներ, որոնք կարող են բացասաբար ազդել թռիչքերի անվտանգությանը՝
ա. համապատասխանաբար մեծացվում է վայրէջքագծի թեքության անկյունը,
բ. նվազեցվում է համակարգի ճառագայթի ճյուղավորման ազիմուտալ անկյունն այնպես, որպեսզի օբյեկտը գտնվի ճառագայթի տիրույթից դուրս,
գ. համակարգի առանցքը և խոչընդոտներից պաշտպանված հարթությունը շեղվում են 50 ոչ ավելի անկյան սահմաններում,
դ. համապատասխան ձևով շեղվում է վայրէջքի և թռիչքի վերջնական փուլի գոտին,
ե. տեղադրվում է դեպի վայրէջքի հրապարակի շեմն ուղղորդող լույսերի ենթահամակարգ:
53. Գիշերային ժամերին շահագործվող ուղղաթիռադաշտի վայրէջքի և թռիչքի վերջնական փուլի գոտին պետք է ապահովվի թռիչք-վայրէջքի վերջնական փուլի լույսերի ենթահամակարգով, բացառությամբ այն դեպքերի, երբ վայրէջքի և թռիչքի վերջնական փուլի գոտին ու վայրէջքի և գետնից պոկման գոտին համարյա համընկնում են կամ վայրէջքի և թռիչքի վերջնական փուլի գոտու երկարությունը կասկած չի հարուցում:
1) Թռիչք-վայրէջքի վերջնական փուլի լույսերի ենթահամակարգի լուսարձակները պետք է տեղադրվեն գոտու սահմանի երկայնքով հետևյալ հավասար հեռավորությունների վրա՝
ա. 50մ ոչ ավելի, եթե գոտին ունի քառակուսու կամ ուղղանկյան ձև (յուրաքանչյուր կողմում նվազագույնը չորս լուսարձակ` ներառյալ անկյուններում տեղադրվածները),
բ. 5 մ ոչ ավելի առնվազն 10 լուսարձակների դեպքում, եթե գոտին ունի ցանկացած այլ ձև, այդ թվում՝ շրջանի:
2) Ենթահամակարգի հաստատուն ճառագայթման լուսարձակները հանդիսանում են բոլոր ուղղություններով սպիտակ լույս ճառագայթող լուսարձակներ, որոնց լույսի ուժի արժեքը (ինտենսիվությունը), ըստ դրա բաշխման անկյունների, պետք է համապատասխանի հետևյալ աղյուսակում ներակայացված մեծություններին`
|
Լույսի բաշխման անկյունները |
Լույսի ուժը (ինտենսիվությունը), կդ |
|
00 |
10 |
|
30 |
100 |
|
100 |
100 |
|
200 |
100 |
|
250 |
50 |
|
300 |
10 |
3) Լուսարձակների ամրանները պետք է լինեն դյուրաբեկ և դրանց բարձրությունը գետնի կամ ձյան ծածկույթի մակարդակից չպետք է գերազանցի 25 սմ:
54. Եթե ուղղաթիռադաշտը (ուղղաթիռահրապարակը) մակնշված է ճշգրիտ վայրէջքի կետի գծանշանով և այն շահագործվում է գիշերային ժամերին, ապա գծանշանը լրացվում է վայրէջքի ճշգրիտ կետի լույսերով՝ համաձայն Պայմանների նկար 10:
1) Վայրէջքի ճշգրիտ կետի գիշերային մակնշման նպատակով օգտագործվում են հաստատուն ճառագայթման խորացված լուսարձակներ՝ բոլոր ուղղություններով սպիտակ լույս ճառագայթող, որոնց բնութագրերը պետք է համապատասխանեն Պայմանների 53-րդ կետի 2-րդ պարբերությամբ սահմանված մեծություններին:
55. Գիշերային ժամերին շահագործվող ուղղաթիռադաշտը (ուղղաթիռահրապարակը) պետք է ապահովվի վայրէջքի և պոկման գոտու լույսերի ենթահամակարգով:
1) Ուղղաթիռադաշտի վայրէջքի և պոկման գոտու լույսերի ենթահամակարգը պետք է կազմված լինի հետևյալ միջոցներից մեկով կամ մի քանիսով՝
ա. պարագծային լույսերից կամ
բ. լուսարձակներից կամ
գ. եթե սույն ենթակետի «ա» և «բ» պարբերություններում նշված միջոցները գործնականորեն աննպատակահարմար են և ուղղաթիռադաշտն ապահովված է թռիչք-վայրէջքի վերջնական փուլի լույսերի ենթահամակարգով, ապա որպես վայրէջքի և պոկման գոտու լույսեր կարող են օգտագործվել լույսի սեգմենտավորված կետային աղբյուրներ (ASPSL) կամ լյումինեսցենտային լուսարձակների խումբ (LP): Ուղղաթիռադաշտի համար ASPSL և(կամ) LP միջոցներն օգտագործվում են, եթե անհրաժեշտ է հստակեցնել վերգետնյա կողմնորոշիչները:
2) Ուղղաթիռահրապարակի կամ ուղղաթիռատախտակամածի վայրէջքի և պոկման գոտու լույսերի ենթահամակարգը պետք է կազմված լինի՝
ա. պարագծային լույսերից և
բ. սույն կետի «1» ենթակետի «գ» պարբերությունում նշված ASPSL և(կամ) LP լույսերից, վայրէջքի գոտու մակնշման համար և(կամ) լուսարձակներից` վայրէջքի և պոկման գոտու լուսավորման համար:
3) Վայրէջքի և պոկման գոտու պարագծային լույսերը տեղադրվում են վայրէջքի և պոկման գոտու եզրով կամ եզրից առավելագույնը 1.5մ հեռավորության վրա: Եթե վայրէջքի և պոկման գոտին իրենից ներկայացնում է շրջան, ապա լույսերը պետք է տեղադրվեն՝
ա. ուղիղ գծերի վրա այնպես, որպեսզի օդաչուն ապահովվի շեղման մեծության մասին տեղեկությունով և
բ. եթե նախորդ պարբերությունում սահմանված պահանջը կիրառելի չէ, ապա լույսերը պետք է տեղադրվեն վայրէջքի և պոկման գոտու պարագծով իրարից հավասար հեռավորությունների վրա, իսկ 450 հատվածում՝ նշված հեռավորությունների կեսի չափով:
4) Ուղղաթիռադաշտի և ուղղաթիռահրապարակի վայրէջքի և պոկման գոտու պարագծային լույսերը պետք է տեղադրվեն իրարից հավասար հեռավորությունների վրա` առավելագույնը համապատասխանաբար 3 մ և 5 մ վրա:
5) Եթե վայրէջքի և պոկման գոտին ունի ուղղանկյան ձև, ապա յուրաքնչյուր կողմի վրա պետք է տեղադրվի նվազագույնը 4 լուսարձակ (ներառյալ անկյուններինը), իսկ եթե շրջանի ձև` առնվազն 14 լուսարձակ:
6) Ուղղաթիռահրապարակի և ուղղաթիռատախտակամածի վայրէջքի և պոկման գոտու պարագծային լույսերը պետք է տեղադրվեն այնպես, որպեսզի դրանք տեսանելի չլինեն գոտուց ցածր գտնվող օդաչուի համար:
7) Եթե ուղղաթիռահրապարակի վայրէջքի և պոկման գոտու մակնշման համար նախատեսված են ASPSL և LP միջոցները, ապա դրանք տեղադրվում են վայրէջքի և պոկման գոտու սահմանը նշող մակնշման գծանշանի երկայնքով: Եթե վայրէջքի և պոկման գոտին ունի շրջանի ձև, ապա ASPSL և LP միջոցները պետք է տեղադրվեն նշված գոտու սահմանները նշող ուղիղ գծերով:
8) Ուղղաթիռադաշտում վայրէջքի և պոկման գոտու մակնշման համար օգտագործվող LP միջոցների նվազագույն քանակը պետք է լինի 9, ընդ որում, LP միջոցների ընդհանուր երկարությունը չպետք է գերազանցի նշված սխեմայի երկարության 50%-ը: Վայրէջքի և պոկման գոտու յուրաքանչյուր կողմում պետք է նախատեսել զույգ թվով LP միջոց, կազմված նվազագույնը 3 խմբից (ներառյալ անկյուններինը): LP միջոցները պետք է տեղադրվեն իրարից հավասար հեռավորությունների վրա 5 մ ոչ ավելի:
9) Ուղղաթիռահրապարակի կամ ուղղաթիռատախտակամածի LP միջոցները չպետք է տեղադրվեն պարագծային լույսերի կողքին: Դրանք պետք է տեղադրվեն վայրէջքի գոտու մակնշման երկայնքով:
10) Վայրէջքի և պոկման գոտու լույսերի ենթահամակարգը պետք է տեղադրվի այնպես, որպեսզի բացառվի լուսարձակների փայլատակումները և ստվերարկումները:
11) Վայրէջքի և պոկման գոտու պարագծային լույսերը պետք է լինեն բոլոր ուղղություններով մշտական ճառագայթման կանաչ գույնի լույսեր:
12) Ուղղաթիռադաշտի վայրէջքի և պոկման գոտու պարագիծը նշելու համար ASPSL և LP միջոցների լույսերը պետք է արձակեն կանաչ լույս:
13) LP միջոցի նվազագույն լայնությունը պետք է լինի 6 սմ, իսկ բարձրությունը՝ ոչ ավելի, 2.5 սմ և ամրանի գույնը պետք է համապատասխանի մակնշման գույնին:
14) Վայրէջքի և պոկման գոտու պարագծային լույսերի բարձրությունը չպետք է գերազանցի 25 սմ: Ելնելով անվտանգության ապահովման անհրաժեշտությունից կարող են օգտագործվել խորացված լույսեր:
15) Վայրէջքի և պոկման գոտու պարագծային և LP միջոցների լույսերի լույսի ուժի արժեքը (ինտենսիվությունը), ըստ դրա բաշխման անկյունների, պետք է համապատասխանի հետևյալ աղյուսակում ներկայացված մեծություններին`
|
Լույսի բաշխման անկյունները |
Լույսի ուժը (ինտենսիվությունը), կդ | ||
|
Պարագծային |
LP |
Պարագծային |
LP |
|
00 |
00 |
3 կդ |
5 կդ/մ2 |
|
50 |
100 |
15 կդ |
15 կդ/մ2 |
|
100 |
200 |
25 կդ |
30 կդ/մ2 |
|
200 |
300 |
25 կդ |
45 կդ/մ2 |
|
250 |
400 |
15 կդ |
50 կդ/մ2 |
|
300 |
600 |
3 կդ |
55 կդ/մ2 |
|
- |
900 |
- |
55 կդ/մ2 |
16) Վայրէջքի և պոկման գոտու լուսարձակների բարձրությունը չպետք է գերազանցի 25 սմ, եթե դրանք տեղադրված են ուղղաթիռադաշտի (ուղղաթիռահրապարակի) անվտանգության գոտում կամ ուղղաթիռատախտակամածի խոչընդոտներց ազատ հատվածում:
17) Վայրէջքի և պոկման գոտու լուսարձակների լուսապատկերային բնութագրերի բաշխումը պետք է ընտրվի այնպես, որպեսզի ապահովվի մակերևույթի և արգելքի մակնշումների ճիշտ ճանաչումը:
18) Վայրէջքի և պոկման գոտու հորիզոնական լուսավորվածության միջին մակարդակը պետք է լինի առնվազն 10 լյուքս, միջին և նվազագույն արժեքների հարաբերության 8:1 ոչ ավելի լուսավորվածության հավասարաչափության գործակցի դեպքում:
19) Վայրէջքի գոտու մակնշման համար օգտագործվող լույսերը պետք է իրենցից ներկայացնեն բոլոր ուղղություններով դեղին լույս ճառագայթող լուսարձակներ:
20) Եթե ուղղաթիռադաշտում (ուղղաթիռահրապարակում) օգտագործվում են ուղղաթիռային ճանաչողական մակնշման լույսեր, ապա դրանք պետք է լինեն բոլոր ուղղություններով կանաչ լույս ճառագայթող լուսարձակներ:
56. Եթե ուղղաթիռադաշտը (ուղղաթիռահրապարակը) շահագործվում է գիշերային ժամերին, ապա այն պետք է ապահովվի կառամատույցի և(կամ) կայանատեղերի լուսավորվածության ենթահամակարգով:
1) Կառամատույցի և(կամ) կայանատեղերի լուսավորվածության ենթահամակարգի լուսարձակները պետք է տեղադրվեն այնպես, որպեսզի բացառվի լուսարձակների փայլատակումներն ու ստվերարկումները և ապահովվի մակերևույթի ու խոչընդոտների մակնշումների ճիշտ ճանաչումը:
2) Ուղղաթիռադաշտի (ուղղաթիռահրապարակի) կառամատույցի և(կամ) կայանատեղերի հորիզոնական լուսավորվածության միջին մակարդակը պետք է լինի առնվազն 10 լյուքս:
57. Ուղղաթիռների վերգետնյա գետնավարման համար նախատեսված ղեկուղիների լուսազդանշանային ենթահամակարգի նկատմամբ սահմանվում և կիրառվում են աերոդրոմների ղեկուղիների լուսազդանշանային ենթահամակարգի համար ներկայացվող պահանջները՝ համաձայն Չիկագոյի կոնվենցիայի թիվ 14 «Աերոդրոմներ» Հավելվածի:
58. Ուղղաթիռադաշտի (ուղղաթիռահրապարակի) շրջանում գտնվող խոչընդոտների գիշերային մակնշման նկատմամբ սահմանվում և կիրառվում են աերոդրոմների խոչընդոտների գիշերային մակնշմանը ներկայացվող պահանջները՝ համաձայն Չիկագոյի կոնվենցիայի թիվ 14 «Աերոդրոմներ» Հավելվածի: Եթե ուղղաթիռադաշտի (ուղղաթիռահրապարակի) խոչընդոտների արգելափակիչ լույսերով մակնշումն անհնար է, ապա պետք է ապահովվի խոչընդոտների լուսարձակային լուսավորումը, ընդ որում, դրանք պետք լուսավորվեն ամբողջությամբ, առնվազն 10կդ/մ2 լուսավորվածությամբ` բացառելով օդաչուների կուրացումը:
Գ լ ու խ VIII
Ուղղաթիռադաշտի եվ (կամ) ուղղաթիռահրապարակի վթարափրկարարական, հակահրդեհային եվ ավիացիոն անվտանգության միջոցառումների ապահովումը
59. Գլխի դրույթները տարածվում են միայն ուղղաթիռադաշտերի և ուղղաթիռահրապարակների վրա:
60. Ուղղաթիռադաշտը (ուղղաթիռահրապարակը) շահագործողի կողմից պետք է մշակվի և հաստատվի վթարափրկարարական և հակահրդեհային անվտանգության միջոցառումների ծրագիր (այսուհետև՝ Ծրագիր)՝ ելնելով ուղղաթիռադաշտի (ուղղաթիռահրապարակի) կարգախմբից, որը որոշվում է շահագործվող ուղղաթիռների գաբարիտային չափսերից (ուղղաթիռի երկարությունը, որի մեջ ընդգրկված են պոչամասը և տանող պտուտակները), համաձայն հետևյալ աղյուսակի`
|
Կարգախումբը |
Ուղղաթիռի երկարությունը |
|
H1 |
մինչև 15 մ, բացառելով 15 մ |
|
H2 |
15-24 մ, բացառելով 24 մ |
|
H3 |
24-35 մ, բացառելով 35 մ |
և ավիացիոն անվտանգության ծրագիր:
1) Եթե որոշ ժամանակահատվածի համար ակնկալվում է ավելի փոքր երկարությամբ ուղղաթիռների շահագործում, ապա ուղղաթիռադաշտի (ուղղաթիռահրապարակի) կարգախումբը կարող է նվազեցվել:
61. Ծրագրում պետք է ներկայացվեն՝
ա. վթարային իրավիճակները, որոնց համար մշակված է ծրագիրը,
բ. Ծրագրում ընդգրկված իրազեկ մարմինները և յուրաքանչյուրի պարտավորություններն ու պատասխանատվությունները,
գ. վթարային օպերատիվ կենտրոնը և շարժական հրամանատարական կետը,
դ. այն աշխատակիցների տվյալները (ազգանուն, հեռախոսահամար), որոնց հետ վթարային իրավիճակների առաջացման դեպքում պետք է կապ հաստատվի,
ե. կոորդինացիոն ցանցով գծանշված ուղղաթիռադաշտի և դրա շրջանի քարտեզը:
1) Ծրագրում պետք է նախատեսվեն պարբերական ուսումնավարժական միջոցառումներ:
62. Ուղղաթիռադաշտում (ուղղաթիռահրապարակում) որպես հիմնական հրդեհաշիջման նյութ օգտագործվում է B որակի նվազագույն բնութագրերին համապատասխանող փրփուրը:
63. Ուղղաթիռադաշտի հակահրդեհային անվտանգության ապահովման կարգախմբին համապատասխան փրփրագոյացման և լրացուցիչ հրդեհաշիջման նյութերի համար անհրաժեշտ ջրի քանակությունները և փրփուրի տեսակարար ծախսը ներկայացված են հետևյալ աղյուսակում`
|
Ուղղաթիռադաշտի |
«B» որակի փրփուր |
Լրացուցիչ նյութեր | |||
|
Ջուր, լ |
Փրփուրի ծախսը, լ/ր |
Չոր, կգ |
Գալոն, կգ |
CO2, կգ | |
|
H1 |
500 |
250 |
23 |
23 |
45 |
|
H2 |
1000 |
500 |
45 |
45 |
90 |
|
H3 |
1600 |
800 |
90 |
90 |
180 |
2) Ուղղաթիռադաշտի համար սահմանված ջրի ամբողջ քանակության կամ դրա որոշակի մասի փոխարեն կարող են օգտագործվել լրացուցիչ նյութեր:
64. Ուղղաթիռահրապարակի հակահրդեհային անվտանգության ապահովման կարգախմբին համապատասխան փրփրագոյացման և լրացուցիչ հրդեհաշիջման նյութերի համար անհրաժեշտ ջրի քանակությունները և փրփուրի տեսակարար ծախսը ներկայացված են հետևյալ աղյուսակում`
|
Ուղղաթիռահրապարակի |
«B» որակի փրփուր |
Լրացուցիչ նյութեր | |||
|
Ջուր, լ |
Փրփուրի ծախսը, լ/ր |
Չոր, կգ |
Գալոն, կգ |
CO2, կգ | |
|
H1 |
2500 |
250 |
45 |
45 |
90 |
|
H2 |
5000 |
500 |
45 |
45 |
90 |
|
H3 |
8000 |
800 |
45 |
45 |
90 |
1) Ուղղաթիռահրապարակում անհրաժեշտ է նախատեսել առնվազն մեկ հրշեջ ճկափող, որը ճնշման տակ կարող է ապահովել փրփուրի փոշիացումը 250լ/րոպե տեսակարար ծախսով:
2) H1 և H2 կարգախմբի ուղղաթիռահրապարակները պետք է ապահովված լինեն առնվազն երկու ջրանետիչներով, որոնցից յուրաքանչյուրը կարող է ապահովել փրփուրի անհրաժեշտ տեսակարար ծախսը: Դրանք պետք է տեղադվեն ուղղաթիռահրապարակի շուրջն այնպես, որպեսզի`
ա. երաշխավորվի փրփուրի մատուցումն ուղղաթիռահրապարակի բոլոր հատվածներում. ցանկացած բնակլիմայական պայմաններում և
բ. նվազագույնին հասցվի ջրանետիչների միաժամանակ խափանումը ուղղաթիռահրապարակում տեղի ունեցած պատահարի կամ միջադեպի հետևանքով:
3) Ուղղաթիռահրապարակում վթարափրկարարական սարքավորումները պետք է գտնվեն ուղղաթիռահրապարակին մոտ:
65. Ուղղաթիռադաշտում հրշեջ-փրկարարական հաշվարկները պետք է ապահովված լինեն վթարափրկարարական կայանով, որը տեղադրվում է այնպես, որ ուղղաթիռադաշտը լինի առավելագույն չափով տեսանելի և հրշեջ-փրկարարական հաշվարկների բացազատման ժամանակը եղանակի բարենպաստ պայմաններում (չոր, բավարար տեսանելիություն) չգերազանցի 2 րոպեն:
1) Պայմանների իմաստով բացազատման ժամանակ է համարվում առաջին կանչի պահից մինչև այն պահը, երբ հաշվարկի կողմից արդեն իսկ օգտագործվել է փրփուրի սահմանված ծախսի առնվազն 50%-ը:
66. Թռիչքների իրականացման ընթացքում հրշեջ-փրկարարական հաշվարկները պետք է գտնվեն ուղղաթիռահրապարակում կամ դրա սահմաններին մոտ:
67. Ուղղաթիռադաշտը (ուղղաթիռահրապարակը) շահագործողի կողմից ավիացիոն անվտանգության ծրագրում պետք է ներկայացվեն միջոցառումներ՝
ա. ուղևորների և ուղեբեռների զննումը կազմակերպելու վերաբերյալ՝ ապահովելով 2004 թվականի մայիսի 27-ի ՀՀ կառավարության թիվ 944-Ն որոշմամբ հաստատված «ՀՀ օդանավակայաններում ավիացիոն անվտանգության հսկողության կազմակերպման և իրականացման կարգի» դրույթները,
բ. ուղղված ուղղաթիռադաշտի (ուղղաթիռահրապարակի) պահպանությանը: