«Վավերացնում եմ»
Հայաստանի Հանրապետության
Նախագահ Ռ. Քոչարյան
27 ապրիլի 2007 թ.
ՀԱՅԱՍՏԱՆԻ ՀԱՆՐԱՊԵՏՈՒԹՅԱՆ ԿԱՌԱՎԱՐՈՒԹՅՈՒՆ
Ո Ր Ո Շ ՈՒ Մ
21 դեկտեմբերի 2006 թվականի N 1943-Ն
«ԷԼԵԿՏՐԱՏԵՂԱԿԱՅԱՆՔՆԵՐԻ ՍԱՐՔՎԱԾՔԻՆ ՆԵՐԿԱՅԱՑՎՈՂ ԸՆԴՀԱՆՈՒՐ ՊԱՀԱՆՋՆԵՐ» ՏԵԽՆԻԿԱԿԱՆ ԿԱՆՈՆԱԿԱՐԳԸ ՀԱՍՏԱՏԵԼՈՒ ՄԱՍԻՆ
«Ստանդարտացման մասին» Հայաստանի Հանրապետության օրենքի 8-րդ հոդվածի դրույթի կատարումն ապահովելու նպատակով, ինչպես նաև հաշվի առնելով էլեկտրատեղակայանքների սարքվածքների նախագծման, պատրաստման, կառուցման և շահագործման ժամանակ մարդու կյանքին և առողջությանը, ֆիզիկական և իրավաբանական անձանց ու պետական գույքին, շրջակա միջավայրին վնաս պատճառելու ռիսկի աստիճանը` Հայաստանի Հանրապետության կառավարությունը որոշում է.
1. Հաստատել «Էլեկտրատեղակայանքների սարքվածքին ներկայացվող ընդհանուր պահանջներ» տեխնիկական կանոնակարգը` համաձայն հավելվածի։
2. Սույն որոշումն ուժի մեջ է մտնում պաշտոնական հրապարակման օրվանից վեց ամիս հետո։
|
Հայաստանի Հանրապետության |
Ս. Սարգսյան |
|
|
|
Հավելված |
Տ Ե Խ Ն Ի Կ Ա Կ Ա Ն Կ Ա Ն Ո Ն Ա Կ Ա Ր Գ
«ԷԼԵԿՏՐԱՏԵՂԱԿԱՅԱՆՔՆԵՐԻ ՍԱՐՔՎԱԾՔԻՆ ՆԵՐԿԱՅԱՑՎՈՂ ԸՆԴՀԱՆՈՒՐ ՊԱՀԱՆՋՆԵՐ»
I. ԸՆԴՀԱՆՈՒՐ ԴՐՈՒՅԹՆԵՐ
1. ԿԻՐԱՌՄԱՆ ՈԼՈՐՏԸ
1) «Էլեկտրատեղակայանքների սարքվածքին ներկայացվող ընդհանուր պահանջներ» տեխնիկական կանոնակարգը (այսուհետև` ՏԿ) տարածվում է մինչև 500 կՎ լարման նոր կառուցվող և վերակառուցվող (վերակառուցվող էլեկտրատեղակայանքների նկատմամբ սույն ՏԿ-ի պահանջները տարածվում են միայն էլեկտրատեղակայանքների վերակառուցվող մասի վրա) հաստատուն և փոփոխական հոսանքի էլեկտրատեղակայանքների վրա, այդ թվում` հատուկ կայանքների էլեկտրասարքվածքների վրա, այն չափով, որ չափով դրանք ըստ կատարման և աշխատանքի պայմանների համանման են սույն ՏԿ-ում հիշատակված էլեկտրատեղակայանքներին: Մնացած դեպքերում հատուկ էլեկտրատեղակայանքների կառուցվածքը պետք է կանոնակարգվի այլ տեխնիկական կանոնակարգերով:
2) Սույն ՏԿ-ի պահանջները կարող են կիրառվել նաև գործող էլեկտրատեղակայանքի համար, եթե արդյունքում բարձրանան էլեկտրատեղակայանքի հուսալիության և անվտանգության ցուցանիշները:
3) Սույն ՏԿ-ում այս կամ այն տեխնիկական լուծման առաջնայնությունն ընդգծելու համար կիրառվում է «որպես կանոն» արտահայտությունը, որը նշանակում է, որ տվյալ պահանջը գերիշխող է, իսկ դրանից շեղումը պետք է հիմնավորվի, «Թույլատրվում է» արտահայտությունը, որը նշանակում է, որ տվյալ որոշումը կիրառվում է բացառության կարգով` հարկադրաբար (դժվարին պայմանների, անհրաժեշտ սարքվածքի, նյութերի և այլն) սահմանափակ պաշարների հետևանքով, «Կարող է» արտահայտությունը նշանակում է, որ տվյալ լուծումն օրինաչափ է, իրատեսական:
4) ՏԿ-ում ընդունված «առնվազն» կամ «ոչ պակաս» նշումով մեծությունների նորմավորվող արժեքները նվազագույններն են, իսկ «ոչ ավելի» նշումովը` առավելագույնները:
5) Սույն ՏԿ-ում տրված «-ից» վերջավորությամբ և «մինչև» բառով ուղեկցվող մեծությունների բոլոր արժեքները պետք է հասկանալ «ներառյալ»:
6) Սույն ՏԿ-ի պահանջները տարածվում են «Արտադրանքի դասակարգում ըստ գործունեության տեսակների դասակարգչի. ՀԴ 006.3-2004 դասակարգչով նախատեսված:
|
29.71.90.000 |
Ծառայություններ էլեկտրական կենցաղային սարքերի տեղակայման, նորոգման և տեխնիկական սպասարկման |
|
45.31.41.400 |
Ծառայություններ էլեկտրահաղորդման գծերի ամպրոպապաշտպանիչ ճոպանների կախման |
|
45.31.41.600 |
Ծառայություններ էլեկտրահաղորդման գծերի հաղորդալարերի գցման |
|
45.31.41.300 |
Ծառայություններ էլեկտրահաղորդման գծերի հաղորդալարերի կախման |
|
31.10.92.000 |
Ծառայություններ էլեկտրաշարժիչների, գեներատորների և տրանսֆորմատորների նորոգման, տեխնիկական սպասարկման և փաթաթման |
|
31.10.91.000 |
Ծառայություններ էլեկտրաշարժիչների, գեներատորների և տրանսֆորմատորների տեղակայման |
|
45.34.22.000 |
Ծառայություններ էլեկտրատեղակայման աշխատանքների անցկացման, այլ, չներառված այլ խմբավորումներում |
|
31.20.92.000 |
Ծառայություններ էլեկտրաբաշխիչ և կարգավորող սարքերի նորոգման և տեխնիկական սպասարկման |
|
31.20.91.000 |
Ծառայություններ էլեկտրաբաշխիչ և կարգավորող սարքերի տեղակայման |
2. ՀԱՍԿԱՑՈՒԹՅՈՒՆՆԵՐԸ ԵՎ ՀԱՊԱՎՈՒՄՆԵՐԸ
Սույն տեխնիկական կանոնակարգում կիրառվում են հետևյալ հասկացությունները`
1) Աղտոտման աստիճանը (ԱԱ) ցուցանիշ` որը հաշվի է առնում մթնոլորտի աղտոտվածության ազդեցությունն էլեկտրատեղակայանքների էլեկտրական ամրության իջեցման վրա:
2) Աղտոտման աստիճաների քարտեզը (ԱԱՔ)` աշխարհագրական քարտեզ է, որը շրջանցում է տարածքն ըստ ԱԱ-ի:
3) Անկախ սնման աղբյուր` սնման աղբյուր, որի վրա լարումը կանոնակարգված սահմաններում պահպանվում է հետվթարային ռեժիմում, երբ այն անհետանում է սնման այլ աղբյուրների վրայից:
Անկախ սնման աղբյուրների թվին են պատկանում մեկ կամ երկու էլեկտրակայանների և ենթակայանների հաղորդաձողերի երկու համակարգերը կամ հատվածամասերը` հետևյալ երկու պայմանների միաժամանակյա պահպանմամբ.
ա) հաղորդաձողերի համակարգերից կամ հատվածամասերից յուրաքանչյուրն իր հերթին ունի սնում անկախ սնման աղբյուրից,
բ) հաղորդաձողերի հատվածամասերը (համակարգերը) միմյանց հետ կապված չեն կամ ունեն կապ, որն ինքնավար կերպով անջատվում է, երբ դրանցից որևէ մեկի բնականոն աշխատանքը խախտվում է:
4) Անհամասեռ կառուցվածքով հողի համարժեք տեսակարար դիմադրություն` համասեռ կառուցվածքով հողի դիմադրություն, որի մեջ հողակցող սարքվածքի դիմադրությունն ունի նույն արժեքը, ինչ որ անհամասեռ կառուցվածքով հողում:
Տեսակարար դիմադրություն տերմինը, որն օգտագործվում է անհամասեռ կառուցվածքով հողի համար, պետք է հասկանալ որպես համարժեք տեսակարար դիմադրություն:
5) Անվտանգ բաժանարար տրանսֆորմատոր` տրանսֆորմատոր, որը նախորոշված է շղթաները գերցածր լարումով սնելու համար:
6) Անուղղակի հպում` մարդկանց կամ կենդանիների հպումն էլեկտրական լարման տակ գտնվող բաց հոսանատար մասերին, որոնք կարող են գտնվել լարման տակ վնասված մեկուսացման դեպքում:
7) Աշխատանքային (գործառնական) հողակցում` էլեկտրատեղակայանքի հոսանատար մասի կետի կամ կետերի հողակցումը, որն իրագործվում է էլեկտրատեղակայանքի աշխատանքն ապահովելու համար (ոչ էլեկտրաանվտանգության նպատակով):
8) Ապարատներ` լարման բոլոր դասերի ուժային անջատիչները` խզիչներ, բաժանիչներ, կարճմիակցիչներ, ապահովիչներ, պարպիչներ, հոսանասահմանափակիչ ռեակտորներ, կոնդենսատորներ, էկրանավորված լրակազմ հոսանահաղորդիչներ:
9) Արդյունաբերական հաճախականության փորձարկման լարում` 50 Հց հաճախականության գործնականորեն սինուսարդային փոփոխական լարման գործող արժեք, որին ժամանակի ընթացքում պետք է դիմակայի էլեկտրասարքվածքի ներքին և արտաքին մեկուսացումը` փորձարկման որոշակի պայմաններում:
10) Արդյունավետ հողակցված չեզոքով էլեկտրական ցանց` 1 կՎ-ից բարձր լարման եռաֆազ էլեկտրական ցանցը, որում հողակցման գործակիցը չի գերազանցում 1,4-ը: Եռաֆազ էլեկտրական ցանցի հողակցման գործակիցն է չվնասված ֆազի և հողի միջև` մյուս ֆազի կամ մյուս երկու ֆազերի հողակցման կետում, պոտենցիալների տարբերության հարաբերությունը նույն կետում` ֆազի և հողի միջև, մինչև հողակցումը եղած պոտենցիալների տարբերությանը:
11) Արհեստական հողակցիչ` հատուկ հողակցման նպատակով պատրաստված հողակցիչ:
12) Բաժանարար տրանսֆորմատոր` տրանսֆորմատոր, որի առաջնային փաթույթը երկրորդային փաթույթներից բաժանված է շղթաների պաշտպանական էլեկտրական բաժանման (զատման) միջոցով:
13) Բաց կամ արտաքին էլեկտրատեղակայանքներ` մթնոլորտային ազդեցություններից շենքով չպաշտպանված էլեկտրատեղակայանքները:
Էլեկտրատեղակայանքները, որոնք պաշտպանված են միայն ծածկարաններով, ցանցկեն պարիսպներով և այլն, դիտվում են որպես արտաքին:
14) Բաց հաղորդիչ մաս` էլեկտրատեղակայանքի հաղորդիչ մաս, որը մատչելի է հպման համար, բնականում չի գտնվում լարման տակ, բայց կարող է գտնվել` հիմնական մեկուսացման վնասվելու դեպքում:
15) Բացառիկ թաց սենքեր` կոչվում են այն սենքերը, որոնցում օդի հարաբերական խոնավությունը մոտ է 100%-ին (առաստաղը, պատերը, հատակը և շինությունում գտնվող առարկաները խոնավ են):
16) Բնական հողակցիչ` կողմնակի հաղորդիչ մաս, որն անմիջապես կամ հողակցման նպատակով օգտագործվող միջանկյալ հաղորդիչ միջավայրով գտնվում է հողի հետ էլեկտրական հպման մեջ:
17) Բնականոն մեկուսացումով էլեկտրասարքվածք` էլեկտրասարքվածք, որը նախատեսված է մթնոլորտային գերլարումների ազդեցությանը ենթարկվող էլեկտրատեղակայանքներում կիրառելու համար, ամպրոպապաշտպան սովորական միջոցառումների դեպքում:
18) Բնականոն ռեժիմ` սպառողի էլեկտրական էներգիայի այն ռեժիմը, որի դեպքում ապահովվում են դրա աշխատանքի առաջադրված հարաչափերը:
19) Գերցածր (փոքր) լարում` (ԳՑԼ) լարում, որը չի գերազանցում փոփոխական հոսանքի 50 Վ-ը և հաստատունի 120 Վ-ը:
20) Գլխավոր հողակցող հաղորդաձող` հաղորդաձող, որը 1 կՎ-ից ցածր էլեկտրասարքվածքի և հողակցող սարքվածքի մասն է և նախատեսված է մի քանի հաղորդիչների միացման համար` հողակցման և պոտենցիալների հավասարեցման նպատակով:
21) Զրոյական աշխատանքային (չեզոք) հաղորդիչ (Ն)` կոչվում է հաղորդիչ 1 կՎ-ից ցածր էլեկտրատեղակայանքներում, որը նախատեսված է էլեկտրաընդունիչների սնման համար և միացված է եռաֆազ հոսանքի ցանցում` գեներատորի կամ տրանսֆորմատորի խուլ հողակցված չեզոքի հետ, միաֆազ հոսանքի աղբյուրի խուլ հողակցված արտանցիչի հետ, հաստատուն հոսանքի ցանցերում` աղբյուրի խուլ հողակցված կետի հետ:
22) Զրոյական պաշտպանական հաղորդիչ (ՊԵ)` 1 կՎ-ից ցածր էլեկտրատեղակայանքներում պաշտպանական հաղորդիչ, որը նախատեսված է բաց հաղորդիչ մասերը սնման աղբյուրի խուլ հողակցված չեզոքին միացնելու համար:
23) Զրոյական պոտենցիալի գոտի (հարաբերական գոտի)` գետնի մասը, որը գտնվում է որևէ հողակցիչի ազդեցության գոտուց դուրս և, որի էլեկտրական պոտենցիալն ընդունվում է հավասար զրոյի:
24) Էլեկտրաէներգիայի սնման ինքնավար շարժական աղբյուր` աղբյուր, որը հնարավորություն է տալիս սպառողների էլեկտրասնումն իրագործել էլեկտրաէներգիայի մնայուն աղբյուրներից (էներգահամակարգից) անկախ:
25) Էլեկտրական էներգիայի ընդունիչ (էլեկտրաընդունիչ)` սարքվածք, որում էլեկտրական էներգիան կերպափոխվում է օգտագործման համար անհրաժեշտ այլ տեսակի էներգիայի:
26) Էլեկտրական հոսանքով մարդկանց վնասվելու վտանգավորություն` վտանգավորության տեսանկյունից տարբերում են`
ա) ոչ բարձրավտանգ սենքեր, որոնցում բացակայում են բարձր կամ հատուկ վտանգ ստեղծող («բ» և «գ» ենթակետերը) պայմանները,
բ) բարձրավտանգ սենքեր, որոնց համար բնորոշ է բարձր վտանգ ստեղծող խոնավության կամ հոսանահաղորդ փոշու կամ հոսանահաղորդ հատակի (մետաղյա, հողե, երկաթբետոնե, աղյուսե և այլն) կամ բարձր ջերմաստիճանի առկայությունը,
հողի հետ միացում ունեցող շենքերի մետաղակառուցվածքներին, տեխնոլոգիական սարքերին, մեխանիզմներին և այլն` մի կողմից, և էլեկտրասարքվածքի մետաղյա հենամարմիններին` մյուս կողմից, մարդու միաժամանակ հպվելու հնարավորության,
գ) բացառիկ վտանգավոր սենքեր, որոնց համար բնորոշ է բացառիկ վտանգ ստեղծող բացառիկ խոնավության կամ քիմիապես ակտիվ կամ օրգանական միջավայրի` բարձր վտանգավորության (բ) միաժամանակ երկու և ավելի պայմանների առկայությունը,
դ) բաց էլեկտրատեղակայանքների տեղաբաշխման տարածքներ` էլեկտրական հոսանքով մարդկանց վնասվելու վտանգի տեսանկյունից, այդ տարածքները հավասարեցվում են բացառիկ վտանգավոր սենքերին:
27) Էլեկտրական ցանց` էլեկտրական էներգիա սպառող շրջանի, բնակավայրի տարածքներում տեղաբաշխված ենթակայանների, բաշխիչ սարքերի և դրանք միմյանց միացնող էլեկտրական գծերի միասնություն:
28) Էլեկտրամատակարարման համակարգ` տարածքի, բնակավայրի, կազմակերպության էլեկտրամատակարարում իրականացնող էներգատեղակայանքների փոխկապակցված համախմբություն:
29) Էլեկտրամատակարարում` սպառողներին էլեկտրական էներգիայով ապահովում:
30) Էլեկտրասարքվածքի լարման դաս` էլեկտրատեղակայանքի անվանական լարում, որում աշխատելու համար նախատեսված է տվյալ էլեկտրասարքվածքը:
31) Էլեկտրատեղակայանք` մեքենաների, սարքերի, գծերի և օժանդակ սարքավորումների (այն կառույցների ու շենքերի հետ միասին, որոնցում դրանք տեղադրված են) համախումբ, որը նախատեսված է էլեկտրական էներգիայի արտադրության, կերպափոխման, տրանսֆորմացիայի, հաղորդման, բաշխման և այն էներգիայի այլ տեսակների կերպափոխման համար:
32) Էլեկտրասենքեր` սենքեր կամ շենքի պարսպապատված մասեր (օրինակ` ցանցով), որոնցում տեղակայված են էլեկտրասարքվածքներ, որոնք մատչելի են միայն որակավորում ունեցող սպասարկող անձնակազմին:
33) Էներգահամակարգի էլեկտրական մաս` էներգահամակարգի օբյեկտների էլեկտրական սարքավորումների համախմբություն:
34) Էներգետիկական համակարգ (էներգահամակարգ)` միմյանց հետ ընդհանուր աշխատանքային ռեժիմով կապված և միասնական կառավարմամբ էլեկտրակայանների, էլեկտրական և ջերմային ցանցերի համախմբություն, որը նախատեսված է էլեկտրական և ջերմային էներգիայի չընդհատվող արտադրության, էներգիայի բաշխման ու կերպափոխման համար:
35) Լարում հողակցող սարքվածքի վրա` լարում, որն առաջանում է հողակցիչից դեպի հողը, հոսանքը հոսելու ժամանակ դեպի հողակցող սարքվածք հոսանքի ներանցման կետի և զրոյական պոտենցիալի գոտու միջև:
36) Լրացուցիչ մեկուսացում` 1 կՎ-ից ցածր էլեկտրատեղակայանքներում անկախ մեկուսացում, որը հիմնական մեկուսացմանը լրացուցիչ իրագործվում է պաշտպանության համար անուղղակի հպման դեպքում:
37) Խոնավ սենքեր` սենքեր, որոնցում հարաբերական խոնավությունը մեծ է 60%-ից, բայց չի գերազանցում 75%-ը (75%-ը գերազանցող սենքերը համարվում են թաց սենքեր):
38) Խուլ հողակցված չեզոք` տրանսֆորմատորի կամ գեներատորի չեզոքը, որն անմիջապես միացված է հողակցման սարքվածքին: Խուլ հողակցված կարող է լինել նաև միաֆազ փոփոխական հոսանքի արտանցիչը կամ հաստատուն հոսանքի աղբյուրի բևեռը երկհաղորդալարային ցանցերում, ինչպես նաև հաստատուն հոսանքի եռհաղորդալարային ցանցերի միջին կետը:
39) Կենտրոնացված էլեկտրամատակարարում` էներգետիկական համակարգից էլեկտրամատակարարում սպառողներին:
40) Կողմնակի հաղորդիչ մաս` էլեկտրատեղակայանքի մաս չկազմող հաղորդիչ մաս:
41) Կրկնակի մեկուսացում` 1 կՎ-ից ցածր էլեկտրատեղակայանքներում մեկուսացում, որը կազմված է հիմնական և լրացուցիչ մեկուսացումներից:
42) Հաղորդիչ մաս` մաս, որը կարող է հաղորդել էլեկտրական հոսանք:
43) Համատեղված զրոյական պաշտպանական և զրոյական աշխատանքային (ՊԵՆ) հաղորդիչներ` 1 կՎ-ից ցածր լարմամբ էլեկտրատեղակայանքների հաղորդիչներ, որոնք համատեղում են զրոյական պաշտպանական և զրոյական աշխատանքային հաղորդիչների գործառույթները:
44) Հաստատուն հոսանքի լարում` հաստատուն հոսանքի լարումը կամ հոսանքի լարման գործող արժեքի 10%-ից ոչ ավելի բաբախումով ուղղված հոսանքի լարումը:
45) Հարաչափի (պարամետրի), անվանական արժեք (անվանական հարաչափ)` արտադրողի կողմից էլեկտրատեխնիկական սարքվածքի վրա նշված հարաչափի արժեք:
46) Հետվթարային ռեժիմ` ռեժիմ, որում գտնվում է էլեկտրական էներգիա սպառողը դրա էլեկտրամատակարարման համակարգի խանգարման հետևանքով` մինչև խափանման տեղափակումից հետո բնականոն ռեժիմի հաստատվելը:
47) Հիմնական մեկուսացում` հոսանատար մասերի մեկուսացում, որն ապահովում է պաշտպանություն նաև ուղղակի հպումից:
48) Հողակցիչ` հաղորդիչ մաս կամ միմյանց հետ միացված հաղորդիչ մասերի համախումբ, որն անմիջապես կամ միջանկյալ հաղորդիչ միջավայրով ունի հպում հողի հետ:
49) Հողակցման հաղորդիչ` հողակցվող մասը (կետը) հողակցիչին միացնող հաղորդիչ:
50) Հողակցման սարքվածք` հողակցիչի և հողանցման հաղորդիչների համախումբ:
51) Հողակցվող սարքվածքի դիմադրություն` հողակցիչի վրա լարման անկման հարաբերությունը հողակցիչից դեպի հող հոսող հոսանքին:
52) Հողակցում` ցանցի, էլեկտրատեղակայանքի կամ սարքվածքի որևէ կետի կանխամտածված էլեկտրական միացումը հողակցման սարքվածքի հետ:
53) Հողին միակցում` լարման տակ գտնվող հոսանատար մասերի և հողի միջև պատահական էլեկտրական հպում:
54) Հոսակորստի ուղու արդյունավետ երկարություն` հոսակորստի ուղու երկարության մի մասն է, որը որոշում է մեկուսչի կամ մեկուսչային կառուցվածքի էլեկտրական ամրությունը` աղտոտման և խոնավացման պայմաններում:
55) Հոսակորստի ուղու երկարության օգտագործման գործակից` ուղղման գործակից է, որը հաշվի է առնում մեկուսչի կամ մեկուսչային կառուցվածքի հոսակորստի ուղու երկարության օգտագործման արդյունավետությունը:
56) Հոսակորստի ուղու տեսակարար արդյունավետ երկարություն` (lա) հոսակորստի ուղու արդյունավետ երկարության հարաբերությունն է այն ցանցի ամենամեծ աշխատանքային միջֆազային լարմանը, որի մեջ աշխատում է էլեկտրատեղակայանքը:
57) Հոսանատար մաս` էլեկտրատեղակայանքի հաղորդիչ մաս, որը դրա աշխատանքի ընթացքում գտնվում է աշխատանքային լարման տակ, այդ թվում` զրոյական աշխատանքային հաղորդիչը (բացառությամբ ՊԵՆ հաղորդչի):
58) Հպման լարում` երկու հաղորդիչ մասերի միջև կամ հաղորդիչ մասի և հողի միջև լարում, որին կարող է հպվել մարդը կամ կենդանին:
59) Հպման սպասվող լարում` հպման համար միաժամանակ մատչելի հաղորդիչ մասերի միջև լարում, երբ մարդը կամ կենդանին դրանց չի հպվում:
60) Մեկուսացման վնասվածություն` մեկուսացման եզակի (մեկ տեղում) վնասվածություն:
61) Մեկուսացման (մեկուսչի) կամ կազմովի մեկուսչային կառուցվածքի հոսակորստի ուղու երկարություն (L)` ամենափոքր հեռավորություն տարբեր պոտենցիալի մետաղական մասերի միջև` մեկուսչային դետալի մակերևույթով:
62) Մեկուսացված չեզոք` տրանսֆորմատորի կամ գեներատորի չեզոք, որը միացված չէ հողակցման սարքվածքին կամ միացված է դրան ազդանշանման, չափման, պաշտպանության սարքերի և նման սարքվածքների միջոցով, որոնք ունեն մեծ դիմադրություն:
63) Մեկուսիչ (անհաղորդիչ) սենքեր, գոտիներ, հարթակներ` սենքեր, գոտիներ, հարթակներ, որոնցում պաշտպանություն անուղղակի հպման դեպքում ապահովվում է հատակի և պատերից բարձր դիմադրությամբ և, որոնցում բացակայում են հողակցված հաղորդիչ մասերը:
64) Շղթաների պաշտպանական էլեկտրական բաժանում` մեկ էլեկտրական շղթայի բաժանումը մյուս շղթաներից 1 կՎ-ից ցածր լարմամբ էլեկտրատեղակայանքներում`
կրկնակի մեկուսացման օգնությամբ,
հիմնական մեկուսացման և պաշտպանական էկրանի օգնությամբ,
ուժեղացված մեկուսացման օգնությամբ:
65) Շոգ սենքեր` սենքեր, որոնցում զանազան ջերմային ճառագայթումների ազդեցության տակ ջերմաստիճանը մշտապես կամ պարբերաբար (ավելի քան 1 օր) գերազանցում է 350C-ը (օրինակ` չորանոցներով, թրծող վառարաններով սենքերը, կաթսայատները և այլն):
66) Որակավորված սպասարկող անձնակազմ` աշխատողներ, ովքեր անցել են տվյալ աշխատանքի (պաշտոնի) համար պարտադիր ծավալով գիտելիքների ստուգում և ունեն էլեկտրաանվտանգության խումբ` նախատեսված էլեկտրատեղակայանքների շահագործման անվտանգության տեխնիկական կանոնակարգերով:
67) Չնորմավորված չափվող մեծություն` մեծություն, որի բացարձակ արժեքը նորմավորված չէ: Սարքավորման վիճակի գնահատումն այս դեպքում կատարում են ակնհայտ լավ բնութագրեր ունեցող նմանատիպ սարքվածքի վրա համանման չափումների կամ այլ փորձարկումների արդյունքների հետ համեմատելու միջոցով:
68) Չոր սենքեր` սենքեր, որոնցում օդի հարաբերական խոնավությունը չի գերազանցում 60%-ը: Այդպիսի սենքերը կոչվում են բնականոն (նորմալ), եթե նրանցում բացակայում են շոգ և փոշոտ սենքերի համար սահմանված պայմանները:
69) Պաշտպանական զրոյացում 1 կՎ-ից ցածր լարմամբ էլեկտրատեղակայանքներում` բաց հաղորդիչ մասերի կանխամտածված միացում գեներատորի կամ տրանսֆորմատորի խուլ հողակցված չեզոքի հետ` եռաֆազ հոսանքի ցանցերում, միաֆազ հոսանքի աղբյուրի խուլ հողակցված արտանցիչի հետ, հաստատուն հոսանքի շղթայում` աղբյուրի հողակցված կետի հետ, որը կատարում են էլեկտրաանվտանգության նպատակով:
70) Պաշտպանական էկրան` հաղորդիչ էկրան, որը նախորոշված է էլեկտրական շղթան կամ հաղորդիչները մյուս շղթաների հաղորդիչներից բաժանելու համար:
71) Պաշտպանական (ՊԵ) հաղորդիչ` հաղորդիչ, որը նախատեսված է էլեկտրաանվտանգության նպատակների համար:
72) Պաշտպանական հողակցման հաղորդիչ` պաշտպանական հաղորդիչ, որը նախատեսված է պաշտպանական հողակցման համար:
73) Պաշտպանական հողակցում` հողակցում, որն իրագործվում է էլեկտրաանվտանգության նպատակով:
74) Պաշտպանություն անուղղակի հպումից` պաշտպանություն էլեկտրական հոսանահարումից բաց հոսանատար մասերին հպվելիս, որոնք գտնվել են լարման տակ` վնասված մեկուսացման հետևանքով:
75) Պաշտպանություն ուղղակի հպումից` պաշտպանություն, որը կանխում է հպումը լարման տակ գտնվող հոսանատար մասերին:
76) Պոտենցիալների հավասարեցման պաշտպանական հաղորդիչ` հաղորդիչ, որը նախատեսված է պոտենցիալների պաշտպանական հավասարեցման համար:
77) Պոտենցիալների հարթեցում` պոտենցիալների տարբերության (քայլային լարման) իջեցումը հողի կամ հատակի մակերևույթի վրա` պաշտպանական հաղորդիչների օգնությամբ, որոնք անցկացված են հողի, հատակի մեջ կամ դրանց մակերևույթի վրա և միակցված են հողակցող սարքվածքին կամ հողի հատուկ ծածկույթի կիրառման ճանապարհով:
78) Պոտենցիալների պաշտպանական հավասարեցում (պոտեցիալների հավասարեցում)` պոտենցիալների հավասարեցում, որը կատարում են էլեկտրաանվտանգության նպատակներով:
79) Պսակավորման պայմաններ` էլեկտրահաղորդման գծի շրջակա միջավայրի այն բնակլիմայական պայմանները, որոնք պայմանավորում են լարման տակ գտնվող հաղորդալարի շրջապատող օդի իոնացում` պսակաձև պարպում` օդի էլեկտրական ամրության խախտում:
80) Սնման պաշտպանական ինքնավար անջատում (սնման ինքնավար անջատում)` մեկ կամ մի քանի ֆազային հաղորդիչների շղթայի ինքնավար խզում (և, եթե պահանջվում է, զրոյական աշխատանքային հաղորդչի), որը կատարում են էլեկտրաանվտանգության նպատակով:
81) Տարհոսման գոտի (տեղային գետին)` հողակցիչի և զրոյական պոտենցիալով գոտու միջև եղած գետինը:
82) Ուժեղացված մեկուսացում` 1 կՎ-ից ցածր էլեկտրատեղակայանքներում մեկուսացում, որն էլեկտրական հոսանահարումից ապահովում է կրկնակի մեկուսացմանը հավասարազոր աստիճանի պաշտպանություն:
83) Ուղղակի հպում` մարդկանց կամ կենդանիների հպումն էլեկտրական լարման տակ գտնվող հոսանատար մասերին:
84) Փակ կամ ներքին էլեկտրատեղակայանքներ` էլեկտրատեղակայանքներ, որոնք տեղադրված են դրանք մթնոլորտային ազդեցությունից պաշտպանող շենքի ներսում:
85) Փոշոտ սենքեր` սենքեր, որոնցում, ըստ արտադրության պայմանների, անջատվում է տեխնոլոգիական փոշի, որը կարող է նստել հոսանատար մասերի վրա, թափանցել մեքենաների, սարքերի ներսը:
Փոշոտ սենքերը բաժանվում են հոսանահաղորդ փոշով սենքերի և ոչ հոսանահաղորդ փոշով սենքերի:
86) Փոփոխական հոսանքի լարում` լարման գործող արժեքը:
87) Քայլի լարում` լարում հողի մակերևույթի երկու կետերի միջև` մեկը մյուսից մեկ մետր հեռավորությամբ, որն ընդունվում է մարդու քայլի երկարությանը հավասար:
88) Քիմիապես ակտիվ կամ օրգանական միջավայրով սենքեր` սենքեր, որոնցում մշտապես կամ երկար ժամանակ պարունակվում են ագրեսիվ գոլորշիներ, գազեր, հեղուկներ, գոյանում են էլեկտրասարքվածքի մեկուսացումն ու հոսանատար մասերը քայքայող նստվածք, բորբոս:
89) Սույն տեխնիկական կանոնակարգի տեքստում կիրառված են հետևյալ հապավումները`
|
ԱԱ |
- աղտոտման աստիճան |
|
ԱԱՍՀ |
- աշխատանքի անվտանգության ստանդարտների համակարգ |
|
ԱԱՔ |
- ախտոտման աստիճանի քարտեզ |
|
ԱԳՀ |
- անխոզանակ գրգռման համակարգ |
|
ԱԿՄ |
- ավտոմատ կրկնակի միացում |
|
Ա-Մ |
- անջատում, միացում |
|
Ա-Մ-Ա |
- անջատում, միացում, անջատում |
|
ԲԲՍ |
- բաց բաշխիչ սարքվածք |
|
ԲԼ |
- բարձր լարում |
|
ԲՀ |
- կիսահաղորդչային բարձր հաճախային գրգռման համակարգ |
|
ԲՍ |
- բաշխիչ սարքվածք |
|
ԲՏԿ |
- բեռի տակ կարգավորվում |
|
ԳԼՍ |
- գերլարումների սահմանափակիչ |
|
ԳՀՀ |
- գլխավոր հողակցող հաղորդաձող |
|
ԳՑԼ |
- գերցածր լարում |
|
ԴՀԱ |
- դիֆերենցիալ հոսանքի անջատիչ |
|
ԴՄԱ |
- դաշտի մարման ավտոմատ |
|
ԴՏՌ-Պ (ДТР-П) |
- տվիչի տեսակ |
|
ԷՀՄ |
- էլեկտրոնային հաշվիչ մեքենած |
|
ԼԲՍ |
- լրակազմ բաշխիչ սարքվածք |
|
ԼԲՍԱ |
- լրակազմ բաշխիչ սարքվածք արտաքին |
|
ԿՄ |
- կարճ միակցում |
|
ԿՌՈւԷ (КРУЭ |
- լրակազմ բաշխիչ սարքվածքի տեսակ |
|
ԿՕՆ (КОН |
- ծայրային միաֆազ արտաքին (կցորդիչ) |
|
ՀԲՍԱ |
- համալիր բաշխիչ սարքվածք արտաքին |
|
ՀՀԿ |
- հենարանային հախճապակե կողավոր |
|
ՀՀՇՆ |
- Հայաստանի Հանրապետության շինարարական նորմեր |
|
ՀՏ |
- հաջորդական տրանսֆորմատոր |
|
ՀՓԵ |
- համալիր փակ ենթակայան |
|
Մ-Ա |
- միացում, անջատում |
|
ՄԷՀ |
- միջազգային էլեկտրատեխնիկական հանձնաժողով |
|
ՄԼՀ |
- միակողմ սպասարկման լրակազմ հավաքովի բջիջներ |
|
ՄՀՊ |
- միաֆազ հողակցումից պաշտպանություն |
|
ՊԱՍ |
- պաշտպանական անջատման սարքվածք |
|
ՊՄՍ (ПМС) |
- մեկուսչային հեղուկի տեսակ |
|
ՋԷԿ |
- ջերմային էլեկտրակայան |
|
ՍԿ |
- սեփական կարիքներ |
|
ՏԱՀ |
- տիրիստորային անկախ համակարգ |
|
ՏԳՎ (ТГВ |
- տուրբագեներատորի տեսակ |
|
ՏԻՀ |
- տիրիստորային ինքնագրգռման համակարգ |
|
ՏԿՀ |
- տիրիստորային կառավարման համակարգ |
|
ՈՒՏ |
- ուղղիչային տրանսֆորմատոր |
|
ՓԲՍ |
- փակ բաշխիչ սարքավորում |
|
ՓՊ |
- փականային պարպիչ |
|
ՕԳ |
- օդային գիծ |
|
ՕՀԳ |
- օժանդակ համաժամանակյա գեներատոր |
|
ԻՊ2 (IP2X) |
- սարքվածքի պաշտպանության դաս |
|
Ն |
- զրոյական աշխատանքային հաղորդիչ |
|
ՊԵ |
- պաշտպանական հաղորդիչ |
|
ՏՆ,ՏՏ, ԻՏ (ТН, ТТ, ИТ) |
- հողակցման համակարգերի տեսակներ |
3. ԸՆԴՀԱՆՈՒՐ ՊԱՀԱՆՋՆԵՐԸ
1) Էլեկտրատեղակայանքներում կիրառվող էլեկտրասարքվածքները, էլեկտրատեխնիկական արտադրանքները և նյութերը պետք է համապատասխանեն սույն ՏԿ-ի IX բաժնում տրված ստանդարտների պահանջներին:
2) Կիրառվող մեքենաների, ապարատների, սարքերի և այլ էլեկտրասարքվածքների, ինչպես նաև մալուխների ու հաղորդալարերի կառուցվածքը, կատարումը, տեղակայման եղանակը, մեկուսացման դասը և բնութագրերը պետք է համապատասխանեն ցանցի կամ էլեկտրատեղակայանքի հարաչափերին, աշխատանքի ռեժիմներին, շրջապատող միջավայրի պայմաններին և սույն ՏԿ-ի համապատասխան բաժիններով սահմանված պահանջներին:
3) Էլեկտրատեղակայանքները և դրանց հետ կապված կոնստրուկցիաները պետք է դիմացկուն լինեն շրջապատող միջավայրի ազդեցությունների նկատմամբ կամ պաշտպանված լինեն այդ ազդեցություններից:
4) Էլեկտրատեղակայանքների շինարարական և սանիտարատեխնիկական մասերը (շենքի և դրա տարրերի կոնստրուկցիան, ջեռուցումը, օդափոխությունը, ջրամատակարարումը և այլն) պետք է կատարվեն շինարարական նորմերի, սանիտարական կանոնների և նորմերի, սույն ՏԿ-ում տրված լրացուցիչ պահանջների պարտադիր կատարմամբ:
5) Էլեկտրատեղակայանքները պետք է բավարարեն շրջակա միջավայրում աղմուկի, թրթռման, էլեկտրական և մագնիսական դաշտերի լարվածության, էլեկտրամագնիսական համատեղելիության թույլատրելի մակարդակների պահպանման վերաբերյալ ՏԿ-ով սահմանված պահանջներին:
6) Էլեկտրատեղակայանքների ազդեցությունից պաշտպանելու համար պետք է նախատեսվեն միջոցներ` արդյունաբերական ռադիոխանգարումների թույլատրելի նորմերի, ինչպես նաև էլեկտրահաղորդման գծերի վտանգավոր և խանգարիչ ազդեցություններից կապի, երկաթուղային ազդանշանման և հեռուստամեխանիկայի կապի սարքվածքների պաշտպանության կանոնների պահանջներին համապատասխան:
7) Էլեկտրատեղակայանքներում պետք է նախատեսված լինի թափոնների` քիմիական նյութերի, յուղի, աղբի, տեխնիկական ջրերի և այլնի հավաքում և հեռացում: Շրջակա միջավայրի պահպանման պահանջներին համապատասխան` պետք է բացառվի թափոնների ընկնելը ջրավազաններ, հեղեղաջրերի հեռացման համակարգ, հեղեղատներ, ինչպես նաև այդ թափոնների համար չնախատեսված տարածքներ:
8) Էլեկտրատեղակայանքների նախագծումը և դրանց սխեմաների, դասավորվածության ու կառուցվածքների ընտրությունը պետք է կատարվի դրանց իրականացման տարբերակների տեխնիկատնտեսական համեմատությունների հիման վրա` հաշվի առնելով սպասարկման, անվտանգության ապահովման, հուսալի սխեմաների կիրառման, նորագույն տեխնիկայի, էներգա- և ռեսուրսախնայողական տեխնոլոգիաների ներդրման և շահագործման փորձի պահանջները:
9) Էլեկտրաքայքայման կամ բնահողային քայքայման վտանգի դեպքում պետք է նախատեսվեն կառուցվածքների, սարքվածքի, խողովակաշարերի և ստորգետնյա այլ հաղորդակցուղիների պաշտպանության համապատասխան միջոցներ:
10) Էլեկտրատեղակայանքներում պետք է ապահովված լինի դրանց առանձին տարրերին վերաբերող մասերի հեշտ ճանաչման հնարավորությունը (սխեմաների պարզությունը և ակնառու լինելը, էլեկտրասարքվածքի պատշաճ դասավորությունը, մակագրությունները, մականշվածքը, գունավորումը):
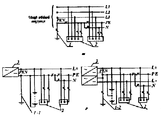
11) Առանձին մեկուսացված և չմեկուսացված հաղորդիչների գունային և թվային նշումներում պետք է կիրառել ԳՕՍՏ 31260 ստանդարտով սահմանված համապատասխան գույները և թվերը: Բոլոր էլեկտրատեղակայանքներում, այդ թվում` խուլ հողակցված չեզոքով էլեկտրատեղակայանքներում զրոյական պաշտպանիչ հաղորդիչները, ինչպես նաև 1 կՎ-ից ցածր լարման խուլ հողակցված չեզոքով էլեկտրատեղակայանքներում զրոյական պաշտպանիչ հաղորդիչները և հաղորդաձողերը պետք է ունենան ՊԵ (PE) տառային նշումը և իրար հաջորդող երկայնական կամ լայնական միևնույն լայնության (հաղորդաձողերի համար` 15-ից մինչև 100 մմ) շերտերով` դեղին կամ կանաչ գունային նշումներ:
Զրոյական աշխատանքային (չեզոք) հաղորդիչները նշվում են երկնագույն Ն (N) տառով: Համատեղված զրոյական պաշտպանիչ և զրոյական աշխատանքային հաղորդիչները պետք է ունենան ՊԵՆ (PEN) տառային նշումը և ամբողջ երկարությամբ երկնագույն, իսկ ծայրերում` դեղնականաչավուն շերտերով գունավոր նշում:
12) Յուրաքանչյուր էլեկտրատեղակայանքում նույնանուն հաղորդաձողերի տառաթվային և գունային նշումները պետք է լինեն միատեսակ:
Հաղորդաձողերը պետք է նշվեն`
ա) փոփոխական եռաֆազ հոսանքի դեպքում` Ա(A) ֆազի հաղորդաձողերը` դեղին, Բ(B) ֆազինը` կանաչ, Ց(C) ֆազինը` կարմիր գույնով,
բ) փոփոխական միաֆազ հոսանքի դեպքում` Ա հաղորդաձողը, որը միացված է սնման աղբյուրի փաթույթի սկզբին` դեղին, իսկ Բ-ն, որը միացված է փաթույթի վերջին` կարմիր գույնով:
Միաֆազ հոսանքի հաղորդաձողերը, եթե դրանք եռաֆազ համակարգի հաղորդաձողերի ճյուղավորում են, նշվում են ինչպես եռաֆազ հոսանքի համապատասխան հաղորդաձողերը,
գ) հաստատուն հոսանքի դեպքում` դրական հաղորդաձողը (+)` կարմիր, բացասականը (-)` կապույտ գույնով և Մ(M) զրոյական աշխատանքայինը` երկնագույն:
Գունանշումը պետք է կատարվի հաղորդաձողերի ամբողջ երկայնքով, եթե այն նախատեսված է նաև ավելի արդյունավետ հովացման կամ հակակոռոզիոն պաշտպանության համար:
Թույլատրվում է գունանշումը կատարել հաղորդաձողերի ոչ ամբողջ երկարությամբ, միայն գունային կամ միայն տառաթվային նշումներ և (կամ) գունային` տառաթվայինի զուգակցմամբ` միայն հաղորդաձողերի միացման տեղերում: Եթե չմեկուսացված հաղորդաձողերը զննման համար մատչելի չեն լարման տակ գտնվելու ժամանակ, ապա թույլատրվում է դրանց նշումը չանել: Ընդ որում, էլեկտրատեղակայանքներն սպասարկելիս չպետք է նվազի անվտանգության և ակնառության մակարդակը:
13) Բաշխիչ սարքվածքներում (բացի միակողմ սպասարկման լրակազմ հավաքովի բջիջներից (ՄԼՀ) և 6-ից մինչև 10 կՎ լրակազմ բաշխիչ սարքվածքներից (ԼԲՍ), ինչպես նաև արտադրողի պատրաստվածության 0,4-ից մինչև 0,69 կՎ վահաններից) հաղորդաձողերը «տափակ կողմով» կամ «կողով» դասավորելիս անհրաժեշտ է պահպանել հետևյալ պայմանները`
ա) 6-ից մինչև 220 կՎ լարման բաշխիչ սարքվածքներում (ԲՍ) եռաֆազ փոփոխական հոսանքի դեպքում հավաքիչ և շրջանցման հաղորդաձողերը, ինչպես նաև բոլոր տեսակի հատվածավոր հաղորդաձողերը պետք է դասավորվեն`
հորիզոնական դասավորության դեպքում`
մեկը մյուսի տակ` վերից վար` Ա-Բ-Ց,
մեկը մյուսից հետո թեք կամ եռանկյունաձև` ամենահեռու հաղորդաձողը` Ա, միջինը` Բ, սպասարկման միջանցքին ամենամոտը` Ց,
ուղղաձիգ դասավորության դեպքում (մեկ հարթության մեջ կամ եռանկյունաձև)`
ձախից աջ` Ա-Բ-Ց կամ ամենահեռու հաղորդաձողը` Ա, միջինը` Բ, սպասարկման միջանցքին ամենամոտը` Ց,
հավաքովի հաղորդաձողերից ճյուղավորումները, եթե նայենք հաղորդաձողերին սպասարկման միջանցքից (երեք միջանցքների դեպքում` կենտրոնականից)`
հորիզոնական դասավորության դեպքում` ձախից աջ` Ա-Բ-Ց,
ուղղաձիգ դասավորության դեպքում (մեկ հարթության մեջ կամ եռանկյունաձև)` վերից վար` Ա-Բ-Ց.
բ) եռաֆազ փոփոխական հոսանքի` 1 կՎ-ից ցածր լարման էլեկտրատեղակայանքներում` հինգ կամ չորս հաղորդալարային շղթաներում,
հաղորդաձողերի դասավորությունը պետք է լինի հետևյալ կերպ`
հորիզոնական դասավորության դեպքում` բաց գույնի տառերով.
մեկը մյուսի տակ` վերից վար` Ա-Բ-Ց-Ն-ՊԵ(ՊԵՆ),
մեկը մյուսից հետո ամենահեռու հաղորդաձողը` Ա, այնուհետև` Բ-Ց-Ն ֆազերը, սպասարկման միջանցքին ամենամոտը` ՊԵ(ՊԵՆ),
ուղղաձիգ դասավորության դեպքում`
ձախից աջ` Ա-Բ-Ց-Ն-ՊԵ(ՊԵՆ) կամ ամենահեռու հաղորդաձողը` Ա, այնուհետև` Բ-Ց-Ն ֆազերը, սպասարկման միջանցքին ամենամոտը` ՊԵ(ՊԵՆ),
հավաքիչ հաղորդաձողերից ճյուղավորումները, եթե նայենք հաղորդաձողերին սպասարկման միջանցքից`
հորիզոնական դասավորության դեպքում` ձախից աջ` Ա-Բ-Ց-Ն-ՊԵ(ՊԵՆ), ուղղաձիգ դասավորության դեպքում` Ա-Բ-Ց-Ն-ՊԵ(ՊԵՆ)` վերից վար.
գ) հաստատուն հոսանքի դեպքում հաղորդաձողերը պետք է դասավորվեն`
հավաքիչ հաղորդաձողերի ուղղաձիգ դասավորության դեպքում` վերինը` Մ, միջինը` (-), ստորինը` (+),
հավաքիչ հաղորդաձողերի հորիզոնական դասավորության դեպքում` ամենահեռուն` Մ, միջինը` (-) և ամենամոտը` (+), եթե հաղորդաձողերին նայենք սպասարկման միջանցքից,
հավաքիչ հաղորդաձողերի ճյուղավորումները. ձախ հաղորդաձողը` Մ, միջինը` (-), աջը` (+), եթե հաղորդաձողերին նայենք սպասարկման միջանցքից:
Առանձին դեպքերում թույլատրվում են շեղումներ «ա», «բ», «գ» ենթակետերում տրված պահանջներից, եթե դրանց կատարումը կապված է էլեկտրատեղակայանքի էական բարդացումների հետ (օրինակ` առաջացնում են ենթակայանների մոտ հատուկ հենարանների տեղակայման անհրաժեշտություն` ՕԳ հաղորդալարերի վերադասավորման համար) կամ, եթե ենթակայանում կիրառվում են տրանսֆորմացիայի երկու կամ ավելի աստիճաններ:
14) Ըստ էլեկտրաանվտանգության պայմանների` էլեկտրատեղակայանքները (ըստ լարման գործող արժեքի) բաժանվում են` 1 կՎ-ից ցածր լարման էլեկտրատեղակայանքների և 1 կՎ-ից բարձր լարման էլեկտրատեղակայանքների:
Սպասարկող անձնակազմի և կողմնակի անձանց անվտանգությունը պետք է ապահովվի սույն տեխնիկական կանոնակարգի VI բաժնում նախատեսված պաշտպանության միջոցների կատարմամբ, ինչպես նաև`
մինչև հոսանատար մասերը համապատասխան հեռավորությունների պահպանմամբ կամ հոսանատար մասերը փակելով, ցանկապատելով,
սարքերի ուղեկապման և ցանկապատող սարքվածքների կիրառմամբ` սխալ գործողությունները և մուտքը դեպի հոսանատար մասերը կանխելու համար,
նախազգուշացնող ազդանշանման, մակագրությունների և պլակատների կիրառմամբ,
էլեկտրական և մագնիսական դաշտերի լարվածությունը մինչև թույլատրելի արժեքներն իջեցնող սարքվածքների կիրառմամբ,
պաշտպանության միջոցների և հարմարանքների օգտագործմամբ, այդ թվում` էլեկտրատեղակայանքներում էլեկտրական և մագնիսական դաշտերի ազդեցությունից, եթե նրանցում լարվածությունը գերազանցում է թույլատրելի նորմերը:
15) 1 կՎ-ից ցածր լարման կայանքներով էլեկտրասենքերում չմեկուսացված և մեկուսացված հոսանատար մասերը պետք է կիրառվեն առանց հպումից պաշտպանության, եթե այդպիսի պաշտպանության անհրաժեշտությունը բացակայում է տեղային պայմաններով:
16) Բնակելի, հասարակական և այլ սենքերում հոսանատար մասերի ցանկապատմանը և փակմանը ծառայող սարքվածքները պետք է լինեն հոծ. այն սենքերում, որոնք մատչելի են միայն որակավորում ունեցող անձնակազմի համար, այդ սարքվածքները կարող են լինել հոծ, ցանցկեն կամ ծակոտկեն:
Ցանկապատող և փակող սարքվածքները պետք է պատրաստված լինեն այնպես, որ դրանց հանելը կամ բացելը հնարավոր լինի միայն բանալիների և գործիքների միջոցով:
17) Ցանկապատող և փակող բոլոր սարքվածքները, տեղային պայմաններին համապատասխան, պետք է օժտված լինեն պահանջվող մեխանիկական ամրությամբ: 1 կՎ-ից բարձր լարման դեպքում մետաղյա ցանկապատող և փակող սարքվածքների հաստությունը պետք է լինի առնվազն 1 մմ:
18) Սպասարկող անձնակազմին հոսանահարումից, էլեկտրական աղեղի ազդեցությունից և այլնից պաշտպանելու համար բոլոր էլեկտրատեղակայանքները պետք է հանդերձված լինեն պաշտպանության, ինչպես նաև առաջին օգնություն ցույց տալու միջոցներով` էլեկտրատեղակայանքներում օգտագործվող պաշտպանության միջոցների կիրառման և սույն ՏԿ-ով սահմանված փորձարկումներին համապատասխան:
19) Էլեկտրատեղակայանքների հրդեհա- և պայթունավտանգությունը պետք է ապահովվի սույն ՏԿ-ի համապատասխան բաժիններում տրված պահանջների կատարմամբ: Շահագործման հանձնելիս էլեկտրատեղակայանքները, գործող դրույթներին համապատասխան, պետք է սարքավորվեն հակահրդեհային միջոցներով և գույքով:
20) Նոր կառուցված և վերակառուցված էլեկտրատեղակայանքները և նրանցում տեղակայված էլեկտրասարքվածքը պետք է ենթարկվեն ընդունման-հանձնման փորձարկումների (բաժին VII):
21) Նոր կառուցված և վերակառուցված էլեկտրատեղակայանքներն արդյունաբերական շահագործման մեջ են մտցվում արտադրանքի շահագործման փաստաթղթերի համաձայն` միայն դրանց ընդունումից հետո:
II. ԷԼԵԿՏՐԱՄԱՏԱԿԱՐԱՐՈՒՄ ԵՎ ԷԼԵԿՏՐԱԿԱՆ ՑԱՆՑԵՐ
4. ԸՆԴՀԱՆՈՒՐ ՊԱՀԱՆՋՆԵՐԸ
1) Սույն բաժնի դրույթները տարածվում են էլեկտրամատակարարման բոլոր համակարգերի վրա:
Ստորգետնյա, քարշային և այլ հատուկ կայանքների էլեկտրամատակարարման համակարգերը, բացի սույն տեխնիկական կանոնակարգի պահանջներից, պետք է համապատասխանեն նաև համապատասխան բնագավառի շահագործման հրահանգներին:
2) Էլեկտրամատակարարման համակարգերի նախագծման և էլեկտրատեղակայանքների վերակառուցման ժամանակ պետք է դիտարկվեն`
ա) էներգահամակարգի և էլեկտրամատակարարման համակարգերի զարգացման հեռանկարները` հաշվի առնելով նոր կառուցվող էլեկտրական ցանցերի նպատակահարմար համատեղումը գործող և նոր կառուցվող այլ դասերի լարման ցանցերի հետ,
բ) էլեկտրական ցանցերի գործողության գոտում տեղադրված բոլոր սպառողների, անկախ դրանց պատկանելությունից, համալիր կենտրոնացված էլեկտրամատակարարման ապահովումը,
գ) կարճ միակցման (ԿՄ) հոսանքների սահմանափակումը սահմանային մակարդակներով` հաշվի առնելով հեռանկարը,
դ) էլեկտրական էներգիայի կորուստների նվազումը,
ե) ընդունված լուծումների համապատասխանությունը շրջակա միջավայրի պահպանության պայմաններին:
Ընդ որում, անհրաժեշտ է համալիր դիտարկել ներքին և արտաքին էլեկտրամատակարարումը` հաշվի առնելով տեխնոլոգիական պահուստավորման հնարավորությունները և նպատակահարմարությունը:
Պահուստավորման հարցերի լուծման ժամանակ անհրաժեշտ է հաշվի առնել էլեկտրատեղակայանքների տարրերի գերբեռնման կարողությունները, ինչպես նաև տեխնոլոգիական սարքավորման պահուստի առկայությունը:
3) Էլեկտրամատակարարման համակարգերի զարգացման հարցերը լուծելիս անհրաժեշտ է հաշվի առնել նորոգման, վթարային և հետվթարային ռեժիմները:
4) Էներգահամակարգի օբյեկտ հանդիսացող` միմյանց փոխպահուստավորող անկախ սնման աղբյուրների ընտրման ժամանակ անհրաժեշտ է հաշվի առնել էներգահամակարգի էլեկտրական մասի վնասվածքի դեպքում ռելեային պաշտպանության և ավտոմատիկայի գործելու ժամանակ լարման միաժամանակյա կախյալ կարճատև նվազման կամ լրիվ անհետացման հավանականությունը, ինչպես նաև համակարգային ծանր վթարների ժամանակ այդ սնման աղբյուրներում լարման միաժամանակյա երկարատև անհետացումը:
5) Էներգահամակարգի և սպառողների էլեկտրամատակարարման համակարգերի զարգացման բոլոր փուլերում պետք է հաշվի առնվեն սույն բաժնի 2-րդ, 3-րդ և 4-րդ կետերի պահանջները:
6) Էլեկտրական ցանցերի նախագծման ժամանակ պետք է հաշվի առնվեն դրանց սպասարկման տեսակները (մշտական հերթապահություն, տնային հերթապահություն, արտագնա բրիգադներ և այլն):
7) 2-ից մինչև 35 կՎ լարման էլեկտրական ցանցերի աշխատանքը կարող է նախատեսվել ինչպես մեկուսացված չեզոքով, այնպես էլ աղեղմարիչ ռեակտորի կամ ռեզիստորի միջոցով հողակցված չեզոքով:
Հողին միակցման ունակային հոսանքի փոխհատուցում պետք է կիրառվի բնականոն ռեժիմներում այդ հոսանքների հետևյալ արժեքների դեպքում`
երկաթբետոնե և մետաղյա հենարաններ ունեցող օդային գծերով (ՕԳ) 3-ից մինչև 20 կՎ լարման ցանցերում և 35 կՎ լարման բոլոր ցանցերում` 10 Ա-ից ավելի,
երկաթբետոնե և մետաղյա հենարաններ չունեցող ՕԳ-երով ցանցերում` 3-ից մինչև 6 կՎ լարման դեպքում` 30 Ա-ից ավելի, 10 կՎ լարման դեպքում` 20 Ա-ից ավելի, 15-ից մինչև 20 կՎ լարման դեպքում` 15 Ա-ից ավելի, 6-ից մինչև 20 կՎ գեներատորային լարման գեներատոր-տրանսֆորմատոր սխեմաներում` 5 Ա-ից ավելի:
50 Ա-ից ավելի հողին միակցման հոսանքների դեպքում խորհուրդ է տրվում կիրառել երկուսից ոչ պակաս հողանցող ռեակտորներ:
110 կՎ լարման էլեկտրական ցանցերի աշխատանքը կարող է նախատեսվել ինչպես խուլ հողանցմամբ, այնպես էլ արդյունավետ հողակցված չեզոքով:
220 կՎ և բարձր լարման էլեկտրական ցանցերը պետք է աշխատեն միայն խուլ հողանցված չեզոքով:
5. ԷԼԵԿՏՐԱԸՆԴՈՒՆԻՉՆԵՐԻ ԿԱՐԳԵՐԸ ԵՎ ԷԼԵԿՏՐԱՄԱՏԱԿԱՐԱՐՄԱՆ ՀՈՒՍԱԼԻՈՒԹՅԱՆ ԱՊԱՀՈՎՈՒՄԸ
1) Էլեկտրաընդունիչների էլեկտրամատակարարման հուսալիության կարգը որոշվում է էլեկտրամատակարարման համակարգի նախագծման ընթացքում` նորմատիվ փաստաթղթերի, ինչպես նաև նախագծի տեխնոլոգիական մասի հիման վրա: Էլեկտրամատակարարման տեխնիկական պայմանները (միացման պայմանագիրը) պետք է պարունակեն անհրաժեշտ տեղեկություններ մատակարարի կողմից առաջարկվող էլեկտրասնման սխեմայի հուսալիության մասին` ըստ էներգահամակարգի փաստացի հուսալիության պայմանների:
2) Էլեկտրամատակարարման հուսալիության ապահովման տեսանկյունից էլեկտրաընդունիչները բաժանվում են երեք կարգերի.
I կարգի էլեկտրաընդունիչներ. այն էլեկտրաընդունիչներն են, որոնց էլեկտրամատակարարման ընդհատումը կարող է հանգեցնել մարդկանց կյանքի վտանգին, պետության անվտանգության սպառնալիքի, նշանակալի նյութական վնասի, բարդ տեխնոլոգիական գործընթացի խանգարման, կոմունալ տնտեսության, կապի և հեռուստատեսության օբյեկտների բացառիկ կարևոր տարրերի գործունեության խափանման:
I կարգի էլեկտրաընդունիչների կազմից առանձնացվում է էլեկտրաընդունիչների հատուկ խումբ, որի անընդհատ աշխատանքն անհրաժեշտ է արտադրության անվտանգ կանգնեցման, մարդկանց կյանքի և անվտանգության ապահովման, շրջակա միջավայր անթույլատրելի արտանետումների կանխման համար:
II և III կարգի էլեկտրաընդունիչները կանոնակարգվում են ՎՍՆ-59 նորմատիվ ակտով:
3) I կարգի էլեկտրաընդունիչները բնականոն ռեժիմներում պետք է էլեկտրական էներգիայով ապահովվեն երկուսից ոչ պակաս անկախ փոխպահուստավորվող սնման աղբյուրներից և սնման աղբյուրներից մեկից դրանց էլեկտրամատակարարման ընդհատումն էլեկտրամատակարարման խափանման դեպքում կարող է թույլատրվել միայն սնման ինքնավար վերականգնման ժամանակահատվածում, եթե այդ ընդհատումը պայմանավորված չէ էներգահամակարգում արտադրվող հզորության խոշոր դեֆիցիտի պատճառով բեռնաթափման հակավթարային ավտոմատիկայի գործողությամբ:
I կարգի հատուկ խմբի էլեկտրաընդունիչների էլեկտրասնման համար պետք է նախատեսել լրացուցիչ սնում երրորդ անկախ փոխպահուստավորվող սնման աղբյուրից:
Որպես I կարգի հատուկ խմբի էլեկտրաընդունիչների երրորդ անկախ սնման աղբյուր կարող են օգտագործվել ինքնավար էներգաարտադրողների էլեկտրակայանները, էներգահամակարգի էլեկտրակայանները (մասնավորապես, գեներատորային լարման հաղորդաձողերը), էներգահամակարգի այն սնող գծերը, որոնք չեն ընդգրկված էներգահամակարգի վթարային ավտոմատ բեռնաթափման մեջ, այդ նպատակի համար նախատեսված անընդմեջ սնման հատուկ ագրեգատները, կուտակիչ մարտկոցները և այլն:
Եթե էլեկտրամատակարարման պահուստավորմամբ անհնար է ապահովել տեխնոլոգիական գործընթացի անհրաժեշտ անընդհատությունը կամ, եթե էլեկտրամատակարարման պահուստավորումը տնտեսապես աննպատակահարմար է, պետք է իրականացվի տեխնոլոգիական պահուստավորում, օրինակ` փոխադարձ պահուստավորող տեխնոլոգիական ագրեգատների, էլեկտրամատակարարման խափանման դեպքում տեխնոլոգիական գործընթացի ոչ վթարային կանգառի ժամանակ գործող հատուկ սարքվածքների տեղակայման ճանապարհով:
6. ԼԱՐՄԱՆ ՄԱԿԱՐԴԱԿՆԵՐԸ ԵՎ ԿԱՐԳԱՎՈՐՈՒՄԸ, ՌԵԱԿՏԻՎ ՀԶՈՐՈՒԹՅԱՆ ՓՈԽՀԱՏՈՒՑՈՒՄԸ
1) Էլեկտրական ցանցերի համար անհրաժեշտ է նախատեսել տեխնիկական միջոցառումներ` էլեկտրական էներգիայի որակի ապահովման համար, ԳՕՍՏ 13109 ստանդարտի պահանջների համաձայն:
2) Լարման կարգավորման սարքվածքներն էլեկտրակայանների և ենթակայանների 3-ից մինչև 20 կՎ լարման այն հաղորդաձողերում, որոնց միացված են բաշխիչ ցանցերը, պետք է ապահովեն լարումների պահպանում` անվանականից 105%-ից ոչ պակաս` այդ ցանցերի ամենամեծ բեռնվածքի, և անվանականից 100%-ից ոչ ավելի` այդ ցանցերի ամենափոքր բեռնվածքի դեպքերում: Լարման նշված մակարդակներից շեղումները պետք է հիմնավորվեն:
3) Էլեկտրական ցանցերում ռեակտիվ հզորության փոխհատուցման սարքվածքների ընտրությունը և տեղաբաշխումը կատարում են` ելնելով ցանցի բնականոն և հետվթարային ռեժիմներում պահանջվող թողունակության ապահովման անհրաժեշտությունից` պահպանելով լարման անհրաժեշտ մակարդակը և կայունության պաշարը:
III. ՀԱՂՈՐԴԻՉՆԵՐԻ ԸՆՏՐՈՒԹՅՈՒՆԸ` ԸՍՏ ՏԱՔԱՑՄԱՆ, ՀՈՍԱՆՔԻ ԽՆԱՅՈՂԱԿԱՆ ԽՏՈՒԹՅԱՆ ԵՎ ԸՍՏ ՊՍԱԿԱՎՈՐՄԱՆ ՊԱՅՄԱՆՆԵՐԻ
7. ՀԱՂՈՐԴԻՉՆԵՐԻ ՀԱՏՈՒՅԹՆԵՐԻ ԸՆՏՐՈՒԹՅՈՒՆԸ` ԸՍՏ ՏԱՔԱՑՄԱՆ
1) Սույն բաժնի դրույթները տարածվում են էլեկտրական հաղորդիչների (մեկուսացված և չմեկուսացված հաղորդալարեր, մալուխներ, հաղորդաձողեր) հատույթների ընտրության վրա` ըստ տաքացման, հոսանքի խնայողական խտության և ըստ պսակավորման պայմանների: Եթե ըստ այս պայմանների որոշված հաղորդչի հատույթն ստացվում է փոքր, քան պահանջվում է ըստ այլ պայմանների (ԿՄ հոսանքներից ջերմային և էլեկտրադինամիկական կայունությունը, լարման կորուստները և շեղումները, մեխանիկական ամրությունը, գերբեռնումից պաշտպանությունը), ապա պետք է ընտրվի այդ պայմաններով պահանջվող ամենամեծ հատույթը:
2) Ցանկացած նշանակության հաղորդիչները պետք է բավարարեն սահմանային թույլատրելի տաքացման պահանջները` հաշվի առնելով ոչ միայն բնականոն, այլև հետվթարային ռեժիմները, ինչպես նաև ռեժիմները` նորոգման ու գծերի, հաղորդաձողերի հատվածների և այլնի միջև հնարավոր անհավասար հոսանաբաշխումների ժամանակ` ըստ տաքացման ստուգման ժամանակ ընդունվում է տվյալ տարրի (էլեմենտի) կեսժամյա միջին հոսանքներից ամենամեծ կեսժամյա հոսանքը:
3) Էլեկտրաընդունիչի կրկնական կարճատև և կարճատև աշխատանքի ռեժիմներում (ցիկլի մինչև 10 րոպե ընդհանուր տևողությամբ և աշխատանքային ժամանակահատվածի 4 րոպեից ոչ ավելի տևողությամբ), ըստ տաքացման հաղորդիչների հատույթների ստուգման, որպես հաշվարկային հոսանք պետք է ընդունել հոսանքը` տրված երկարատև ռեժիմին: Այդ դեպքում`
ա) մինչև 6 մմ2 հատույթով պղնձե և մինչև 10 մմ2 հատույթով ալյումինե հաղորդիչների համար հոսանքն ընդունվում է` ինչպես երկարատև աշխատանքի ռեժիմով կայանքների համար,
բ) 6 մմ2-ից ավելի հատույթով պղնձե և 10 մմ2-ից ավելի հատույթով ալյումինե հաղորդիչների համար հոսանքը որոշվում է թույլատրելի երկարատև հոսանքի և 0,875/√Tմ.ժ գործակցի արտադրյալով, որտեղ Tմ.ժ-ն հարաբերական միավորներով արտահայտված աշխատաժամի տևողությունն է (միացված ժամանակահատվածի հարաբերությունը ցիկլի ժամանակահատվածին):
4) Աշխատանքի կարճատև ռեժիմի համար 4 րոպեից ոչ ավելի միացման տևողության և միացումների միջև մինչև շրջակա միջավայրի ջերմաստիճանը հաղորդիչների հովանալու ընդմիջումների բավարար տևողության դեպքում առավելագույն թույլատրելի հոսանքն անհրաժեշտ է որոշել կրկնական-կարճատև ռեժիմի նորմերով (սույն գլխի 3-րդ կետ): 4 րոպեից ավելի միացման տևողության, ինչպես նաև միացումների միջև անբավարար տևողությամբ ընդմիջումների դեպքում առավելագույն թույլատրելի հոսանքներն անհրաժեշտ է որոշել` ինչպես աշխատանքի երկարատև ռեժիմով կայանքների համար:
5) Թղթե ներծծված մեկուսացմամբ մինչև 10 կՎ լարման մալուխների համար, որոնք կրում են անվանականից փոքր բեռնվածք, թույլատրվում է կարճատև գերբեռնում` նշված N 1 աղյուսակում:
Աղյուսակ N 1
Թղթե ներծծված մեկուսացմամբ մինչեվ 10 կՎ լարման մալուխների թույլատրելի կարճատեվ գերբեռնումները
|
Նախնական |
Անցկացման ձևը |
Թույլատրելի գերբեռնումն անվանականի նկատմամբ, ըստ տևողության, ժ | ||
| 0,5 | 1,0 | 3,0 | ||
| 0,6 | Հողում | 1,35 | 1,30 | 1,15 |
| Օդում | 1,25 | 1,15 | 1,10 | |
| խողովակներում (հողում) | 1,20 | 1,10 | 1,00 | |
| 0,8 | Հողում | 1,20 | 1,15 | 1,10 |
| Օդում | 1,15 | 1,10 | 1,05 | |
| խողովակներում (հողում) | 1,10 | 1,05 | 1,00 | |
6) Հետվթարային ռեժիմի վերացման ժամանակահատվածում բեռնվածքի առավելագույնի ժամանակ պոլիէթիլենային մեկուսացմամբ մալուխների համար թույլատրվում է անվանականի մինչև 10%, իսկ պոլիվինիլքլորիդային մեկուսացմամբ մալուխների համար` մինչև 15% գերբեռնումներ` 5 օրվա ընթացքում, օրական 6 ժամից ոչ ավելի, եթե օրվա մյուս ժամանակահատվածներում բեռնվածքը չի գերազանցում անվանական արժեքը:
Հետվթարային ռեժիմի վերացման ժամանակահատվածում թղթե մեկուսացմամբ, մինչև 10 կՎ լարման մալուխների համար թույլատրվում են գերբեռնումներ` 5 օրվա ընթացքում` սույն բաժնի N 2 աղյուսակում նշված սահմաններում:
15 տարվանից ավելի շահագործման մեջ եղած մալուխային գծերի համար գերբեռնումները պետք է իջեցվեն 10%-ով:
20-ից մինչև 35 կՎ լարման մալուխային գծերի գերբեռնումներ չեն թույլատրվում:
Աղյուսակ N 2
Թղթե մեկուսացմամբ մինչեվ 10 կՎ լարման մալուխների թույլատրելի գերբեռնումները հետվթարային ռեժիմի վերացման ժամանակահատվածում
|
Նախնական |
Անցկացման ձևը |
Թույլատրելի գերբեռնումն անվանականի նկատմամբ, առավելագույնի տևողության դեպքում, ժ | ||
| 1 | 3 | 6 | ||
| 0,6 | Հողում | 1,50 | 1,35 | 1,25 |
| Օդում | 1,35 | 1,25 | 1,25 | |
| խողովակներում (հողում) | 1,30 | 1,20 | 1,15 | |
| 0,8 | Հողում | 1,35 | 1,25 | 1,20 |
| Օդում | 1,30 | 1,25 | 1,25 | |
| խողովակներում (հողում) | 1,20 | 1,15 | 1,10 | |
7) Բնականոն բեռնվածքների և հետվթարային գերբեռնումների նկատմամբ պահանջները վերաբերում են մալուխներին և դրանց վրա տեղադրված միացնող և ծայրային կցորդիչներին, ինչպես նաև ծայրային ամրակցիչներին:
8) Եռաֆազ հոսանքի քառալար համակարգում զրոյական աշխատանքային հաղորդիչները պետք է ունենան ֆազային հաղորդիչների հաղորդականության 50%-ից ոչ պակաս հաղորդականություն, անհրաժեշտության դեպքերում այն պետք է մեծացվի ֆազային հաղորդիչների հաղորդականության մինչև 100%-ը:
9) Սույն բաժնի 9-րդ գլխի 1-4-րդ կետերում և 10-րդ գլխի 1-ին կետում տրված ջերմաստիճաններից էապես տարբեր ջերմաստիճանով միջավայրում տեղադրված մալուխների, մեկուսացմամբ և առանց մեկուսացման հաղորդալարերի և հաղորդաձողերի, ինչպես նաև կոշտ և ճկուն հոսանահաղորդիչների համար թույլատրելի երկարատև հոսանքները որոշելիս պետք է կիրառել սույն բաժնի N 3 աղյուսակում տրված գործակիցները:
Աղյուսակ N 3
Մալուխների, մեկուսացմամբ եվ առանց մեկուսացմամբ հաղորդալարերի ու հաղորդաձողերի հոսանքների ուղղման գործակիցները` կախված հողի եվ օդի ջերմաստիճանից
|
Միջավայրի |
Ջղերի |
Հոսանքների ուղղման գործակիցները միջավայրի հաշվարկային ջերմաստիճանի դեպքում, օC | |||||||||||
|
-5 և ցածր |
0 |
+5 |
+10 |
+15 |
+20 |
+25 |
+30 |
+35 |
+40 |
+45 |
+50 | ||
|
15 |
80 |
1,14 |
1,11 |
1,08 |
1,04 |
1,00 |
0,96 |
0,92 |
0,88 |
0,83 |
0,78 |
0,73 |
0,68 |
|
25 |
80 |
1,24 |
1,20 |
1,17 |
1,13 |
1,09 |
1,04 |
1,00 |
0,95 |
0,90 |
0,85 |
0,80 |
0,74 |
|
25 |
70 |
1,29 |
1,24 |
1,20 |
1,15 |
1,11 |
1,05 |
1,00 |
0,94 |
0,88 |
0,81 |
0,74 |
0,67 |
|
15 |
65 |
1.18 |
1,14 |
1,10 |
1,05 |
1,00 |
0,95 |
0,89 |
0,84 |
0,77 |
0,71 |
0,63 |
0,55 |
|
25 |
65 |
1,32 |
1,27 |
1,22 |
1,17 |
1,12 |
1,06 |
1,00 |
0,94 |
0,87 |
0,79 |
0,71 |
0,61 |
|
15 |
60 |
1,20 |
1,15 |
1,12 |
1,06 |
1,00 |
0,94 |
0,88 |
0,82 |
0,75 |
0,67 |
0,57 |
0,47 |
|
25 |
60 |
1,36 |
1,31 |
1,25 |
1,20 |
1,13 |
1,07 |
1,00 |
0,93 |
0,85 |
0,76 |
0,66 |
0,54 |
|
15 |
55 |
1,22 |
1,17 |
1,12 |
1,07 |
1,00 |
0,93 |
0,86 |
0,79 |
0,71 |
0,61 |
0,50 |
0,36 |
|
25 |
55 |
1,41 |
1,35 |
1,29 |
1,23 |
1,15 |
1,08 |
1,00 |
0,91 |
0,82 |
0,71 |
0,58 |
0,41 |
|
15 |
50 |
1,25 |
1,20 |
1,14 |
1,07 |
1,00 |
0,93 |
0,84 |
0,76 |
0,66 |
0,54 |
0,37 |
- |
|
25 |
50 |
1,48 |
1,41 |
1,34 |
1,26 |
1,18 |
1,09 |
1,00 |
0,89 |
0,78 |
0,63 |
0,45 |
- |
8. ՌԵՏԻՆԵ ԿԱՄ ՊԼԱՍՏՄԱՍՍԱՅԵ ՄԵԿՈՒՍԱՑՄԱՄԲ ՀԱՂՈՐԴԱԼԱՐԵՐԻ, ՔՈՒՂԵՐԻ ԵՎ ՄԱԼՈՒԽՆԵՐԻ ԵՐԿԱՐԱՏԵՎ ԹՈՒՅԼԱՏՐԵԼԻ ՀՈՍԱՆՔՆԵՐԸ
1) Ռետինե կամ պոլիվինիլքլորիդային մեկուսացմամբ հաղորդալարերի, ռետինե մեկուսացմամբ քուղերի և ռետինե կամ պլաստմասսայե մեկուսացմամբ կապարե, պոլիվինիլքլորիդային ու ռետինե թաղանթով մալուխների թույլատրելի երկարատև հոսանքները տրված են սույն բաժնի NN 4-11 աղյուսակներում: Դրանք ընդունված են ջղերի` 650C, օդի` 250C և հողի` 150C ջերմաստիճանների համար:
Մեկ խողովակում անցկացվող հաղորդալարերի (կամ բազմաջիղ հաղորդչի ջղերի) քանակը որոշելիս եռաֆազ հոսանքի քառալար համակարգի զրոյական աշխատանքային հաղորդիչը, ինչպես նաև հողակցող և զրոյական պաշտպանական հաղորդիչները հաշվի չեն առնվում:
Սույն բաժնի NN 4 և 5 աղյուսակներում տրված տվյալներն անհրաժեշտ է ընդունել անկախ խողովակների թվից և դրանց անցկացման տեղից (օդում, ծածկերում, հիմնատակներում):
Աղյուսակ N 4
Պղնձե ջղերով, ռետինե եվ պոլիվինիլքլորիդային մեկուսացմամբ հաղորդալարերի եվ քուղերի թույլատրելի երկարատեվ հոսանքը
|
Հոսանատար
|
Հաղորդալարերի հոսանքը, Ա, անցկացված | |||||
|
բաց
|
մեկ խողովակում | |||||
|
երկու |
երեք |
չորս |
մեկ |
մեկ | ||
|
0,5 |
11 |
- |
- |
- |
- |
- |
|
0,75 |
15 |
- |
- |
- |
- |
- |
|
1 |
17 |
16 |
15 |
14 |
15 |
14 |
|
1,2 |
20 |
18 |
16 |
15 |
16 |
14,5 |
|
1,5 |
23 |
19 |
17 |
16 |
18 |
15 |
|
2 |
26 |
24 |
22 |
20 |
23 |
19 |
|
2,5 |
30 |
27 |
25 |
25 |
25 |
21 |
|
3 |
34 |
32 |
28 |
26 |
28 |
24 |
|
4 |
41 |
38 |
35 |
30 |
32 |
27 |
|
5 |
46 |
42 |
39 |
34 |
37 |
31 |
|
6 |
50 |
46 |
42 |
40 |
40 |
34 |
|
8 |
62 |
54 |
51 |
46 |
48 |
43 |
|
10 |
80 |
70 |
60 |
50 |
55 |
50 |
|
16 |
100 |
85 |
80 |
75 |
80 |
70 |
|
25 |
140 |
115 |
100 |
90 |
100 |
85 |
|
35 |
170 |
135 |
125 |
115 |
125 |
100 |
|
50 |
215 |
185 |
170 |
150 |
160 |
135 |
|
70 |
270 |
225 |
210 |
185 |
195 |
175 |
|
95 |
330 |
275 |
255 |
225 |
245 |
215 |
|
120 |
385 |
315 |
290 |
260 |
295 |
250 |
|
150 |
440 |
360 |
330 |
- |
- |
- |
|
185 |
510 |
- |
- |
- |
- |
- |
|
240 |
605 |
- |
- |
- |
- |
- |
|
300 |
695 |
- |
- |
- |
- |
- |
|
400 |
830 |
- |
- |
- |
- |
- |
Տուփախողովակներում և ճոռերում փնջերով անցկացված հաղորդալարերի և մալուխների երկարատև թույլատրելի հոսանքները պետք է ընդունվեն հաղորդալարերի համար` սույն բաժնի NN 4 և 5 աղյուսակներից` ինչպես խողովակներում անցկացված հաղորդալարերի համար, մալուխների համար` սույն բաժնի NN 6-8 աղյուսակներից` ինչպես օդում անցկացված մալուխների համար:
Խողովակներում, ճոռերում, տուփախողովակներում փնջերով անցկացված, միաժամանակ բեռնված 4-ից ավելի հաղորդալարերի դեպքում հաղորդալարերի համար հոսանքները պետք է ընդունվեն սույն բաժնի NN 4 և 5 աղյուսակներով` ինչպես բաց (օդում) անցկացված հաղորդալարերի համար` մտցնելով ցածրացնող գործակիցներ, այն է. 0.68` 5 և 6, 0.63` 7-9 և 0.6` 10-12 հաղորդալարերի դեպքում:
Երկրորդային շղթաների հաղորդիչների համար ցածրացնող գործակիցներ չեն մտցվում:
2) Ճոռերում միաշարք անցկացված (ոչ փնջերով) հաղորդալարերի համար թույլատրելի երկարատև հոսանքներն անհրաժեշտ է ընդունել` ինչպես օդում անցկացված հաղորդալարերինը:
Տուփախողովակներում անցկացված հաղորդալարերի և մալուխների թույլատրելի երկարատև հոսանքներն անհրաժեշտ է ընդունել սույն բաժնի NN 4-7 աղյուսակներից` ինչպես բաց (օդում), միայնակ անցկացված հաղորդալարերի և մալուխների համար` օգտագործելով սույն բաժնի N 12 աղյուսակի ցածրացնող գործակիցները:
Ցածրացնող գործակիցներն ընտրելիս վերահսկման և պահուստային հաղորդալարերը և մալուխները հաշվի չեն առնվում:
3) Սույն բաժնի N 6 աղյուսակում հոսանքները վերաբերում են ինչպես զրոյական ջղով, այնպես էլ առանց դրա հաղորդալարերին և մալուխներին, N 7 աղյուսակում նշված հոսանքները վերաբերում են քառաջիղ, N 8 աղյուսակում նշված հոսանքները վերաբերում են զրոյական ջղով կամ առանց դրա քուղերին, հաղորդալարերին և մալուխներին, NN 9 և 10 աղյուսակներում հոսանքները վերաբերում են զրոյական ջղով և առանց դրա մալուխներին:
Աղյուսակ N 5
Ալյումինե ջղերով, ռետինե եվ պոլիվինիլքլորիդային մեկուսացմամբ հաղորդալարերի թույլատրելի երկարատեվ հոսանքը
|
Հոսանատար |
Հաղորդալարերի հոսանքը, Ա, անցկացված | |||||
|
բաց |
մեկ խողովակում | |||||
|
երկու |
երեք |
չորս |
մեկ |
մեկ | ||
|
2 |
21 |
19 |
18 |
15 |
17 |
14 |
|
2,5 |
24 |
20 |
19 |
19 |
19 |
16 |
|
3 |
27 |
24 |
22 |
21 |
22 |
18 |
|
4 |
32 |
28 |
28 |
23 |
25 |
21 |
|
5 |
36 |
32 |
30 |
27 |
28 |
24 |
|
6 |
39 |
36 |
32 |
30 |
31 |
26 |
|
8 |
46 |
43 |
40 |
37 |
38 |
32 |
|
10 |
60 |
50 |
47 |
39 |
42 |
38 |
|
16 |
75 |
60 |
60 |
55 |
60 |
55 |
|
25 |
105 |
85 |
80 |
70 |
75 |
65 |
|
35 |
130 |
100 |
95 |
85 |
95 |
75 |
|
50 |
165 |
140 |
130 |
120 |
125 |
105 |
|
70 |
210 |
175 |
165 |
140 |
150 |
135 |
|
95 |
255 |
215 |
200 |
175 |
190 |
165 |
|
120 |
295 |
245 |
220 |
200 |
230 |
190 |
|
150 |
340 |
275 |
255 |
- |
- |
- |
|
185 |
390 |
- |
- |
- |
- |
- |
|
240 |
465 |
- |
- |
- |
- |
- |
|
300 |
535 |
- |
- |
- |
- |
- |
|
400 |
645 |
- |
- |
- |
- |
- |
Աղյուսակ N 6
Պղնձե ջղերով ռետինե մեկուսացմամբ եվ մետաղական պաշտպանիչ պատյանով հաղորդալարերի, ինչպես նաեվ պղնձե ջղերով, ռետինե մեկուսացմամբ եվ կապարե, պոլիվինիլքլորիդային, նաիրիտե կամ ռետինե թաղանթով, զրահապատ եվ ոչ զրահապատ մալուխների թույլատրելի երկարատեվ հոսանքները
|
Հոսանատար |
Հաղորդալարերի և մալուխների հոսանքը, Ա | ||||
|
միաջիղ |
երկջիղ |
եռաջիղ | |||
|
անցկացված | |||||
|
օդում |
օդում |
հողում |
օդում |
հողում | |
|
1,5 |
23 |
19 |
33 |
19 |
27 |
|
2,5 |
30 |
27 |
44 |
25 |
38 |
|
4 |
41 |
38 |
55 |
35 |
49 |
|
6 |
50 |
50 |
70 |
42 |
60 |
|
10 |
80 |
70 |
105 |
55 |
90 |
|
16 |
100 |
90 |
135 |
75 |
115 |
|
25 |
140 |
115 |
175 |
95 |
150 |
|
35 |
170 |
140 |
210 |
120 |
180 |
|
50 |
215 |
175 |
265 |
145 |
225 |
|
70 |
270 |
215 |
320 |
180 |
275 |
|
95 |
325 |
260 |
385 |
220 |
330 |
|
120 |
385 |
300 |
445 |
260 |
385 |
|
150 |
440 |
350 |
505 |
305 |
435 |
|
185 |
510 |
405 |
570 |
350 |
500 |
|
240 |
605 |
- |
- |
- |
- |
Աղյուսակ N 7
Ալյումինե ջղերով ռետինե կամ պլաստմասսայե մեկուսացմամբ եվ կապարե պոլիվինիլքլորիդային եվ ռետինե թաղանթով զրահապատ եվ ոչ զրահապատ մալուխների երկարատեվ թույլատրելի հոսանքները
|
Հոսանատար |
Մալուխների հոսանքը, Ա | ||||
|
միաջիղ |
երկջիղ |
եռաջիղ | |||
|
անցկացված | |||||
|
օդում |
օդում |
հողում |
օդում |
հողում | |
|
2,5 |
23 |
21 |
34 |
19 |
29 |
|
4 |
31 |
29 |
42 |
27 |
38 |
|
6 |
38 |
38 |
55 |
32 |
46 |
|
10 |
60 |
55 |
80 |
42 |
70 |
|
16 |
75 |
70 |
105 |
60 |
90 |
|
25 |
105 |
90 |
135 |
75 |
115 |
|
35 |
130 |
105 |
160 |
90 |
140 |
|
50 |
165 |
135 |
205 |
110 |
175 |
|
70 |
210 |
165 |
245 |
140 |
210 |
|
95 |
250 |
200 |
295 |
170 |
255 |
|
120 |
295 |
230 |
340 |
200 |
295 |
|
150 |
340 |
270 |
390 |
235 |
335 |
|
185 |
390 |
310 |
440 |
270 |
385 |
|
240 |
465 |
- |
- |
- |
- |
Աղյուսակ N 8
Փոխադրովի ճկափողային թեթԵՎ եվ միջին քուղերի, փոխադրովի ճկափողային ծանր մալուխների, հորանային ճկուն ճկափողային, լուսարձակային մալուխների եվ փոխադրովի, պղնձե ջղերով հաղորդալարերի թույլատրելի երկարատեվ հոսանքները
Հոսանատար ջղի Քուղերի, հաղորդալարերի և մալուխների հոսանքը, Ա միաջիղ երկջիղ եռաջիղ 0,5 - 12 - 0,75 - 16 14 1,0 - 18 16 1,5 - 23 20 2,5 40 33 28 4 50 43 36 6 65 55 45 10 90 75 60 16 120 95 80 25 160 125 105 35 190 150 130 50 235 185 160 70 290 235 200
հատույթը, մմ2
Աղյուսակ N 9
Փոխադրովի ճկափողային պղնձե ջղերով ռետինե մեկուսացմամբ տորֆ արդյունահանող կազմակերպությունների մալուխների թույլատրելի երկարատեվ հոսանքները
|
Հոսանատար ջղի |
Ըստ լարման ( կՎ) մալուխների հոսանքը, Ա | ||
|
0,5 |
3 |
6 | |
|
6 |
44 |
45 |
47 |
|
10 |
60 |
60 |
65 |
|
16 |
80 |
80 |
85 |
|
25 |
100 |
105 |
105 |
|
35 |
125 |
125 |
130 |
|
50 |
155 |
155 |
160 |
|
70 |
190 |
195 |
- |
Աղյուսակ N 10
Տանովի էլեկտրաընդունիչների պղնձե ջղերով ռետինե մեկուսացմամբ ճկափողային մալուխների թույլատրելի երկարատեվ հոսանքները
Հոսանատար ջղի Ըստ լարման (կՎ) Հոսանատար ջղի հատույթը, Ըստ լարման (կՎ) 3 6 3 6 16 85 90 70 215 220 25 115 120 95 260 265 35 140 145 120 305 310 50 175 180 150 345 350
հատույթը, մմ2
մալուխների հոսանքը, Ա
մմ2
մալուխների հոսանքը, Ա
Աղյուսակ N 11
1, 3 եվ 4 կՎ լարման էլեկտրիֆիկացված տրանսպորտի համար պղնձե ջղերով, ռետինե մեկուսացմամբ հաղորդալարերի թույլատրելի երկարատեվ հոսանքները
|
Հոսանատար ջղի |
Հոսանքը, |
Հոսանատար ջղի |
Հոսանքը, |
Հոսանատար ջղի |
Հոսանքը, |
|
1 |
20 |
16 |
115 |
120 |
390 |
|
1,5 |
25 |
25 |
150 |
150 |
445 |
|
2,5 |
40 |
35 |
185 |
185 |
505 |
|
4 |
50 |
50 |
230 |
240 |
590 |
|
6 |
65 |
70 |
285 |
300 |
670 |
|
10 |
90 |
95 |
340 |
350 |
745 |
Աղյուսակ N 12
Տուփախողովակներում անցկացված հաղորդալարերի եվ մալուխների ցածրացնող գործակիցները
|
Անցկացման |
Անցկացված հաղորդալարերի |
Հաղորդալարերի և մալուխների | ||
|
միաջիղ |
բազմաջիղ |
մինչև 0,7 օգտագործման |
էլեկտրաընդունիչների խումբ և | |
|
Բազմաշերտ |
- |
մինչև 4 |
1,0 |
- |
|
2 |
5-6 |
0,85 |
- | |
|
3-9 |
7-9 |
0,75 |
- | |
|
10-11 |
10-11 |
0,7 |
- | |
|
12-14 |
12-14 |
0,65 |
- | |
|
15-18 |
15-18 |
0,6 |
- | |
|
Միաշերտ |
2-4 |
2-4 |
- |
0,67 |
|
5 |
5 |
- |
0,6 | |
9. ՆԵՐԾԾՎԱԾ ԹՂԹԵ ՄԵԿՈՒՍԱՑՄԱՄԲ ՄԱԼՈՒԽՆԵՐԻ ԹՈՒՅԼԱՏՐԵԼԻ ԵՐԿԱՐԱՏԵՎ ՀՈՍԱՆՔՆԵՐԸ
1) Մինչև 1 կՎ ներծծված թղթե մեկուսացմամբ, կապարե, ալյումինե կամ պոլիվինիլքլորիդային պատյանով մալուխների թույլատրելի երկարատև հոսանքներն ընդունված են մալուխների ջղերի թույլատրելի ջերմաստիճաններին համապատասխան`
|
Անվանական լարումը, կՎ |
մինչև - |
|
|
|
|
|
3 |
6 |
10 |
20 և 35 |
|
Մալուխի ջղի թույլատրելի |
+ 80 |
+ 65 |
+ 60 |
+ 50 |
2) Հողում անցկացված մալուխների համար թույլատրելի երկարատև հոսանքները նշված են սույն բաժնի NN 13, 16, 19-22 աղյուսակներում:
Աղյուսակ N 13
Պղնձե ջղերով, յուղախեժային եվ չծորացող զանգվածով ներծծված թղթե մեկուսացմամբ, կապարե թաղանթով, հողում անցկացված մալուխների թույլատրելի երկարատեվ հոսանքները
|
Հոսանատար |
Մալուխների հոսանքը, Ա | |||||
|
միաջիղ, |
երկջիղ, |
եռաջիղ, լարումը, կՎ |
քառաջիղ, | |||
|
մինչև 3 |
6 |
10 | ||||
|
1 |
2 |
3 |
4 |
5 |
6 |
7 |
|
6 |
- |
80 |
70 |
- |
- |
- |
|
10 |
140 |
105 |
95 |
80 |
- |
85 |
|
16 |
175 |
140 |
120 |
105 |
95 |
115 |
|
25 |
235 |
185 |
160 |
135 |
120 |
150 |
|
35 |
285 |
225 |
190 |
160 |
150 |
175 |
|
50 |
360 |
270 |
235 |
200 |
180 |
215 |
|
70 |
440 |
325 |
285 |
245 |
215 |
265 |
|
95 |
520 |
380 |
340 |
295 |
265 |
310 |
|
120 |
595 |
435 |
390 |
340 |
310 |
350 |
|
150 |
675 |
500 |
435 |
390 |
355 |
395 |
|
185 |
755 |
- |
490 |
440 |
400 |
450 |
|
240 |
880 |
- |
570 |
510 |
460 |
- |
|
300 |
1000 |
- |
- |
- |
- |
- |
|
400 |
1220 |
- |
- |
- |
- |
- |
|
500 |
1400 |
- |
- |
- |
- |
- |
|
625 |
1520 |
- |
- |
- |
- |
- |
|
800 |
1700 |
- |
- |
- |
- |
- |
Դրանք ընտրված են 0,7-ից մինչև 1,0 մ խորությամբ խրամուղիներում մեկից ոչ ավելի անցկացված, հողի 150C ջերմաստիճանի և 1,2 մ 0C/Վտ տեսակարար ջերմային դիմադրության հաշվարկից ելնելով:
1,2 մ 0C/Վտ-ից տարբեր հողի տեսակարար ջերմային դիմադրության դեպքում անհրաժեշտ է մինչ սույն կետում նշված աղյուսակներում հոսանքային բեռնվածքների նկատմամբ կիրառել սույն բաժնի 23-րդ աղյուսակում նշված ուղղման գործակիցները:
3) Ջրում անցկացված մալուխների համար թույլատրելի երկարատև հոսանքները նշված են սույն բաժնի NN 14, 17, 21 և 22 աղյուսակներում: Դրանք ընդունված են 150C ջրի ջերմաստիճանի հաշվարկով:
Աղյուսակ N 14
Պղնձե ջղերով, յուղախեժային եվ չծորացող զանգվածով ներծծված թղթե մեկուսացմամբ, կապարե թաղանթով, ջրում անցկացված մալուխների թույլատրելի երկարատեվ հոսանքները
|
Հոսանատար ջղի |
Մալուխների հոսանքը, Ա | |||
|
եռաջիղ, լարումը, կՎ |
քառաջիղ, | |||
|
մինչև 3 |
6 |
10 |
| |
|
16 |
- |
135 |
120 |
- |
|
25 |
210 |
170 |
150 |
195 |
|
35 |
250 |
205 |
180 |
230 |
|
50 |
305 |
255 |
220 |
285 |
|
70 |
375 |
310 |
275 |
350 |
|
95 |
440 |
375 |
340 |
410 |
|
120 |
505 |
430 |
395 |
470 |
|
150 |
565 |
500 |
450 |
- |
|
185 |
615 |
545 |
510 |
- |
|
240 |
715 |
625 |
585 |
- |
Աղյուսակ N 15
Պղնձե ջղերով, յուղախեժային եվ չծորացող զանգվածով ներծծված թղթե մեկուսացմամբ, կապարե թաղանթով, օդում անցկացված մալուխների թույլատրելի երկարատեվ հոսանքները
|
Հոսանատար |
Մալուխների հոսանքը, Ա | |||||
|
միաջիղ, 1 կՎ-ից ցածր |
երկջիղ,1 կՎ-ից ցածր |
եռաջիղ, լարումը, կՎ |
քառաջիղ,1 կՎ-ից ցածր | |||
|
մինչև 3 |
6 |
10 | ||||
|
6 |
- |
55 |
45 |
- |
- |
- |
|
10 |
95 |
75 |
60 |
55 |
- |
60 |
|
16 |
120 |
95 |
80 |
65 |
60 |
80 |
|
25 |
160 |
130 |
105 |
90 |
85 |
100 |
|
35 |
200 |
150 |
125 |
110 |
105 |
120 |
|
50 |
245 |
185 |
155 |
145 |
135 |
145 |
|
70 |
305 |
225 |
200 |
175 |
165 |
185 |
|
95 |
360 |
275 |
245 |
215 |
200 |
215 |
|
120 |
415 |
320 |
285 |
250 |
240 |
260 |
|
150 |
470 |
375 |
330 |
290 |
270 |
300 |
|
185 |
525 |
- |
375 |
325 |
305 |
340 |
|
240 |
610 |
- |
430 |
375 |
350 |
- |
|
300 |
720 |
- |
- |
- |
- |
- |
|
400 |
880 |
- |
- |
- |
- |
- |
|
500 |
1020 |
- |
- |
- |
- |
- |
|
625 |
1180 |
- |
- |
- |
- |
- |
|
800 |
1400 |
- |
- |
- |
- |
- |
Աղյուսակ N 16
Ալյումինե ջղերով, յուղախեժային եվ չծորացող զանգվածով ներծծված թղթե մեկուսացմամբ, կապարե կամ ալյումինե թաղանթով, հողում անցկացված մալուխների թույլատրելի երկարատեվ հոսանքները
|
Հոսանատար ջղի հատույթը, |
Մալուխների հոսանքը, Ա | |||||
|
միաջիղ, |
երկջիղ, |
եռաջիղ, լարումը, կՎ |
քառաջիղ, | |||
|
մինչև 3 |
6 |
10 | ||||
|
6 |
- |
60 |
55 |
- |
- |
- |
|
10 |
110 |
80 |
75 |
60 |
- |
65 |
|
16 |
135 |
110 |
90 |
80 |
75 |
90 |
|
25 |
180 |
140 |
125 |
105 |
90 |
115 |
|
35 |
220 |
175 |
145 |
125 |
115 |
135 |
|
50 |
275 |
210 |
180 |
155 |
140 |
165 |
|
70 |
340 |
250 |
220 |
190 |
165 |
200 |
|
95 |
400 |
290 |
260 |
225 |
205 |
240 |
|
120 |
460 |
335 |
300 |
260 |
240 |
270 |
|
150 |
520 |
385 |
335 |
300 |
275 |
305 |
|
185 |
580 |
- |
380 |
340 |
310 |
345 |
|
240 |
675 |
- |
440 |
390 |
355 |
- |
|
300 |
770 |
- |
- |
- |
- |
- |
|
400 |
940 |
- |
- |
- |
- |
- |
|
500 |
1080 |
- |
- |
- |
- |
- |
|
625 |
1170 |
- |
- |
- |
- |
- |
|
800 |
1310 |
- |
- |
- |
- |
|
Աղյուսակ N 17
Ալյումինե ջղերով, յուղախեժային եվ չծորացող զանգվածով ներծծված թղթե մեկուսացմամբ, կապարե թաղանթով, ջրում անցկացված մալուխների թույլատրելի երկարատեվ հոսանքները
|
Հոսանատար ջղի հատույթը, |
Մալուխների հոսանքը, Ա | |||
|
եռաջիղ, լարումը, կՎ |
քառաջիղ, | |||
|
մինչև 3 |
6 |
10 | ||
|
16 |
- |
105 |
90 |
- |
|
25 |
160 |
130 |
115 |
150 |
|
35 |
190 |
160 |
140 |
175 |
|
50 |
235 |
195 |
170 |
220 |
|
70 |
290 |
240 |
210 |
270 |
|
95 |
340 |
290 |
260 |
315 |
|
120 |
390 |
330 |
305 |
360 |
|
150 |
435 |
385 |
345 |
- |
|
185 |
475 |
420 |
390 |
- |
|
240 |
550 |
480 |
450 |
- |
Աղյուսակ N 18
Ալյումինե ջղերով, յուղախեժային եվ չծորացող զանգվածով ներծծված թղթե մեկուսացմամբ, կապարե կամ ալյումինե թաղանթով, օդում անցկացված մալուխների թույլատրելի երկարատեվ հոսանքները
|
Հոսանատար ջղի |
Մալուխների հոսանքը, Ա | |||||
|
միաջիղ, |
երկջիղ, |
եռաջիղ, լարումը, կՎ |
քառաջիղ, | |||
|
մինչև 3 |
6 |
10 | ||||
|
6 |
- |
42 |
35 |
- |
- |
- |
|
10 |
75 |
55 |
46 |
42 |
- |
45 |
|
16 |
90 |
75 |
60 |
50 |
46 |
60 |
|
25 |
125 |
100 |
80 |
70 |
65 |
75 |
|
35 |
155 |
115 |
95 |
85 |
80 |
95 |
|
50 |
190 |
140 |
120 |
110 |
105 |
110 |
|
70 |
235 |
175 |
155 |
135 |
130 |
140 |
|
95 |
275 |
210 |
190 |
165 |
155 |
165 |
|
120 |
320 |
245 |
220 |
190 |
185 |
200 |
|
150 |
360 |
290 |
255 |
225 |
210 |
230 |
|
185 |
405 |
- |
290 |
250 |
235 |
260 |
|
240 |
470 |
- |
330 |
290 |
270 |
- |
|
300 |
555 |
- |
- |
- |
- |
- |
|
400 |
675 |
- |
- |
- |
- |
- |
|
500 |
785 |
- |
- |
- |
- |
- |
|
625 |
910 |
- |
- |
- |
- |
- |
|
800 |
1080 |
- |
- |
- |
- |
- |
Աղյուսակ N 19
Պղնձե ջղերով, աղքատիկ-ներծծված մեկուսացմամբ, եռաջիղ, ընդհանուր կապարե թաղանթով, 6 կՎ լարման, հողում եվ օդում անցկացված մալուխների թույլատրելի երկարատեվ հոսանքները
|
Հոսանատար ջղի |
Մալուխների հոսանքը, Ա, |
Հոսանատար ջղի |
Մալուխների հոսանքը, Ա, | ||
|
հողում |
օդում |
հողում |
օդում | ||
|
16 |
90 |
65 |
70 |
220 |
170 |
|
25 |
120 |
90 |
95 |
265 |
210 |
|
35 |
145 |
110 |
120 |
310 |
245 |
|
50 |
180 |
140 |
150 |
355 |
290 |
Աղյուսակ N 20
Ալյումինե ջղերով, աղքատիկ-ներծծված մեկուսացմամբ, եռաջիղ, ընդհանուր կապարե թաղանթով, 6 կՎ լարման, հողում եվ օդում անցկացված մալուխների թույլատրելի երկարատեվ հոսանքները
Հոսանատար Մալուխների հոսանքը, Ա, անցկացված Հոսանքատար ջղի Մալուխների հոսանքը, Ա, անցկացված հողում օդում հողում օդում 16 70 50 70 170 130 25 90 70 95 205 160 35 110 85 120 240 190 50 140 110 150 275 225
ջղի հատույթը,
մմ2
հատույթը,
մմ2
Աղյուսակ N 21
Առանձին կապարապատ, պղնձե ջղերով, յուղախեժային եվ չծորացող զանգվածով ներծծված թղթե մեկուսացմամբ, հողում, ջրում, օդում անցկացված մալուխների թույլատրելի երկարատեվ հոսանքները
|
Հոսանատար ջղի |
Եռաջիղ մալուխների հոսանքը, Ա, ըստ լարման, կՎ | |||||
|
20 |
35 | |||||
|
անցկացված | ||||||
|
հողում |
ջրում |
օդում |
հողում |
ջրում |
օդում | |
|
25 |
110 |
120 |
85 |
- |
- |
- |
|
35 |
135 |
145 |
100 |
- |
- |
- |
|
50 |
165 |
180 |
120 |
- |
- |
- |
|
70 |
200 |
225 |
150 |
- |
- |
- |
|
95 |
240 |
275 |
180 |
- |
- |
- |
|
120 |
275 |
315 |
205 |
270 |
290 |
205 |
|
150 |
315 |
350 |
230 |
310 |
- |
230 |
|
185 |
355 |
390 |
265 |
- |
- |
- |
Աղյուսակ N 22
Առանձին կապարապատ ալյումինե ջղերով, յուղախեժային եվ չծորացող զանգվածով ներծծված թղթե մեկուսացմամբ, հողում, ջրում, օդում անցկացված մալուխների թույլատրելի երկարատեվ հոսանքները
|
Հոսանատար |
Եռաջիղ մալուխների հոսանքը, Ա, ըստ լարման, կՎ | |||||
|
20 |
35 | |||||
|
անցկացված | ||||||
|
հողում |
ջրում |
օդում |
հողում |
ջրում |
օդում | |
|
25 |
85 |
90 |
65 |
- |
- |
- |
|
35 |
105 |
110 |
75 |
- |
- |
- |
|
50 |
125 |
140 |
90 |
- |
- |
- |
|
70 |
155 |
175 |
115 |
- |
- |
- |
|
95 |
185 |
210 |
140 |
- |
- |
- |
|
120 |
210 |
245 |
160 |
210 |
225 |
160 |
|
150 |
240 |
270 |
175 |
240 |
- |
175 |
|
185 |
275 |
300 |
205 |
- |
- |
- |
Աղյուսակ N 23
Հողում անցկացված մալուխների թույլատրելի երկարատեվ հոսանքների ուղղման գործակիցները` կախված հողի տեսակարար ջերմային դիմադրությունից
|
Հողի բնութագիրը |
Տեսակարար |
Ուղղման գործակիցը |
|
Ավազ` 9%-ից ավելի խոնավությամբ, ավազակավային հող` 1%-ից ավելի խոնավությամբ |
0.8 |
1,05 |
|
Բնականոն հողեր և 7%-ից մինչև 9% խոնավությամբ ավազ, 12%-ից մինչև 14% խոնավությամբ ավազակավային հող |
1.2 |
1,00 |
|
Ավազ` 4%-ից ավելի և 7%-ից պակաս խոնավությամբ, |
2.0 |
0,87 |
|
8 %-ից մինչև 12% խոնավությամբ ավազակավային հող |
|
|
|
Ավազը` մինչև 4% խոնավությամբ, քարքարոտ հող |
3.0 |
0,75 |
4) Օդում, շենքերի ներսում և դրսում անցկացված մալուխների համար մալուխների ցանկացած թվի և օդի 250C ջերմաստիճանի դեպքում թույլատրելի երկարատև հոսանքները նշված են սույն բաժնի NN 15, 18-22, 24 և 25 աղյուսակներում: N 24 աղյուսակում համարիչում նշված են մեկ հարթության մեջ 35-ից մինչև 125 մմ միջանցիկ հեռավորությամբ դասավորված մալուխների հոսանքները, հայտարարում` կիպ, եռանկյունաձև դասավորված մալուխների հոսանքները: N 25 աղյուսակում համարիչում նշված են մեկ հարթության մեջ, 35-ից մինչև 125 մմ միջանցիկ հեռավորությամբ դասավորված մալուխների հոսանքները, հայտարարում` կիպ, եռանկյունաձև դասավորված մալուխների հոսանքները:
5) Հողում` խողովակների մեջ անցկացված միայնակ մալուխների թույլատրելի երկարատև հոսանքները պետք է ընդունվեն` ինչպես հողի ջերմաստիճանն ունեցող օդում անցկացված այդ նույն մալուխներինը:
6) Մալուխների խառն անցկացման դեպքում թույլատրելի երկարատև հոսանքները պետք է ընդունել ուղեգծի հովացման ամենավատ պայմաններով տեղամասի համար, եթե այդ տեղամասի երկարությունը 10 մ-ից ավելի է: Խորհուրդ է տրվում նշված դեպքերում կիրառել մեծ հատույթով մալուխային հատվածամասեր:
7) Հողում (ինչպես նաև խողովակներում) մի քանի մալուխների անցկացման դեպքում թույլատրելի երկարատև հոսանքները պետք է փոքրացվեն սույն բաժնի N 26 աղյուսակում նշված գործակիցների օգնությամբ: Այսպիսի դեպքերում պահուստային մալուխները չպետք է հաշվի առնվեն:
Հողում մի քանի մալուխների անցկացումը, երբ դրանց միջև հեռավորությունը 10 մմ-ից պակաս է, խորհուրդ չի տրվում:
8) Յուղագազալեցուն միաջիղ զրահապատ մալուխների, ինչպես նաև նոր կառուցվածքի այլ մալուխների թույլատրելի երկարատև հոսանքները պետք է սահմանվեն շահագործման փաստաթղթերում:
9) Բլոկներում անցկացված մալուխների թույլատրելի երկարատև հոսանքներն անհրաժեշտ է որոշել էմպիրիկ բանաձևով`
I = a · b · c · I0,
որտեղ` I0-ն սույն բաժնի N 27 աղյուսակով որոշված պղնձե կամ ալյումինե ջղերով, եռաջիղ, 10 կՎ լարման մալուխի թույլատրելի երկարատև հոսանքն է, a-ն N 28 աղյուսակով ընտրված գործակից է` կախված մալուխի հատույթից և բլոկում ունեցած դասավորությունից, b -ն գործակից է` որոշվող մալուխի լարումից`
|
մալուխի անվանական լարումը, կՎ |
մինչև 3 |
6 |
10 |
|
b գործակիցը |
1,09 |
1,05 |
1,0 |
|
c -ն գործակից է` որոշվող ամբողջ բլոկի միջին օրական բեռնվածությունից |
|
|
|
|
միջին օրական բեռնվածությունը, Sմիջ.օր/Sանվ |
1 |
0,85 |
0,7 |
|
c գործակիցը |
1 |
1,07 |
1,16 |
Պահուստային մալուխները թույլատրվում է անցկացնել բլոկների չհամարակալված ուղիներում, եթե դրանք աշխատում են, երբ անջատված են աշխատանքային մալուխները:
10) Նույն եզրաձևի երկու զուգահեռ բլոկներում անցկացված մալուխների թույլատրելի երկարատև հոսանքները պետք է փոքրացվեն` բազմապատկելով այն գործակցով, որն ընտրվում է` ըստ բլոկների միջև եղած հեռավորության`
| բլոկների միջև հեռավորությունը, մմ |
500 |
1000 |
1500 |
2000 |
2500 |
3000 |
| գործակիցը |
0,85 |
0,89 |
0,91 |
0,93 |
0,96 |
0,96 |
Աղյուսակ N 24
Պղնձե ջղով, յուղախեժային եվ չծորացող զանգվածով ներծծված թղթե մեկուսացմամբ, միաջիղ, կապարե թաղանթով ոչ զրահապատ, օդում անցկացված մալուխների թույլատրելի երկարատեվ հոսանքները
Հոսանատար ջղի Հոսանքը, Ա, կՎ լարմամբ մալուխների համար մինչև 3 20 35 10 85/- - - 16 120/- - - 25 145/- 105/110 - 35 170/- 125/135 - 50 215/- 155/165 - 70 260/- 185/205 - 95 305/- 220/255 - 120 330/- 245/290 240/265 150 360/- 270/330 265/300 185 385/- 290/360 285/335 240 435/- 320/395 315/380 300 460/- 350/425 340/420 400 485/- 370/450 - 500 505/- - - 625 525/- - - 800 550/- - -
հատույթը, մմ2
Աղյուսակ N 25
Ալյումինե ջղով, յուղախեժային եվ չծորացող զանգվածով ներծծված թղթե մեկուսացմամբ միաջիղ, կապարե կամ ալյումինե թաղանթով, ոչ զրահապատ, օդում անցկացված մալուխների թույլատրելի երկարատեվ հոսանքները
Հոսանատար ջղի Հոսանքը, Ա, կՎ լարմամբ մալուխների համար մինչև 3 20 35 10 65/- - - 16 90/- - - 25 110/- 80/85 - 35 130/- 95/105 - 50 165/- 120/130 - 70 200/- 140/160 - 95 235/- 170/195 - 120 255/- 190/225 185/205 150 275/- 210/255 205/230 185 295/- 225/275 220/255 240 335/- 245/305 245/290 300 355/- 270/330 260/330 400 375/- 285/350 - 500 390/- - - 625 405/- - - 800 425/- - -
հատույթը, մմ2
Աղյուսակ N 26
Հողում (խողովակներում կամ առանց խողովակի) կողք կողքի դասավորված աշխատող մալուխների թվի ուղղման գործակիցը
|
Մալուխների միջև միջանցիկ |
Գործակիցը մալուխների թվի դեպքում | |||||
|
1 |
2 |
3 |
4 |
5 |
6 | |
|
100 |
1,00 |
0,90 |
0,85 |
0,80 |
0,78 |
0,75 |
|
200 |
1,00 |
0,92 |
0,87 |
0,84 |
0,82 |
0,81 |
|
300 |
1,00 |
0,93 |
0,90 |
0,87 |
0,86 |
0,85 |
Աղյուսակ N 27
ՊՂՆՁԵ ԿԱՄ ԱԼՅՈՒՄԻՆԵ 95 ՄՄ2 ՀԱՏՈՒՅԹԻ ԲԼՈԿՆԵՐՈՒՄ ԱՆՑԿԱՑՎԱԾ 10 ԿՎ ԼԱՐՄԱՄԲ ՄԱԼՈՒԽՆԵՐԻ ԹՈՒՅԼԱՏՐԵԼԻ ԵՐԿԱՐԱՏԵՎ ՀՈՍԱՆՔՆԵՐԸ
Աղյուսակ N 28
Մալուխի հատույթի a ուղղման գործակիցը
Հոսանատար ջղի Բլոկում անցուղու համարի գործակիցը 1 2 3 4 25 0,44 0,46 0,47 0,51 35 0,54 0,57 0,57 0,60 50 0,67 0,69 0,69 0,71 70 0,81 0,84 0,84 0,85 95 1,00 1,00 1,00 1,00 120 1,14 1,13 1,13 1,12 150 1,33 1,30 1,29 1,26 185 1,50 1,46 1,45 1,38 240 1,78 1,70 1,68 1,55
հատույթը, մմ2
10. ՉՄԵԿՈՒՍԱՑՎԱԾ ՀԱՂՈՐԴԱԼԱՐԵՐԻ ԵՎ ՀԱՂՈՐԴԱՁՈՂԵՐԻ ԹՈՒՅԼԱՏՐԵԼԻ ԵՐԿԱՐԱՏԵՎ ՀՈՍԱՆՔՆԵՐԸ
1) Չմեկուսացված հաղորդալարերի և ներկված հաղորդաձողերի համար թույլատրելի երկարատև հոսանքները նշված են սույն բաժնի NN 29-35 աղյուսակներում: Դրանք ընդունված են թույլատրելի տաքացման 700C ջերմաստիճանի հաշվարկով` օդի 250C ջերմաստիճանի դեպքում:
Սնամեջ ալյումինե ՊԱ500 (ПА500) և ՊԱ600 (ПА600) մակնիշի հաղորդալարերի թույլատրելի երկարատև հոսանքը հարկ է ընդունել`
|
հաղորդալարի մակնիշը |
ՊԱ500 | ՊԱ600 |
|
հոսանքը, Ա |
1340 | 1680 |
2) Ուղղանկյուն հատույթով հաղորդաձողերի տափակողմային դասավորության դեպքում սույն բաժնի N 33 աղյուսակում նշված հոսանքները պետք է փոքրացվեն 5%-ով` շերտերի մինչև 60 մմ լայնությամբ հոսանաձողերի համար, և 8%-ով` շերտերի 60 մմ-ից ավելի լայնությամբ հոսանաձողերի համար:
3) Մեծ հատույթներով հաղորդաձողերի ընտրման դեպքում անհրաժեշտ է ընտրել ըստ թողունակության պայմանների ամենախնայողական կառուցվածքային լուծումները, որոնք կապահովեն նվազագույն լրացուցիչ կորուստներ մակերևույթային և մոտակայության էֆեկտներից, ինչպես նաև հովացման ամենալավ պայմանները (փաթեթում շերտերի թվի պակասեցում, փաթեթի արդյունավետ կառուցվածք, պրոֆիլային հաղորդաձողերի կիրառում և այլն):
Աղյուսակ N 29
Չմեկուսացված հաղորդալարերի թույլատրելի երկարատեվ հոսանքները (ըստ ԳՕՍՏ 839 ստանդարտի)
Հոսանքը, Ա, ըստ հաղորդալարերի մակնիշի Անվանական Հատույթը ԱՍ (AC), ԱՍԿՍ(ACKC), Մ(M) Ա(A) և Մ(M) Ա(A) և շինությու- շինու- շինությունից շինության 10 10/1,8 84 53 95 - 60 - 16 16/2,7 111 79 133 105 102 75 25 25/4,2 142 109 183 136 137 106 35 35/6,2 175 135 223 170 173 130 50 50/8 210 165 275 215 219 165 70 70/11 265 210 337 265 268 210 95 95/16 330 260 422 320 341 255 120/19 390 313 485 375 395 300 120 120/27 375 - 150/19 450 365 570 440 465 355 150 150/24 450 365 150/34 450 - 185/24 520 430 650 500 540 410 185 185/29 510 425 185/43 515 - 240/32 605 505 760 590 685 490 240 240/39 610 505 240/56 610 - 300/39 710 600 880 680 740 570 300 300/48 690 585 300/66 680 - 330 330/27 730 - - - - - 400/22 830 713 1050 815 895 690 400 400/51 825 705 400/64 860 - 500 500/27 960 830 - 980 - 820 500/64 945 815 600 600/72 1050 920 - 1100 - 955 700 700/86 1180 1040 - - - -
հատույթը,
մմ2
(ալյումին/
պողպատ),
մմ2
ԱՍԿ(ACK),
ԱՍԿկ(ACKk)
ԱԿկ
(AKk)
ԱԿկ
(AKk)
նից դուրս
թյան
ներսում
դուրս
ներսում
Աղյուսակ N 30
Կլոր եվ խողովակաձեվ հատույթով հաղորդաձողերի թույլատրելի երկարատեվ հոսանքները (համարիչում նշված են բեռնվածքները փոփոխական հոսանքի դեպքում, իսկ հայտարարում` հաստատուն հոսանքի դեպքում)
|
Տրամագիծը, |
Կլոր հաղորդաձողերի |
Պղնձե խողովակների |
Ալյումինե խողովակների |
Պողպատե խողովակների | |||||||
|
հոսանքը, Ա |
ներքին/ |
հոսանքը, Ա |
ներքին/ |
հոսանքը, |
պայմանա- |
պատի |
արտաքին |
փոփոխական | |||
|
պղնձե |
ալյումինե |
առանց |
երկայ- | ||||||||
|
6 |
155/155 |
120/120 |
12/15 |
340 |
13/16 |
295 |
8 |
2,8 |
13,5 |
75 |
- |
|
7 |
195/195 |
150/150 |
14/18 |
460 |
17/20 |
345 |
10 |
2,8 |
17,0 |
90 |
- |
|
8 |
235/235 |
180/180 |
16/20 |
505 |
18/22 |
425 |
15 |
3,2 |
21,3 |
118 |
- |
|
10 |
320/320 |
245/245 |
18/22 |
555 |
27/30 |
500 |
20 |
3,2 |
26,8 |
145 |
- |
|
12 |
415/415 |
320/320 |
20/24 |
600 |
26/30 |
575 |
25 |
4,0 |
33,5 |
180 |
- |
|
14 |
505/505 |
390/390 |
22/26 |
650 |
25/30 |
640 |
32 |
4,0 |
42,3 |
220 |
- |
|
15 |
565/565 |
435/435 |
25/30 |
830 |
36/40 |
765 |
40 |
4,0 |
48,0 |
255 |
- |
|
16 |
610/615 |
475/475 |
29/34 |
925 |
35/40 |
850 |
50 |
4,5 |
60,0 |
320 |
- |
|
18 |
720/725 |
560/560 |
35/40 |
1100 |
40/45 |
935 |
65 |
4,5 |
75,5 |
390 |
- |
|
19 |
780/785 |
605/610 |
40/45 |
1200 |
45/50 |
1040 |
80 |
4,5 |
88,5 |
455 |
- |
|
20 |
835/840 |
650/655 |
45/50 |
1330 |
50/55 |
1150 |
100 |
5,0 |
114 |
670 |
770 |
|
21 |
900/905 |
695/700 |
49/55 |
1580 |
54/60 |
1340 |
125 |
5,5 |
140 |
800 |
890 |
|
22 |
955/965 |
740/745 |
53/60 |
1860 |
64/70 |
1545 |
150 |
5,5 |
165 |
900 |
1000 |
|
25 |
1140/1165 |
885/900 |
62/70 |
2295 |
74/80 |
1770 |
- |
- |
- |
- |
- |
|
27 |
1270/1290 |
980/1000 |
72/80 |
2610 |
72/80 |
2035 |
- |
- |
- |
- |
- |
|
28 |
1325/1360 |
1025/1050 |
75/85 |
3070 |
75/85 |
2400 |
- |
- |
- |
- |
- |
|
30 |
1450/1490 |
1120/1155 |
90/95 |
2460 |
90/95 |
1925 |
- |
- |
- |
- |
- |
|
35 |
1770/1865 |
1370/1450 |
95/100 |
3060 |
90/100 |
2840 |
- |
- |
- |
- |
- |
|
38 |
1960/2100 |
1510/1620 |
- |
- |
- |
- |
- |
- |
- |
- |
- |
|
40 |
2080/2260 |
1610/1750 |
- |
- |
- |
- |
- |
- |
- |
- |
- |
|
42 |
2200/2430 |
1700/1870 |
- |
- |
- |
- |
- |
- |
- |
- |
- |
|
45 |
2380/2670 |
1850/2060 |
- |
- |
- |
- |
- |
- |
- |
- |
- |
Աղյուսակ N 31
Ուղղանկյուն հատույթով հաղորդաձողերի թույլատրելի երկարատեվ հոսանքը
(համարիչում նշված են փոփոխական հոսանքի, իսկ հայտարարում` հաստատուն հոսանքի արժեքները)
|
Չափերը, մմ |
Պղնձե հաղորդաձողեր |
Ալյումինե հաղորդաձողեր |
Պողպատե հաղորդաձողերի | |||||||
|
հոսանքը, Ա, ըստ ֆազում կամ բևեռում ունեցած շերտերի թվի |
չափերը, մմ |
հոսանքը, Ա | ||||||||
|
1 |
2 |
3 |
4 |
1 |
2 |
3 |
4 | |||
|
15x3 |
210 |
- |
- |
- |
165 |
- |
- |
- |
16x2,5 |
55/70 |
|
20x3 |
275 |
- |
- |
- |
215 |
- |
- |
- |
20x2,5 |
60/90 |
|
25x3 |
340 |
- |
- |
- |
265 |
- |
- |
- |
25x2,5 |
75/110 |
|
30x4 |
475 |
- |
- |
- |
365/370 |
- |
- |
- |
20x3 |
65/100 |
|
40x4 |
625 |
-/1090 |
- |
- |
480 |
-/855 |
- |
- |
25x3 |
80/120 |
|
40x5 |
700/705 |
-/1250 |
- |
- |
540/545 |
-/965 |
- |
- |
30x3 |
95/140 |
|
50x5 |
860/870 |
-/1525 |
-/1895 |
- |
665/670 |
-/1180 |
-/1470 |
- |
40x3 |
125/190 |
|
50x6 |
955/960 |
-/1700 |
-/2145 |
- |
740/745 |
-/1315 |
-/1655 |
- |
50x3 |
155/230 |
|
60x6 |
1125/1145 |
1740/1990 |
2240/2495 |
- |
870/880 |
1350/1555 |
1720/1940 |
- |
60x3 |
185/280 |
|
80x6 |
1480/1510 |
2110/2630 |
2720/3220 |
- |
1150/1170 |
1630/2055 |
2100/2460 |
- |
70x3 |
215/320 |
|
100x6 |
1810/1875 |
2470/3245 |
3170/3940 |
- |
1425/1455 |
1935/2515 |
2500/3040 |
- |
75x3 |
230/345 |
|
60x8 |
1320/1345 |
2160/2485 |
2790/3020 |
- |
1025/1040 |
1680/1840 |
2180/2330 |
- |
80x3 |
245/365 |
|
80x8 |
1690/1755 |
2620/3095 |
3370/3850 |
- |
1320/1355 |
2040/2400 |
2620/2975 |
- |
90x3 |
275/410 |
|
100x8 |
2080/2180 |
3060/3810 |
3930/4690 |
- |
1625/1690 |
2390/2945 |
3050/3620 |
- |
100x3 |
305/460 |
|
120x8 |
2400/2600 |
3400/4400 |
4340/5600 |
- |
1900/2040 |
2650/3350 |
3380/4250 |
- |
20x4 |
70/115 |
|
60x10 |
1475/1525 |
2560/2725 |
3300/3530 |
- |
1155/1180 |
2010/2110 |
2650/2720 |
- |
22x4 |
75/125 |
|
80x10 |
1900/1990 |
3100/3510 |
3990/4450 |
- |
1480/1540 |
2410/2735 |
3100/3440 |
- |
25x4 |
85/140 |
|
100x10 |
2310/2470 |
3610/4325 |
4650/5385 |
5300/6060 |
1820/1910 |
2860/3350 |
3650/4160 |
4150/4400 |
30x4 |
100/165 |
|
120x10 |
2650/2950 |
4100/5000 |
5200/6250 |
5900/6800 |
2070/2300 |
3200/3900 |
4100/4860 |
4650/5200 |
40x4 |
130/220 |
|
|
|
|
|
|
|
|
|
|
50x4 |
165/270 |
|
|
|
|
|
|
|
|
|
|
60x4 |
195/325 |
|
|
|
|
|
|
|
|
|
|
70x4 |
225/375 |
|
|
|
|
|
|
|
|
|
|
80x4 |
260/430 |
|
|
|
|
|
|
|
|
|
|
90x4 |
290/480 |
|
|
|
|
|
|
|
|
|
|
100x4 |
325/535 |
Աղյուսակ N 32
Չմեկուսացված բրոնզե եվ պողպատաբրոնզե հաղորդալարերի թույլատրելի երկարատեվ հոսանքները
(հոսանքները նշված են r20 = 0,03 Օմ.մմ2/մ տեսակարար դիմադրությամբ բրոնզի համար)
|
Հաղորդալարը |
Մակնիշը |
Հոսանքը, Ա |
|
Բրոնզե |
Բ(ը) -50 |
215 |
|
|
Բ(ը) -70 |
265 |
|
|
Բ(ը) -95 |
330 |
|
|
Բ(ը) -120 |
380 |
|
|
Բ(ը) -150 |
430 |
|
|
Բ(ը) -185 |
500 |
|
|
Բ(ը) -240 |
600 |
|
|
Բ(ը) -300 |
700 |
|
Պողպատաբրոնզե |
ԲՍ(ըհ) -185 |
515 |
|
|
ԲՍ(ըհ) -240 |
640 |
|
|
ԲՍ(ըհ) -300 |
750 |
|
|
ԲՍ(ըհ) -400 |
890 |
|
|
ԲՍ(ըհ) -500 |
980 |
Աղյուսակ N 33
Չմեկուսացված պողպատե հաղորդալարերի թույլատրելի երկարատեվ հոսանքները
Հաղորդալարի մակնիշը Հոսանքը, Ա Հաղորդալարի մակնիշը Հոսանքը, Ա ՊՍՕ(կհԿ) -3 23 ՊՍ(կհ) -25 60 ՊՍՕ(կհԿ) -3,5 26 ՊՍ(կհ) -35 75 ՊՍՕ(կհԿ) -4 30 ՊՍ(կհ) -50 90 ՊՍՕ(կհԿ) -5 35 ՊՍ(կհ) -70 125 ՊՍՕ(կհԿ) -95 135
Աղյուսակ N 34
Քառակուսու կողմերում շերտերի դասավորությամբ քառաշերտ հաղորդաձողերի («սնամեջ փաթեթ») թույլատրելի երկարատեվ հոսանքները
Չափերը, մմ Քառաշերտ Հաղորդաձողի փաթեթի h b h1 H պղնձե ալյումինե 80 8 140 157 2560 5750 4550 80 10 144 160 3200 6400 5100 100 8 160 185 3200 7000 5550 100 10 164 188 4000 7700 6200 120 10 184 216 4800 9050 7300
հաղորդաձողի
լայնական
հատույթը, մմ2
հոսանքը, Ա
Աղյուսակ N 35
Տուփաձեվ հատույթով հաղորդաձողերի թույլատրելի երկարատեվ հոսանքը
|
Չափերը, մմ |
Մեկ հաղորդաձողի |
Երկու հաղորդաձողերի | ||||
|
a |
b |
c |
r |
պղնձե |
ալյումինե | |
|
75 |
35 |
4 |
6 |
520 |
2730 |
- |
|
75 |
35 |
5,5 |
6 |
695 |
3250 |
2670 |
|
100 |
45 |
4,5 |
8 |
775 |
3620 |
2820 |
|
100 |
45 |
6 |
8 |
1010 |
4300 |
3500 |
|
125 |
55 |
6,5 |
10 |
1370 |
5500 |
4640 |
|
150 |
65 |
7 |
10 |
1785 |
7000 |
5650 |
|
175 |
80 |
8 |
12 |
2440 |
8550 |
6430 |
|
200 |
90 |
10 |
14 |
3435 |
9900 |
7550 |
|
200 |
90 |
12 |
16 |
4040 |
10500 |
8830 |
|
225 |
105 |
12,5 |
16 |
4880 |
12500 |
10300 |
|
250 |
115 |
12,5 |
16 |
5450 |
- |
10800 |
11. ՀԱՂՈՐԴԻՉՆԵՐԻ ՀԱՏՈՒՅԹԻ ԸՆՏՐՈՒԹՅՈՒՆՆ ԸՍՏ ՀՈՍԱՆՔԻ ԽՆԱՅՈՂԱԿԱՆ ԽՏՈՒԹՅԱՆ
1) Հաղորդիչների հատույթը, որը որոշվում է հաշվարկի միջոցով տարեկան տրված ծախսերի նվազագույն արժեքին համապատասխան, պետք է ստուգվի ըստ հոսանքի խնայողական խտության: Խնայողական նպատակահարմար S մմ2, նվազագույն հատույթը որոշվում է S = I/Jխն հարաբերությամբ,
որտեղ`
I - հաշվարկային հոսանքն է էներգահամակարգի առավելագույն բեռնվածքի ժամին,
Ա, Jխն - աշխատանքի տվյալ պայմանների համար հոսանքի խնայողական խտության արժեքն է, Ա/մմ2 (պայմանավորված է տվյալ հզորության` տվյալ սակագնով, հեռավորության վրա և լարմամբ հաղորդելու համար կատարվելիք տարեկան տրված նվազագույն ծախսերով):
Ըստ նշված հաշվարկի` ստացված հատույթը կլորացվում է մինչև մոտակա նորմը: Հաշվարկային հոսանքն ընդունվում է աշխատանքի բնականոն ռեժիմի համար, այսինքն ցանցի հետվթարային և նորոգման ռեժիմներում հոսանքի մեծացումը հաշվի չի առնվում:
2) Փոփոխական ու հաստատուն հոսանքի էլեկտրահաղորդման գծերի, ինչպես նաև մաքսիմումի օգտագործման մեծաքանակ ժամերով աշխատող միջհամակարգային կապերի և հզոր, ճկուն ու կոշտ հոսանահաղորդիչների հատույթների ընտրությունը կատարվում է տեխնիկատնտեսական հաշվարկների հիման վրա:
3) Հոսանքի խնայողական խտության բավարարման նպատակով, ըստ էլեկտրամատակարարման հուսալիության պայմանների, գծերի կամ շղթաների թվի, անհրաժեշտ եղածից ավելացումը կատարվում է տեխնիկատնտեսական հաշվարկի հիման վրա:
Տեխնիկատնտեսական հաշվարկներում պետք է հաշվի առնել լրացուցիչ գծում բոլոր ներդրումները, գծի երկու ծայրերի սարքավորումն ու բաշխիչ սարքվածքների խցերը ներառյալ: Պետք է ստուգել նաև գծի լարման բարձրացման նպատակահարմարությունը:
Այս ցուցումներով անհրաժեշտ է առաջնորդվել նաև գոյություն ունեցող հաղորդալարերը մեծ հատույթի հաղորդալարերով փոխարինելիս կամ բեռնվածքի մեծացման ժամանակ հոսանքի խնայողական խտության ապահովման համար լրացուցիչ գծեր անցկացնելիս:
Այդ դեպքերում պետք է հաշվի առնվեն նաև գծի սարքավորման մոնտաժման և ապամոնտաժման բոլոր աշխատանքների արժեքը` ներառյալ նյութերի և սարքերի արժեքը:
4) Ըստ հոսանքի խնայողական խտության` ստուգման ենթակա չեն`
ա) արտադրական կազմակերպությունների և կառույցների 1 կՎ-ից ցածր լարման ցանցերը` կազմակերպությունների մինչև 4000-5000 ժ-ի առավելագույն բեռնվածքի օգտագործման դեպքում,
բ) 1 կՎ-ից ցածր լարման առանձին էլեկտրաընդունիչներին գնացող ճյուղավորումները, ինչպես նաև արտադրական կազմակերպություններին, բնակելի և հանրային շենքերին գնացող լուսավորության ցանցերը,
էլեկտրատեղակայանքների հավաքման հաղորդաձողերը, բոլոր լարումների բաց և փակ բաշխիչ սարքվածքների հոսանաձողավորումը, դիմադրություններին, գործարկիչ ռեոստատներին և այլուր գնացող հաղորդիչները,
ժամանակավոր կառույցների և 3-5 տարվա ծառայության ժամկետով սարքվածքների ցանցերը:
5) Հոսանքի խնայողական խտության հարաչափն օգտագործելիս պետք է առաջնորդվել հետևյալով (սույն գլխի 3-րդ կետը)`
ա) գիշերային ժամերին բեռնվածքի առավելագույնի ժամանակ հոսանքի խնայողական խտությունը մեծանում է 40%-ով,
բ) 16 մմ2 և պակաս հատույթով մեկուսացված հաղորդիչների հոսանքի խնայողական խտությունը մեծանում է 40%-ով,
գ) նույն հատույթի Ն ճյուղավորված բեռնվածքներով գծերի սկզբնամասի հոսանքի խնայողական խտությունը կարող է մեծացվել kխ անգամ, ընդ որում, kխ-ն որոշվում է հետևյալ բանաձևով`
| kխ= |
| |
|
121L | ||
|
| ||
| l21l1+l22l2 +...+l2nln |
որտեղ` ℓ1, ℓ2,... ℓn-ը գծի առանձին տեղամասերի երկարություններն են, իսկ l1, l2,... ln-ը նույն տեղամասերի բեռնվածքները, L-ը` գծի լրիվ երկարությունը,
դ) Ն թվով միանման, փոխպահուստավորող էլեկտրաընդունիչների (օրինակ` ջրամատակարարման պոմպերի, կերպափոխիչ ագրեգատների և այլն), որոնցից m-ը միաժամանակ աշխատանքի մեջ են, սնման համար հաղորդիչների հատույթներ ընտրելիս, հոսանքի խնայողական խտությունը կարող է մեծացվել հաշվարկված արժեքների նկատմամբ kn անգամ, որտեղ` kn = √n/m:
6) Գյուղական վայրերի, բեռնվածքի տակ լարման կարգավորմամբ տրանսֆորմատորներով 35/6-ից մինչև 10 կՎ ցածրացնող ենթակայանները սնող 35 կՎ ՕԳ հաղորդալարերի հատույթը պետք է ընտրվի ըստ հոսանքի խնայողական խտության: Հաղորդալարերի հատույթն ընտրելիս հաշվարկային բեռնվածքը պետք է ընտրել հաշվի առնելով դրա աճը հեռանկարում: Գյուղական վայրերի 35 կՎ ցանցերի պահուստավորման համար նախատեսված 35 կՎ ՕԳ համար պետք է կիրառվեն հաղորդիչների` ըստ թույլատրելի երկարատև հոսանքի նվազագույն հատույթները` ելնելով հետվթարային և նորոգման ռեժիմներում սպառողներին էլեկտրաէներգիայով ապահովելու պայմանից:
7) Հզորության միջանկյալ առումներով օդային գծերի հաղորդալարերի և մալուխային գծերի ջղերի խնայողական հատույթների ընտրությունն անհրաժեշտ է կատարել յուրաքանչյուր տեղամասի համար առանձին` ելնելով տեղամասերի համապատասխան հաշվարկային հոսանքներից: Այդ դեպքում հարևան տեղամասերի համար թույլատրվում է ընտրել հաղորդալարի միատեսակ հատույթ, որը համապատասխանում է ամենաերկար տեղամասի խնայողականին, եթե այդ տեղամասերի խնայողական հատույթների արժեքների միջև տարբերությունը գտնվում է ստանդարտ հատույթների շարքի մեկ աստիճանի սահմաններում: Մինչև 1 կմ երկարությամբ ճյուղավորումների հաղորդալարերի հատույթներն ընդունվում են այնպիսին, ինչպիսին է ՕԳ-ինը, որից կատարվել է ճյուղավորումը: Ճյուղավորման ավելի երկարության դեպքում խնայողական հատույթը որոշվում է այդ ճյուղավորման հաշվարկային բեռնվածքով:
8) 6-ից մինչև 20 կՎ լարման էլեկտրահաղորդման գծերի համար հոսանքի խտության արժեքները թույլատրվում է կիրառել միայն այն դեպքում, երբ էլեկտրաէներգիայի ընդունիչների համար դրանք չեն առաջացնում թույլատրելի սահմաններից դուրս լարման շեղումներ` ներառյալ կիրառվող լարման կարգավորման և ռեակտիվ հզորության փոխհատուցման միջոցները:
12. ՀԱՂՈՐԴԻՉՆԵՐԻ ՍՏՈՒԳՈՒՄՆ ԸՍՏ ՊՍԱԿԱՎՈՐՄԱՆ ԵՎ ՌԱԴԻՈԽԱՆԳԱՐՈՒՄՆԵՐԻ ՊԱՅՄԱՆՆԵՐԻ
35 կՎ և բարձր լարման դեպքում հաղորդիչները պետք է ստուգվեն պսակավորման առաջացման պայմաններով` ներառյալ տվյալ էլեկտրատեղակայանքի տեղադրման ծովի մակերևույթից ունեցած բարձրության վրա օդի խտության և ջերմաստիճանի միջին տարեկան արժեքները, հաղորդչի տրված շառավիղը, ինչպես նաև հաղորդիչների անհարթության գործակիցը:
Ընդ որում, հաղորդիչներից ցանկացածի մակերևույթի մոտ դաշտի ամենամեծ լարվածությունը, որոշված շահագործման միջին լարման համար, պետք է լինի ընդհանուր պսակային պարպման առաջացմանը համապատասխանող էլեկտրական դաշտի սկզբնական լարվածության 0,9-ից ոչ ավելի: Բացի այդ` հաղորդիչների համար անհրաժեշտ է իրականացնել ստուգում` ըստ պսակավորումից ռադիոխանգարումների թույլատրելի մակարդակի պայմանների:
IV. ԷԼԵԿՏՐԱԿԱՆ ՍԱՐՔԵՐԻ ԵՎ ՀԱՂՈՐԴԻՉՆԵՐԻ ԸՆՏՐՈՒԹՅՈՒՆՆ ԸՍՏ ԿԱՐՃ ՄԻԱԿՑՄԱՆ ՊԱՅՄԱՆՆԵՐԻ
13. ԸՆԴՀԱՆՈՒՐ ՊԱՀԱՆՋՆԵՐԸ
1) ՏԿ-ի սույն բաժինը տարածվում է 50 Հց հաճախականության փոփոխական հոսանքի 1 կՎ-ից ցածր և բարձր լարման էլեկտրատեղակայանքներում, ըստ ԿՄ պայմանների էլեկտրական ապարատների և հաղորդիչների ընտրման և օգտագործման վրա:
2) Ըստ ԿՄ ռեժիմի` պետք է ստուգվեն (բացառությամբ սույն գլխի 3-րդ կետի).
ա) 1 կՎ-ից բարձր էլեկտրատեղակայանքներում`
էլեկտրական ապարատները, հոսանքահաղորդիչները, մալուխները և այլ հաղորդիչներ, ինչպես նաև դրանց համար նախատեսված հենարանային և կրող կառուցվածքները,
էլեկտրահաղորդման օդային գծերը` 50 կԱ և ավելի ԿՄ հարվածային հոսանքի դեպքում` ԿՄ հոսանքների դինամիկ ազդեցությունից, հաղորդալարերի խճճումը կանխելու համար:
Բացի դրանից` տրոհված հաղորդալարերով գծերի համար պետք է ստուգված լինեն տրոհված հաղորդալարերի պահանջների միջև եղած հեռավորությունները` պահանջների և հաղորդալարերի վնասվելը խճճման դեպքում կանխելու համար:
Արագագործ կրկնական միացմամբ ինքնավար անջատիչներով սարքավորված ՕԳ հաղորդալարերը հարկ է ստուգել նաև ըստ ջերմակայունության:
բ) 1 կՎ-ից ցածր էլեկտրատեղակայանքներում` միայն բաշխիչ վահանները, հոսանահաղորդիչները և ուժային պահարանները: Հոսանքի տրանսֆորմատորներն ըստ ԿՄ ռեժիմի չեն ստուգվում:
Ապարատները, որոնք նախատեսված են ԿՄ հոսանքների անջատման համար կամ կարող են, ըստ իրենց աշխատանքի պայմանների, միացնել կարճ միակցման շղթան, բացի դրանից պետք է օժտված լինեն, բոլոր հնարավոր ԿՄ հոսանքների դեպքում, այդ գործողությունները կատարելու ունակությամբ:
ԿՄ հոսանքների դեպքում կայուն համարվում են այն ապարատներն ու հաղորդիչները, որոնք հաշվարկային պայմաններում դիմանում են այդ հոսանքների ազդեցությանը` չենթարկվելով դրանց հետագա բնականոն շահագործմանը խոչընդոտող էլեկտրական, մեխանիկական և այլ քայքայման կամ դեֆորմացիայի:
3) Ըստ ԿՄ ռեժիմի` 1 կՎ բարձր լարման դեպքում էլեկտրական ապարատները և հաղորդիչները չեն ստուգվում`
ա) մինչև 60 Ա անվանական հոսանքի ներդիրներով հալուն ապահովիչներով պաշտպանված ապարատներն ու հաղորդիչները` ըստ էլեկտրադինամիկական կայունության.
բ) հալուն ապահովիչով պաշտպանված ապարատներն ու հաղորդիչները` անկախ դրանց անվանական հոսանքից և տեսակից` ըստ ջերմային կայունության:
Շղթան համարվում է հալուն ապահովիչով պաշտպանված, եթե վերջինիս անջատող ունակությունն ընտրված է` սույն ՏԿ-ի պահանջներին համապատասխան, և այն ունակ է այդ շղթայում անջատել վթարային ամենափոքր հնարավոր հոսանքը.
գ) հաղորդիչներն անհատական էլեկտրաընդունիչների շղթաներում, այդ թվում` մինչև 2,5 ՄՎԱ լրիվ հզորությամբ և մինչև 20 կՎ բարձր լարմամբ արտադրամասի տրանսֆորմատորներին գնացող շղթաներում, եթե միաժամանակ պահպանված են հետևյալ պայմանները`
էլեկտրական կամ տեխնոլոգիական մասում նախատեսված է պահուստավորման անհրաժեշտ աստիճան այնպես, որ նշված էլեկտրաընդունիչների անջատումը չի առաջացնում տեխնոլոգիական գործընթացի խանգարում,
ԿՄ դեպքերում հաղորդչի վնասվելը չի կարող առաջացնել պայթյուն կամ հրդեհ,
հնարավոր է հաղորդչի փոխարինում` առանց զգալի դժվարությունների.
դ) «գ» ենթակետում նշված անհատական էլեկտրաընդունիչներին, ինչպես նաև առանձին ոչ մեծ բաշխիչ կետերին գնացող հաղորդիչները, եթե այդպիսի էլեկտրաընդունիչները և բաշխիչ կետերն ըստ իրենց նշանակման պատասխանատու չեն, և եթե դրանց համար կատարվել է թեկուզև միայն սույն գլխի 3-րդ կետի «բ» ենթակետում տրված պայմանը.
ե) տրանսֆորմատորները կամ ռեակտորավորված գծերը սնող մինչև 20 կՎ լարման շղթաների հոսանքի տրանսֆորմատորներն այն դեպքերում, երբ հոսանքի տրանսֆորմատորի ընտրությունն ըստ ԿՄ պայմանների պահանջում է տրանսֆորմացիայի գործակցի այնպիսի բարձրացում, որի դեպքում չի կարող ապահովվել միացված չափման միջոցների ճշտության անհրաժեշտ դասը (օրինակ` հաշվարկային հաշվիչների), այդ դեպքում` ուժային տրանսֆորմատորների շղթաներում ամենաբարձր լարման կողմում խորհուրդ է տրվում խուսափել ԿՄ հոսանքին ոչ կայուն հոսանքի տրանսֆորմատորների կիրառումից, իսկ հաշվառման սարքերը խորհուրդ է տրվում միացնել հոսանքի տրանսֆորմատորներին` ամենացածր լարման կողմում.
զ) ՕԳ հաղորդալարերը (տես նաև սույն գլխի 2-րդ կետի «ա» ենթակետը).
է) լարման տրանսֆորմատորների շղթաների ապարատներն ու հաղորդաձողերը, երբ դրանք դասավորված են առանձին խցում կամ ներսարքված են ապահովիչում կամ առանձին տեղակայված լրացուցիչ ռեզիստորից հետո:
4) ԿՄ հոսանքների որոշման հաշվարկային սխեմայի ընտրության ժամանակ պետք է ելնել տվյալ էլեկտրատեղակայանքի երկարատև աշխատանքի համար նախատեսված պայմաններից և հաշվի չնստել այդ էլեկտրատեղակայանքի սխեմայի կարճատև ձևափոխությունների հետ, որոնք նախատեսված չեն երկարատև շահագործման համար (օրինակ` փոխարկումների ժամանակ): Էլեկտրատեղակայանքի աշխատանքի, նորոգման և հետվթարային ռեժիմները սխեմայի կարճատև փոփոխություններին չեն վերաբերում:
Հաշվարկային սխեման պետք է հաշվի առնի արտաքին ցանցերի և արտադրող աղբյուրների զարգացման հեռանկարը, որոնց հետ էլեկտրականապես կապվում է դիտարկվող կայանքը:
Ընդ որում, ԿՄ սկզբնական պահի համար թույլատրվում է ԿՄ հոսանքների հաշվարկը կատարել մոտավոր:
5) Որպես ԿՄ հաշվարկային տեսակ պետք է ընդունել`
ա) ապարատների և կոշտ հաղորդաձողերի, դրանց վերաբերող պահող և հենարանային կառուցվածքների էլեկտրադինամիկական կայունության որոշման համար` եռաֆազ ԿՄ.
բ) ապարատների և հաղորդիչների ջերմակայունությունը որոշելու համար` եռաֆազ ԿՄ: Էլեկտրատեղակայանքների գեներատորային լարման վրա` եռաֆազը կամ երկֆազը` կախված նրանից, թե դրանցից որը կբերի ավելի շատ տաքացման.
գ) ըստ փոխարկիչ (կոմուտացիոն) ունակության ապարատների ընտրության համար` համաձայն եռաֆազ և միաֆազ հողի հետ ԿՄ հոսանքների արժեքներից ամենամեծ (հողանցման մեծ հոսանքներով ցանցերում), եթե անջատիչը բնութագրվում է փոխարկիչ ունակության երկու արժեքներով` եռաֆազ և միաֆազ, համապատասխանաբար, ըստ երկու արժեքների:
6) ԿՄ հաշվարկային հոսանքը պետք է որոշել` ելնելով դիտարկվող շղթայի այնպիսի կետի վնասվելու պայմանից, որում ԿՄ լինելիս այդ շղթայի ապարատներն ու հաղորդիչները կգտնվեն առավել ծանր պայմաններում (բացառությամբ` սույն գլխի 7-րդ կետի և 17-րդ գլխի 2-րդ կետի):
Թույլատրելի է հաշվի չառնել սխեմայի երկու տարբեր կետերում տարբեր ֆազերի միաժամանակյա հողանցման դեպքերը:
7) Փակ բաշխիչ սարքավորումների ռեակտորավորված գծերում ապարատներն ու հաղորդիչները, որոնք դասավորված են մինչև ռեակտորը և առանձնացված են սնող հավաքման հաղորդաձողերից (հիմնական շղթայի տարրերից ճյուղավորումների վրա) բաժանարար հարթակներով, ծածկերով և այլն, ընտրվում են ըստ ռեակտորից հետո ԿՄ հոսանքի, եթե վերջինս դասավորված է նույն շենքում և միացումը կատարված է հաղորդաձողերով:
Հաղորդաձողային ճյուղավորումները, հավաքման հաղորդաձողերից մինչև բաժանիչ հարթակները և վերջիններիս անցումային մեկուսիչները, պետք է ընտրվեն մինչև ռեակտորը` ելնելով ԿՄ-ից:
8) Ջերմակայունությունը հաշվարկելիս որպես հաշվարկային ժամանակ հարկ է ընդունել ԿՄ տեղին մոտ տեղակայված անջատիչի հիմնական պաշտպանության գործելու ժամանակի (հաշվի առնելով ԱԿՄ գործողությունը) և այդ անջատիչի անջատման լրիվ ժամանակի գումարը (ներառյալ աղեղի այրման ժամանակը):
Հիմնական պաշտպանության մոտ անզգայության գոտու առկայության դեպքում (ըստ հոսանքի, լարման, դիմադրության և այլն) անհրաժեշտ է լրացուցիչ ստուգել ջերմակայունությունը` ելնելով այդ գոտում վնասվածքի վրա գործող պաշտպանության գործելու ժամանակից` գումարած անջատիչի անջատման լրիվ ժամանակը: Ընդ որում, որպես ԿՄ հաշվարկային հոսանք պետք է ընդունել դրա այն արժեքը, որը համապատասխանում է այդտեղի վնասվածքին:
60 ՄՎտ և ավելի հզորության գեներատորների, ինչպես նաև նույն հզորության գեներատոր- տրանսֆորմատոր բլոկների շղթաներում կիրառվող սարքերն ու հոսանահաղորդիչները պետք է ստուգվեն ըստ ջերմակայունության` ելնելով ԿՄ հոսանքի 4 վ անցման ժամանակից:
14. ԿԱՐՃ ՄԻԱԿՑՄԱՆ ՀՈՍԱՆՔՆԵՐԻ ՈՐՈՇՈՒՄԸ` ԱՊԱՐԱՏՆԵՐԻ ՈՒ ՀԱՂՈՐԴԻՉՆԵՐԻ ԸՆՏՐՈՒԹՅԱՆ ՀԱՄԱՐ
1) 1 կՎ-ից ցածր և բարձր բոլոր էլեկտրատեղակայանքներում ԿՄ հոսանքները որոշելիս սարքերի ու հաղորդիչների ընտրության և կրող կառուցվածքների վրա ներգործության որոշման համար պետք է`
ա) ԿՄ դիտարկվող կետի սնմանը մասնակցող բոլոր աղբյուրներն աշխատեն միաժամանակ անվանական հզորությամբ,
բ) բոլոր համաժամանակյա (սինքրոն) մեքենաներն ունեն լարման ինքնավար կարգավորիչներ և գրգռման ուժեղացման սարքվածքներ,
գ) կարճ միացումն առաջանա այն պահին, երբ ԿՄ հոսանքն ունի առավելագույն արժեքը,
դ) սնման բոլոր աղբյուրների էլեկտրաշարժ ուժերը համընկնեն ըստ ֆազերի,
ե) յուրաքանչյուր աստիճանի հաշվարկային լարումն ընդունվի ցանցի անվանական լարումից 5% բարձր,
զ) պետք է հաշվի առնվի տվյալ ցանցին միացված համաժամանակյա փոխհատուցիչների, համաժամանակյա և ապաժամանակյա էլեկտրաշարժիչների ազդեցությունը ԿՄ հոսանքների վրա: ԿՄ հոսանքի վրա ապաժամանակյա էլեկտրաշարժիչների ազդեցությունը հաշվի չի առնվում էլեկտրաշարժիչների մեկ միավորի մինչև 100 կՎտ հզորության դեպքում, եթե էլեկտրաշարժիչները ԿՄ տեղից առանձնացված են տրանսֆորմացիայի մեկ աստիճանով, ինչպես նաև ցանկացած հզորության դեպքում, եթե դրանք ԿՄ տեղից առանձնացված են տրանսֆորմացիայի երկու և ավելի աստիճաններով կամ, եթե հոսանքը ԿՄ տեղ կարող է հասնել այն տարրերով, որոնցով անցնում է ցանցից ԿՄ հիմնական հոսանքը և, որոնք ունեն զգալի դիմադրություն (գծեր, տրանսֆորմատորներ և այլն):
2) 1 կՎ-ից բարձր էլեկտրատեղակայանքներում, որպես հաշվարկային դիմադրություն, պետք է ընդունել էլեկտրական մեքենաների, ուժային տրանսֆորմատորների և ավտոտրանսֆորմատորների, ռեակտորների, օդային և մալուխային գծերի, ինչպես նաև հոսանահաղորդիչների ինդուկտիվ դիմադրությունները: Ակտիվ դիմադրությունները պետք է հաշվի առնել միայն փոքր հատույթի հաղորդալարերով և պողպատե հաղորդալարերով ՕԳ-ի, ինչպես նաև փոքր հատույթի, մեծ ակտիվ դիմադրությամբ երկար մալուխային գծերի համար:
3) 1 կՎ-ից ցածր էլեկտրատեղակայանքներում որպես հաշվարկային դիմադրություն պետք է ընդունել շղթայի բոլոր տարրերի ինդուկտիվ և ակտիվ դիմադրությունները` ներառյալ շղթայի անցումային հպատեղերի ակտիվ դիմադրությունները: Թույլատրելի է անտեսել մեկ տեսակի դիմադրությունը (ակտիվը կամ ինդուկտիվը), եթե այդ դեպքում շղթայի լրիվ դիմադրությունը փոքրանում է ոչ ավելի 10%-ով:
4) 1 կՎ-ից ցածր ցանցերը ցածրացնող տրանսֆորմատորներից սնելու դեպքում ԿՄ հոսանքները հաշվարկելիս պետք է ելնել պայմանից, որ տրանսֆորմատորին տրվող լարումն անփոփոխ է և հավասար է դրա անվանական լարմանը:
5) Հոսանասահմանափակիչ գործողությամբ հալուն ապահովիչներով պաշտպանված շղթայի տարրերը պետք է ստուգել ըստ էլեկտրադինամիկ կայունության` ապահովիչով անցնող ԿՄ հոսանքի առավելագույն ակնթարթային արժեքի դեպքում:
15. ՀԱՂՈՐԴԻՉՆԵՐԻ ԵՎ ՄԵԿՈՒՍԻՉՆԵՐԻ ԸՆՏՐՈՒԹՅՈՒՆԸ, ԿՈՇՏ ԿԱՌՈՒՑՎԱԾՔՆԵՐԻ ՍՏՈՒԳՈՒՄԸ` ԸՍՏ ԿԱՐՃ ՄԻԱԿՑՄԱՆ ՀՈՍԱՆՔՆԵՐԻ ԴԻՆԱՄԻԿ ՆԵՐԳՈՐԾՈՒԹՅԱՆ
1) Կոշտ հաղորդաձողերի վրա ազդող և դրանց կողմից մեկուսիչների և պահող կոշտ կառուցվածքների վրա փոխանցվող ճիգերը պետք է հաշվարկել ըստ եռաֆազ ԿՄ հոսանքի ակնթարթային առավելագույն արժեքի (iհ)` հաշվի առնելով ֆազերում հոսանքների միջև շեղումը և հաշվի չառնելով հաղորդաձողային կառուցվածքների մեխանիկական տատանումները: Առանձին դեպքերում (օրինակ` սահմանային հաշվարկային մեխանիկական լարումների դեպքում) կարող են հաշվի առնվել հաղորդաձողերի և հաղորդաձողային կառուցվածքների մեխանիկական տատանումները: Ճկուն հաղորդիչների և դրանց պահող մեկուսիչների, արտանցիչների և կառուցվածքների վրա ազդող ուժի իմպուլսները հաշվարկվում են ըստ հարևան ֆազերի միջև երկֆազ միակցման միջին քառակուսային հոսանքի (անցման ժամանակահատվածի համար): Տրոհված հաղորդիչների և ճկուն հոսանքահաղորդիչների դեպքում ԿՄ հոսանքների փոխազդեցությունը միևնույն ֆազի հաղորդիչների միջև որոշվում է եռաֆազ ԿՄ հոսանքի գործող արժեքով:
Ճկուն հոսանահաղորդիչները պետք է ստուգվեն ըստ խճճման («ծափ տալու»):
2) Սույն գլխի 1-ին կետին համապատասխան հաշվարկով գտնված մեխանիկական ճիգերը, որոնք ԿՄ դեպքում կոշտ հաղորդաձողերով փոխանցվում են հենարանային և անցումային մեկուսիչներին, միայնակ մեկուսիչների կիրառման դեպքում պետք է կազմեն նվազագույն քանդող (քայքայող) ճիգի երաշխիքային արժեքի 60%-ը, զույգված հենարանային մեկուսիչների դեպքում` ոչ ավելի մեկ մեկուսչի քանդող (քայքայող) ճիգի 100%-ից:
Կազմովի պրոֆիլի հաղորդաձողեր (բազմաշերտ, երկշվելեր և այլն) կիրառելիս մեխանիկական լարումները գտնում են որպես ֆազերի փոխազդեցությունից և յուրաքանչյուր հաղորդաձողի տարրերի միջև փոխազդեցությունից առաջացած լարումների թվաբանական գումար:
Կոշտ հաղորդաձողերի նյութի մեջ առավելագույն մեխանիկական լարումները չպետք է գերազանցեն խզման ժամանակավոր դիմադրության 0,7 մասը:
16. ՀԱՂՈՐԴԻՉՆԵՐԻ ԸՆՏՐՈՒԹՅՈՒՆԸ` ԸՍՏ ՏԱՔԱՑՄԱՆ` ԿԱՐՃ ՄԻԱԿՑՄԱՆ ԴԵՊՔՈՒՄ
1) Հաղորդիչների տաքացման ջերմաստիճանը ԿՄ դեպքում պետք է լինի հետևյալ սահմանային թույլատրելի արժեքներից, 0C, ոչ բարձր
|
Հաղորդաձողեր` |
|
|
պղնձե |
300 |
|
ալյումինե |
200 |
|
պողպատե, որոնք ապարատների հետ անմիջական կապ չունեն |
400 |
|
պողպատե, ապարատների հետ անմիջական միացմամբ |
300 |
|
Ներծծված թղթե մեկուսացմամբ մալուխներ, հետևյալ լարման, կՎ |
|
|
մինչև 10 |
200 |
|
20-220 |
125 |
|
Պղնձե և ալյումինե ջղերով մալուխներ և մեկուսացված հաղորդաձողեր` հետևյալ մեկուսացմամբ` |
|
|
պոլիվինիլքլորիդային և ռետինե |
150 |
|
պոլիէթիլենային |
120 |
|
Պղնձե չմեկուսացված հաղորդալարեր, ձգաուժերի դեպքում, Ն/մմ2` |
|
|
20-ից փոքր |
250 |
|
20 և ավելի |
200 |
|
Ալյումինե չմեկուսացված հաղորդալարեր, ձգաուժերի դեպքում, Ն/մմ2` |
|
|
10-ից փոքր |
200 |
|
10 և ավելի |
160 |
|
պողպատ-ալյումինե հաղորդալարերի ալյումինե մասը |
200 |
2) Մալուխների ստուգումը` ըստ ԿՄ հոսանքներից տաքացման այն դեպքերում, երբ այդ պահանջվում է 13-րդ գլխի 2-րդ և 3-րդ կետերին համապատասխան, պետք է կատարվի`
ա) մեկ շինարարական երկարության միայնակ մալուխների համար` ելնելով մալուխի սկզբում ԿՄ-ից,
բ) ըստ երկարության` աստիճանական հատույթներով միայնակ մալուխի համար` ելնելով նոր հատույթի յուրաքանչյուր տեղամասի սկզբում ԿՄ-ից,
գ) երկու և ավելի զուգահեռ միացված մալուխների փնջի համար` ելնելով անմիջապես փնջից հետո ԿՄ-ից (ըստ ԿՄ միջանցիկ հոսանքի):
3) Արագագործ ԱԿՄ-ով սարքավորված գծերի սարքերի և հաղորդիչների ջերմակայունությունը ստուգելիս պետք է հաշվի առնվի այդպիսի գծերով ԿՄ հոսանքի անցման գումարային տևողության մեծացման պատճառով տաքացման բարձրացումը:
ՕԳ տրոհված հաղորդալարերը, ԿՄ պայմաններում ըստ տաքացման ստուգելիս, դիտարկվում են որպես գումարային հատույթի մեկ հաղորդալար:
17. ԱՊԱՐԱՏՆԵՐԻ ԸՆՏՐՈՒԹՅՈՒՆՆ ԸՍՏ ՓՈԽԱՐԿԻՉ (ԿՈՄՈՒՏԱՑԻՈՆ) ՈՒՆԱԿՈՒԹՅԱՆ
1) 1 կՎ-ից բարձր անջատիչները պետք է ընտրել`
ա) ըստ անջատման ունակության` հաշվի առնելով վերականգնվող լարման հարաչափերը,
բ) ըստ միացման ունակության: Ընդ որում, գեներատորային լարման կողմում տեղակայված գեներատորների անջատիչներն ստուգվում են միայն ոչ համաժամանակյա միացման տեսանկյունից` հակաֆազի պայմաններում:
2) Ապահովիչները պետք է ընտրել ըստ անջատման ունակության: Ընդ որում, որպես հաշվարկային հոսանք պետք է ընդունել ԿՄ սկզբնական հոսանքի պարբերական բաղադրիչի գործող արժեքը` առանց հաշվի առնելու ապահովիչների հոսանասահմանափակիչ ունակությունը:
3) Բեռի անջատիչները և կարճմիակցիչները պետք է ընտրել ըստ սահմանային թույլատրելի հոսանքի, որն առաջանում է դրանցով կարճ միակցում կատարելիս:
4) Խզիչներն ու բաժանիչները ԿՄ-ի դեպքում ըստ փոխարկիչ ունակության ստուգել չի պահանջվում: Չբեռնավորված գծերի, չբեռնավորված տրանսֆորմատորների կամ զուգահեռ շղթաների հավասարեցուցիչ հոսանքների անջատման-միացման համար խզիչներ ու բաժանիչներ օգտագործելիս, դրանք պետք է ստուգել ըստ այդ անջատման-միացման ռեժիմի:
V. ԷԼԵԿՏՐԱԿԱՆ ՄԵԾՈՒԹՅՈՒՆՆԵՐԻ ՉԱՓՈՒՄԸ
18. ԸՆԴՀԱՆՈՒՐ ՊԱՀԱՆՋՆԵՐԸ
1) Սույն բաժնի դրույթները տարածվում են անշարժ միջոցների (ցույց տվող, գրանցող, սևեռող և այլն) օգնությամբ իրագործվող էլեկտրական մեծությունների չափման վրա և չեն տարածվում լաբորատոր չափումների և այն չափումների վրա, որոնք իրագործվում են փոխադրովի սարքերով:
Ոչ էլեկտրական մեծությունների, ինչպես նաև սույն ՏԿ-ով չկանոնակարգված այլ էլեկտրական մեծությունների չափումները, որոնք պահանջվում են տեխնոլոգիական գործընթացի կամ հիմնական սարքավորումների առանձնահատկությունների հետ կապված, կատարվում են շահագործման հրահանգների հիման վրա:
2) Էլեկտրական մեծությունների չափման միջոցները պետք է բավարարեն հետևյալ հիմնական պայմաններին`
ա) չափիչ սարքերի ճշտության դասը պետք է լինի 2,5-ից ոչ վատ,
բ) չափիչ շունտերի, լրացուցիչ ռեզիստորների, տրանսֆորմատորների և կերպափոխիչների ճշտության դասերը պետք է լինեն սույն բաժնի N 1 աղյուսակում նշված դասերից ոչ վատ,
գ) սարքերի չափման սահմանները պետք է ընտրվեն չափվող մեծությունների` հաշվի առնելով անվանական արժեքներից հնարավոր առավելագույն երկարատև շեղումները:
Աղյուսակ N 1
Չափման միջոցների ճշտության դասերը
Սարքի ճշտության Շունտի լրացուցիչ Չափիչ Չափիչ տրանսֆոր- 1,0 0,5 0,5 0,5 1,5 0,5 0,5 0,5 2,5 0,5 1,0 1,0
դասը
ռեզիստորի
ճշտության դասը
կերպափոխիչի
ճշտության դասը
մատորի
ճշտության դասը
3) Չափիչ սարքերի տեղակայումը, որպես կանոն, պետք է կատարվի այն կետերում, որտեղից իրականացվում է ղեկավարումը:
Առանց մշտական օպերատիվ անձնակազմի հերթապահության` ենթակայաններում և հիդրոէլեկտրակայաններում թույլատրվում է չտեղակայել մնայուն ցուցիչ սարքեր, ընդ որում, պետք է նախատեսված լինեն տեղեր` հատուկ ուսուցված անձնակազմի կողմից փոխադրովի սարքերի միացման համար:
4) 330 կՎ և բարձր էլեկտրահաղորդման գծերի վրա, ինչպես նաև գեներատորների և տրանսֆորմատորների վրա չափումները պետք է կատարվեն անընդհատ:
Հիդրոէլեկտրակայանների գեներատորների և տրանսֆորմատորների վրա թույլատրվում է չափումները կատարել պարբերաբար` կենտրոնացված վերահսկման միջոցների օգնությամբ:
Թույլատրվում է չափումներ կատարել «ըստ կանչի» մի քանի միացումների (բացառությամբ առաջին պարբերությունում նշվածների) համար ընդհանուր ցուցիչ սարքերի լրակազմի միջոցով, ինչպես նաև կիրառել կենտրոնացված վերահսկման այլ միջոցներ:
5) Ղեկավարման կետի օպերատիվ հաղորդաշղթայում գրանցող սարքերի տեղակայման դեպքում թույլատրվում է այդ նույն մեծությունների անընդհատ չափման համար ցուցիչ սարքեր չտեղակայել:
19. ՀՈՍԱՆՔԻ ՉԱՓՈՒՄԸ
1) Հոսանքի չափումը պետք է կատարվի բոլոր լարումների շղթաներում, որտեղ այն անհրաժեշտ է տեխնոլոգիական գործընթացի կամ սարքավորման հետևողական վերահսկման համար:
2) Հաստատուն հոսանքի չափումը պետք է կատարվի հետևյալ շղթաներում`
ա) հաստատուն հոսանքի գեներատորների և ուժային կերպափոխիչների,
բ) կուտակիչ մարտկոցների, լիցքավորման, լրալիցքավորման և լիցքաթափման սարքվածքների,
գ) համաժամանակյա գեներատորների, փոխհատուցիչների, ինչպես նաև կարգավորվող գրգռումով շարժիչների գրգռման:
Հաստատուն հոսանքի ամպերաչափերը պետք է ունենան երկկողմանի ցուցնակներ, եթե հնարավոր է հոսանքի ուղղության փոփոխություն:
3) Փոփոխական եռաֆազ հոսանքի շղթաներում անհրաժեշտ է, որպես կանոն, չափել մեկ ֆազի հոսանքը:
Յուրաքանչյուր ֆազի հոսանքի չափումը պետք է կատարվի`
ա) 12 ՄՎտ և ավելի հզորության համաժամանակյա տուրբագեներատորների մոտ,
բ) յուրաքանչյուր ֆազի ղեկավարմամբ էլեկտրահաղորդման գծերի, երկայնական փոխհատուցմամբ գծերի և այն գծերի մոտ, որոնց համար նախատեսվում է ոչ լիաֆազ ռեժիմում երկարատև աշխատանք: Հիմնավորված դեպքերում կարող է նախատեսվել 330 կՎ և բարձր եռաֆազ ղեկավարմամբ էլեկտրահաղորդման գծերի յուրաքանչյուր ֆազի հոսանքի չափում,
գ) աղեղային էլեկտրավառարանների մոտ:
20. ԼԱՐՄԱՆ ՉԱՓՈՒՄԸ
1) Լարման չափումը, որպես կանոն, պետք է կատարվի`
ա) հաստատուն և փոփոխական հոսանքի հաղորդաձողերի հավաքվածքի հատվածների վրա, որոնք կարող են աշխատել առանձին:
Թույլատրվում է մեկ սարքի տեղակայում` մի քանի չափվող կետերի վրա փոխարկումով:
Ենթակայաններում թույլատրվում է լարումը չափել միայն ամենացածր լարման կողմում, եթե ամենաբարձր լարման կողմում լարման տրանսֆորմատորների տեղակայում այլ նպատակների համար չի պահանջվում,
բ) հաստատուն և փոփոխական հոսանքի գեներատորների, համաժամանակյա փոխհատուցիչների շղթաներում, ինչպես նաև առանձին դեպքերում հատուկ նշանակության ագրեգատների շղթաներում:
Գեներատորների կամ այլ ագրեգատների ավտոմատացված գործարկման դեպքում լարման անընդհատ չափման համար դրանց վրա սարքերի տեղակայումը պարտադիր չէ,
գ) 1 ՄՎտ և ավելի հզորոթյան համաժամանակյա մեքենաների գրգռման շղթաներում: Հիդրոգեներատորների գրգռման շղթաներում չափումները պարտադիր չեն,
դ) ուժային կերպափոխիչների, կուտակիչ մարտկոցների, լիցքավորման և լրալիցքավորման սարքվածքների շղթաներում,
ե) աղեղմարիչ ռեակտորների շղթաներում:
2) Եռաֆազ շղթաներում, որպես կանոն, կատարում են մեկ միջֆազային լարման չափում: Արդյունավետ հողակցված չեզոքով 1 կՎ-ից բարձր լարման ցանցերում շղթաների սարքինությունը լարմամբ վերահսկելու համար թույլատրվում է երեք միջֆազային լարումների չափում` մեկ սարքով (փոխարկումներով):
3) Պետք է կատարվի էլեկտրակայանների և ենթակայանների 110 կՎ և բարձր լարման հաղորդաձողերի հավաքվածքի մեկ միջֆազային լարման արժեքների (կամ տրված արժեքից լարման շեղման) գրանցում, որոնց լարմամբ տարվում է էներգահամակարգի ռեժիմը:
21. ՄԵԿՈՒՍԱՑՄԱՆ ՎԵՐԱՀՍԿՈՒՄԸ
1 կՎ-ից բարձր փոփոխական հոսանքի մեկուսացված կամ աղեղմարիչ ռեակտորով հողակցված չեզոքով ցանցերում, 1 կՎ-ից ցածր փոփոխական հոսանքի մեկուսացված չեզոքով ցանցերում և հաստատուն հոսանքի մեկուսացված բևեռներով կամ մեկուսացված միջին կետով ցանցերում, որպես կանոն, պետք է կատարվի մեկուսացման ինքնավար վերահսկում, որը գործում է ֆազերից մեկի (կամ բևեռի) մեկուսացման դիմադրության` տրված արժեքից իջեցման դեպքում` ցուցիչ սարքի փոխարկման միջոցով լարման անհամաչափության (ոչ սիմետրիկության) հետագա վերահսկմամբ:
Թույլատրվում է իրագործել մեկուսացման վերահսկում` լարումների պարբերական չափումների միջոցով` լարման անհամաչափության տեսողական վերահսկման նպատակով:
22. ՀԶՈՐՈՒԹՅԱՆ ՉԱՓՈՒՄԸ
1) Հզորության չափումը պետք է կատարվի հետևյալ շղթաներում`
ա) գեներատորների` ակտիվ և ռեակտիվ հզորության:
100 ՄՎտ և ավելի հզորության գեներատորների վրա վահանային ցուցիչ սարքերի տեղակայման դեպքում դրանց ճշտության դասը պետք է լինի 1,0-ից ոչ վատ:
200 ՄՎտ և ավելի հզորության էլեկտրակայաններում պետք է չափվի նաև գումարային ակտիվ հզորությունը:
Հանձնարարվում է 200 ՄՎտ-ից ցածր հզորության էլեկտրակայանների գումարային ակտիվ հզորությունը չափել` այդ հարաչափն օպերատիվ ղեկավարման վերադաս մակարդակին ավտոմատացված համակարգով հաղորդելու անհրաժեշտության դեպքում,
բ) 25 ՄՎտ և ավելի հզորության կոնդենսատորային մարտկոցների և համաժամանակյա փոխհատուցիչների` ռեակտիվ հզորության,
գ) 6 կՎ և բարձր լարման ջերմային էլեկտրակայանների ՍԿ սնող տրանսֆորմատորների և գծերի` ակտիվ հզորության,
դ) էլեկտրակայանների երկփաթույթ բարձրացնող տրանսֆորմատորների` ակտիվ և ռեակտիվ հզորության: Բարձրացնող եռափաթույթ տրանսֆորմատորների (կամ ավտոտրանսֆորմատորների ամենացածր լարման փաթույթի օգտագործմամբ) շղթաներում ակտիվ և ռեակտիվ հզորությունների չափումը պետք է կատարվի միջին և ամենացածր լարման կողմից:
Գեներատորի հետ բլոկում աշխատող տրանսֆորմատորների ամենացածր լարման կողմից հզորության չափումը պետք է կատարվի գեներատորի շղթայում,
ե) 220 կՎ և բարձր լարման ցածրացնող տրանսֆորմատորների` ակտիվ և ռեակտիվ, 110-150 կՎ լարման ակտիվ հզորության:
Ցածրացնող երկփաթույթ տրանսֆորմատորների շղթաներում հզորության չափումը պետք է կատարվի ամենացածր լարման կողմից, իսկ ցածրացնող եռափաթույթ տրանսֆորմատորների շղթաներում` միջին և ամենացածր լարումների կողմից:
Ամենաբարձր լարման կողմում առանց անջատիչների 110-ից մինչև 220 կՎ ենթակայաններում թույլատրվում է հզորության չափում չկատարել: Ընդ որում, պետք է նախատեսված լինեն տեղեր` ցուցիչ կամ գրանցող վերահսկիչ սարքերի միացման համար,
զ) երկկողմ սնմամբ 110 կՎ և բարձր լարման գծերի, ինչպես նաև շրջանցիկ անջատիչների` ակտիվ և ռեակտիվ հզորության,
է) ենթակայանների այլ տարրերի վրա, որտեղ ցանցի ռեժիմների պարբերական վերահսկման համար անհրաժեշտ են ակտիվ և ռեակտիվ հզորության հոսքերի չափումներ, պետք է նախատեսված լինի վերահսկիչ փոխադրովի սարքերի միացման հնարավորություն:
2) Եթե վահանային ցուցիչ սարքերը տեղակայվում են այնպիսի շղթաներում, որոնցում հզորության ուղղությունը կարող է փոխվել, ապա այդ սարքերը պետք է ունենան երկկողմանի ցուցնակ:
3) Շահագործման մատյանում պետք է կատարվի գրանցում`
ա) տուրբագեներատորների ակտիվ հզորության (60 ՄՎտ և ավելի հզորության),
բ) էլեկտրակայանների գումարային հզորության (200 ՄՎտ և ավելի հզորության):
23. ՀԱՃԱԽՈՒԹՅԱՆ ՉԱՓՈՒՄԸ
1) Հաճախականության չափումը պետք է կատարվի`
ա) գեներատորային լարման հաղորդաձողերի յուրաքանչյուր հատվածի վրա,
բ) բլոկային ջերմային կամ ատոմային էլեկտրակայանի յուրաքանչյուր գեներատորի վրա,
գ) էլեկտրակայանի ամենաբարձր լարման հաղորդաձողերի յուրաքանչյուր համակարգի (հատվածի) վրա,
դ) էներգահամակարգը ոչ համաժամանակյա աշխատող մասերի հնարավոր բաժանման հանգույցներում:
2) Հաճախականության գրանցումը կամ դրա շեղումը տրված արժեքից պետք է կատարվի`
ա) 200 ՄՎտ և ավելի հզորության էլեկտրակայաններում,
բ) մեկուսի աշխատող 6 ՄՎտ և ավելի հզորության էլեկտրակայաններում:
3) Գրանցող հաճախաչափերի բացարձակ սխալն էլեկտրակայաններում, որոնք մասնակցում են հզորության կարգավորման մեջ, պետք է լինի 0,1 Հց-ից ոչ ավելի:
24. ՉԱՓՈՒՄՆԵՐԸ ՀԱՄԱԺԱՄԱՆԱԿԱՑՄԱՆ ԴԵՊՔՈՒՄ
Ճշգրիտ (ձեռքով կամ կիսաավտոմատ) համաժամանակացման ընթացքում չափումների համար պետք է նախատեսվեն հետևյալ սարքերը` երկու վոլտաչափ (կամ կրկնակ վոլտաչափ), երկու հաճախաչափ (կամ կրկնակ հաճախաչափ), համաժամացույց (սինքրոնոսկոպ):
25. ԷԼԵԿՏՐԱԿԱՆ ՄԵԾՈՒԹՅՈՒՆՆԵՐԻ ԳՐԱՆՑՈՒՄԸ` ՎԹԱՐԱՅԻՆ ՌԵԺԻՄՆԵՐՈՒՄ
1) Էներգահամակարգի էլեկտրական մասում վթարային պրոցեսների ինքնավար գրանցման համար պետք է նախատեսված լինեն ինքնավար տատանագրիչներ:
Ինքնավար տատանագրիչների տեղաբաշխումն օբյեկտներում, ինչպես նաև դրանց կողմից գրանցվող էլեկտրական հարաչափերի ընտրությունը, որպես կանոն, պետք է կատարել սույն բաժնի NN 2 և 3 աղյուսակներում նշված հանձնարարականներով:
2) Սպառողին պատկանող և էներգահամակարգի հետ կապ ունեցող էլեկտրակայաններում (բլոկ-կայաններում) ինքնավար վթարային տատանագրիչներ պետք է նախատեսվեն 110 կՎ և բարձր լարման հաղորդաձողերի յուրաքանչյուր համակարգի համար, որոնց միջոցով իրականացվում է էներգահամակարգի հետ կապն էլեկտրահաղորդման գծերով: Այդ տատանագրիչները, որպես կանոն, պետք է գրանցեն հաղորդաձողերի համապատասխան համակարգի լարումները (ֆազային և զրոյական հաջորդականության), այն էլեկտրահաղորդման գծերի հոսանքները (ֆազային և զրոյական հաջորդականության), որոնք բլոկ-կայանը միացնում են համակարգի հետ:
3) Հակավթարային համակարգային ավտոմատիկայի սարքվածքների գործողությունը գրանցելու համար թույլատրվում է տեղակայել լրացուցիչ տատանագրիչներ, որոնց տեղաբաշխումը և դրանց կողմից գրանցվող հարաչափերի ընտրությունը պետք է նախատեսվեն հակավթարային համակարգային ավտոմատիկայի նախագծերում:
4) 110 կՎ և բարձր, 20 կմ և ավելի երկարության ՕԳ վնասվածքների տեղերը որոշելու համար պետք է նախատեսվեն սևեռող սարքեր:
Աղյուսակ N 2
Էներգահամակարգի օբյեկտներում ինքնավար տատանագրիչների տեղաբաշխումը
|
Բաշխիչ սարքվածքի լարումը, կՎ |
Բաշխիչ |
Բաշխիչ սարքվածքի հատվածամասին (հաղորդաձողերի |
Տեղակայվելիք |
|
500 |
Ցանկացած |
Մեկ կամ երկու |
Մեկ` յուրաքանչյուր գծի համար (առանց նախավթարային ռեժիմի գրանցման) |
|
500 |
Ցանկացած |
Երեք և ավելի |
Մեկ` յուրաքանչյուր գծի համար (նախընտրելի է գծերից թեկուզ և մեկի վրա` նախավթարային ռեժիմի գրանցմամբ) |
|
330 |
Ցանկացած |
Մեկ |
Չի տեղակայվում |
|
330 |
Ցանկացած |
Երկու և ավելի |
Մեկ` յուրաքանչյուր գծի համար (առանց նախավթարային ռեժիմի գրանցման) |
|
220 |
Հաղորդաձողերի հատվածամասերով կամ համակարգերով |
Մեկ կամ երկու` հաղորդաձողերի յուրաքանչյուր հատվածամասի կամ աշխատանքային համակարգերի համար |
Մեկ` հաղորդաձողերի երկու հատվածամասերի կամ աշխատանքային համակարգի համար (առանց նախավթարային ռեժիմի գրանցման) |
|
220 |
Նույնը |
Երեք կամ չորս` հաղորդաձողերի յուրաքանչյուր հատվածամասի կամ աշխատանքային համակարգի համար |
Մեկ` հաղորդաձողերի յուրաքանչյուր հատվածամասի կամ աշխատանքային համակարգի համար (առանց նախավթարային ռեժիմի գրանցման) |
|
220 |
Նույնը |
Հինգ կամ ավելի` հաղորդաձողերի յուրաքանչյուր հատվածամասի կամ աշխատանքային համակարգի համար |
Մեկ-երկու` հաղորդաձողերի յուրաքանչյուր հատվածամասի կամ գործարկող սարքվածքով աշխատանքային համակարգի համար (առանց նախավթարային ռեժիմի գրանցման) |
|
220 |
Մեկուկեսային կամ բազմանկյուն |
Երեք կամ ավելի |
Մեկ` երեք կամ չորս գծերի համար կամ հաղորդաձողերի յուրաքանչյուր համակարգի համար (առանց նախավթարային ռեժիմի գրանցման) |
|
220 |
Առանց 220 կՎ անջատիչների կամ մեկ անջատիչով |
Մեկ կամ երկու |
Չի տեղակայվում |
|
220 |
Եռանկյուն, քառանկյուն, կամրջակ |
Նույնը |
Թույլատրվում է մեկ ինքնավար տատանագրիչի տեղակայում, եթե 220 կՎ գծերի հակադիր ծայրերում չկան ինքնավար տատանագրիչներ |
|
110 |
Հաղորդաձողերի հատվածամասերով կամ համակարգերով |
Մեկից երեք` հաղորդաձողերի յուրաքանչյուր հատվածամասի կամ աշխատանքային համակարգի համար |
Մեկ` հաղորդաձողերի երկու հատվածամասի կամ աշխատանքային համակարգերի համար (առանց նախավթարային ռեժիմի գրանցման) |
|
110 |
Հաղորդաձողերի հատվածամասերով կամ համակարգերով |
Չորսից վեց` հաղորդաձողերի յուրաքանչյուր հատվածամասի կամ աշխատանքային համակարգի համար |
Մեկ` հաղորդաձողերի յուրաքանչյուր հատվածամասի կամ աշխատանքային համակարգի համար (առանց նախավթարային ռեժիմի գրանցման) |
|
110 |
Հաղորդաձողերի հատվածամասերով կամ համակարգերով |
Յոթ կամ ավելի` յուրաքանչյուր հատվածամասի կամ աշխատանքային համակարգի համար |
Մեկ` հաղորդաձողերի յուրաքանչյուր հատվածամասի կամ աշխատանքային համակարգի համար. թույլատրվում է երկու ինքնավար տատանագրիչների տեղակայում հաղորդաձողերի յուրաքանչյուր հատվածամասի կամ աշխատանքային համակարգի համար (առանց նախավթարային ռեժիմի գրանցման) |
|
110 |
Առանց անջատիչների 110 կՎ կողմում, կամրջակ, եռանկյուն, քառանկյուն |
Մեկ կամ երկու |
Չի տեղակայվում |
Աղյուսակ N 3
Վթարային ինքնավար տատանագրիչների կողմից գրանցվող հարաչափերի ընտրության հանձնարարականներ
Բաշխիչ սարքվածքի լարումը, կՎ Ավտոմատ տատանագրիչներով գրանցելու համար 500, 330 Գծերի երեք ֆազերի ֆազային լարումները: Գծերի զրոյական հաջորդականության լարումը և հոսանքը: Գծերի երկու կամ երեք ֆազերի հոսանքները: Հզորության ուժեղացուցիչի հոսանքը, բարձր հաճախային ընդունիչ-հաղորդչի ընդունման հոսանքը և բարձր հաճախային պաշտպանության ելքային միջանկյալ ռելեի հպակների դիրքը 220, 110 Հաղորդաձողերի հատվածամասի կամ աշխատանքային համակարգի ֆազային լարումները և զրոյական հաջորդականության լարումները: Հաղորդաձողերի հատվածամասին կամ աշխատանքային համակարգին միացված գծերի զրոյական հաջորդականության հոսանքները: Առավելի պատասխանատու գծերի ֆազային (երկու կամ երեք ֆազի) հոսանքները: Էլեկտրահաղորդման միջհամակարգային գծերի դիֆերենցիալ-ֆազային պաշտպանությունների բարձր հաճախային ընդունիչ-հաղորդիչների ընդունման հոսանքները
հանձնարարվող հարաչափերը
VI. ՀՈՂԱԿՑՈՒՄԸ ԵՎ ԷԼԵԿՏՐԱԱՆՎՏԱՆԳՈՒԹՅԱՆ ՊԱՇՏՊԱՆԱԿԱՆ ՄԻՋՈՑՆԵՐԸ
26. ԸՆԴՀԱՆՈՒՐ ՊԱՀԱՆՋՆԵՐԸ
1) Սույն բաժնի դրույթները տարածվում են 1 կՎ-ից ցածր և բարձր լարման փոփոխական ու հաստատուն հոսանքի բոլոր էլեկտրատեղակայանքի վրա և պարունակում են ընդհանուր պահանջներ դրանց հողակցման և հոսանահարումից մարդկանց ու կենդանիների պաշտպանության վերաբերյալ էլեկտրատեղակայանքների աշխատանքի բնականոն ռեժիմի, ինչպես նաև մեկուսացման վնասման դեպքերում:
Լրացուցիչ պահանջները տրված են սույն ՏԿ-ի համապատասխան բաժիններում:
2) Էլեկտրատեղակայանքներն էլեկտրաանվտանգության ապահովման տեսակետից դրանք բաժանվում են`
1 կՎ-ից բարձր լարման էլեկտրատեղակայանքներ` խուլ հողակցված և արդյունավետ հողակցված չեզոքով ցանցերում,
1 կՎ-ից բարձր լարման էլեկտրատեղակայանքներ` մեկուսացված աղեղմարիչ ռեակտորով կամ ռեզիստորով մեկուսացված կամ հողակցված չեզոքով ցանցերում,
1 կՎ-ից ցածր լարման էլեկտրատեղակայանքներ` խուլ հողակցված չեզոքով ցանցերում,
1 կՎ-ից ցածր լարման էլեկտրատեղակայանքներ` մեկուսացված չեզոքով ցանցերում:
3) 1 կՎ-ից ցածր լարման էլեկտրատեղակայանքների համար ընդունված են հետևյալ նշանակումները`
համակարգ ՏՆ(TN) - համակարգ, որում սնման աղբյուրի չեզոքը խուլ հողակցված է, իսկ էլեկտրատեղակայանքի բաց հաղորդիչ մասերը միացված են աղբյուրի խուլ հողակցված չեզոքին զրոյական պաշտպանիչ հաղորդիչներով,
համակարգ ՏՆ-Ց(TN-C) - համակարգ ՏՆ, որում զրոյական պաշտպանիչ և զրոյական աշխատանքային հաղորդիչները համատեղված են մեկ հաղորդչում դրա ամբողջ երկարությամբ (1-ին նկար),
համակարգ ՏՆ-Ս(TN-S) - համակարգ ՏՆ, որում զրոյական պաշտպանիչ և զրոյական աշխատանքային հաղորդիչները բաժանված են դրա ամբողջ երկարությամբ (2-րդ նկար),
համակարգ ՏՆ-Ց-Ս(TN-C-S) - համակարգ ՏՆ, որում զրոյական պաշտպանիչ և զրոյական աշխատանքային հաղորդիչները համատեղված են մեկ հաղորդչում դրա որևէ մասում` սկսած սնման աղբյուրից (3-րդ նկար),
համակարգ ԻՏ(IT) - համակարգ, որում սնման աղբյուրի չեզոքը մեկուսացված է հողից կամ հողակցված է մեծ դիմադրություն ունեցող սարքերի կամ սարքվածքների միջոցով, իսկ էլեկտրատեղակայանքի բաց հաղորդիչ մասերը հողակցված են (4-րդ նկար),
համակարգ ՏՏ(TT) - համակարգ, որում սնման աղբյուրի չեզոքը խուլ հողակցված է, իսկ էլեկտրատեղակայանքի բաց հաղորդիչ մասերը հողակցված են սնման աղբյուրի խուլ հողակցված չեզոքից էլեկտրականապես անկախ հողակցման սարքվածքով (5-րդ նկար):
Առաջին տառը սնման աղբյուրի չեզոքի վիճակն է հողի նկատմամբ`
Տ(T) - հողակցված չեզոք,
Ի(I) - մեկուսացված չեզոք:
Երկրորդ տառը բաց հաղորդիչ մասերի վիճակն է հողի նկատմամբ.
Տ(T) - բաց հաղորդիչ մասերը հողակցված են` անկախ սնման աղբյուրի չեզոքի կամ սնող ցանցի որևէ կետի հողի նկատմամբ վիճակից,
Ն(N) - բաց հաղորդիչ մասերը միացված են սնման աղբյուրի խուլ հողակցված չեզոքին:
Հաջորդ (Ն-ից հետո) տառերը - զրոյական աշխատանքային և զրոյական պաշտպանական հաղորդիչների գործառույթների համատեղում մեկ հաղորդչում կամ բաժանում.
Ս(S) - զրոյական աշխատանքային (Ն) և զրոյական պաշտպանիչ (ՊԵ) հաղորդիչները բաժանված են,
Ց(C) - զրոյական պաշտպանական և զրոյական աշխատանքային հաղորդիչների գործողությունները համատեղված են մեկ հաղորդչում (ՊԵՆ հաղորդիչ),
| Ն(N) - | - զրոյական աշխատանքային (չեզոք) հաղորդիչ, | |
| ՊԵ(PE) - | - պաշտպանիչ հաղորդիչ (հողակցման հաղորդիչ, զրոյական պաշտպանիչ հաղորդիչ, պոտենցիալների հավասարեցնող համակարգի պաշտպանիչ հաղորդիչ), | |
| ՊԵՆ(PEN) - | - համատեղված զրոյական պաշտպանիչ և զրոյական աշխատանքային հաղորդիչներ: |
Նկար 1. Փոփոխական (ա) և հաստատուն (բ) հոսանքի ՏՆ-Ց համակարգ
Զրոյական պաշտպանիչ և զրոյական աշխատանքային հաղորդիչները համատեղված են մեկ հաղորդչում:
1 - սնման աղբյուրի չեզոքի (միջին կետում) հողակցիչ, 2 - բաց հաղորդիչ մասեր, 3 - հաստատուն հոսանքի սնման աղբյուր:
Նկար 2. Փոփոխական (ա) և հաստատուն (բ) հոսանքի ՏՆ-Ս համակարգ
Զրոյական պաշտպանիչ և զրոյական աշխատանքային հաղորդիչները բաժանված են:
1- փոփոխական հոսանքի աղբյուրի չեզոքի հողակցիչ, 1-1 - հաստատուն հոսանքի աղբյուրի արտանցիչի հողակցիչ, 1-2 - հաստատուն հոսանքի աղբյուրի միջին կետի հողակցիչ, 2 - բաց հաղորդիչ մասեր, 3 - սնման աղբյուր:
Նկար 3. Փոփոխական (ա) և հաստատուն (բ) հոսանքի ՏՆ-Ց-Ս համակարգ
Զրոյական պաշտպանիչ և զրոյական աշխատանքային հաղորդիչները համատեղված են համակարգի մասի մեկ հաղորդչում:
1 -փոփոխական հոսանքի աղբյուրի չեզոքի հողակցիչ, 1-1 - հաստատուն հոսանքի աղբյուրի արտանցիչի հողակցիչ, 1-2 - հաստատուն հոսանքի աղբյուրի միջին կետի հողակցիչ, 2 - բաց հաղորդիչ մասեր, 3 - սնման աղբյուր:
Նկար 4. Փոփոխական (ա) և հաստատուն (բ) հոսանքի ԻՏ համակարգ
Էլեկտրատեղակայանքի բաց հաղորդիչ մասերը հողակցված են, սնման աղբյուրի չեզոքը մեկուսացված է հողից կամ հողակցված է մեծ դիմադրությամբ:
1 - սնման աղբյուրի չեզոքի հողակցման դիմադրություն (եթե առկա է), 2 - հողակցիչ, 3 - բաց հաղորդիչ մասեր, 4 - էլեկտրատեղակայանքի հողակցման սարքվածք, 5 - սնման աղբյուր:
Նկար 5. Փոփոխական (ա) և հաստատուն (բ) հոսանքի ՏՏ համակարգ
Էլեկտրատեղակայանքի բաց հաղորդիչ մասերը հողակցված են չեզոքի հողակցիչից
էլեկտրականապես անկախ հողակցմամբ:
1 - փոփոխական հոսանքի աղբյուրի չեզոքի հողակցիչ, 1-1 - հաստատուն հոսանքի աղբյուրի ելքի հողակցիչ, 1-2 - հաստատուն հոսանքի աղբյուրի միջին կետի հողակցիչ, 2 - բաց հաղորդիչ մասեր, 3 - էլեկտրատեղակայանքի բաց հաղորդիչ մասերի հողակցիչ, 4 - սնման աղբյուր:
4) Էլեկտրատեղակայանքի հոսանատար մասերը չպետք է մատչելի լինեն պատահական հպման համար, իսկ հպման համար մատչելի բաց և կողմնակի հաղորդիչ մասերը չպետք է գտնվեն լարման տակ, որը վտանգ է ներկայացնում էլեկտրական հոսանահարումից ինչպես էլեկտրատեղակայանքի աշխատանքի բնականոն ռեժիմում, այնպես էլ մեկուսացումը վնասվելու դեպքում:
5) Բնականոն ռեժիմում էլեկտրական հոսանահարումից պաշտպանության համար պետք է առանձին կամ զուգակցմամբ կիրառվեն ուղղակի հպումից պաշտպանության հետևյալ միջոցները`
հոսանատար մասերի հիմնական մեկուսացում,
ցանկապատեր և պատյաններ,
պատնեշների տեղակայում,
հասանելիության գոտուց դուրս տեղադրում,
գերցածր (փոքր) լարման կիրառում:
Ուղղակի հպումից լրացուցիչ պաշտպանության համար 1 կՎ-ից ցածր լարմամբ էլեկտրատեղակայանքներում սույն ՏԿ-ի մյուս բաժինների պահանջների առկայության դեպքում պետք է կիրառել պաշտպանական անջատման սարքվածք (ՊԱՍ), 30 մԱ-ից ոչ ավելի անվանական անջատող դիֆերենցիալ հոսանքով:
6) Էլեկտրական հոսանահարումից պաշտպանության համար մեկուսացման վնասվելու դեպքում պետք է առանձին կամ զուգակցմամբ կիրառվեն պաշտպանության հետևյալ միջոցներն անուղղակի հպման դեպքի համար.
պաշտպանական հողակցում,
սնման ինքնավար անջատում,
պոտենցիալների հավասարեցում,
պոտենցիալների հարթեցում,
կրկնակի կամ ուժեղացված մեկուսացում,
գերցածր (փոքր) լարում,
շղթաների պաշտպանական էլեկտրական բաժանում,
մեկուսացնող (անհաղորդիչ) սենքեր, գոտիներ, հարթակներ:
7) Էլեկտրական հոսանահարումից պաշտպանության միջոցները պետք է նախատեսվեն էլեկտրատեղակայանքի կամ դրա մասի մեջ կամ կիրառվեն առանձին էլեկտրաընդունիչների վրա և կարող են իրականացվել կամ էլեկտրասարքվածքը պաշտպանելիս, կամ էլեկտրատեղակայանքի տեղակայման ժամանակ, կամ երկու դեպքում էլ:
Պաշտպանության երկու և ավելի միջոցառումների կիրառումը չպետք է ունենա փոխադարձ ազդեցություն, որը փոքրացնում է դրանցից յուրաքանչյուրի արդյունավետությունը:
8) Պաշտպանությունն անուղղակի հպման դեպքում պետք է կատարել բոլոր դեպքերում, երբ լարումն էլեկտրատեղակայանքում գերազանցում է փոփոխական հոսանքի 50 Վ-ը և հաստատունի 120 Վ-ը:
Բարձր վտանգավորության սենքերում, առանձնահատուկ վտանգավոր և արտաքին էլեկտրատեղակայանքներում ուղղակի հպման ժամանակ պաշտպանության իրագործում կարող է պահանջվել ավելի ցածր լարումների դեպքում, օրինակ` փոփոխական հոսանքի 25 Վ և հաստատուն հոսանքի 30 Վ, սույն ՏԿ-ի համապատասխան բաժինների պահանջների առկայության դեպքում:
Ուղղակի հպումից պաշտպանություն չի պահանջվում, եթե էլեկտրասարքվածքը գտնվում է պոտենցիալների հավասարեցման համակարգի գոտում, իսկ ամենամեծ աշխատանքային լարումը չի գերազանցում փոփոխական հոսանքի 25 Վ-ը և հաստատուն հոսանքի 60 Վ-ը` ոչ բարձր վտանգավորության սենքերում և 6 Վ փոփոխական կամ 15 Վ հաստատուն հոսանքի լարում` բոլոր դեպքերում:
Այս գլխում և հետագայում փոփոխական հոսանքի լարում նշանակում է փոփոխական լարման միջին քառակուսային արժեքը. հաստատուն հոսանքի լարում` հաստատուն կամ ուղղված հոսանքի լարում` միջին քառակուսային արժեքի 10%-ը չգերազանցող բաբախումների պարունակությամբ:
9) Էլեկտրատեղակայանքների հողակցման համար կարող են օգտագործվել արհեստական և բնական հողակցիչներ: Եթե բնական հողակցիչներ օգտագործելիս հողակցվող սարքվածքների դիմադրությունը կամ հպման լարումն ունի թույլատրելի արժեք, ինչպես նաև բավարարվում են լարման նորմավորված արժեքները հողակցող սարքվածքի վրա և հոսանքների թույլատրելի խտությունները բնականոն հողակցիչներում, 1 կՎ-ից ցածր էլեկտրատեղակայանքներում արհեստական հողակցիչների իրագործումը պարտադիր չէ: Բնական հողակցիչների օգտագործումը, որպես հողակցող սարքվածքների տարրեր, չպետք է բերի դրանց վնասելուն` կարճ միակցման հոսանքները հոսելիս կամ այն սարքվածքների աշխատանքի խափանմանը, որոնց հետ դրանք կապված են:
10) Տարածականորեն մոտեցված տարբեր նշանակության և լարումների էլեկտրատեղակայանքներում հողակցման համար պետք է, որպես կանոն, կիրառել մեկ ընդհանուր հողակցող սարքվածք:
Հողակցող սարքվածքը, որը կիրառվում է մեկ կամ մի քանի նշանակության լարումների էլեկտրատեղակայանքների հողակցման համար, պետք է բավարարի այդ էլեկտրատեղակայանքներին ներկայացվող բոլոր պահանջներին. մեկուսացման վնասման դեպքում մարդկանց պաշտպանություն էլեկտրական հոսանահարումից, ցանցերի աշխատանքի ռեժիմների պայմաններին, գերլարումներից էլեկտրասարքվածքի պաշտպանության և այլն, շահագործման ամբողջ ընթացքում:
Առաջին հերթին պետք է պահպանված լինեն պաշտպանական հողակցմանը ներկայացվող պահանջները:
Շենքերի և կառույցների էլեկտրատեղակայանքների պաշտպանական հողակցման հողակցող սարքվածքները և այդ շենքերի ամպրոպապաշտպանության 2-րդ և 3-րդ կարգի ամպրոպապաշտպանության հողակցող սարքվածքները, որպես կանոն, պետք է լինեն ընդհանուր:
Աշխատանքային հողակցման համար առանձին (անկախ) հողակցիչ իրագործելու դեպքում, ըստ տեղեկատվական կամ խանգարումների ներազդմանը զգայուն սարքվածքի աշխատանքային պայմանների, պետք է ձեռնարկվեն պաշտպանության հատուկ միջոցառումներ` էլեկտրական հոսանահարումից, որոնք մեկուսացման վնասվելու դեպքում բացառում են միաժամանակյա հպումը պոտենցիալների վտանգավոր տարբերության տակ գտնվող մասերին:
Տարբեր էլեկտրատեղակայանքների հողակցող սարքվածքները մեկ հողակցող սարքվածքի մեջ միավորելու համար կարող են օգտագործվել բնական և արհեստական հաղորդիչներ: Դրանց թիվը պետք է լինի երկուսից ոչ պակաս:
11) Հպման լարումների պահանջվող արժեքները և հողակցող սարքվածքների դիմադրությունները` դրանցից հողին միակցման հոսանքները և կորուստների հոսանքները հոսելիս, պետք է ապահովեն առավելի անբավարար պայմաններում տարվա ցանկացած ժամանակ:
Հողակցող սարքվածքների դիմադրությունները որոշելիս պետք է հաշվի առնվեն արհեստական և բնական հողակցիչները:
Հողի տեսակարար դիմադրությունը որոշելիս որպես հաշվարկային պետք է ընդունել դրա սեզոնային արժեքը, որը համապատասխանում է առավելի անբարենպաստ պայմաններին:
Հողակցող սարքվածքները պետք է լինեն մեխանիկորեն ամուր, հողակցված հոսանքների նկատմամբ պետք է ունենան ջերմային և դինամիկ կայունություն:
12) Բնակելի, հասարակական և արդյունաբերական շենքերի և արտաքին տեղակայման 1 կՎ-ից ցածր լարմամբ էլեկտրատեղակայանքները պետք է, որպես կանոն, սնում ստանան խուլ հողակցված չեզոքով աղբյուրից` ՏՆ համակարգի կիրառմամբ:
Անուղղակի հպման դեպքում էլեկտրական հոսանահարումից պաշտպանելու համար այդպիսի էլեկտրատեղակայանքներում պետք է իրագործված լինի սնման ինքնավար անջատում` 29-րդ գլխի 3-րդ և 4-րդ կետերին համապատասխան:
ՏՆ-Ց, ՏՆ-Ս, ՏՆ-Ց-Ս համակարգերի ընտրման պահանջները կոնկրետ էլեկտրակայանքների համար նշված են սույն կանոնակարգի համապատասխան բաժիններում:
13) Եթե սնման ընդմիջում չի թույլատրվում հողին կամ բաց հաղորդիչ մասերին (պոտենցիալների հավասարեցման համակարգերում) առաջին միացման դեպքում, ապա, որպես կանոն, փոփոխական հոսանքի 1 կՎ-ից ցածր լարման էլեկտրատեղակայանքների սնումը պետք է իրագործվի մեկուսացված չեզոքով հոսանքի աղբյուրից: Այդպիսի էլեկտրասարքվածքներում առաջին հողակցման դեպքում անուղղակի հպումից պաշտպանության համար պետք է իրագործված լինի պաշտպանական հողակցում` ցանցի մեկուսացման վերահսկման զուգորդմամբ, կամ կիրառվեն միաֆազ հողակցումից պաշտպանություններ (ՄՀՊ)` 30 մԱ-ից ոչ ավելի անվանական անջատող դիֆերենցիալ հոսանքով: Հողին կրկնակի միակցման դեպքում պետք է կատարվի սնման ինքնավար անջատում` 29-րդ գլխի 6-րդ կետին համապատասխան:
14) 1 կՎ-ից ցածր լարմամբ էլեկտրատեղակայանքի սնումը խուլ հողակցված չեզոքով աղբյուրից (էլեկտրատեղակայանքի բաց հաղորդիչ մասերի հողակցման համակարգը հաղորդչով միացված չէ սնման աղբյուրի չեզոքին` ՏՏ համակարգ) թույլատրվում է միայն այն դեպքերում, երբ էլեկտրաանվտանգության պայմանները ՏՆ համակարգում հնարավոր չէ ապահովել: Այդ էլեկտրասարքվածքներում անուղղակի հպումից պաշտպանության համար պետք է իրագործվի սնման ինքնավար անջատում` ՄՀՊ-ի պարտադիր կիրառմամբ: Ընդ որում, պետք է պահպանվի հետևյալ պայմանը`
R · I ≤ 50 Վ,
որտեղ` I - պաշտպանական սարքվածքի գործարկման հոսանքն է, R - հողակցիչի և հողակցման հաղորդչի գումարային դիմադրությունն է, մի քանի էլեկտրատեղակայանքների պաշտպանության համար ՄՀՊ-ի կիրառման դեպքում` առավել հեռու էլեկտրատեղակայանքի հաղորդչի դիմադրությունը:
15) Սնման պաշտպանական ինքնավար անջատում կիրառելիս պետք է իրագործվի պոտենցիալների հավասարեցման հիմնական համակարգը` 29-րդ գլխի 7-րդ կետին համապատասխան, իսկ անհրաժեշտության դեպքում` նաև պոտենցիալների հավասարեցման լրացուցիչ համակարգ` 8-րդ կետին համապատասխան:
16) ՏՆ համակարգի կիրառման դեպքում խորհուրդ է տրվում ՊԵ և ՊԵՆ-հաղորդիչների կրկնական հողակցում` շենքերի էլեկտրատեղակայանքների ներանցիչի վրա, ինչպես նաև մյուս մատչելի տեղերում: Կրկնական հողակցման համար առաջին հերթին պետք է օգտագործել բնական հողակցիչներ: Կրկնական հողակցման հողակցիչի դիմադրությունը չի նորմավորվում:
Մեծ և բազմահարկ շենքերում նմանատիպ գործառույթ է կատարում պոտենցիալների հավասարեցումը` զրոյական պաշտպանական հաղորդիչը գլխավոր հողակցող հաղորդաձողին միացնելու միջոցով:
1 կՎ-ից ցածր լարմամբ էլեկտրատեղակայանքների կրկնակի հողակցումը, որոնք սնում են ստանում օդային գծերով, պետք է իրագործվի 32-րդ գլխի 3-րդ և 4-րդ կետերին համապատասխան:
17) Եթե սնման ինքնավար անջատման ժամանակ չի բավարարում 29-րդ գլխի 3-րդ և 4-րդ կետերի պայմաններին` ՏՆ համակարգի համար, և 6-րդ կետին` ԻՏ համակարգի համար, ապա պաշտպանությունն անուղղակի հպման դեպքում, էլեկտրատեղակայանքի առանձին մասերի կամ առանձին էլեկտրաընդունիչների համար, կարող է իրագործվել կրկնական կամ ուժեղացված մեկուսացման կիրառմամբ (II դասի էլեկտրասարքվածք), կամ գերցածր լարմամբ (III դասի էլեկտրասարքվածք), ինչպես նաև մեկուսացնող (անհաղորդիչ) սենքերի, գոտիների, հարթակների շղթաների էլեկտրական բաժանմամբ:
18) 1 կՎ-ից ցածր լարմամբ ԻՏ համակարգը, որը 1 կՎ-ից բարձր լարմամբ ցանցի հետ կապված է տրանսֆորմատորի միջոցով, պետք է պաշտպանված լինի վտանգից ծակման ապահովչով, որը ծագում է տրանսֆորմատորի ամենաբարձր և ամենացածր լարումների փաթույթների միջև մեկուսացումը վնասվելու դեպքում: Ծակման ապահովիչը պետք է տեղակայված լինի չեզոքի կամ ֆազի վրա` յուրաքանչյուր տրանսֆորմատորի ցածր լարման կողմում:
19) 1 կՎ-ից բարձր լարմամբ մեկուսացված չեզոքով էլեկտրատեղակայանքներում էլեկտրական հոսանահարումից պաշտպանության համար պետք է իրագործված լինի բաց հաղորդիչ մասերի պաշտպանական հողակցում:
Այդպիսի էլեկտրատեղակայանքներում պետք է նախատեսված լինի հողին միակցումների արագ հայտնաբերման հնարավորություն: Պաշտպանությունը հողին միակցումներից պետք է գործի անջատման վրա էլեկտրականապես կապված ամբողջ ցանցի համար այն դեպքերում, երբ այն անհրաժեշտ է ըստ անվտանգության պայմանների (շարժական ենթակայաններ և մեխանիզմներ սնող գծերի համար):
20) Արդյունավետ հողակցված չեզոքով 1 կՎ-ից բարձր լարմամբ էլեկտակայանքներում էլեկտրական հոսանահարումից պաշտպանության համար պետք է իրագործված լինի բաց հաղորդիչ մասերի պաշտպանական հողակցում:
21) Էլեկտրասարքվածի պաշտպանական հողակցումը ԻՏ համակարգում և պաշտպանական զրոյակցումը ՏՆ համակարգ, որը տեղակայված է ՕԳ-ի հենասյուների վրա (ուժային և չափիչ տրանսֆորմատորներ, կոնդենսատորներ, բաժանիչներ, ապահովիչներ և այլ ապարատներ), պետք է իրագործված լինի սույն ՏԿ-ի սույն և համապատասխան բաժիններում նշված պահանջների պահպանմամբ:
ՕԳ-ի հենասյան հողակցող սարքվածքի դիմադրությունը, որի վրա տեղակայված է էլեկտրասարքվածք, պետք է համապատասխանի սույն ՏԿ-ի պահանջներին:
27. ՈՒՂՂԱԿԻ ՀՊՈՒՄԻ ՊԱՇՏՊԱՆՈՒԹՅԱՆ ՄԻՋՈՑՆԵՐԸ
1) Հոսանատար մասերի հիմնական մեկուսացումը պետք է ծածկի հոսանատար մասերը և դիմանա բոլոր ազդեցություններին, որոնց նա կարող է ենթարկվել դրա շահագործման ընթացքում: Մեկուսացման հեռացումը հնարավոր պետք է լինի միայն դրա քայքայման միջոցով: Լաքաներկային ծածկույթներն էլեկտրական հոսանահարումից պաշտպանող մեկուսացում չեն համարվում` բացառությամբ այն դեպքերի, որոնք հատուկ վերապահված են շահագործման փաստաթղթերով` որոշակի շինվածքների համար: Հավաքակցման ժամանակ մեկուսացում իրագործելիս այն պետք է փորձարկվի սույն ՏԿ-ի VII բաժնի պահանջներին համապատասխան:
Այն դեպքերում, երբ հիմնական մեկուսացումն ապահովվում է օդային տարածությամբ, պաշտպանությունը հոսանատար մասերի հետ ուղղակի հպումից կամ դրանց մոտեցումից, այդ թվում` 1 կՎ-ից բարձր լարմամբ էլեկտրատեղակայանքներում, պետք է իրագործված լինի պատյանների, ցանկապատների, պատնեշների միջոցով կամ հասանելիության գոտուց դուրս տեղաբաշխմամբ:
2) Ցանկապատները և պատյանները 1 կՎ-ից ցածր լարմամբ էլեկտրատեղակայանքներում պետք է ունենան առնվազն IP2X դասի պաշտպանություն, բացառությամբ այն դեպքերի, երբ մեծ բացակներն անհրաժեշտ են էլեկտրասարքվածքի բնականոն աշխատանքի համար:
Պաշտպանակները և պատյանները պետք է հուսալիորեն ամրացված լինեն և ունենան բավարար մեխանիկական ամրություն:
Անցումը ցանկապատից այն կողմ կամ պատյանի բացումը պետք է հնարավոր լինի միայն հատուկ բանալու կամ գործիքի միջոցով կամ հոսանատար մասերից լարումը հանելուց հետո: Այդ պայմանների պահպանման անհնարինության դեպքում պետք է տեղակայված լինեն ժամանակավոր պաշտպանակներ` IP2X-ից ոչ պակաս պաշտպանության աստիճանով, որոնց հեռացումը նույնպես հնարավոր լինի միայն հատուկ բանալու կամ գործիքի օգնությամբ:
3) Պատնեշները նախատեսված են 1 կՎ-ից ցածր էլեկտրատեղակայանքներում հոսանատար մասերի հետ պատահական հպումից կամ 1 կՎ-ից բարձր լարմամբ էլեկտրատեղակայանքներում` վտանգավոր հեռավորության վրա դրանց մոտենալուց պաշտպանության համար, բայց չեն բացառում հոսանատար մասերին կանխամտածված հպումը և մոտեցումը պատնեշը շրջանցելիս: Պատնեշների հեռացման համար բանալու կամ գործիքի կիրառում չի պահանջվում, սակայն դրանք պետք է ամրացված լինեն այնպես, որ հնարավոր չլինի ոչ կանխամտածված դրանց հանելը: Պատնեշները պետք է լինեն մեկուսիչ նյութից:
4) Հասանելիության գոտուց դուրս տեղաբաշխումը 1 կՎ-ից ցածր լարմամբ էլեկտրատեղակայանքների հոսանատար մասերի հետ ուղղակի հպումից կամ 1 կՎ-ից բարձր լարմամբ էլեկտրատեղակայանքներում` դրանց մոտենալուց պաշտպանության համար, կարելի է կիրառել սույն գլխի 2-րդ և 3-րդ կետերում նշված միջոցառումների իրագործման անհնարինության դեպքում կամ դրանց բավարար չլինելու դեպքում: Ընդ որում, հեռավորությունը միաժամանակյա հպման համար մատչելի հաղորդիչ մասերի միջև 1 կՎ լարմամբ էլեկտրատեղակայանքներում պետք է լինի 2,5 մ-ից ոչ պակաս:
Հասանելիության գոտու ներսում չպետք է լինեն տարբեր պոտենցիալներ ունեցող և միաժամանակյա հպման համար մատչելի մասեր:
Ուղղաձիգ ուղղությամբ հասանելիության գոտին 1 կՎ-ից ցածր լարմամբ էլեկտրատեղակայանքներում պետք է կազմի 2,5 մ այն մակերևույթից, որի վրա մարդիկ գտնվում են (նկ. 6):
Նշված չափերը նշված են առանց հաշվի առնելու օժանդակ միջոցների (օրինակ` գործիքի, աստիճանների, երկար առարկաների) օգտագործումը:
Նկար 6. Հասանելիության գոտին մինչև 10 կՎ էլեկտրատեղակայանքներում
S - մակերևույթ, որի վրա մարդը կարող է գտնվել, B - մակերևույթի (S) հիմքը, - S մակերևույթի վրա գտնվող մարդու և հոսանատար մասերի ձեռքով
հասանելիության գոտու սահմանը,
0.75, 0.25, 2.50 մ - հեռավորությունները S մակերևույթի եզրից մինչև հասանելիության գոտու սահմանը:
5) Պատնեշների տեղակայումը և տեղաբաշխումը հասանելիության գոտուց դուրս թույլատրվում է միայն այն սենքերում, որոնք մատչելի են որակավորված անձնակազմին:
6) 1 կՎ-ից ցածր լարմամբ էլեկտրատեղակայանքների էլեկտրասենքերում ուղղակի հպումից պաշտպանություն չի պահանջվում հետևյալ պայմանների միաժամանակյա կատարման դեպքում`
ա) այդ սենքերը պարզորոշ կերպով նշված են և մուտք գործել այդ սենքերը հնարավոր է միայն բացելու օգնությամբ,
բ) ապահովված է շինությունից ազատ ելքի հնարավորություն` առանց բացելու, եթե նույնիսկ արտաքինից այն փակված է բանալիով,
գ) սպասարկման անցարանների նվազագույն չափսերը համապատասխանում են սույն ՏԿ-ի պահանջներին:
28. ՊԱՇՏՊԱՆՈՒԹՅԱՆ ՄԻՋՈՑՆԵՐՆ ՈՒՂՂԱԿԻ ԵՎ ԱՆՈՒՂՂԱԿԻ ՀՊՈՒՄԻՑ
1) Գերցածր (փոքր) լարումը (ԳՑԼ) 1 կՎ-ից ցածր լարմամբ էլեկտրատեղակայանքներում կարող է կիրառվել էլեկտրական հոսանահարումից պաշտպանության համար` ուղղակի և անուղղակի հպման դեպքում շղթաների պաշտպանական էլեկտրական բաժանման հետ զուգորդմամբ կամ սնման ինքնավար անջատման հետ զուգորդմամբ:
Որպես ԳՑԼ-ի շղթաների սնման աղբյուր երկու դեպքում էլ պետք է կիրառել անվտանգ բաժանարար տրանսֆորմատոր` համապատասխան ԳՕՍՏ 30030 «Տրանսֆորմատորներ. Բաժանիչ և անվտանգ բաժանիչ տրանսֆորմատորներ. Տեխնիկական պահանջներ»-ին կամ ԳՑԼ-ի այլ աղբյուր, որն ապահովում է անվտանգության հավասարազոր աստիճան:
ԳՑԼ-ի շղթաների հոսանատար մասերը պետք է էլեկտրականապես առանձնացված լինեն մյուս շղթաներից այնպես, որ ապահովվի էլեկտրական առանձնացումը, որը հավասարազոր է տարանջատմանը` բաժանարար տրանսֆորմատորի առաջնային և երկրորդային փաթույթների միջև:
ԳՑԼ-ի շղթայի հաղորդիչները, որպես կանոն, պետք է անցկացվեն առանձին` ավելի բարձր լարումների հաղորդիչներից և պաշտպանական հաղորդիչներից կամ առանձնացված լինեն նրանցից` հողակցված մետաղե էկրանով (պատյանով) կամ, որպես լրացում, հիմնական մեկուսացմանն ամփոփված լինեն ոչ մետաղական պատյանի մեջ:
Վարդակային միացումների խրոցները և վարդակները ԳՑԼ-ի շղթաների մեջ չպետք է թույլ տան միացումներ այլ լարումների վարդակներին և խրոցակներին:
Խրոցակային վարդակները պետք է լինեն առանց պաշտպանական հպակի:
ԳՑԼ-ի փոփոխական հոսանքի 25 Վ-ից կամ հաստատուն հոսանքի 60 Վ-ից բարձր արժեքների դեպքում պետք է իրագործվի նաև պաշտպանություն ուղղակի հպումից պաշտպանակների կամ պատյանների կամ մեկուսացման միջոցով համապատասխանում է փոփոխական հոսանքի 500 Վ փորձարկման լարմանը 1 րոպեի ընթացքում:
2) Շղթաների էլեկտրական տարանջատման զուգորդմամբ ԳՑԼ-ի կիրառման դեպքում բաց հաղորդիչ մասերը չպետք է կանխամտածված միակցվեն այլ շղթաների հողակցիչին, պաշտպանական հաղորդիչներին կամ բաց հաղորդիչ մասերին` բացի այն դեպքից, երբ կողմնակի հաղորդիչ մասերի միացումն էլեկտրասարքվածքի հետ անհրաժեշտ է, իսկ լարումն այդ մասերի վրա չի կարող գերազանցել ԳՑԼ-ի արժեքը:
ԳՑԼ-ի կիրառումը` շղթաների էլեկտրական անջատման զուգորդմամբ, պետք է կիրառվի, երբ ԳՑԼ-ի օգնությամբ անհրաժեշտ է ապահովել պաշտպանություն էլեկտրական հոսանահարումից` մեկուսացումը վնասվելու դեպքում ոչ միայն ԳՑԼ-ի շղթայում, այլ նաև մյուս շղթաներում մեկուսացման վնասվելու դեպքում, օրինակ` աղբյուրը սնող շղթայում:
ԳՑԼ-ը սնման ինքնավար անջատման զուգորդմամբ կիրառելու դեպքում ԳՑԼ աղբյուրի արտանցիչներից մեկը և դրա հենամարմինը պետք է միակցված լինեն աղբյուրին սնող շղթայի պաշտպանական հաղորդչին:
3) Այն դեպքերում, երբ էլեկտրատեղակայանքում կիրառված է փոփոխական 50 Վ կամ հաստատուն 120 Վ չգերազանցող աշխատանքային (գործառնական) լարմամբ էլեկտրասարքվածք, այդպիսի լարումը կարող է օգտագործվել որպես ուղղակի և անուղղակի հպումից պաշտպանության միջոց, եթե այս դեպքում պահպանված են սույն գլխի 1-ին և 2-րդ կետերի պահանջները:
29. ՊԱՇՏՊԱՆԱԿԱՆ ՄԻՋՈՑՆԵՐՆ ԱՆՈՒՂՂԱԿԻ ՀՊՄԱՆ ԴԵՊՔՈՒՄ
1) Պաշտպանության պահանջներն անուղղակի հպման դեպքերի համար տարածվում են`
ա) էլեկտրական մեքենաների, տրանսֆորմատորների, ապարատների, լուսատուների և այլնի հենամարմինների վրա,
բ) էլեկտրական ապարատների շարժաբերների վրա,
գ) բաշխիչ վահանների հաղորդալարերի, կառավարման վահանակների և պահարանների վրա, ինչպես նաև հանովի և բացվող մասերի վրա, եթե վերջիններիս վրա տեղակայված է փոփոխական հոսանքի 50 Վ-ից բարձր լարմամբ կամ հաստատուն հոսանքի 120 Վ-ից բարձր լարմամբ էլեկտրասարքավորում (սույն ՏԿ-ի համապատասխան բաժիններում նախատեսված դեպքերում` փոփոխական հոսանքի 25 Վ-ից և հաստատուն հոսանքի 60 Վ-ից բարձր),
դ) բաշխիչ սարքվածքների մետաղե կառուցվածքների, մալուխային կցորդիչների, հսկման և ուժային մալուխների թաղանթների և զրահի, էլեկտրահաղորդագծի ճկախողովակների և խողովակների, հաղորդաձողալարերի (հոսանահաղորդագծերի) հենարանային կառուցվածքների, վաքերի, տուփախողովակների, շերտաձողերի, մետաղաճոպանների և մետաղալարերի վրա, որոնց վրա ամրացված են մալուխները և հաղորդալարերը (բացի մետաղալարերից, մետաղաճոպաններից և շերտաձողերից, որոնցով անցկացվում են զրոյացված կամ հողանցված թաղանթով կամ զրահով մալուխները), ինչպես նաև այլ մետաղե կառուցվածքներ, որոնց վրա տեղակայվում է էլեկտրասարքվածքը,
ե) հաղորդալարերի հսկման և ուժային մալուխների մետաղե թաղանթների և զրահի վրա 26-րդ գլխի 8-րդ կետում նշվածները չգերազանցող լարման դեպքում, որոնք անցկացված են ավելի բարձր լարումների մալուխների և հաղորդալարերի հետ ընդհանուր մետաղե կոնստրուկցիաների վրա, այդ թվում` ընդհանուր խողովակներում, վաքերում և այլն,
զ) շարժական և փոխադրովի էլեկտրաընդունիչների հենամարմինների վրա,
է) հաստոցների, մեքենաների և մեխանիզմների շարժվող մասերի վրա տեղակայված էլեկտրասարքվածքի վրա:
Սնման ինքնավար անջատումը որպես պաշտպանական միջոց կիրառելու դեպքում նշված բաց հաղորդիչ մասերը պետք է միակցվեն սնման աղբյուրի հողակցված չեզոքին` ՏՆ համակարգում և հողակցվեն ԻՏ և ՏՏ համակարգերում:
2) Չի պահանջվում աղբյուրի չեզոքին կանխամտածված միացնել` ՏՆ համակարգում և հողակցել ԻՏ և ՏՏ համակարգում`
ա) էլեկտրասարքվածքի և ապարատների հենամարմինները, որոնք տեղակայված են կոնստրուկցիաների, բաշխիչ սարքվածքների, վահանների, պահարանների, հաստոցների, մեքենաների և մեխանիզմների հենոցների մետաղե հիմքերի վրա, որոնք միացված են սնման աղբյուրի չեզոքին կամ հողակցված են, այդ հենամարմինների հուսալի էլեկտրական հպումը հիմքերի հետ ապահովելու դեպքում,
բ) կոնստրուկցիաները, որոնք թվարկված են սույն գլխի 1-ին կետում, այդ կոնստրուկցիաների և դրանց վրա տեղակայված էլեկտրասարքվածքի միջև հուսալի էլեկտրական կոնտակտ ապահովելու դեպքում, եթե էլեկտրասարքվածքը միացված է պաշտպանական հաղորդչին,
գ) բաշխիչ սարքվածքների խցերի, պահարանների, պաշտպանակների մետաղե հենակմախքների հանովի կամ բացվող մասերը, եթե հանովի (բացվող) մասերի վրա էլեկտրասարքվածք տեղակայված չէ, կամ եթե տեղակայված էլեկտրասարքվածքի լարումը չի գերազանցում 26-րդ գլխի 8-րդ կետում նշված արժեքները,
դ) օդային էլեկտրահաղորդման գծերի մեկուսիչների ամրանը և դրանց միակցված ամրակապիչ մասերը,
ե) կրկնակի մեկուսացմամբ էլեկտրասարքվածքի բաց հաղորդիչ մասերը,
զ) մետաղե ճարմանդները, պնդիչները, մալուխների մեխանիկական պաշտպանական խողովակների հատվածները` պատերի և հենածածկերի միջով դրանց անցման տեղերում և էլեկտրահաղորդագծերի այլ նման մասերը` մինչև 100 սմ2 մակերեսով, այդ թվում` թաքնված էլեկտրահաղորդագծերի միջաձիգ և ճյուղավորման տուփերը:
3) 1 կՎ-ից ցածր լարմամբ էլեկտրատեղակայանքներում սնման ինքնավար անջատում իրագործելու դեպքում բոլոր բաց հաղորդիչ մասերը պետք է միացվեն սնման աղբյուրի խուլ հողակցված չեզոքին, եթե կիրառված է ՏՆ համակարգ, և հողանցվեն, եթե կիրառված է ԻՏ կամ ՏՏ համակարգ: Ընդ որում, պաշտպանական ապարատների բնութագրերը և պաշտպանական հաղորդիչների հարաչափերը պետք է համաձայնեցված լինեն, որպեսզի ապահովված լինի պաշտպանական-փոխարկման ապարատի կողմից վնասված շղթայի անջատման նորմավորված ժամանակ` սնող ցանցի անվանական ֆազային լարմանը համապատասխան:
Այն էլեկտրատեղակայանքներում, որոնցում որպես պաշտպանական միջոցառում կիրառված է սնման ինքնավար անջատումը, պետք է իրագործվի պոտենցիալների հավասարեցում:
Սնման ինքնավար անջատման համար կարող են կիրառվել պաշտպանական-փոխարկման ապարատներ, որոնք գործարկվում են գերհոսանքներից կամ դիֆերենցիալ հոսանքից:
4) ՏՆ համակարգում սնման ինքնավար անջատման ժամանակ չպետք է գերազանցի սույն բաժնի N 1 աղյուսակում նշված արժեքները:
Աղյուսակ N 1
Պաշտպանական ինքնավար անջատման ամենամեծ թույլատրելի ժամանակ ՏՆ համակարգի համար
|
Անվանական ֆազային լարումը, U0, Վ |
Անջատման ժամանակը, վ |
|
127 |
0.8 |
|
220 |
0.4 |
|
380 |
0.2 |
|
380-ից ավելի |
0.1 |
Անջատման ժամանակի տրված արժեքները համարվում են բավարար էլեկտրաանվտանգության ապահովման համար, այդ թվում` շարժական և փոխադրովի էլեկտրաընդունիչները և I դասի ձեռքի էլեկտրագործիքը սնող խմբային շղթայում:
Բաշխիչ, խմբային հարկային և այլն վահանները և վահանակները սնող շղթաներում անջատման ժամանակ չպետք է գերազանցի 5 վ-ը:
Թույլատրվում է սույն բաժնի N 1 աղյուսակում նշված արժեքներից մեծ անջատման ժամանակ, բայց 5 վ-ից ոչ ավելի այն շղթաներում, որոնք սնում են միայն մնայուն էլեկտրաընդունիչները բաշխիչ վահաններից կամ վահանակներից` հետևյալ պայմաններից մեկի կատարման դեպքում`
ա) գլխավոր հողակցիչ հաղորդաձողի և բաշխիչ վահանի կամ վահանակի միջև լրիվ դիմադրությունը չի գերազանցում հետևյալ արժեքը, Օմ
50Zշ/U0,
որտեղ` Zշ - «ֆազ-զրո» շղթայի լրիվ դիմադրությունն է, Օմ, U0 - շղթայի անվանական ֆազային լարումն է, Վ, 50 - լարման անկումն է գլխավոր հողակցիչ հաղորդաձողի և բաշխիչ վահանի կամ վահանակի միջև` պաշտպանական հաղորդչի տեղամասի վրա, Վ.
բ) բաշխիչ վահանի կամ վահանակի ՊԵ հաղորդաձողին միացված է պոտենցիալների հավասարեցման լրացուցիչ համակարգ, որն ընդգրկում է նույն կողմնակի հաղորդիչ մասերը, ինչ որ պոտենցիալների հավասարեցման հիմնական համակարգը:
Թույլատրվում է դիֆերենցիալ հոսանքից գործարկվող ՄՀՊ-ի կիրառում:
5) Չի թույլատրվում դիֆերենցիալ հոսանքից գործարկվող ՄՀՊ-ի կիրառում քառալար եռաֆազ շղթաներում (ՏՆ-Ց համակարգ): ՏՆ-Ց համակարգից սնում ստացող առանձին էլեկտրաընդունիչների պաշտպանության համար ՄՀՊ-ի կիրառման անհրաժեշտության դեպքում էլեկտրաընդունիչի պաշտպանական ՊԵ հաղորդիչը պետք է միացված լինի էլեկտրաընդունիչը սնող շղթայի ՊԵՆ հաղորդչին` մինչև պաշտպանական-փոխարկային ապարատը:
6) ԻՏ համակարգում սնման ինքնավար անջատման ժամանակը բաց հաղորդիչ մասերին կրկնակի միակցման դեպքում պետք է համապատասխանի սույն բաժնի N 2 աղյուսակին:
Աղյուսակ N 2
Պաշտպանական ինքնավար անջատման ամենամեծ թույլատրելի ժամանակը ԻՏ համակարգի համար
|
Անվանական գծային |
Անջատման ժամանակը, վ |
|
220 |
0.8 |
|
380 |
0.4 |
|
660 |
0.2 |
|
660-ից ավելի |
0.1 |
7) Պոտենցիալների հավասարեցման հիմնական համակարգը 1 կՎ-ից ցածր էլեկտրատեղակայանքներում պետք է միմյանց միացնի հետևյալ հաղորդիչ մասերը (նկար 7)`
ա) զրոյական պաշտպանական ՊԵ կամ սնող գծի ՊԵՆ հաղորդիչը ՏՆ համակարգում,
բ) հողակցման հաղորդիչը, որը միացված է էլեկտրատեղակայանքի հողակցիչ սարքվածքին` ԻՏ և ՏՏ համակարգերում,
գ) հողակցման հաղորդիչը, որը միացված է շենքի ներանցման վրա տեղակայված կրկնական հողակցիչին (եթե կա հողակցիչ),
դ) շենք մտնող հաղորդակցուղիների մետաղե խողովակները. տաք և սառը ջրամատակարարման, կոյուղու, ջեռուցման, գազամատակարարման և այլն:
Եթե գազամատակարարման խողովակաշարն ունի մեկուսացնող ագույց դեպի շենք ներանցիչի վրա, պոտենցիալների հավասարեցման հիմնական համակարգին միացվում է միայն խողովակաշարի այն մասը, որը գտնվում է մեկուսացնող ագույցի նկատմամբ շենքի կողմում,
ե) շենքի հենակմախքի մետաղամասերը,
զ) օդափոխության և լավորակման կենտրոնացված համակարգերի մետաղե մասերը: Օդափոխության և լավորակման ապակենտրոնացված համակարգերի առկայության դեպքում մետաղե օդատարները պետք է միացնել օդափոխիչների և լավորակիչների սնման վահանակների ՊԵ հաղորդաձողին,
է) ամպրոպապաշտպան 2-րդ և 3-րդ կարգի համակարգի հողակցիչ սարքվածքը,
ը) գործառական (աշխատանքային) հողակցման հաղորդիչը, եթե այդպիսին կա, և բացակայում են աշխատանքային հողակցման ցանցը պաշտպանական հողակցման հողակցող սարքվածքին միացնելու սահմանափակումները,
թ) հեռահաղորդակցուղային մալուխների մետաղե պատյանները:
Արտաքինից շենք մտնող հաղորդիչ մասերը պետք է հնարավորին չափ մոտ միացվեն շենք ներանցման կետին:
Պոտենցիալների հավասարեցման հիմնական համակարգի հետ միացման համար նշված բոլոր մասերը պետք է միացվեն գլխավոր հողակցող հաղորդաձողին (37-րդ գլխի 1-ին և 2-րդ կետեր)` պոտենցիալների հավասարեցման համակարգի հաղորդիչների միջոցով:
8) Պոտենցիալների լրացուցիչ հավասարեցման համակարգը պետք է միմյանց միացնի մնայուն էլեկտրասարքվածքի հպման համար միաժամանակ մատչելի բոլոր բաց հաղորդիչ մասերն անշարժ և կողմնակի հաղորդիչ մասերը, ներառյալ հպման համար շենքի մատչելի շինարարական կոնստրուկցիաների մետաղե մասերը, ինչպես նաև զրոյական պաշտպանական հաղորդիչները ՏՆ համակարգում և պաշտպանական հողակցման հաղորդիչները ԻՏ և ՏՏ համակարգերում` ներառյալ խրոցակային վարդակների պաշտպանական հաղորդիչները:
Պոտենցիալների հավասարեցման համար կարող են օգտագործվել հատուկ նախատեսված հաղորդիչները կամ կողմնակի հաղորդիչ մասերը, եթե դրանք բավարարում են էլեկտրական շղթայի հաղորդականության և անընդհատության 38-րդ գլխի 2-րդ կետի պահանջները:
9) Պաշտպանություն կարող է ապահովվել կրկնակի կամ ուժեղացված մեկուսացման միջոցով II դասի էլեկտրասարքվածքի կիրառմամբ կամ հոսանատար մասերը միայն հիմնական մեկուսացում ունեցող էլեկտրասարքվածքը պարփակելով մեկուսացնող պատյանի մեջ:
Կրկնակի մեկուսացմամբ սարքավորման հաղորդիչ մասերը չպետք է միացված լինեն պաշտպանական հաղորդչին և պոտենցիալների հավասարեցման համակարգին:
10) Շղթաների պաշտպանական էլեկտրական բաժանումը, որպես կանոն, պետք է կիրառել մեկ շղթայի համար:
Բաժանված շղթայի համար ամենամեծ աշխատանքային լարումը չպետք է գերազանցի 500 Վ-ը:
Առանձնացվող շղթայի սնումը պետք է իրագործված լինի բաժանարար տրանսֆորմատորից, որը համապատասխանում է ԳՕՍՏ 30030 «Բաժանարար տրանսֆորմատորներ և անվտանգ բաժանարար տրանսֆորմատորներ» կամ այլ աղբյուրի, որը կապահովի անվտանգության հավասար արժեք աստիճան:
Բաժանարար տրանսֆորմատորից սնվող շղթայի հոսանատար մասերը մյուս շղթաների հողակցված մասերի և պաշտպանական հաղորդիչների հետ միացումներ չպետք է ունենան:
Բաժանարար տրանսֆորմատորից սնվող շղթաների հաղորդիչները խորհուրդ է տրվում անցկացնել մյուս շղթաներից առանձին: Եթե դա հնարավոր չէ, ապա այդպիսի շղթաների համար պետք է օգտագործել առանց մետաղե պատյանի, զրահի, էկրանի մալուխներ կամ մեկուսացված հաղորդալարեր, որոնք անցկացվում են մեկուսիչ խողովակների միջով` պայմանով, որ այդ մալուխների և հաղորդալարերի անվանական լարումը համապատասխանում է համատեղ անցկացված շղթաների ամենամեծ լարմանը, իսկ յուրաքանչյուր շղթա պաշտպանված է գերհոսանքներից:
Եթե բաժանարար տրանսֆորմատորից սնվում է միայն մեկ էլեկտրաընդունիչ, ապա դրա բաց հաղորդիչ մասերը չպետք է միացված լինեն ոչ պաշտպանական հաղորդչին, ոչ այլ էլեկտրական շղթաների բաց հաղորդիչ մասերին:
Թույլատրվում է մի քանի էլեկտրաընդունիչների սնումը մեկ բաժանարար տրանսֆորմատորից հետևյալ պայմանները միաժամանակ կատարելու դեպքում`
ա) առանձնացվող շղթայի բաց հաղորդիչ մասերն էլեկտրական կապ չպետք է ունենան սնման աղբյուրի մետաղե հենամարմնի հետ,
բ) առանձնացվող շղթայի բաց հաղորդիչ մասերը պետք է միացված լինեն միմյանց` պոտենցիալների հավասարեցման տեղական համակարգի մեկուսացված չհողակցված հաղորդիչներով, որոնք միացումներ չունեն մյուս շղթաների պաշտպանական հաղորդիչների և բաց հաղորդիչ մասերի հետ,
գ) բոլոր խրոցային վարդակները պետք է ունենան պաշտպանական հպակ, որոնք միացված են պոտենցիալների հավասարեցման տեղական չհողակցված համակարգին,
դ) բոլոր ճկուն մալուխները, բացառությամբ II դասի էլեկտրասարքվածք սնողների, պետք է ունենան պաշտպանական հաղորդիչ, որոնք կիրառվում են որպես պոտենցիալների հավասարեցման հաղորդիչ,
ե) պաշտպանության սարքվածքով անջատման ժամանակը բաց հաղորդիչ մասերի վրա երկֆազ միացման դեպքում պետք է գերազանցի սույն բաժնի N 2 աղյուսակում նշված ժամանակը:
Նկար 7. Պոտենցիալների հավասարեցման համակարգը շենքում
M - բաց հաղորդիչ մաս, C1 - ջրմուղի` շենք մտնող մետաղե խողովակներ, C2 - կոյուղու` շենք մտնող մետաղե խողովակներ, C3 - գազամատակարարման մետաղյա խողովակ մեկուսացնող ագույցով դեպի շենք ներանցիչի վրա, C4 - օդափոխության և լավորակման օդատարներ, C5 - ջեռուցման համակարգ, C6 - ջրատար մետաղե խողովակներ լոգասենյակում, C7 - մետաղե լոգարան, C8 - կողմնակի հաղորդիչ մաս` բաց հաղորդիչ մասերի հասանելիության սահմաններում, C9 - երկաթբետոնե կոնստրուկցիաների ամրան, ԳՀՀ - գլխավոր հողակցող հաղորդաձող, T1 - բնական հողակցիչ, T2 - շանթպաշտպանության հողակցիչ (եթե առկա է), 1 - զրոյական պաշտպանական հաղորդիչ, 2 - պոտենցիալների հավասարեցման հիմնական համակարգի հաղորդիչ, 3 - պոտենցիալների հավասարեցման լրացուցիչ համակարգի հաղորդիչ, 4 - շանթապաշտպանության հիմնական համակարգի հոսանատար, 5 - տեղեկատվական հաշվողական սարքավորման աշխատանքային հողակցման հաղորդաշղթա (մայրուղի), 6 -աշխատանքային (գործառական) հողակցման հաղորդիչ, 7 - պոտենցիալների հավասարեցման հաղորդիչ աշխատանքային (գործառական) հողակցման համակարգում, 8 - հողակցման հաղորդիչ:
11) Մեկուսիչ (անհաղորդիչ) սենքերը, գոտիները և հարթակները կարող են օգտագործվել 1 կՎ-ից ցածր լարմամբ էլեկտրասարքվածքներում, երբ սնման ինքնավար անջատմանը ներկայացվող պահանջները չեն կարող իրագործվել, իսկ պաշտպանական այլ միջոցառումների կիրառումն անհնարին է կամ աննպատակահարմար:
Այդպիսի սենքերի հատակի և պատերի, մեկուսիչ գոտիների կամ հարթակների ցանկացած կետում դիմադրությունը տեղային գետնի նկատմամբ պետք է լինի ոչ պակաս`
50 կՕմ-ից` էլեկտրատեղակայանքի մինչև 500 Վ-ը, ներառյալ անվանական լարման դեպքում չափված 500 Վ լարման մեգօմաչափով, 100 կՕմ-ից` էլեկտրատեղակայանքի 500 Վ-ից ավելի անվանական լարման դեպքում` չափված 1 կՎ լարման մեգօմաչափով:
Եթե որևէ կետում դիմադրությունը փոքր է նշվածներից, ապա այդպիսի սենքերը, գոտիները, հարթակները չպետք է դիտարկվեն որպես էլեկտրական հոսանահարումից պաշտպանության միջոց:
Մեկուսացնող (անհաղորդիչ) սենքերի, գոտիների, հարթակների համար թույլատրվում է 0 դասի էլեկտրասարքվածքի օգտագործում` հետևյալ երեք պայմաններից առնվազն մեկի պահպանման դեպքում`
ա) բաց հաղորդիչ մասերը մեկը մյուսից և կողմնակի հաղորդիչ մասերից հեռացված են 2 մ-ից ոչ պակաս: Թույլատրվում է այդ հեռավորության փոքրացում մինչև 1,2 մ` հասանելիության գոտուց դուրս,
բ) բաց հաղորդիչ մասերն առանձնացված են կողմնակի հաղորդիչ մասերից` մեկուսիչ նյութից պատնեշներով: Ընդ որում, «ա» ենթակետում նշվածներից ոչ պակաս հեռավորությունները պետք է ապահովված լինեն պատնեշի մի կողմից,
գ) կողմնակի հաղորդիչ մասերը պատված են մեկուսացմամբ, որոնք պահում են 2 կՎ-ից ոչ պակաս փորձարկման լարում` 1 րոպեի ընթացքում:
Մեկուսացնող սենքերում (գոտիներում) պաշտպանական հաղորդիչ չպետք է նախատեսվի:
Պետք է նախատեսված լինեն միջոցառումներ` դրսից շինության կողմնակի հաղորդիչ մասերի վրա պոտենցիալների անուղղակի ներսբերման դեմ: Այդպիսի սենքերի հատակը և պատերը խոնավության ազդեցությանը չպետք է ենթարկվեն:
12) 1 կՎ-ից ցածր լարմամբ էլեկտրատեղակայանքներում պաշտպանական միջոցներ իրագործելիս կիրառվող էլեկտրասարքվածքի դասերը, ըստ էլեկտրական հոսանահարումից մարդու պաշտպանության եղանակի (Հայաստանի Հանրապետության կառավարության 2005 թվականի փետրվարի 3-ի N 150-Ն որոշում), պետք է ընդունել N 3 աղյուսակին համապատասխան:
Աղյուսակ N 3
Էլեկտրասարքվածքի կիրառումը 1 կՎ-ից ցածր լարմամբ էլեկտրատեղակայանքներում
Դասը Մակնշումը Պաշտպանության նպատակը Էլեկտրատեղակայանքում էլեկտրասարքվածքի կիրառման պայմանները Դաս 0 - Անուղղակի հպման դեպքում Կիրառում անհաղորդիչ սենքերում. Միայն մեկ էլեկտրաընդունիչի սնում բաժանարար տրանսֆորմատորի երկրորդային փաթույթից Դաս I Պաշտ. սեղմակ նշան կամ ՊԵ տառեր, կամ դեղնականաչավուն շերտեր Անուղղակի հպման դեպքում Էլեկտրասարքվածքի հողակցող սեղմակի միացումը էլեկտրատեղակայանքի պաշտպանական հաղորդչին Դաս II Անուղղակի հպման դեպքում Անկախ էլեկտրատեղակայանքում ընդունված պաշտպանության միջոցառումներից Դաս III Ուղղակի և անուղղակի հպման դեպքում Սնում անվտանգ բաժանարար տրանսֆորմատորից
նշան
նշան
30. 1 ԿՎ-ԻՑ ԲԱՐՁՐ ԼԱՐՄԱՄԲ ԷԼԵԿՏՐԱՏԵՂԱԿԱՅԱՆՔՆԵՐԻ ՀՈՂԱԿՑԻՉ ՍԱՐՔՎԱԾՔՆԵՐ ԱՐԴՅՈՒՆԱՎԵՏ ՀՈՂԱԿՑՎԱԾ ՉԵԶՈՔՈՎ ՑԱՆՑԵՐՈՒՄ
1) 1 կՎ-ից բարձր լարմամբ էլեկտրատեղակայանքների հողակցիչ սարքվածքներն արդյունավետ հողակցված չեզոքով ցանցերում պետք է իրագործել կամ դրանց դիմադրությանը (սույն գլխի 3-րդ կետ), կամ դրանց հպման լարմանը (սույն գլխի 4-րդ կետ) ներկայացվող պահանջների պահպանմամբ, ինչպես նաև կոնստրուկտիվ իրագործմանը (սույն գլխի 5-րդ և 6-րդ կետեր) և հողակցող սարքվածքի վրա լարման սահմանափակմանը (սույն գլխի 2-րդ կետ) ներկայացվող պահանջները պահպանելով: Սույն գլխի 2-րդից մինչև 6-րդ կետերի պահանջները չեն տարածվում ՕԳ-ի հենասյուների հողակցիչ սարքվածքների վրա:
2) Լարումը հողակցիչ սարքվածքի վրա` դրանցից դեպի հող միակցման հոսանքը հոսելիս, որպես կանոն, չպետք է գերազանցի 10 կՎ-ը: 10 կՎ-ից բարձր լարումը թույլատրվում է այն հողակցիչ սարքվածքների վրա, որոնցից պոտենցիալի դուրսբերումը էլեկտրատեղակայանքների շենքերի և պաշտպանակների սահմաններից դուրս բացառվում է: Հողակցիչ սարքվածքի վրա 5 կՎ-ից ավելի լարման դեպքում պետք է նախատեսված լինեն միջոցառումներ կապի և հեռուստամեխանիկայի հեռացող մալուխների մեկուսացման պաշտպանության համար և վտանգավոր պոտենցիալների` էլեկտրատեղակայանքների սահմաններից դուրսբերման կանխման համար:
3) Հողակցիչ սարքվածքը, որն իրագործվում է դրա դիմադրությանը ներկայացվող պահանջների պահպանմամբ, տարվա ցանկացած ժամանակ պետք է ունենա 0,5 Օմ-ից ոչ ավելի դիմադրություն` հաշվի առնելով բնական և արհեստական հողակցիչները:
Էլեկտրական պոտենցիալի հարթեցման և սարքվածքով զբաղված տարածքում էլեկտրասարքվածքի միացումը հողակցիչին ապահովելու համար պետք է անցկացնել հորիզոնական երկայնական և լայնական հողակցիչներ և դրանց միավորել հողակցող ցանցի մեջ:
Երկայնական հողակցիչները պետք է անցկացվեն էլեկտրասարքվածքի առանցքների երկայնքով` սպասարկման կողմից` հողի մակերևույթից 0,5-ից մինչև 0,7 մ խորության վրա և սարքվածքի հիմնատակերից և հիմքերից 0,8-ից մինչև 1,0 մ հեռավորության վրա: Թույլատրվում է սարքվածքի հիմնատակերից և հիմքերից հեռավորությունների մեծացում` մինչև 1,5 մ` անցկացնելով մեկ հողակցիչ` սարքվածքի երկու շարքերի համար, եթե սպասարկման կողմերն ուղղված են դեմ առ դեմ, իսկ երկու շարքերի հիմքերի և հիմնատակերի միջև հեռավորությունը չի գերազանցում 3 մ-ը:
Լայնական հողակցիչները պետք է անցկացնել սարքվածքի միջև` հարմար տեղերում` հողի մակերևույթից 0,5-ից մինչև 0,7 մ խորության վրա: Խորհուրդ է տրվում հեռավորությունը դրանց միջև ընդունել ավելացող` հողակցող ցանցի ծայրամասերից դեպի կենտրոն: Ընդ որում, առաջին և հաջորդ հեռավորությունները, սկսած ծայրամասից, չպետք է գերազանցեն համապատասխանաբար 4, 5, 6, 7.5, 9, 11, 13.5, 16, 20 մ-ը: Հողակցող ցանցի բջիջների չափերը, որոնք հարում են ուժային տրանսֆորմատորների չեզոքների և կարճ միակցիչների հողակցող սարքվածքին միացնելու տեղերին, չպետք է գերազանցեն 6x6 մ-ը:
Հորիզոնական հողակցիչները պետք է անցկացնել հողակցող սարքվածքի զբաղեցրած տարածքի եզրով այնպես, որ դրանք միասին ստեղծեն փակ հաղորդաշղթա:
Եթե հողակցող սարքվածքի հաղորդաշղթան դասավորված է էլեկտրատեղակայանքի արտաքին ցանկապատի (պարսպի) սահմաններում, ապա դեպի դրա տարածք մուտքերի և տրանսպորտի մուտքի մոտ պետք է հարթեցնել պոտենցիալը` երկու ուղղաձիգ հողակցիչների տեղադրմամբ, որոնք միացվում են մուտքերի դիմաց տեղադրված արտաքին հորիզոնական հողակցիչին: Ուղղաձիգ հողակցիչները պետք է լինեն 3-ից մինչև 5 մ երկարության, իսկ դրանց միջև հեռավորությունը պետք է հավասար լինի մուտքի (տրանսպորտի մուտքի) լայնությանը:
4) Հողակցող սարքվածքը, որն իրագործվում է հպման լարմանը ներկայացվող պահանջների պահպանմամբ, տարվա ցանկացած ժամանակ պետք է ապահովի նորմավորված լարումները (ԳՕՍՏ 12.1.038 ստանդարտը) չգերազանցող լարման արժեքներ` հողին միակցման հոսանքը նրանից հոսելիս:
Հպման լարման թույլատրելի արժեքը որոշելիս, որպես ներազդման հաշվարկային ժամանակ, պետք է ընդունել պաշտպանության գործելու ժամանակի և անջատիչի անջատման լրիվ ժամանակի գումարը: Աշխատանքային տեղերի մոտ հպման լարումների թույլատրելի արժեքները որոշելիս, որտեղ օպերատիվ փոխարկումների ժամանակ կարող են առաջանալ ԿՄ` փոխարկում կատարող անձնակազմի հպման համար մատչելի կոնստրուկցիաների վրա, պետք է ընդունել պահուստային պաշտպանության գործելու ժամանակը, իսկ մնացած տարածքի համար` հիմնական պաշտպանության:
Որպես աշխատանքային տեղ պետք է հասկանալ էլեկտրական ապարատների օպերատիվ սպասարկման տեղը:
Երկայնական և լայնական հորիզոնական հողակցիչների տեղաբաշխումը պետք է որոշվի հպման լարման` մինչև նորմավորված արժեքները սահմանափակելու պահանջներով և հողակցվող սարքվածքի միացման հարմարությամբ: Հեռավորությունը երկայնական և լայնական հորիզոնական արհեստական հողակցիչների միջև չպետք է գերազանցի 30 մ-ը, իսկ բնահողի մեջ դրանց զետեղման խորությունը պետք է լինի 0,3 մ-ից ոչ պակաս: Աշխատանքային տեղերի մոտ հպման լարումները փոքրացնելու համար, անհրաժեշտ դեպքերում, կարող է իրագործվել խճի ցանվածք` 0,1-ից մինչև 0,2 մ հաստության շերտով:
Տարբեր լարումների հողակցող սարքվածքները մեկ ընդհանուր հողակցող սարքվածքի մեջ միավորելու դեպքում հպման լարումը պետք է որոշվի ըստ միավորվող ԲԲՍ-ի հողին կարճ միակցման ամենամեծ հոսանքի:
5) Հողակցող սարքվածքն իրագործելիս, դրա դիմադրությանը կամ հպման լարմանը ներկայացվող պահանջները պահպանելիս, որպես լրացում սույն գլխի 3-րդ և 4-րդ կետերի պահանջներին, պետք է`
հողի մեջ առնվազն 0,3 մ խորությամբ անցկացնել հողակցիչ հաղորդիչներ, որոնք սարքավորումը կամ կոնստրուկցիաները միացնում են հողակցիչին,
անցկացնել երկայնական և լայնական հորիզոնական հողակցիչներ (չորս ուղղություններով) հողակցվող ուժային տրանսֆորմատորների, չեզոքների և կարճ միակցիչ դասավորման տեղերի մոտ:
Հողակցող սարքվածքն էլեկտրատեղակայանքի ցանկապատի սահմաններից դուրս գալու դեպքում հորիզոնական հողակցիչները, որոնք գտնվում են էլեկտրատեղակայանքի տարածքից դուրս, պետք է անցկացնել 1 մ-ից ոչ պակաս խորության վրա: Խորհուրդ է տրվում հողակցող սարքվածքի արտաքին հաղորդաշղթան այս դեպքում իրագործել բազմանկյան տեսքով` բութ կամ կորացված անկյուններով:
6) Խորհուրդ չի տրվում էլեկտրատեղակայանքների արտաքին ցանկապատը միացնել հողակցող սարքվածքին:
Եթե էլեկտրատեղակայանքից հեռանում են 110 կՎ և բարձր ՕԳ, ապա պետք է ցանկապատը հողակցել 2-ից մինչև 3 մ երկարությամբ ուղղաձիգ հողակցիչներով, որոնք տեղակայվում են ցանկապատի կանգնակների մոտ` դրա ամբողջ պարագծով` 20-ից մինչև 50 մ իրարից հեռու: Նման հողակցիչների տեղակայում չի պահանջվում մետաղե կանգնակներով ցանկապատի համար և երկաթբետոնից այն կանգնակներով, որոնց ամրանն էլեկտրականապես միացված է ցանկապատի մետաղե օղակներին:
Հողակցող սարքվածքի հետ արտաքին ցանկապատի էլեկտրական կապը բացառելու համար հեռավորությունը ցանկապատից մինչև հողակցվող սարքվածքի տարրերը, որոնք դասավորված են դրա երկայնքով` ներքին, արտաքին կամ երկու կողմերից, պետք է լինի 2 մ-ից ոչ պակաս: Ցանկապատի սահմաններից դուրս եկող հորիզոնական հողակցիչները, խողովակները և մետաղե պատյանով կամ զրահով մալուխները և մյուս մետաղե հաղորդակցուղիները պետք է անցկացված լինեն ցանկապատի կանգնակների մեջտեղով` 0,5 մ-ից ոչ պակաս խորությամբ: Արտաքին ցանկապատը շենքերին և կառույցներին հարելու տեղում, ինչպես նաև արտաքին ցանկապատին ներքին, մետաղե ցանկապատներին հարելու տեղերում պետք է իրականացվեն աղյուսե կամ փայտե ագույցներ` 1 մ-ից ոչ պակաս երկարությամբ:
Արտաքին ցանկապատի վրա տեղակայված էլեկտրաընդունիչների սնումը պետք է իրականացնել բաժանարար տրանսֆորմատորներից: Չի թույլատրվում այդ տրանսֆորմատորները տեղակայել ցանկապատի վրա: Բաժանարար տրանսֆորմատորի երկրորդային փաթույթն էլեկտրաընդունիչին միացնող գիծը պետք է մեկուսացված լինի հողից` հողակցվող սարքվածքի վրա լարման հաշվարկային արժեքի համար:
Եթե նշված միջոցառումներից թեկուզ մեկի կատարելն անհնարին է, ապա ցանկապատի մետաղական մասերը պետք է միացնել հողակցվող սարքվածքին և իրագործել պոտենցիալների հարթեցում այնպես, որպեսզի ցանկապատի դրսի և ներսի կողմերի հետ հպման լարումը չգերազանցի թույալատրելի արժեքները: Հողակցող սարքվածքը, ըստ թույլատրելի դիմադրության, իրագործելիս պետք է անցկացված լինի հորիզոնական հողակցիչ ցանկապատի արտաքին մասից` դրանից 1մ հեռավորության և 1մ խորության վրա: Այդ հողակցիչը պետք է միացնել հողակցվող սարքվածքին առնվազն չորս կետերում:
7) Եթե 1 կՎ-ից բարձր լարմամբ, արդյունավետ հողակցվող չեզոքով ցանցի էլեկտրատեղակայանքի հողակցող սարքվածքը միացված է մեկ այլ էլեկտրատեղակայանքի հողակցող սարքվածքի հետ` մետաղե պատյանով կամ զրահով մալուխի կամ այլ մետաղե կապերի օգնությամբ, ապա նշված այլ էլեկտրատեղակայանքի կամ շենքի շուրջը, որում դա տեղակայված է, պոտենցիալների հավասարեցման համար անհրաժեշտ է հետևյալ պայմաններից մեկի ապահովումը`
ա) հողի մեջ 1 մ խորության վրա հողակցիչի անցկացում` շենքի հիմքից կամ սարքավորումով զբաղեցված տարածքի պարագծից 1 մ հեռավորության վրա, որը միացված է այդ շենքի կամ տարածքի պոտենցիալների հավասարեցման համակարգի հետ, իսկ շենքի մուտքերի մոտ` հաղորդիչների տեղադրում` հողակցիչներից 1 մ և 2 մ հեռավորության վրա` համապատասխանաբար 1 մ և 1.5 մ խորության վրա և այդ հաղորդիչների միացում հողակցիչի հետ.
բ) որպես հողակցիչներ երկաթբետոնե հիմքերի օգտագործում` 35-րդ գլխի 1-ին կետին համապատասխան, եթե այդ դեպքում ապահովվում է պոտենցիալների հավասարեցման թույլատրելի մակարդակը: Որպես հողակցիչներ օգտագործվող երկաթբետոնե հիմքերի միջոցով պոտենցիալների հավասարեցման պայմանների ապահովումը որոշվում է ԳՕՍՏ 12.1.030 ստանդարտի պահանջներին համապատասխան:
Եթե շենքերի շուրջն առկա են ասֆալտե սալվածքներ, այդ թվում` մուտքերի մոտ, ապա չի պահանջվում «ա» և «բ» ենթակետերում նշված պայմանների կատարումը: Եթե որևէ մուտքի մոտ սալվածքը բացակայում է, ապա այդ մուտքի մոտ պետք է իրագործվի պոտենցիալների հավասարեցում `զետեղելով երկու հաղորդիչներ, ինչպես նշված է «ա» ենթակետում, կամ եթե պահպանվում է «բ» ենթակետով նախատեսված պայմանը: Բոլոր դեպքերում պետք է կատարվեն սույն գլխի 8-րդ կետի պահանջները:
8) Պոտենցիալների դուրսբերումից խուսափելու համար չի թույլատրվում էլեկտրաընդունիչների սնումը, որոնք գտնվում են 1 կՎ-ից բարձր լարմամբ արդյունավետ հողակցված չեզոքով ցանցի էլեկտրատեղակայանքների հողակցող սարքվածքների սահմաններից դուրս, հողակցված չեզոքով տրանսֆորմատորների 1 կՎ-ից ցածր երկրորդային փաթույթներից, որոնք գտնվում են 1 կՎ-ից բարձր լարմամբ էլեկտրատեղակայանքի հողակցող սարքվածքի հաղորդաշղթայի սահմաններում:
Անհրաժեշտության դեպքում այդպիսի էլեկտրաընդունիչների սնումը կարող է իրականացվել 1 կՎ-ից ցածր լարման կողմում մեկուսացված չեզոքով տրանսֆորմատորից մալուխային գծով, որն իրագործվում է առանց մետաղե պատյանի և զրահի մալուխով կամ ՕԳ-ով:
Այդ դեպքում լարումը հողակցող սարքվածքի վրա չպետք է գերազանցի ծակման ապահովիչի գործարկման լարումը, որը տեղակայված է մեկուսացված չեզոքով տրանսֆորմատորի ամենացածր լարմամբ կողմում:
Այդպիսի էլեկտրաընդունիչների սնումը կարող է իրականացվել նաև բաժանարար տրանսֆորմատորից: Բաժանարար տրանսֆորմատորը և գիծը` դրա երկրորդային փաթույթից մինչև էլեկտրաընդունիչ, եթե այն անցնում է 1 կՎ-ից բարձր լարմամբ էլեկտրատեղակայանքի հողակցող սարքվածքի զբաղեցրած տարածքով, պետք է ունենա մեկուսացում հողից` հողակցիչ սարքվածքի վրա լարման հաշվարկային արժեքի համար:
31. 1 ԿՎ-ԻՑ ԲԱՐՁՐ ԼԱՐՄԱՄԲ ԷԼԵԿՏՐԱՏԵՂԱԿԱՅԱՆՔՆԵՐԻ ՀՈՂԱԿՑՈՂ ՍԱՐՔՎԱԾՔՆԵՐԸ ՄԵԿՈՒՍԱՑՎԱԾ ՉԵԶՈՔՈՎ ՑԱՆՑԵՐՈՒՄ
1) 1 կՎ-ից բարձր լարմամբ մեկուսացված չեզոքով ցանցերի էլեկտրատեղակայանքներում հողակցող սարքվածքի դիմադրությունը տարվա ցանկացած ժամանակ հողին միացման հաշվարկային հոսանքն անցնելիս, հաշվի առնելով բնական հողակցիչների դիմադրությունը, պետք է լինի` R ≤ 250/I, բայց 10 Օմ-ից ոչ ավելի, որտեղ I-ն հողին միակցման (հողակցման) հոսանքն է Ա):
Որպես հաշվարկային հոսանք ընդունվում է`
ա) առանց ունակային հոսանքների փոխհատուցման ցանցերում` հողին միակցման հոսանքը,
բ) ունակային հոսանքների փոխհատուցմամբ ցանցերում`
հողակցող սարքվածքների համար, որոնց միացված են փոխհատուցող ապարատները, այդ ապարատներից առավել հզորի անվանական հոսանքի 125%-ին հավասար հոսանքը,
հողակցող սարքվածքների համար, որոնց միացված չեն փոխհատուցող ապարատներ, հողին միակցման հոսանքը, որն անցնում է տվյալ ցանցում փոխհատուցող ապարատներից ամենահզորն անջատելիս:
Հողին միակցման հաշվարկային հոսանքը պետք է որոշված լինի ցանցի շահագործման ընթացքում հնարավոր սխեմաներից դրա համար, որի դեպքում այդ հոսանքն ունի ամենամեծ արժեքը:
2) Հողակցող սարքվածքը միաժամանակ 1 կՎ-ից ցածր լարմամբ, մեկուսացված չեզոքով էլեկտրատեղակայանքների համար օգտագործելիս պետք է իրագործվեն 33-րդ գլխի 1-ին կետի պայմանները:
Հողակցող սարքվածքը միաժամանակ 1 կՎ-ից ցածր լարմամբ, խուլ հողակցված չեզոքով էլեկտրատեղակայանքների համար օգտագործելիս հողակցող սարքվածքի դիմադրությունը պետք է լինի 32-րդ գլխի 2-րդ կետում նշված արժեքներից ոչ ավելի, կամ հողակցող սարքվածքին պետք է միացված լինեն 1 կՎ կամ բարձր լարման, կամ երկու լարումների առնվազն երկու մալուխների պատյանները և զրահները` այդ մալուխների 1 կմ-ից ոչ պակաս ընդհանուր երկարության դեպքում:
3) 6-ից մինչև 10/0,4 կՎ լարմամբ ենթակայանների համար պետք է իրագործված լինի մեկ ընդհանուր հողակցող սարքվածք, որին պետք է միացվեն`
ա) տրանսֆորմատորի չեզոքը` 1 կՎ-ից ցածր լարման կողմում,
բ) տրանսֆորմատորի հենամարմինը,
գ) 1 կՎ-ից ցածր և բարձր լարմամբ մալուխների պատյանները և զրահները,
դ) 1 կՎ-ից ցածր և բարձր լարմամբ էլեկտրատեղակայանքների բաց հաղորդիչ մասերը,
ե) կողմնակի հաղորդիչ մասերը:
Ենթակայանի զբաղեցրած հրապարակի շուրջը` առնվազն 0,5 մ խորության վրա և ենթակայանի շենքի հիմքի եզրից կամ բաց տեղակայված սարքվածքի հիմքերի եզրից 1 մ-ից ոչ ավելի հեռավորության վրա, պետք է անցկացվի փակ հորիզոնական հողակցիչ (հաղորդաշղթա), որը միակցված է հողակցող սարքվածքին:
4) 1 կՎ-ից բարձր լարմամբ մեկուսացված չեզոքով ցանցի հողակցող սարքվածքը, որը 1 կՎ-ից բարձր լարմամբ արդյունավետ հողակցված չեզոքով ցանցի հողակցող սարքվածքի հետ միավորված է մեկ ընդհանուր հողակցող սարքվածքի մեջ, պետք է բավարարի 30-րդ գլխի 2-րդ և 3-րդ կետերի պահանջներին:
32. 1 ԿՎ-ԻՑ ՑԱԾՐ ԼԱՐՄԱՄԲ ԷԼԵԿՏՐԱՏԵՂԱԿԱՅԱՆՔՆԵՐԻ ՀՈՂԱԿՑՈՂ ՍԱՐՔՎԱԾՔՆԵՐԸ ԽՈՒԼ ՀՈՂԱԿՑՎԱԾ ՉԵԶՈՔՈՎ ՑԱՆՑԵՐՈՒՄ
1) Խուլ հողակցված չեզոքով էլեկտրատեղակայանքներում եռաֆազ փոփոխական հոսանքի գեներատորի կամ տրանսֆորմատորի չեզոքը, հաստատուն հոսանքի աղբյուրի միջին կետը, միաֆազ հոսանքի աղբյուրի արտանցիչներից մեկը պետք է միացվեն հողակցիչին` հողակցիչ հաղորդչի օգնությամբ:
Չեզոքի հողակցման համար նախատեսված արհեստական հողակցիչը, որպես կանոն, պետք է տեղաբաշխված լինի գեներատորի կամ տրանսֆորմատորի մոտակայքում: Ներարտադրամասային ենթակայանների համար թույլատրվում է հողակցիչը զետեղել շենքի պատի մոտ:
Եթե շենքի հիմքը, որի մեջ տեղաբաշխված է ենթակայանը, օգտագործվում է որպես բնական հողակցիչ, պետք է տրանսֆորմատորի չեզոքը հողակցել առնվազն երկու մետաղե սյուներին կամ մանրակներին միացնելով, որոնք եռակցված են առնվազն երկու երկաթբետոնե հիմքերին:
Բազմահարկ շենքի տարբեր հարկերում ներկառուցված ենթակայանների տեղաբաշխման դեպքում այդպիսի ենթակայանների տրանսֆորմատորների չեզոքի հողակցումը պետք է իրագործվի հատուկ անցկացված հողակցման հաղորդչի միջոցով: Այդ դեպքում հողակցման հաղորդիչը լրացուցիչ պետք է միացված լինի տրանսֆորմատորին ամենամոտ շենքի սյանը, իսկ դրա դիմադրությունը պետք է հաշվի առնել հողակցող այն սարքվածքի տարհոսման դիմադրությունը որոշելիս, որին միացված է տրանսֆորմատորի չեզոքը:
Բոլոր դեպքերում պետք է միջոցներ ձեռնարկվեն հողակցման շղթայի անընդհատությունն ապահովելու և մեխանիկական վնասվածքներից հողակցող սարքվածքի պաշտպանության համար:
Եթե ՊԵՆ-ի հաղորդչում, որը գեներատորի կամ տրանսֆորմատորի չեզոքը միացնում է 1 կՎ լարմամբ բաշխիչ սարքվածքի ՊԵՆ հաղորդաձողի հետ, տեղակայված է հոսանքի տրանսֆորմատոր, ապա հողակցման հաղորդիչը պետք է անմիջականորեն միացված լինի ոչ թե գեներատորի կամ տրանսֆորմատորի չեզոքին, այլ ՊԵՆ հաղորդաձողին, հնարավորության դեպքում` անմիջապես հոսանքի տրանսֆորմատորից հետո: Այդ դեպքում ՊԵՆ հաղորդչի բաժանումը ՊԵ և Ն հաղորդիչների ՏՆ-Ս համակարգում նույնպես պետք է իրագործվի հոսանքի տրանսֆորմատորից հետո: Հոսանքի տրանսֆորմատորը պետք է զետեղել գեներատորի կամ տրանսֆորմատորի չեզոքի արտանցիչին որքան հնարավոր է մոտ:
2) Հողակցող սարքվածքի դիմադրությունը, որին միակցված են գեներատորի կամ տրանսֆորմատորի չեզոքները կամ միաֆազ հոսանքի աղբյուրի արտանցիչները, տարվա ցանկացած ժամանակ պետք է լինի 2,4 և 8 Օմ-ից ոչ ավելի` համապատասխանաբար 660, 380 և 220 Վ եռաֆազ աղբյուրի գծային լարումների դեպքում կամ 380, 220 և 127 Վ` միաֆազ հոսանքի աղբյուրի դեպքում: Այդ դիմադրությունը պետք է ապահովված լինի` հաշվի առնելով բնական հողակցիչների, ինչպես նաև 1 կՎ-ից ցածր ՕԳ-ի ՊԵՆ կամ ՊԵ հաղորդչի կրկնական հողակցումների հեռացող գծերի երկուսից ոչ պակաս հողակցիչների օգտագործման դեպքում:
Հողակցիչի դիմադրությունը, որը զետեղված է գեներատորի կամ տրանսֆորմատորի չեզոքին կամ միաֆազ հոսանքի աղբյուրի ներանցիչին անմիջականորեն մոտ, պետք է լինի 15, 30 և 60 Օմ-ից ոչ ավելի` համապատասխանաբար եռաֆազ գեներատորի 380, 220, 127 Վ` գծային լարումների դեպքում կամ 380, 220 և 127 Վ միաֆազ հոսանքի աղբյուրի դեպքում:
Հողի r >100 Օմ. մ տեսակարար դիմադրության դեպքում թույլատրվում է մեծացնել նշված նորմերը 0.01 r անգամ, բայց ոչ ավելի տասնապատիկից:
3) 200 մ-ից ավելի երկարությամբ ՕԳ-ի ծայրերում կամ նրանից ճյուղավորումներում, ինչպես նաև այն էլեկտրատեղակայանքներին ՕԳ-ի ներանցումների վրա, որոնցում անուղղակի հպման դեպքում որպես պաշտպանական միջոց կիրառված է սնման ինքնավար անջատումը, պետք է իրագործված լինեն ՊԵՆ հաղորդչի լրացուցիչ հողակցումները: Ընդ որում, առաջին հերթին պետք է օգտագործել բնական հողակցիչները, օրինակ` հենասյուների ստորգետնյա մասերը, ինչպես նաև ամպրոպային գերլարումների համար նախատեսված հողակցող սարքվածքները:
Նշված կրկնական հողակցումներն իրագործվում են, եթե ավելի հաճախակի հողակցումներ ըստ ամպրոպային գերլարումներից պաշտպանության պայմանների, չեն պահանջվում:
ՊԵՆ հաղորդչի կրկնական հողակցումները հաստատուն հոսանքի ցանցերում պետք է իրագործված լինեն առանձին արհեստական հողակցիչների օգնությամբ, որոնք ստորգետնյա խողովակաշարերի հետ մետաղական միացումներ չպետք է ունենան:
ՊԵՆ հաղորդչի կրկնական հողակցումների համար հողակցման հաղորդիչները պետք է ունենան սույն բաժնի N 4 աղյուսակում տրվածներից ոչ պակաս չափեր:
Աղյուսակ N 4
Հողի մեջ անցկացված հողակցիչների Եվ հողակցման հաղորդիչների նվազագույն հեռավորությունները
|
Նյութը |
Հատույթի պրոֆիլը |
Տրամա- |
Լայնական |
Պատի |
|
Պողպատ սև |
Կլոր. |
|
|
|
|
ուղղաձիգ հողակցիչների համար |
16 |
- |
- | |
|
հորիզոնական հողակցիչների համար |
10 |
- |
- | |
|
Ուղղանկյուն |
- |
100 |
4 | |
|
Անկյունային |
- |
100 |
4 | |
|
Խողովակային |
32 |
- |
3.5 | |
|
Պողպատ |
Կլոր. |
|
|
|
|
ուղղաձիգ հողակցիչների համար |
12 |
- |
- | |
|
հորիզոնական հողակցիչների համար |
10 |
- |
- | |
|
Ուղղանկյուն |
- |
75 |
3 | |
|
Խողովակային |
25 |
- |
2 | |
|
Պղինձ |
Կլոր |
12 |
- |
- |
|
Ուղղանկյուն |
- |
50 |
2 | |
|
Խողովակային |
20 |
- |
2 | |
|
Ճոպան բազմալար |
1.8* |
35 |
- |
4) Յուրաքանչյուր ՕԳ-ի ՊԵՆ հաղորդչի բոլոր կրկնական հողակցումների հողակցիչների ընդհանուր դիմադրությունը տարհոսմանը (այդ թվում` բնականների) տարվա ցանկացած ժամանակ պետք է լինի 5, 10 և 20 Օմ ոչ ավելի եռաֆազ հոսանքի աղբյուրի համապատասխանաբար 660, 380 և 220 Վ գծային լարումների դեպքում կամ 380, 220 և 127 Վ` միաֆազ հոսանքի աղբյուրի համար: Ընդ որում, կրկնական հողակցումներից յուրաքանչյուրի հողակցիչի դիմադրությունը պետք է լինի 15 ոչ ավելի, 30 և 60 Օմ-ից` համապատասխանաբար նույն լարումների դեպքում:
Բնահողի r>100 Օմ.մ տեսակարար դիմադրության դեպքում թույլատրվում է մեծացնել նշված նորմերը 0,01r անգամ, բայց տասնապատիկից ոչ ավելի:
33. 1 ԿՎ-ԻՑ ՑԱԾՐ ԼԱՐՄԱՄԲ ԷԼԵԿՏՐԱՏԵՂԱԿԱՅԱՆՔՆԵՐԻ ՀՈՂԱԿՑՄԱՆ ՍԱՐՔՎԱԾՔՆԵՐԸ ՄԵԿՈՒՍԱՑՎԱԾ ՉԵԶՈՔՈՎ ՑԱՆՑԵՐՈՒՄ
1) Հողակցող սարքվածքի դիմադրությունը, որն օգտագործվում է բաց հաղորդիչ մասերի պաշտպանական հողակցման համար, ԻՏ համակարգում պետք է համապատասխանի հետևյալ պայմանին`
R ≤ Uհպ/I ,
որտեղ` R - հողակցվող սարքվածքի դիմադրությունն է, Օմ, Uհպ - հպման լարումն է, որի արժեքն ընդունվում է 50 Վ (տես նաև 26-րդ գլխի 8-րդ կետը), I - հողին միակցման լրիվ հոսանքն է (Ա):
Որպես կանոն, չի պահանջվում հողակցող սարքվածքի դիմադրությունն ընդունել 4 Օմ-ից պակաս: Թույլատրվում է հողակցող սարքվածքի դիմադրությունը մինչև 10 Օմ, եթե պահպանված է վերը նշված պայմանը, իսկ գեներատորի կամ տրանսֆորմատորի հզորությունը գերազանցում է 10 կՎԱ, այդ թվում` զուգահեռ աշխատող գեներատորի կամ տրանսֆորմատորների գումարային հզորությունը:
34. ՀՈՂԱԿՑՄԱՆ ՍԱՐՔՎԱԾՔՆԵՐ ՀՈՂԻ ՄԵԾ ՏԵՍԱԿԱՐԱՐ ԴԻՄԱԴՐՈՒԹՅԱՄԲ ՇՐՋԱՆՆԵՐՈՒՄ
1) Արդյունավետ հողակցված չեզոքով 1 կՎ-ից բարձր լարմամբ էլեկտրատեղակայանքների հողակցող սարքվածքները հողի մեծ տեսակարար դիմադրությամբ շրջաններում խորհուրդ է տրվում իրագործել` պահպանելով հպման լարմանը (30-րդ գլխի 4-րդ կետ) ներկայացվող պահանջները:
Ժայռային կառուցվածքներում թույլատրվում է հորիզոնական հողակցիչներն անցկացնել ավելի փոքր խորության վրա, քան պահանջում են 30-րդ գլխի 4-րդ, 5-րդ, 6-րդ կետերը, բայց 0,15 մ ոչ պակաս: Բացի դրանից, թույլատրվում է չիրագործել 30-րդ գլխի 3-րդ կետի պահանջած ուղղաձիգ հողակցիչները մուտքերի մոտ:
2) Հողի մեծ տեսակարար դիմադրությամբ շրջաններում հողակցող սարքվածքի անհրաժեշտ դիմադրությունն ապահովելու ուղիներն են`
ա) մեծացված երկարության ուղղաձիգ հողակցիչների սարքում, եթե հողի տեսակարար դիմադրությունը խորանալիս փոքրանում է, իսկ բնական խորացված հողակցիչները (օրինակ` եզրատնկված մետաղե խողովակներով հորատանցքերը) բացակայում են,
բ) դուրս բերովի հողակցիչների սարքում, եթե էլեկտրատեղակայանքի մոտակայքում (մինչև 2 կմ) կան հողի ավելի փոքր տեսակարար դիմադրությամբ տեղեր,
գ) ժայռային կառուցվածքներում հորիզոնական հողակցիչների շուրջը, խրամուղու մեջ կավային բնահողի զետեղում` հետագա տոփանումով և մինչև խրամուղու վերին մասը խիճ լցնելով,
դ) բնահողի արհեստական մշակման կիրառում` դրա տեսակարար դիմադրության փոքրացման նպատակով, եթե այլ եղանակներ կիրառվել չեն կարող կամ անհրաժեշտ արդյունք չեն տալիս:
3) 1 կՎ-ից բարձր լարմամբ, ինչպես նաև 1 կՎ-ից ցածր, մեկուսացված չեզոքով էլեկտրատեղակայանքներում, 500 Օմ.մ-ից մեծ տեսակարար դիմադրությամբ հողի համար, եթե սույն գլխի 1-ին և 2-րդ կետում նախատեսված միջոցառումները թույլ չեն տալիս ստանալ տնտեսական նկատառումներով ընդունելի հողակցիչներ, թույլատրվում է բարձրացնել հողակցող սարքվածքների 39-րդ գլխով պահանջվող դիմադրությունները 0,002r անգամ, որտեղ r-ն հողի համարժեք տեսակարար դիմադրությունն է, Օմ.մ: Ընդ որում, սույն գլխով պահանջվող դիմադրությունների մեծացումը պետք է լինի տասնապատիկից ոչ ավելի:
35. ՀՈՂԱԿՑԻՉՆԵՐԸ
1) Որպես բնական հողակցիչներ կարող են օգտագործվել`
ա) շենքերի և կառույցների մետաղե և երկաթբետոնե կոնստրուկցիաները, որոնք հպման մեջ են հողի հետ, այդ թվում` շենքերի և կառույցների երկաթբետոնե հիմքերը, որոնք ունեն պաշտպանական ջրամեկուսիչ ծածկույթներ ոչ ագրեսիվ, թույլ ագրեսիվ և միջին ագրեսիվ միջավայրերում,
բ) ջրմուղի մետաղե խողավակները, որոնք անցկացված են հողի մեջ,
գ) հորատանցքերի եզրատնկված խողավակները,
դ) հիդրոտեխնիկական կառույցների մետաղե ագույցները, ջրատարները, փականների դնովի մասերը և այլն,
ե) մայրուղային չէլեկտրաֆիկացված երկաթուղիների ռելսային ուղիները և մուտքային ուղիները` ռելսերի միջև կանխամտածված միջակապի առկայության դեպքում,
զ) հողի մեջ գտնվող մյուս մետաղե կոնստրուկցիաները և կառույցները,
է) հողի մեջ անցկացվող զրահապատ մալուխների մետաղե պատյանները: Մալուխների պատյանները կարող են ծառայել որպես միակ հողակցիչներ` երկուսից ոչ պակաս մալուխների դեպքում: Մալուխների ալյումինե պատյանների օգտագործումը որպես հողակցիչ չի թույլատրվում:
2) Չի թույլատրվում որպես հողակցիչ օգտագործել դյուրավառ հեղուկների, դյուրավառ կամ պայթավտանգ գազերի և խառնուրդների խողովակաշարերը և կոյուղու ու կենտրոնական ջեռուցման խողովակաշարերը: Նշված սահմանափակումները չեն բացառում այդպիսի խողովակաշարերի միացման անհրաժեշտությունը հողակցվող սարքվածքին` պոտենցիալների հավասարեցման նպատակով` 29-րդ գլխի 7-րդ կետին համապատասխան:
Չի կարելի որպես հողակցիչներ օգտագործել շենքերի և կառույցների երկաթբետոնե նախապես լարված ամրանով կոնստրուկցիաները, սական այս սահմանափակումը չի տարածվում ՕԳ-ի հենասյուների և ԲԲՍ-ի հենարանային կոնստրուկցիաների վրա:
Բնական հողակցիչների օգտագործման հնարավորությունն ըստ նրանցով հոսող հոսանքների խտության պայմանների, երկաթբետոնե հիմքերի ամրանային ձողերի եռակցման անհրաժեշտությունը, պողպատե սյուների խարսխային հեղույսների զոդումը երկաթբետոնե հիմքերի ամրանային ձողերին, ինչպես նաև հիմքերի օգտագործումն ուժեղ ագրեսիվ միջավայրերում պետք է որոշվեն հաշվարկով:
3) Արհեստական հողակցիչները կարող են լինել սև կամ ցինկապատ պողպատից կամ պղնձից: Արհեստական հողակցիչները չպետք է ներկվեն: Հողակցիչների նյութը և նվազագույն չափերը պետք է համապատասխանեն սույն բաժնի N 4 աղյուսակում տրվածներին:
4) 1 կՎ-ից բարձր լարմամբ էլեկտրատեղակայանքների համար հորիզոնական հողակցիչների հատույթը պետք է ընտրել ըստ ջերմային դիմացկունության պայմանի` թույլատրելի տաքացման 4000C ջերմաստիճանի համար (կարճատև տաքացում, որը համապատասխանում է պաշտպանության գործելու և անջատիչի անջատման ժամանակին):
Հողակցող սարքվածքների կոռոզիայի վտանգի դեպքում պետք է իրագործել հետևյալ միջոցառումներից որևէ մեկը`
մեծացնել հողակցիչների և հողակցման հաղորդիչների հատույթները` հաշվի առնելով դրանց ծառայության ժամկետը,
կիրառել գալվանական ծածկույթով կամ պղնձե հողակցիչներ և հողակցման հաղորդիչներ:
Ընդ որում, պետք է հաշվի առնել հողակցող սարքվածքների դիմադրության հնարավոր մեծացումը` պայմանավորված քայքայմամբ (կոռոզիայով):
Չի կարելի հողակցիչները տեղաբաշխել այն տեղերում, որտեղ հողը չորացվում է խողովակաշարերի ջերմության ազդեցության տակ:
36. ՀՈՂԱԿՑՈՂ ՀԱՂՈՐԴԻՉՆԵՐԸ
1) 1 կՎ-ից ցածր լարմամբ էլեկտրատեղակայանքներում հողակցման հաղորդիչների հատույթները պետք է բավարարեն պաշտպանական հաղորդիչներին ներկայացվող 38-րդ գլխի 6-րդ կետի պահանջներին:
Հողի մեջ անցկացված հողակցման հաղորդիչների նվազագույն հատույթները պետք է համապատասխանեն սույն բաժնի N 4 աղյուսակում տրվածներին:
Հողի մեջ ալյումինե չմեկուսացված հաղորդիչների անցկացում չի թույլատրվում:
2) 1 կՎ-ից բարձր լարմամբ էլեկտրատեղակայանքներում հողակցման հաղորդիչների հատույթները պետք է ընտրվեն այնպես, որ արդյունավետ հողակցված չեզոքով էլեկտրատեղակայանքներում, նրանցով միաֆազ ԿՄ ամենամեծ հոսանքը կամ երկֆազ ԿՄ հոսանքը մեկուսացված չեզոքով էլեկտրատեղակայանքներում հոսելիս, հողակցման հաղորդիչների ջերմաստիճանը չգերազանցի 4000C-ը (կարճատև տաքացում, որը համապատասխանում է պաշտպանության գործելու և անջատիչի անջատման լրիվ ժամանակին):
3) 1 կՎ-ից բարձր լարմամբ, մեկուսացված չեզոքով էլեկտրատեղակայանքներում մինչև 25 մմ2 հատույթով հողակցման հաղորդիչների հաղորդականությունն ըստ պղնձի կամ դրան համարժեք այլ նյութերի պետք է կազմի ֆազային հաղորդիչների հաղորդականության 1/3-ից ոչ պակաս: Որպես կանոն, չի պահանջվում 25 մմ2-ից ավելի հատույթով պղնձե, 35 մմ2-ից ավելի ալյումինե, 120 մմ2-ից ավելի պողպատե հաղորդիչների կիրառում:
4) Հողակցող սարքվածքի դիմադրության չափում կատարելու համար տեղում պետք է նախատեսված լինի հողակցման հաղորդիչի անջատման հնարավորություն: 1 կՎ-ից ցածր լարմամբ էլեկտրատեղակայանքներում այդպիսի տեղ, որպես կանոն, հանդիսանում է գլխավոր հողակցող հաղորդաձողը: Հողակցման հաղորդիչի անջատումը հնարավոր պետք է լինի միայն գործիքի միջոցով:
5) 1 կՎ-ից ցածր լարմամբ էլեկտրատեղակայանքի հողակցման հաղորդիչը, որը միացնում է աշխատանքային (գործառական) հողակցման հողակցիչը գլխավոր հողակցող հաղորդաձողին, պետք է ունենա առնվազն հետևյալ հատույթները. պղնձե` 10 մմ2, ալյումինե` 16 մմ2, պողպատե` 75 մմ2:
6) Հողակցման հաղորդիչների` շենքի մեջ ներանցման տեղում պետք է նախատեսված լինի նշանը:
37. ԳԼԽԱՎՈՐ ՀՈՂԱԿՑՈՂ ՀԱՂՈՐԴԱՁՈՂԸ
1) Գլխավոր հողակցող հաղորդաձողը կարող է տեղադրված լինել 1 կՎ-ից ցածր լարմամբ էլեկտրատեղակայանքի մուտքային սարքվածքի ներսում կամ դրանից դուրս:
Մուտքային սարքվածքի ներսում որպես գլխավոր հողակցող հաղորդաձող պետք է օգտագործել ՊԵ հաղորդաձողը:
Առանձին տեղակայման դեպքում գլխավոր հաղորդաձողը պետք է տեղաբաշխված լինի մատչելի, սպասարկման համար հարմար տեղում` մուտքային սարքվածքի մոտակայքում:
Գլխավոր հողակցող հաղորդաձողի հատույթը պետք է լինի սնող գծի ՊԵ(ՊԵՆ) հաղորդչի հատույթից ոչ պակաս:
Գլխավոր հողակցող հաղորդաձողը, որպես կանոն, պետք է լինի պղնձե: Թույլատրվում է պողպատե գլխավոր հողակցող հաղորդաձողի կիրառում: Ալյումինե հաղորդաձողերի կիրառում չի թույլատրվում:
Հաղորդաձողի կոնստրուկցիայի մեջ պետք է նախատեսված լինի դրան միացված հաղորդիչների անհատական անջատման հնարավորություն: Անջատումը պետք է հնարավոր լինի միայն գործիքի օգտագործմամբ:
Միայն որակավորված անձնակազմի համար մատչելի տեղերում (օրինակ` բնակելի շենքերի վահանային սենքերում), գլխավոր հողակցող հաղորդաձողը պետք է տեղակայել բաց: Այն տեղերում, որոնք մատչելի են կողմնակի անձանց համար (օրինակ` տների մուտքերում կամ նկուղներում), այն պետք է ունենա պաշտպանական պատյան` պահարան կամ արկղ` բանալիով փակվող դռնակով: Դռնակի վրա կամ հաղորդաձողից վեր, պատի վրա, պետք է դրոշմված լինի նշանը:
2) Եթե շենքն ունի մի քանի առանձնացված ներանցիչ, գլխավոր հողակցող հաղորդաձողը պետք է իրագործված լինի յուրաքանչյուր մուտքային սարքվածքի համար: Ներկառուցված տրանսֆորմատորային ենթակայանների առկայության դեպքում գլխավոր հողակցող հաղորդաձողը պետք է տեղակայվի դրանցից յուրաքանչյուրի կողքին: Այդ հաղորդաձողերը պետք է միացվեն պոտենցիալների հավասարեցման հաղորդիչով, որի հատույթը պետք է լինի ենթակայանների ցածր լարման վահաններից հեռացող այն գծի ՊԵ(ՊԵՆ) հաղորդչի հատույթի կեսից ոչ պակաս, որն ունի ամենամեծ հատույթը: Այդ հաղորդաձողի հատույթը պետք է լինի 25 մմ2-ից ոչ ավելի ըստ պղնձի կամ դրան համարժեք այլ նյութի: Մի քանի գլխավոր հողակցող հաղորդաձողեր միացնելու համար կարող են օգտագործվել կողմնակի հաղորդիչ մասերը, որոնք համապատասխանում են էլեկտրական շղթայի անընդհատության և հաղորդականության նկատմամբ 38-րդ գլխի 2-րդ կետի պահանջներին:
38. ՊԱՇՏՊԱՆԱԿԱՆ ՀԱՂՈՐԴԻՉՆԵՐԸ (ՊԵ ՀԱՂՈՐԴԻՉՆԵՐԸ)
1) 1 կՎ-ից ցածր լարմամբ էլեկտրատեղակայանքներում որպես ՊԵ հաղորդիչներ կարող են օգտագործվել`
ա) հատուկ նախատեսված հաղորդիչներ`
բազմաջիղ մալուխների ջղեր,
մեկուսացված և չմեկուսացված հաղորդալարեր` ֆազային հաղորդալարերի հետ ընդհանուր պատյանում,
մնայուն անցկացված մեկուսացված կամ չմեկուսացված հաղորդիչները.
բ) էլեկտրատեղակայանքների բաց հաղորդիչ մասեր`
մալուխների ալյումինե պատյաններ,
էլեկտրահաղորդագծի պողպատե խողովակների, հաղորդալարերի և արտադրության լրակազմ սարքվածքի մետաղե պատյաններ և հենարանային կոնստրուկցիաներ,
էլեկտրահաղորդագծերի մետաղե տուփախողովակները և վաքերը կարելի է օգտագործել որպես պաշտպանական հաղորդիչներ, պայմանով, որ տուփախողովակների և վաքերի կոնստրուկցիայով նախատեսված է այդպիսի օգտագործում, որի մասին ցուցում կա շահագործման փաստաթղթերում, իսկ դրանց տեղաբաշխումը բացառում է պաշտպանական հաղորդիչների մեխանիկական վնասվելը.
գ) որոշ կողմնակի հաղորդիչ մասեր`
շենքերի և կառույցների մետաղե շինարարական կոնստրուկցիաները (ֆերմաներ, սյուներ և այլն),
շենքերի երկաթբետոնե շինարարական կոնստրուկցիաների ամրանը` սույն գլխի 2-րդ կետի պահանջները կատարելու պայմանով,
արտադրական նշանակության մետաղակոնստրուկցիաները (ամբարձիչների տակի ռելսերը, ստորասրահները, հարթակները, վերելակների, ամբարձիչների, էլևատորների հորանները, հենամարմինների երիզվածքները և այլն):
2) Բաց և կողմնակի հաղորդիչ մասերի օգտագործումը որպես ՊԵ հաղորդիչներ թույլատրվում է, եթե դրանք համապատասխանում են սույն բաժնի պահանջներին` էլեկտրական շղթայի հաղորդականության և անընդհատության նկատմամբ:
Կողմնակի հաղորդիչ մասերը կարող են օգտագործվել որպես ՊԵ հաղորդիչներ, եթե դրանք, բացի դրանից, բավարարում են հետևյալ պահանջներին`
էլեկտրական շղթայի անընդհատությունն ապահովվում է կամ կոնստրուկցիայի կողմից, կամ համապատասխան միացումներով, որոնք պաշտպանված են մեխանիկական, քիմիական և այլ վնասվածքներից,
դրանց ապահավաքակցումն անհնար է, եթե նախատեսված չեն շղթայի անընդհատության և հաղորդականության պահպանման միջոցառումներ:
3) Չի թույլատրվում որպես ՊԵ հաղորդիչներ օգտագործել`
մեկուսիչ խողովակների և խողովակավոր հաղորդալարերի մետաղե պատյանները և կրող ճոպանները` ճոպանային հաղորդագծերի դեպքում, մետաղաճկախողովակները, ինչպես նաև հաղորդալարերի և մալուխների կապարե թաղանթները,
գազամատակարարման, դյուրավառ և պայթավտանգ նյութերի և խառնուրդների, կոյուղու և կենտրոնական ջեռուցման խողովակաշարերը,
ջրմուղային խողովակները` նրանցում մեկուսիչ միջադիրների առկայության դեպքում:
4) Շղթաների զրոյական պաշտպանական հաղորդիչները չի թույլատրվում օգտագործել որպես այլ շղթաներով սնվող էլեկտրասարքվածքի զրոյական պաշտպանական հաղորդիչներ, ինչպես նաև օգտագործել որևէ էլեկտրասարքվածքի բաց հաղորդիչ մասերը որպես մեկ այլ էլեկտրասարքվածքի զրոյական պաշտպանական հաղորդիչներ` բացառությամբ հաղորդաձողալարերի և արտադրության համալիր սարքվածքների պատյանների և հենարանային կոնստրուկցիաների, որոնք ապահովում են պաշտապանական հաղորդիչների միացման հնարավորություն նրանց` անհրաժեշտ տեղում:
5) Հատուկ նախատեսված պաշտպանական հաղորդիչների օգտագործումն այլ նպատակների համար չի թույլատրվում:
6) Պաշտպանական հաղորդիչների լայնական հատույթի նվազագույն կտրվածքները պետք է համապատասխանեն սույն բաժնի 5-րդ աղյուսակում տրված արժեքներին:
Հատույթների կտրվածքները նշված են այն դեպքերի համար, երբ պաշտպանական հաղորդիչները պատրաստված են նույն նյութից, ինչ որ ֆազային հաղորդիչները: Ուրիշ նյութերից պաշտպանական հաղորդիչների հատույթներն ըստ հաղորդականության պետք է համարժեք լինեն նշվածներին:
Աղյուսակ N 5
Պաշտպանական հաղորդիչների նվազագույն հատույթները
|
Ֆազային հաղորդիչների |
Պաշտպանական հաղորդիչների |
|
S ≤ 16 |
S |
|
16 < S ≤ 35 |
16 |
|
S > 35 |
S/2 |
Թույլատրվում է, անհրաժեշտության դեպքում, պաշտպանական հաղորդիչների կտրվածքն ընդունել պահանջվողներից փոքր, եթե այն հաշվարկված է հետևյալ բանաձևով (միայն 5 Վ-ից փոքր կամ հավասար անջատման ժամանակի համար).
S ≥ I √t/k ,
որտեղ` S - պաշտպանական հաղորդչի հատույթի կտրվածքն է, մմ2, I - կարճ միակցման հոսանքն է, որն ապահովում է պաշտպանական ապարատի կողմից վնասված շղթայի անջատման ժամանակը սույն բաժնի NN 1 և 2 աղյուսակներին համապատասխան կամ 5 Վ-ից ոչ ավելի ժամանակում` 29-րդ գլխի 4-րդ կետին համապատասխան, Ա, t - պաշտպանական ապարատի գործարկման ժամանակն է, վ, k - գործակից, որի արժեքը կախված է պաշտպանական ապարատի հաղորդիչ նյութից, դրա մեկուսացումից, սկզբնական և վերջնական ջերմաստիճանից:
k-ի արժեքները պաշտպանական հաղորդիչների համար, նշված են սույն բաժնի NN 6 և 9 աղյուսակներում:
Եթե հաշվարկի ժամանակ ստացվում է սույն բաժնի N 5 աղյուսակում նշվածներից տարբերվող կտրվածք, ապա պետք է ընտրել մոտակա մեծ արժեքը, իսկ ոչ ստանդարտ կտրվածք ստանալու դեպքում` կիրառել մոտակա մեծ ստանդարտային հատույթով հաղորդիչ:
Առավելագույն ջերմաստիճանի արժեքները չպետք է գերազանցեն ԿՄ դեպքում հաղորդիչների տաքացման սահմանային թույլատրելի ջերմաստիճանները` IV բաժնին համապատասխան, իսկ պայթավտանգ գոտում էլեկտրատեղակայանքների համար պետք է համապատասխանեն ԳՕՍՏ 22782.0 ստանդարտով սահմանված արժեքներին:
7) Բոլոր դեպքերում պղնձե պաշտպանական հաղորդիչների հատույթը, որոնք չեն մտնում մալուխի կազմի մեջ կամ անցկացված են ֆազային հաղորդիչների հետ ոչ ընդհանուր պատյանում (խողովակում, տուփախողովակում, մեկ վաքի մեջ), պետք է լինի ոչ պակաս`
2.5 մմ2-ից` մեխանիկական պաշտպանության առկայության դեպքում,
4 մմ2-ից` մեխանիկական պաշտպանության բացակայության դեպքում:
Առանձին անցկացված պաշտպանական ալյումինե հաղորդիչների հատույթը պետք է լինի 16 մմ2-ից ոչ պակաս:
8) ՏՆ համակարգում, 30-րդ գլխի 1-ին կետի պահանջներն ապահովելու համար խորհուրդ է տրվում զրոյական պաշտպանական հաղորդիչներն անցկացնել համատեղ կամ ֆազային հաղորդիչներին անմիջականորեն մոտ:
Աղյուսակ N 6
k գործակցի արժեքները մալուխի մեջ չմտնող մեկուսացված պաշտպանական հաղորդիչների համար եվ չմեկուսացված հաղորդիչների համար, որոնք հպվում են մալուխների թաղանթին (հաղորդչի սկզբնական ջերմաստիճանն ընդունվում է 300C)
Հարաչափը Մեկուսացման նյութը պոլիվինիլ քլորիդ պոլիվինիլ քլորիդ բութիլային ռետին Վերջնական ջերմաստիճանը, 0C 160 250 220 Հաղորդչի k-ն պղնձե 143 176 166 ալյումինե 95 116 110 պողպատե 52 64 60
Աղյուսակ N 7
k գործակցի արժեքը մալուխի պաշտպանական հաղորդչի համար, որը մտնում է բազմաջիղ մալուխի մեջ
Հարաչափը Մեկուսացման նյութը պոլիվինիլ քլորիդ կարված պոլիէթիլեն, էթիլեն պրոպիլենային ռետին բութիլային ռետին Սկզբնական ջերմաստիճանը, 0C 70 90 85 Վերջնական ջերմաստիճանը, 0C 160 250 220 Հաղորդչի k-ն պղնձե 115 143 134 ալյումինե 76 94 89
Աղյուսակ N 8
k գործակցի արժեքը մալուխի ալյումինե թաղանթը որպես պաշտպանական հաղորդիչ օգտագործելու դեպքում
Հարաչափը Մեկուսացման նյութը պոլիվինիլ քլորիդ կարված պոլիէթիլեն, բութիլային ռետին Սկզբնական ջերմաստիճանը, 0C 60 80 75 Վերջնական ջերմաստիճանը, 0C 160 250 220 k 81 98 93
էթիլեն պրոպիլենային ռետին
Աղյուսակ N 9
k գործակցի արժեքը չմեկուսացված հաղորդիչների համար, երբ նշված ջերմաստիճանները մոտակայքում գտնվող նյութերի վնասվելու վտանգ չեն ստեղծում (հաղորդչի սկզբնական ջերմաստիճանն ընդունվում է 300C)
(Նշված ջերմաստիճանները թույլատրվում են, եթե դրանք չեն վատացնում միացումների որակը)
|
Հաղորդչի նյութը |
Պայմանները |
Հաղորդիչներ | ||
|
բաց անցկացված, |
շահագործող | |||
|
բնականոն |
հրդեհավտանգ | |||
|
Պղինձ |
Առավելագույն ջերմաստիճանը, 0C |
500 |
200 |
150 |
|
Ալյումին |
Առավելագույն ջերմաստիճանը, 0C |
300 |
200 |
150 |
|
Պողպատ |
Առավելագույն ջերմաստիճանը, 0C |
500 |
200 |
150 |
9) Այն տեղերում, որտեղ հնարավոր է ֆազային հաղորդալարերի մեկուսացման վնասվածք չմեկուսացված զրոյական պաշտպանական հաղորդչի և մետաղե պատյանի միջև կայծ առաջանալու հետևանքով (օրինակ` հաղորդալարերը խողովակների, տուփախողովակների, վաքերի մեջ անցկացնելիս), զրոյական պաշտպանական հաղորդիչները պետք է ունենան մեկուսացում, որը հավասարաարժեք է ֆազային հաղորդիչների մեկուսացմանը:
10) Չմեկուսացված ՊԵ հաղորդիչները պետք է պաշտպանված լինեն քայքայումից: ՊԵ հաղորդիչները մալուխների, խողավակաշարերի, երկաթգծի ուղիների հետ հատման տեղերում, շենքի մեջ դրանց ներանցման և այլ տեղերում, որտեղ հնարավոր է ՊԵ հաղորդիչների մեխանիկական վնասվածքներ, այդ հաղորդիչները պետք է պաշտպանված լինեն:
Ջերմաստիճանային և նստվածքային կարերի տրամախաչման տեղերում պետք է նախատեսված լինի ՊԵ հաղորդչի երկարության փոխհատուցում:
39. ՀԱՄԱՏԵՂՎԱԾ ԶՐՈՅԱԿԱՆ ՊԱՇՏՊԱՆԱԿԱՆ ԵՎ ԶՐՈՅԱԿԱՆ ԱՇԽԱՏԱՆՔԱՅԻՆ ՀԱՂՈՐԴԻՉՆԵՐԸ (ՊԵՆ ՀԱՂՈՐԴԻՉՆԵՐԸ)
1) Բազմաֆազ շղթաներում, ՏՆ համակարգում մնայուն անցկացված մալուխների համար, որոնց ջղերի լայնական հատույթի մակերեսն առնվազն 10 մմ2 է` ըստ պղնձի և 16 մմ2` ըստ ալյումինի, զրոյական պաշտպանական (ՊԵ) և զրոյական աշխատանքային (Ն) հաղորդիչների գործառույթները կարող են համատեղվել մեկ հաղորդչի մեջ (ՊԵՆ հաղորդիչ):
2) Չի թույլատրվում համատեղել զրոյական պաշտպանական և զրոյական աշխատանքային հաղորդիչների գործառույթները միաֆազ և հաստատուն հոսանքի շղթաներում: Որպես զրոյական պաշտպանական հաղորդիչ այդպիսի շղթաներում, պետք է նախատեսված լինի առանձին երրորդ հաղորդիչ: Այդ պահանջը չի տարածվում 1 կՎ-ից ցածր լարմամբ ՕԳ-ից էլեկտրաէներգիայի միաֆազ սպառողներին ճյուղավորումների վրա:
3) Չի թույլատրվում կողմնակի հաղորդիչ մասերի օգտագործում` որպես եզակի ՊԵՆ հաղորդիչ:
Այդ պահանջը չի բացառում բաց և կողմնակի հաղորդիչ մասերի օգտագործում որպես լրացուցիչ ՊԵՆ հաղորդիչ պոտենցիալների հավասարեցման համակարգին դրանց միացման դեպքում:
4) Հատուկ նախատեսված ՊԵՆ հաղորդիչները պետք է համապատասխանեն 38-րդ գլխի 6-րդ կետի պահանջներին` պաշտպանական հաղորդիչների հատույթի նկատմամբ:
ՊԵՆ հաղորդիչների մեկուսացումը պետք է հավասարարժեք լինի ֆազային հաղորդիչների մեկուսացմանը: Չի պահանջվում մեկուսացնել ցածրավոլտ համալիր սարքվածքների հավաքական հաղորդաձողերի ՊԵՆ հաղորդաձողը:
5) Երբ զրոյական աշխատանքային և զրոյական պաշտպանական հաղորդիչները առանձնացված են` սկսած էլեկտրատեղակայանքի որևէ կետից, չի թույլատրվում դրանց միավորել այդ կետից հետո` էներգիայի բաշխման ընթացքում: ՊԵՆ հաղորդչի զատման տեղում զրոյական պաշտպանական և զրոյական աշխատանքային հաղորդիչների վրա անհրաժեշտ է նախատեսել սեղմակներ կամ հաղորդաձողեր` հաղորդիչների համար, որոնք միացված են միմյանց: Սնող գծի ՊԵՆ հաղորդիչը պետք է միացված լինի զրոյական պաշտպանական ՊԵ հաղորդչի սեղմակին կամ հաղորդաձողին:
40. ՊՈՏԵՆՑԻԱԼՆԵՐԻ ՀԱՎԱՍԱՐԵՑՄԱՆ ՀԱՄԱԿԱՐԳԻ ՀԱՂՈՐԴԻՉՆԵՐԸ
1) Որպես պոտենցիալների հավասարեցման համակարգի հաղորդիչներ կարող են օգտագործվել 38-րդ գլխի 1-ին կետում նշված բաց և կողմնակի հաղորդիչ մասերը կամ հատուկ անցկացված հաղորդիչները կամ դրանց զուգորդումը:
2) Պոտենցիալների հավասարեցման հիմնական համակարգի հաղորդիչների հատույթը պետք է լինի էլեկտրատեղակայանքի պաշտպանական հաղորդչի ամենամեծ հատույթի մակերեսից կեսից ոչ պակաս, եթե այդ դեպքում պոտենցիալների հավասարեցման հաղորդչի հատույթը, ըստ պղնձի կամ դրան համարժեք այլ նյութից հաղորդիչների, 25 մմ2-ն չի գերազանցում: Ավելի մեծ հատույթի հաղորդիչների կիրառում, որպես կանոն, չի պահանջվում: Պոտենցիալների հավասարեցման հիմնական համակարգի հաղորդիչների հատույթը ցանկացած դեպքում պետք է լինի ոչ պակաս` պղնձե` 6 մմ2, ալյումինե` 16 մմ2, պողպատե` 50 մմ2:
3) Պոտենցիալների հավասարեցման լրացուցիչ համակարգի հաղորդիչների հատույթը պետք է լինի ոչ պակաս`
երկու բաց հաղորդիչ մասերը միացնելիս` այդ մասերին միացված պաշտպանական հաղորդիչներից փոքրի հատույթից,
բաց հաղորդիչ մասի և կողմնակի հաղորդիչ մասի միացման դեպքում` բաց հաղորդիչ մասին միացված պաշտպանական հաղորդիչներից փոքրի հատույթից,
բաց հաղորդիչ մասի և կողմնակի հաղորդիչ մասի միացման դեպքում` բաց հաղորդիչ մասին միացված պաշտպանական հաղորդչի հատույթի կեսից:
Պոտենցիալների լրացուցիչ հավասարեցման հաղորդիչների հատույթները, որոնք մալուխի կազմի մեջ չեն մտնում, պետք է բավարարեն 38-րդ գլխի 7-րդ կետի պահանջները:
41. ՀՈՂԱԿՑՈՂ, ՊԱՇՏՊԱՆԱԿԱՆ ՀԱՂՈՐԴԻՉՆԵՐԻ ԵՎ ՊՈՏԵՆՑԻԱԼՆԵՐԻ ՀԱՎԱՍԱՐԵՑՄԱՆ ՈՒ ՀԱՐԹԵՑՄԱՆ ՀԱՂՈՐԴԻՉՆԵՐԻ ՄԻԱՑՈՒՄՆԵՐԸ ԵՎ ՄԻԱՑՈՒԹՅՈՒՆՆԵՐԸ
1) Հողակցող, պաշտպանական հաղորդիչների և պոտենցիալների հավասարեցման ու հարթեցման հաղորդիչների միացումները և այլ միացություններ պետք է լինեն հուսալի և ապահովեն էլեկտրական շղթայի անընդհատությունը: Խորհուրդ է տրվում պողպատե հաղորդիչների միացումներն իրագործել եռակցման միջոցով: Թույլատրվում է առանց ագրեսիվ միջավայրերի սենքերում և արտաքին կայանքներում հողակցման և զրոյական պաշտպանական հաղորդիչները միացնել այլ եղանակներով, որոնք ապահովում են ԳՕՍՏ 10434 ստանդարտի միացումների 2-րդ դասին ներկայացվող պահանջները:
Միացումները պետք է պաշտպանված լինեն քայքայումից և մեխանիկական վնասվածքներից:
Հեղուսային միացումների համար պետք է նախատեսված լինեն միջոցառումներ` հպակի թուլացման դեմ:
2) Միացումները պետք է մատչելի լինեն զննման և փորձարկումներ կատարելու համար` բացառությամբ այն միացումների, որոնք լցված են մեկուսախառնուրդով կամ հերմետիկացված են, ինչպես նաև եռակցված, զոդված և մամլված միացումները տաքացուցիչ տարրերին` ջեռուցման համակարգում և դրանց այն միացումներին, որոնք գտնվում են հատակների, պատերի, ծածկերի մեջ և հողում:
3) Հողակցման շղթայի անընդհատության վերահսկման սարքվածքի կիրառման դեպքում չի թույլատրվում դրանց կոճերը հաջորդաբար միացնել (երկատելով) պաշտպանական հաղորդիչների հետ:
4) Հողակցող և զրոյական պաշտպանական հաղորդիչների ու պոտենցիալների հավասարեցման հաղորդիչների միացումները բաց հաղորդիչ մասերին պետք է իրագործված լինեն եռակցման կամ հեղուսային միացումների օգնությամբ:
Հաճախակի ապահավաքակցման ենթարկվող կամ շարժական մասերի վրա տեղակայված կամ ցնցումների ու թրթռումների ենթարկվող սարքվածքի միակցումները պետք է իրագործվեն ճկուն հաղորդիչների օգնությամբ:
Էլեկտրահաղորդագծերի և ՕԳ-ի պաշտպանական հաղորդիչների միացումները պետք է կատարել նույն մեթոդներով, ինչ և ֆազային հաղորդիչների միացումները:
Էլեկտրատեղակայանքների հողակցման համար բնական հողակցիչներ օգտագործելիս և կողմնակի հաղորդիչ մասերը` որպես պաշտպանական հաղորդիչներ և պոտենցիալների հավասարեցման հաղորդիչներ օգտագործելիս` միացումները պետք է կատարել ԳՕՍՏ 12.1.030 ստանդարտով նախատեսված մեթոդներով:
5) Հողակցման հաղորդիչները երկարաձիգ բնական հողակցիչներին (օրինակ` խողովակներին) միացնելու տեղերը և եղանակները պետք է ընտրված լինեն այնպես, որպեսզի վերանորոգման աշխատանքների համար հողակցիչներն անջատելիս սպասվող հպման լարումները և հողակցող սարքվածքի հաշվարկային դիմադրությունների արժեքները չգերազանցեն անվտանգ արժեքները:
Ջրաչափերի, փականի և այլնի շունտելը պետք է կատարել համապատասխան հատույթի հաղորդչի օգնությամբ` կախված նրանից, թե արդյոք այն օգտագործվում է որպես պոտենցիալների հավասարեցման համակարգի պաշտպանական հաղորդիչ, պաշտպանական հողակցման հաղորդիչ կամ զրոյական պաշտպանական հաղորդիչ:
6) Էլեկտրատեղակայանքի յուրաքանչյուր բաց հաղորդիչ մասի միացումը զրոյական պաշտպանական կամ պաշտպանական հողակցիչ հաղորդչին պետք է իրագործված լինի առանձին ճյուղավորման օգնությամբ: Բաց հաղորդիչ մասերի հաջորդաբար միացումը պաշտպանական հաղորդչին չի թույլատրվում:
Հաղորդիչ մասերի միացումը պոտենցիալների հավասարեցման հիմնական համակարգին կարող է իրագործվել ինչպես առանձին ճյուղավորումների, այնպես էլ մեկ ընդհանուր, ոչ անջատովի հաղորդչին միացնելու միջոցով:
Հաղորդիչ մասերի միացումը պոտենցիալների հավասարեցման լրացուցիչ համակարգին կարող է կատարվել կամ առանձին ճյուղավորումների միջոցով, կամ մեկ չանջատովի հաղորդչին միացնելով:
7) Չի թույլատրվում փոխարկման ապարատներ միացնել ՊԵ և ՊԵՆ հաղորդիչների շղթաներում` բացառությամբ էլեկտրաընդունիչները խրոցակային միացումների միջոցով սնելու դեպքերի:
Թույլատրվում է բոլոր հաղորդիչների միաժամանակյա անջատում բնակելի, ամառանոցային և այգեգործական տների և դրանց նման օբյեկտների էլեկտրատեղակայանքների ներանցման վրա, որոնք սնվում են ՕԳ-ից միաֆազ ճյուղավորումներով: Ընդ որում, ՊԵՆ հաղորդչի բաժանումը ՊԵ և Ն հաղորդիչների, պետք է իրագործված լինի մինչև մուտքային պաշտպանական-փոխարկային ապարատը:
8) Եթե պաշտպանական հաղորդիչները և (կամ) պոտենցիալների հավասարեցման հաղորդիչները կարող են անջատվել նույն խրոցակային միացման օգնությամբ, որով անջատվում են ֆազային հաղորդիչները, խրոցակային միացուցչի վարդակը և խրոցը պետք է ունենան հատուկ պաշտպանական հպակներ` պաշտպանական հաղորդիչները կամ պոտենցիալների հավասարեցման հաղորդիչները դրանց միացնելու համար:
Եթե խրոցակային վարդակի հենամարմինը պատրաստված է մետաղից, ապա դա պետք է միացված լինի այդ վարդակի պաշտպանական հպակին:
42. ՏԱՆՈՎԻ ԷԼԵԿՏՐԱԸՆԴՈՒՆԻՉՆԵՐԸ
1) Սույն ՏԿ-ում տանովի էլեկտրաընդունիչներին են վերագրվում այն էլեկտրաընդունիչները, որոնք կարող են գտնվել մարդու ձեռքերում` դրանց շահագործման ընթացքում (ձեռքի էլեկտրագործիք, տանովի կենցաղային էլեկտրասարքեր, տանովի ռադիոէլեկտրոնային ապարատուրա և այլն):
2) Փոփոխական հոսանքի տանովի էլեկտրաընդունիչների սնումը պետք է իրագործել 380/220 Վ-ից ոչ բարձր լարմամբ ցանցից:
Ըստ մարդկանց էլեկտրահարման վտանգավորության մակարդակի` սենքի դասակարգումից (3-րդ գլուխ) կախված, տանովի էլեկտրաընդունիչներ սնող շղթաներում անուղղակի հպման դեպքում պաշտպանության համար կարող են կիրառվել սնման ինքնավար անջատումը, շղթաների պաշտպանական բաժանումը, գերցածր լարումը, կրկնակի մեկուսացումը:
3) Սնման ինքնավար անջատման կիրառման դեպքում տանովի էլեկտրաընդունիչների մետաղական հենամարմինները, բացառությամբ կրկնակի մեկուսացմամբ էլեկտրաընդունիչների, պետք է միացվեն պաշտպանական հաղորդչին` ՏՆ համակարգում կամ հողակցվեն ԻՏ համակարգում, որի համար պետք է նախատեսված լինի հատուկ (ՊԵ) հաղորդիչ, որը տեղակայված է մեկ թաղանթում` ֆազային հաղորդիչների հետ (մալուխի կամ հաղորդալարի երրորդ ջիղը` միաֆազ կամ հաստատուն հոսանքի էլեկտրաընդունիչների համար, չորրորդ կամ հինգերորդ ջիղը` եռաֆազ հոսանքի էլեկտրաընդունիչների համար), միակցված էլեկտրաընդունիչի հենամարմնին և խրոցակային միացման խրոցի պաշտպանական հպակին: ՊԵ հաղորդիչը պետք է լինի պղնձե, ճկուն, դրա հատույթը պետք է հավասար լինի ֆազային հաղորդիչների հատույթին: Այդ նպատակի համար զրոյական (Ն) աշխատանքային հաղորդչի օգտագործումը, այդ թվում` ֆազային հաղորդիչների հետ ընդհանուր թաղանթում տեղավորված, չի թույլատրվում:
4) Թույլատրվում է կիրառել մնայուն և առանձին տանովի պաշտպանական հաղորդիչներ և պոտենցիալների հավասարեցման հաղորդիչներ` փորձարկման լաբորատորիաների և փորձարարական կայանքների շարժական էլեկտրատեղակայանքների համար, որոնց տեղափոխությունը դրանց աշխատանքի ընթացքում չի նախատեսվում: Ընդ որում, մնայուն հաղորդիչները պետք է բավարարեն 38-րդ գլխի 7-10-րդ կետերի պահանջները, իսկ տանովի հաղորդիչները պետք է լինեն պղնձե, ճկուն և ունենան հատույթ` ոչ պակաս, քան ֆազային հաղորդիչներինն է: Այդպիսի հաղորդիչները ֆազային հաղորդիչների հետ մալուխի ընդհանուր կազմի մեջ չանցկացնելու դեպքում դրանց հատույթները պետք է լինեն 38-րդ գլխի 7-րդ կետում նշվածներից ոչ պակաս:
5) Որպես լրացուցիչ պաշտպանություն ուղղակի հպումից և անուղղակի հպման դեպքում արտաքին տեղակայման, 20 Ա-ից ոչ ավելի անվանական հոսանքով խրոցային վարդակները, ինչպես նաև ներքին տեղակայման, սակայն որոնց կարող են միացվել տանովի էլեկտրաընդունիչներ, որոնք օգտագործվում են շենքերից դուրս կամ բարձր վտանգավորության կամ առանձնապես վտանգավոր սենքերում պետք է պաշտպանված լինեն պաշտպանական անջատման սարքվածքներով` 30 մԱ-ից ոչ ավելի անվանական անջատող դիֆերենցիալ հոսանքով: Թույլատրվում է ձեռքի էլեկտրագործիքի կիրառում, սարքավորված ՄՀՊ-ի խրոցներով:
Հաղորդիչ հատակով, պատերով և առաստաղով նեղվածք սենքերում շղթաների պաշտպանական էլեկտրական բաժանում կիրառելու դեպքում, ինչպես նաև սույն ՏԿ-ի համապատասխան գլուխներում պահանջների առկայության դեպքում, առանձնահատուկ վտանգավորության այլ սենքերում, յուրաքանչյուր խրոց պետք է սնվի անհատական բաժանարար տրանսֆորմատորից կամ դրա առանձին փաթույթից:
Գերցածր լարման դեպքում` մինչև 50 Վ լարմամբ տանովի էլեկտրաընդունիչների սնումը պետք է իրականացված լինի անվտանգ բաժանարար տրանսֆորմատորից:
6) Տանովի էլեկտրաընդունիչները սնող ցանցին միացնելու համար պետք է կիրառել խրոցակային միացումներ, որոնք համպատասխանում են 41-րդ գլխի 8-րդ կետի պահանջներին: Տանովի էլեկտրաընդունիչների երկարացուցիչ հաղորդալարերի և մալուխների խրոցակային միացումներում հաղորդիչը սնման աղբյուրի կողմից պետք է միացված լինի վարդակին, իսկ էլեկտրաընդունիչի կողմից` խրոցին:
7) Խորհուրդ է տրվում վարդակային շղթաների պաշտպանական ՄՀՊ-ն տեղաբաշխել բաշխիչ (խմբային, բնակարանային) վահանակների մեջ:
Թույլատրվում է կիրառել ՄՀՊ վարդակներ:
8) Տանովի հաղորդիչները, մալուխների պաշտպանական հաղորդիչները պետք է նշագրվեն դեղնականաչավուն շերտերով:
43. ՇԱՐԺԱԿԱՆ ԷԼԵԿՏՐԱՏԵՂԱԿԱՅԱՆՔՆԵՐԸ
1) Շարժական էլեկտրատեղակայանքներին ներկայացվող պահանջները չեն տարածվում նավային էլեկտրատեղակայանքների, հաստոցների, մեքենաների և մեխանիզմների շարժական մասերի վրա տեղաբաշխված էլեկտրասարքվածքի, էլեկտրիֆիկացված տրանսպորտի, բնակելի ավտոֆուրգոնների վրա:
Փորձարկման լաբորատորիաները պետք է ղեկավարվեն նաև արտադրանքի շահագործման փաստաթղթերի պահանջներով:
2) Շարժական էլեկտրատեղակայանքները կարող են սնում ստանալ էլեկտրաէներգիայի մնայուն կամ ինքնավար շարժական աղբյուրներից:
Սնումը մնայուն էլեկտրական ցանցից, որպես կանոն, իրագործվում է խուլ հողակցված չեզոքով աղբյուրից` ՏՆ-Ս և ՏՆ-Ց-Ս համակարգերի կիրառմամբ: Զրոյական պաշտպանական ՊԵ և զրոյական աշխատանքային Ն հաղորդչի գործառույթների միավորումը մեկ ընդհանուր ՊԵՆ հաղորդչի մեջ, շարժական էլեկտրատեղակայանքի ներսում չի թույլատրվում: Սնող գծի ՊԵՆ հաղորդչի բաժանումը ՊԵ և Ն հաղորդիչների, պետք է իրագործվի կայանքը սնման աղբյուրին միացնելու կետում:
Ինքնավար շարժական աղբյուրից սնման դեպքում դրա չեզոքը, որպես կանոն, պետք է մեկուսացված լինի:
3) Մնայուն էլեկտրաընդունիչներն ինքնավար շարժական սնման աղբյուրներից սնելու դեպքում` սնման աղբյուրի չեզոքի ռեժիմը և պաշտպանական միջոցառումները պետք է համապատասխանեն մնայուն էլեկտրաընդունիչների համար ընդունված չեզոքի ռեժիմներին և պաշտպանության միջոցներին:
4) Շարժական էլեկտրատեղակայանքը սնման մնայուն աղբյուրից սնելու դեպքում, անուղղակի հպման դեմ, պաշտպանության համար պետք է կատարվի սնման ինքնավար անջատում` 29-րդ գլխի 4-րդ կետին համապատասխան, գերհոսանքներից պաշտպանության սարքվածքների կիրառմամբ: Ընդ որում, սույն բաժնի N 1 աղյուսակում ներկայացված անջատման ժամանակը պետք է փոքրացվի կրկնակի, կամ գերհոսանքներից պաշտպանության սարքվածքին լրացուցիչ պետք է կիրառված լինի պաշտպանական անջատման սարքվածք, որը գործում է դիֆերենցիալ հոսանքից:
Թույլատրվում է հատուկ սարքավորումներում ՄՀՊ-ի կիրառում, որոնք գործում են հողի նկատմամբ հենամարմնի պոտենցիալից: Հողի նկատմամբ հենամարմնի պոտենցիալին արձագանքող ՄՀՊ-ի կիրառման դեպքում նախադրվածքը, ըստ անջատող լարման արժեքի, պետք է լինի 25 Վ` 5 վ-ից ոչ ավելի անջատման ժամանակի դեպքում:
5) Սնման աղբյուրին շարժական էլեկտրատեղակայանքը միացնելու կետում պետք է տեղակայված լինի գերհոսանքներից պաշտպանության սարքվածք և ՄՀՊ, որը գործում է դիֆերենցիալ հոսանքից, որի անվանական դիֆերենցիալ անջատող հոսանքը պետք է 1-ից 2 աստիճանով մեծ լինի ՄՀՊ-ի համապատասխան հոսանքից, որը տեղակայված է դեպի շարժական էլեկտրատեղակայանք ներանցիչի վրա:
Անհրաժեշտության դեպքում շարժական էլեկտրատեղակայանքի ներանցիչի վրա կարող է կիրառվել շղթաների պաշտպանական էլեկտրական բաժանում` 29-րդ գլխի 10-րդ կետին համապատասխան: Ընդ որում, բաժանարար տրանսֆորմատորը, ինչպես նաև ներանցիչային սարքվածքը պետք է տեղավորված լինեն մեկուսացնող պատյանի մեջ:
Շարժական էլեկտրատեղակայանքին սնման աղբյուրի ներանցիչի միացման սարքվածքը պետք է ունենա կրկնակի մեկուսացում:
6) ԻՏ համակարգում սնման ինքնավար անջատման կիրառման դեպքում անուղղակի հպման դեմ պաշտպանության համար պետք է իրագործված լինեն`
պաշտպանական հողակցում` մեկուսացման անընդհատ հսկման զուգորդմամբ, որը գործում է ազդանշանի վրա,
սնման ինքնավար անջատում` բաց հաղորդիչ մասերի վրա երկֆազ միացման դեպքում, որն ապահովվում է անջատման ժամանակ սույն բաժնի N 10 աղյուսակին համապատասխան:
Աղյուսակ N 10
Պաշտպանական ինքնավար անջատման ամենամեծ թույլատրելի ժամանակը ԻՏ համակարգի համար շարժական էլեկտրատեղակայանքներում, որոնք սնվում են ինքնավար շարժական աղբյուրից
|
Անվանական գծային լարումը (U), Վ |
Անջատման ժամանակը, վ |
|
220 |
0.4 |
|
380 |
0.2 |
|
660 |
0.06 |
|
660-ից ավելի |
0.02 |
Սնման ինքնավար անջատումն ապահովելու համար պետք է կիրառված լինի գերհոսանքներից պաշտպանության սարքվածք, որն արձագանքում է դիֆերենցիալ հոսանքին, կամ մեկուսացման անընդհատ վերահսկման սարքվածք, որը գործում է անջատման վրա, կամ 43-րդ գլխի 4-րդ կետին համապատասխան` ՄՀՊ, որն արձագանքում է հողի նկատմամբ հենամարմնի պոտենցիալին:
7) Շարժական էլեկտրատեղակայանքի մեջ ներանցման վրա պետք է նախատեսված լինի պոտենցիալների հավասարեցման գլխավոր հաղորդաձող, որը համապատասխանում է գլխավոր հողակցող հաղորդաձողին ներկայացվող 37-րդ գլխի 1-ին կետի պահանջներին, և որին պետք է միացվեն`
զրոյական պաշտպանական ՊԵ հաղորդիչը կամ սնող գծի ՊԵ պաշտպանական հաղորդիչը,
շարժական էլեկտրատեղակայանքի պաշտպանական հաղորդիչը` դրան միակցված բաց հաղորդիչ մասերի պաշտպանական հաղորդիչների հետ միասին,
շարժական էլեկտրատեղակայանքի հենամարմնի և մյուս կողմնակի հաղորդիչ մասերի պոտենցիալների հավասարեցման հաղորդիչները,
հողակցման հաղորդիչը, որը միակցված է շարժական էլեկտրատեղակայանքի տեղական հողակցիչին (դրա առկայության դեպքում):
Անհրաժեշտության դեպքում, բաց և կողմնակի հաղորդիչ մասերը պետք է միմյանց միացված լինեն պոտենցիալների լրացուցիչ հավասարեցման հաղորդիչների միջոցով:
8) Շարժական էլեկտրատեղակայանքի պաշտպանական հողակցումը, ԻՏ համակարգում, պետք է իրագործված լինի կամ դրա դիմադրությանը կամ բաց հաղորդիչ մասերի վրա միաֆազ միացման դեպքում` հպման լարմանը ներկայացվող պահանջների պահպանմամբ:
Դրա դիմադրությանը ներկայացվող պահանջների պահպանմամբ հողակցվող սարքվածքն իրագործելիս` դրա դիմադրության արժեքը չպետք է գերազանցի 25 Օմ-ը: Թույլատրվում է նշված դիմադրության մեծացում` 34-րդ գլխի 3-րդ կետին համապատասխան:
Հպման լարմանը ներկայացվող պահանջների պահպանմամբ հողակցող սարքվածքն իրագործելիս` հողակցող սարքվածքի դիմադրության արժեքը չի նորմավորվում: Այս դեպքում պետք է իրագործվի հետևյալ պայմանը`
Rհ ≤ 25/Iմ,
որտեղ`
Rհ -ը շարժական էլեկտրատեղակայանքի հողակցող սարքվածքի դիմադրությունն է, Օմ,
Iմ -ն շարժական էլեկտրատեղակայանքի բաց հաղորդիչ մասերին միաֆազ միակցման հոսանքն է, Ա:
9) Թույլատրվում է մեկուսացված չեզոքով ինքնավար շարժական սնման աղբյուրից սնվող շարժական էլեկտրատեղակայանքի պաշտպանական հողակցման համար տեղական հողակցիչ չիրագործել հետևյալ դեպքերում`
ա) եթե սնման ինքնավար աղբյուրը և էլեկտրաընդունիչները տեղաբաշխված են անմիջականորեն շարժական էլեկտրատեղակայանքի վրա, դրա հենամարմինների պաշտպանական հաղորդիչների միջոցով միացված են իրար, իսկ աղբյուրից այլ էլեկտրատեղակայանքներ չեն սնվում,
բ) եթե ինքնավար շարժական սնման աղբյուրն ունի իր հողակցող սարքվածքը` պաշտպանական հողակցման համար, շարժական էլեկտրատեղակայանքի բոլոր բաց հաղորդիչ մասերը, դրա հենամարմինը և մյուս հաղորդիչ մասերը հուսալիորեն միացված են շարժական աղբյուրի հենամարմնի հետ` պաշտպանական հաղորդչի օգնությամբ, իսկ էլեկտրասարքվածքի տարբեր հենամարմինների վրա երկֆազ միացման դեպքում` էլեկտրատեղակայանքի տարբեր հենամարմինների վրա շարժական էլեկտրատեղակայանքում ապահովվում է սնման ինքնավար անջատման ժամանակը` սույն բաժնի N 10 աղյուսակին համապատասխան:
10) Մեկուսացված չեզոքով սնման ինքնավար շարժական աղբյուրները պետք է ունենան հենամարմնի (հողի) նկատմամբ մեկուսացման դիմադրության անընդհատ վերահսկման սարքվածք` լուսային և ձայնային ազդանշաններով: Պետք է ապահովված լինի մեկուսացման և դրա անջատումը վերահսկող սարքվածքի սարքին լինելն ստուգելու հնարավորությունը:
Թույլատրվում է մեկուսացման անընդհատ վերահսկման ազդանշանի վրա գործելու սարքվածք չտեղակայել շարժական էլեկտրատեղակայանքի վրա, որը սնվում է այդպիսի շարժական աղբյուրից, եթե այդ դեպքում իրագործվում է սույն գլխի 9-րդ կետի «բ» ենթակետի պայմանը:
11) Շարժական էլեկտրատեղակայանքներում պաշտպանությունն ուղղակի հպումից պետք է ապահովված լինի հոսանատար մասերի մեկուսացման կիրառմամբ, ցանկապատմամբ և թաղանթների կիրառմամբ, որոնք ունեն պաշտպանության առնվազն IP2X աստիճանով: Չի թույլատրվում պատնեշների կիրառում և հասանելիության սահմաններից դուրս տեղաբաշխում:
Շարժական էլեկտրատեղակայանքի սենքերից դուրս օգտագործվող էլեկտրասարքավորման միացման խրոցակային վարդակները սնող շղթաներում պետք է իրագործված լինի լրացուցիչ պաշտպանություն` 42-րդ գլխի 5-րդ կետին համապատասխան:
12) Պաշտպանական և հողակցման հաղորդիչները և պոտենցիալների հավասարեցման հաղորդիչները պետք է լինեն պղնձե, ճկուն, որպես կանոն, գտնվեն ֆազային հաղորդիչների հետ ընդհանուր թաղանթում: Հաղորդիչների հատույթը պետք է համապատասխանի հետևյալ պահանջներին`
պաշտպանականինը` 38-րդ գլխի 6-րդ և 7-րդ կետեր,
հողակցողներինը` 36-րդ գլխի 1-ին կետ,
պոտենցիալների հավասարեցմանը` 40-րդ գլխի 1-ին, 2-րդ և 3-րդ կետեր:
ԻՏ համակարգի կիրառման դեպքում թույլատրվում է պաշտպանական և հողակցման հաղորդիչների և պոտենցիալների հավասարեցման հաղորդիչների անցկացում` ֆազային հաղորդիչներից առանձին:
13) Թույլատրվում է շարժական էլեկտրատեղակայանքը սնող գծի բոլոր հաղորդիչների անջատում, ներառյալ պաշտպանական հաղորդիչը, մեկ փոխարկման ապարատի օգնությամբ:
14) Եթե շարժական էլեկտրատեղակայանքը սնվում է խրոցակային միացուցիչների օգտագործմամբ, խրոցակային միացուցչի խրոցը պետք է միացվի շարժական էլեկտրատեղակայանքի կողմից և ունենա մեկուսացնող նյութից պատյան:
44. ԱՆԱՍՆԱՊԱՀԱԿԱՆ ՍԵՆՔԵՐԻ ԷԼԵԿՏՐԱՏԵՂԱԿԱՅԱՆՔՆԵՐԸ
1) Անասնապահական սենքերի էլեկտրատեղակայանքների սնումը պետք է, որպես կանոն, իրագործել փոփոխական հոսանքի 380/220 Վ լարման ցանցից:
2) Մարդկանց և կենդանիների անուղղակի հպման դեպքում պաշտպանության համար պետք է իրագործվի սնման ինքնավար անջատում` ՏՆ-Ց-Ս համակարգի կիրառմամբ: ՊԵՆ հաղորդչի բաժանումը զրոյական պաշտպանական (ՊԵ) և զրոյական աշխատանքային (Ն) հաղորդիչների` պետք է իրագործել ներանցման վահանակի վրա: Այդպիսի էլեկտրատեղակայանքների` ներկառույց և կցակառույց ենթակայաններից սնման դեպքում պետք է կիրառված լինի ՏՆ-Ս համակարգ, ընդ որում, զրոյական աշխատանքային հաղորդիչը պետք է ունենա ֆազային հաղորդիչների մեկուսացմանը համարժեք մեկուսացում` դրա ամբողջ երկարությամբ:
Աղյուսակ N 11
Պաշտպանական ինքնավար անջատման ամենամեծ թույլատրելի ժամանակը անասնապահական սենքերում` ՏՆ համակարգի համար
|
Անվանական ֆազային լարումը (U0), Վ |
Անջատման ժամանակը, վ |
|
127 |
0,35 |
Սնման պաշտպանական ինքնավար անջատման ժամանակն անասնապահական սենքերում, ինչպես նաև այն սենքերում, որոնք կողմնակի հաղորդիչների միջոցով կապված են դրանց հետ, պետք է համապատասխանի սույն բաժնի N 11 աղյուսակին:
Եթե նշված անջատման ժամանակը երաշխավորվել չի կարող, անհրաժեշտ են լրացուցիչ պաշտպանական միջոցներ, օրինակ` պոտենցիալների լրացուցիչ հավասարեցում:
3) Սենքի ներանցման վրա ՊԵՆ հաղորդիչը պետք է կրկնական հողակցվի: Կրկնակի հողակցման դիմադրության արժեքը պետք է համապատասխանի 32-րդ գլխի 4-րդ կետին:
4) Անասնապահական սենքերում անհրաժեշտ է նախատեսել ոչ միայն մարդկանց պաշտպանություն, այլև կենդանիների, որի համար պետք է իրագործված լինի պոտենցիալների հավասարեցման լրացուցիչ համակարգը, որը միացնում է միաժամանակյա հպման համար մատչելի բոլոր բաց և կողմնակի հաղորդիչ մասերը (ջրմուղի խողովակները, վակուումատարը, մսուրների մետաղե ցանկապատերը, մետաղե հանգուցապատերը և ուրիշ):
5) Անասունների տեղաբաշխման գոտում, հատակի մեջ պետք է իրագործված լինի պոտենցիալների հարթեցում մետաղե ցանցի կամ այլ սարքվածքի միջոցով, որը պետք է միացված լինի պոտենցիալների հավասարեցման լրացուցիչ համակարգի հետ:
6) Էլեկտրական պոտենցիալների հարթեցման և հավասարեցման սարքվածքը էլեկտրասարքվածքի աշխատանքային բնականոն ռեժիմում պետք է ապահովի 0,2 Վ-ից ոչ ավելի հպման լարում, իսկ վթարային ռեժիմում, սույն բաժնի N 11 աղյուսակում նշվածից ավելի անջատման ժամանակի դեպքում, բարձր վտանգավորության սենքերում էլեկտրատեղակայանքների համար, առանձնապես վտանգավոր և արտաքին կայանքներում` 12 Վ-ից ոչ ավելի:
7) Խրոցակային վարդակները սնող բոլոր խմբային շղթաների համար պետք է լինի լրացուցիչ պաշտպանություն ուղղակի հպումից` ՄՀՊ-ի օգնությամբ, 30 մԱ-ից ոչ ավելի անվանական անջատող դիֆերենցիալ հոսանքով:
8) Անասնապահական սենքերում, որոնց մեջ բացակայում են պոտենցիալների հարթեցում պահանջող պայմանները, պետք է իրագործված լինի պաշտպանություն` ներանցիչային վահանի վրա տեղակայված ՄՀՊ-ի օգնությամբ, 100 մԱ-ից ոչ պակաս անվանական անջատող դիֆերենցիալ հոսանքով:
VII. ԸՆԴՈՒՆՄԱՆ-ՀԱՆՁՆՄԱՆ ՓՈՐՁԱՐԿՈՒՄՆԵՐԻ ՆՈՐՄԵՐԸ
45. ԸՆԴՀԱՆՈՒՐ ԴՐՈՒՅԹՆԵՐ
1) Շահագործման մեջ նոր մտցվող` մինչև 500 կՎ լարման էլեկտրասարքվածքը պետք է ենթարկվի ընդունման-հանձնման փորձարկումների` սույն բաժնի պահանջներին համապատասխան: Ընդունման-հանձնման փորձարկումները հանձնարարվում է անցկացնել շրջակա միջավայրի բնականոն պայմաններում, որոնք նշված են շահագործման հրահանգներում:
Սույն ՏԿ-ում չընդգրկված սարքավորումների ընդունման-հանձնման փորձարկումներն անցկացնելիս` պետք է ղեկավարվել դրանց շահագործման փաստաթղթերով:
2) Էլեկտրակայաններում և ենթակայաններում ռելեային պաշտպանության և էլեկտրաավտոմատիկայի սարքվածքներն ստուգվում են ըստ շահագործման հրահանգների:
3) Սույն բաժնում նախատեսված փորձարկումներից բացի` ամբողջ էլեկտրասարքվածքը պետք է անցնի մեխանիկական մասի աշխատանքի ստուգում` շահագործման և տեղակայման հրահանգներին համապատասխան:
4) Շահագործման համար սարքվածքի պիտանիության մասին եզրակացությունը տրվում է սարքվածքի տվյալ միավորին վերաբերող բոլոր փորձարկումների և չափումների արդյունքների հիման վրա:
5) Շահագործման փաստաթղթերին և սույն տեխնիկական կանոնակարգի պահանջներին համապատասխան` բոլոր չափումները և փորձարկումները, որոնք կատարվել են տեղակայող կարգաբերող հավաստագրված կազմակերպությունների կողմից էլեկտրասարքվածքը շահագործման մեջ մտցնելուց անմիջապես առաջ, պետք է ձևակերպվեն Հայաստանի Հանրապետության օրենսդրությամբ սահմանված համապատասխան ձևի ակտեր:
6) Արդյունաբերական հաճախականության բարձրացված լարմամբ փորձարկումը պարտադիր է մինչև 35 կՎ էլեկտրասարքվածքների համար:
Փոփոխական հոսանքի փորձարկման անհրաժեշտ ապարատի բացակայության դեպքում թույլատրվում է մինչև 20 կՎ լարման բաշխիչ սարքվածքների էլեկտրական ապարատները փորձարկել ուղղված բարձրացված լարմամբ, որը պետք է հավասար լինի արդյունաբերական հաճախականության փորձարկման լարման մեկուկեսապատիկին:
7) Էլեկտրասարքվածքը և մեկուսիչները, որոնց անվանական լարումը գերազանցում է այն էլեկտրատեղակայանքի լարմանը, որի մեջ դրանք շահագործվում են, կարող են փորձարկվել տվյալ էլեկտրատեղակայանքի մեկուսացման դասի համար սահմանված լարմամբ: Մեկուսացման դիմադրության չափումը, եթե բացակայում են լրացուցիչ ցուցումները, կատարվում է`
մինչև 500 Վ լարման ապարատներում և շղթաներում` 500 Վ լարման մեգաօմաչափով,
500 Վ-ից 1 կՎ-ից ցածր լարման ապարատներում և շղթաներում` 1 կՎ լարման մեգաօմաչափի միջոցով,
1 կՎ-ից բարձր լարման ապարատներում` 2500 Վ լարման մեգաօմաչափով:
6-10 կՎ ուժային մալուխների հետ միացված մեկուսիչների և հոսանքի տրանսֆորմատորների փորձարկումը` բարձրացված լարմամբ, կարող է կատարվել մալուխների հետ միասին: Վիճակի գնահատումը կատարում են ըստ ուժային մալուխների համար ընդունված նորմերի:
8) Էլեկտրասարքվածքի փորձարկումը կատարում են շահագործման փաստաթղթերին համապատասխան: Ընդ որում, ստուգվող մեծությունների արժեքները պետք է համապատասխանեն սույն բաժնում ներկայացված աղյուսակներում սահմանված արժեքներին:
9) Ապարատների փորձարկումն արդյունաբերական հաճախականության բարձրացված լարմամբ, որպես կանոն, պետք է կատարվի բաշխիչ սարքվածքի հաղորդաձողերի մեկուսացման փորձարկման հետ համատեղ (առանց հաղորդաձողերի անջատման): Ընդ որում, թույլատրվում է փորձարկման լարումն ընդունել նվազագույն փորձարկման լարում ունեցող սարքվածքի համար նախատեսված նորմերով:
10) Էլեկտրասարքվածքի մեկուսացման մի քանի տեսակ փորձարկումներ անցկացնելիս` բարձրացված լարմամբ փորձարկմանը պետք է նախորդեն փորձարկումների այլ տեսակներ:
11) Երկրորդական շղթաների արդյունաբերական հաճախականության 1000 կՎ-ին հավասար լարմամբ մեկուսացման փորձարկումը կարող է փոխարինվել 2500 Վ լարման մեգաօմաչափի միջոցով մեկուսացման դիմադրության 1 րոպեանոց արժեքի չափումներով: Եթե ստացված դիմադրության արժեքը փոքր է նորմերում նշվածից, ապա արդյունաբերական հաճախականության 1000 կՎ լարմամբ փորձարկումը պարտադիր է:
46. ՀԱՄԱԺԱՄԱՆԱԿՅԱ ԳԵՆԵՐԱՏՈՐՆԵՐԸ ԵՎ ՓՈԽՀԱՏՈՒՑԻՉՆԵՐԸ
1 ՄՎտ և ավելի հզորության 1 կՎ-ից բարձր լարմամբ համաժամանակյա փոխհատուցիչները պետք է փորձարկվեն սույն բաժնի ամբողջ ծավալով:
Մինչև 1 ՄՎտ հզորության 1 կՎ-ից բարձր լարման գեներատորները պետք է փորձարկվեն ըստ սույն գլխի 1-5-րդ և 7-15-րդ կետերի:
1 կՎ-ից ցածր լարման գեներատորները, անկախ դրանց հզորությունից, պետք է փորձարկվեն ըստ սույն գլխի 2-8-րդ և 10-14-րդ կետերի:
1) 1 կՎ-ից բարձր լարման գեներատորներն առանց չորացման միացնելու հնարավորության որոշումը: Պետք է կատարել գեներատորների շահագործման փաստաթղթերին համապատասխան
2) Մեկուսացման դիմադրության չափումը: Մեկուսացման դիմադրությունը պետք է լինի սույն բաժնի N 1 աղյուսակում ներկայացված արժեքներից ոչ պակաս:
Աղյուսակ N 1
Մեկուսացման դիմադրության եվ մակակլանման գործակցի թույլատրելի արժեքները
|
Փորձարկվող տարրը |
Մեգաօմա-չափի լարումը, Վ |
Մեկուսացման դիմադրության թույլատրելի արժեքը, ՄՕմ |
Լրացուցիչ ցուցումներ |
|
1 |
2 |
3 |
4 |
|
1. Ստատորի փաթույթ |
500, 1000, 2500 |
10 ՄՕմ-ից ոչ պակաս` անվանական գծային լարման 1 կՎ համար |
Յուրաքանչյուր ֆազի կամ ճյուղի |
|
|
2500 |
ըստ արտադրանքի շահագործման |
փաթույթի միջով թորած ջուր հոսելիս |
|
2. Ռոտորի փաթույթ |
500, 1000 |
0,5-ից ոչ պակաս (ջրային հովացման դեպքում` չորացված փաթույթով) |
Թույլատրվում է 300 ՄՎտ-ից ոչ մեծ հզորության |
|
1000 |
ըստ շահագործման հրահանգի |
թորած ջուրը փաթույթի հովացման ուղիներով հոսելիս | |
|
3. Գեներատորի և կոլեկտորային գրգռիչի գրգռման շղթաները` միացված բոլոր ապարատներով (առանց ռոտորի և փաթույթի գրգռիչի) |
500-1000 |
1,0-ից ոչ պակաս |
|
|
4. Կոլեկտորային գրգռիչի և ենթագրգռիչի փաթույթները |
1000 |
0,5-ից ոչ պակաս |
|
|
5. Խարսխի և կոլեկտորային գրգռիչի և ենթագրգռիչի կոլեկտորի կալանդները |
1000 |
0,5-ից ոչ պակաս |
խարսխի հողակցված փաթույթի դեպքում |
|
6. Ստատորի պողպատի մեկուսացված ձգիչ հեղույսները (չափման համար մատչելի) |
1000 |
0,5-ից ոչ պակաս |
|
|
7. Լիսեռի առանցքակալները և խտարարները |
1000 |
0,3-ից ոչ պակաս` հիդրոգեներատորների համար, և 1,0-ից ոչ պակաս` տուրբագեներա-տորների և փոխհատուցիչների համար |
Հիդրոգեներատորների համար չափումը կատարվում է, |
|
8. Օդափոխիչների դիֆուզորները, վահանները և գեներատորների ստատորի այլ տարրեր |
500, 1000 |
արտադրողի պահանջներին համապատաս-խան` ըստ շահագործման փաստաթղթերի |
|
|
9. Ջերմատվիչները միացնող հաղորդալարերի հետ միասին` ներառյալ գեներատորի ներսում զետեղված միացնող հաղորդալարերը` |
250 կամ 500 500 |
1,0-ից ոչ պակաս 0,5-ից ոչ պակաս |
մեգաօմաչափի լարումը` ըստ շահագործման հրահանգի |
|
10. ՏԳՎ շարքի տուրբագեներա-տորների փաթույթի ծայրային արտանցիչը |
2500 |
1000 |
Չափումը կատարում են մինչև արտանցիչի |
3) Ստատորի փաթույթի մեկուսացման փորձարկում` բարձրացված ուղղված լարմամբ` ըստ ֆազերի հոսակորստի հոսանքի չափմամբ: Փորձարկման է ենթարկվում յուրաքանչյուր ֆազը կամ ճյուղն առանձին, երբ այլ ֆազերը կամ ճյուղերը միացված են հենամարմնի հետ: Ստատորի փաթույթի ջրային հովացմամբ գեներատորում փորձարկում կատարում են այն դեպքում, եթե գեներատորի կոնստրուկցիայում նախատեսված է դրա հնարավորությունը:
Փորձարկման լարման արժեքները ներկայացված են սույն բաժնի N 2 աղյուսակում:
ՏԳՎ-300 տեսակի տուրբագեներատորների համար փորձարկումը պետք է կատարել ըստ ճյուղերի:
Աղյուսակ N 2
Փորձարկման ուղղված լարումը` համաժամանակյա գեներատորների եվ փոխհատուցիչների ստատորների փաթույթների համար
|
Գեներատորի |
Անվանական լարումը (Uանվ.), կՎ |
Լայնութային փորձարկման լարումը, կՎ |
| 1-ից պակաս | բոլոր լարումները |
1,2 + 2,4 Uանվ. |
| 1 և ավելի | մինչև 3,3 3,3-ից բարձր մինչև 6,6 ներառյալ 6,6-ից բարձր մինչև 20 ներառյալ 20-ից բարձր մինչև 24 ներառյալ |
2,4 + 1,2 Uանվ. |
Փորձարկման ուղղված լարումը ՏԳՎ (ТГВ)-200 և ՏԳՎ-300 տեսակի գեներատորների համար ընդունվում է համապատասխանաբար 40 և 50 կՎ:
ՏԳՎ-500 (Uանվ.=36,75 կՎ) տուրբագեներատորների համար փորձարկման լարումը` 75 կՎ:
Հոսակորստի հոսանքների չափումը` լարումից կախվածության կորերի կառուցման համար, կատարում են ուղղված լարման հինգից ոչ պակաս արժեքների համար 0,2Umax-ից մինչև Umax, հավասար աստիճաններով: Յուրաքանչյուր աստիճանի վրա լարումը պահվում է 1 րոպեի ընթացքում: Ընդ որում, հոսակորստի հոսանքներն արձանագրվում են 15 և 60 վայրկյանը մեկ:
Ստացված բնութագրերի գնահատումը կատարվում է գեներատորի շահագործման փաստաթղթերին համապատասխան:
4) Մեկուսացման փորձարկում` արդյունաբերական հաճախականության բարձրացված լարմամբ: Փորձարկումը կատարում են ըստ սույն բաժնի N 3 աղյուսակում ներկայացված նորմերի: Փորձարկման ենթարկվում է յուրաքանչյուր ֆազը կամ ճյուղն առանձին, երբ այլ ֆազեր կամ ճյուղեր միացված են հենամարմնի հետ: Նորմավորված փորձարկման լարման կիրառման տևողությունը` 1 րոպե: Արդյունաբերական հաճախականության բարձրացված լարմամբ մեկուսացման փորձարկումներ կատարելիս` պետք է ղեկավարվել հետևյալով`
ա) գեներատորի ստատորի փաթույթների մեկուսացման փորձարկումն անհրաժեշտ է կատարել մինչև ռոտորն ստատորի մեջ մտցնելը: Եթե հիդրոգեներատորի ստատորի կցարկումը և հավաքումն իրականացվում են հավաքակցման հարթակում, և հետագայում ստատորը տեղակայվում է հորանի մեջ` հավաքված տեսքով, ապա դրա մեկուսացումը փորձարկվում է երկու անգամ` հարթակի վրա հավաքելուց հետո և հորանի մեջ ստատորը տեղակայելուց հետո` մինչև ռոտորն ստատորի մեջ մտցնելը:
Փորձարկման ընթացքում կատարվում է մեքենայի ճակատային մասերի վիճակի զննում`
տուրբագեներատորների` երբ հանված են ճակատային վահանները,
հիդրոգեներատորների` երբ օդափոխության ելանցքերը բաց են.
բ) ջրային հովացմամբ մեքենաների համար ստատորի մեկուսացման փորձարկումը պետք է կատարել հովացման համակարգում 100 կՕմ/սմ-ից ոչ պակաս տեսակարար դիմադրությամբ թորած ջրի անվանական ծախսի շրջապտույտի դեպքում.
գ) ստատորի փաթույթը բարձրացված լարմամբ 1 րոպեի ընթացքում փորձարկելուց հետո 10 կՎ և բարձր լարման գեներատորների մոտ պետք է փորձարկման լարումն իջեցնել մինչև գեներատորի անվանական լարումը և պահել 5 րոպե` ստատորի փաթույթի ճակատային մասերի պսակային պարպման դիտարկման համար: Ընդ որում, չպետք է լինեն կենտրոնացված առանձին կետերում դեղին կամ կարմիր գույնի լուսարձակում, ծխի առաջացում, կալանդների մարմանդ այրում և նման այլ երևույթներ: Երկնագույն և սպիտակ լուսարձակում թույլատրվում է`
դ) տուրբագեներատորների ռոտորների փաթույթների մեկուսացման փորձարկման կատարումը ռոտորի պտտման անվանական հաճախականության դեպքում.
ե) տեղակայումն ավարտելուց հետո, մինչև գեներատորի միացումն աշխատանքի (տուրբագեներատորների մոտ` ռոտորն ստատորի մեջ մտցնելուց և ճակատային վահանների տեղադրումից հետո անհրաժեշտ է անցկացնել ստուգողական փորձարկում)` արդյունաբերական հաճախականության անվանական լարմամբ կամ ուղղված լարմամբ` 1,5Uանվ.-ին հավասար: Փորձարկումների տևողությունը`
1 րոպե:
5) Հաստատուն հոսանքին դիմադրության չափում: Հաստատուն հոսանքին դիմադրության թույլատրելի շեղումների նորմերը ներկայացված են սույն բաժնի N 4 աղյուսակում: Դիմադրությունների արժեքները համեմատելիս` դրանք պետք է բերվեն միևնույն ջերմաստիճանի:
6) Փոփոխական հոսանքին ռոտորի փաթույթի դիմադրության չափում: Չափումը կատարում են ռոտորի փաթույթներում գալարային միացումների հայտնաբերման, ինչպես նաև ռոտորի տատանամարիչային համակարգի վիճակի հսկման նպատակով: Ոչ բացահայտ բևեռներով ռոտորների համար չափվում է ամբողջ փաթույթի դիմադրությունը, իսկ բացահայտ բևեռների դեպքում` փաթույթի յուրաքանչյուր բևեռինը` առանձին, կամ երկու բևեռինը` միասին: Չափումը պետք է կատարել մեկ գալարի վրա 3 Վ առտրված լարման դեպքում, բայց 200 Վ-ից ոչ ավելի: Առբերվող լարման ընտրության ժամանակ պետք է հաշվի առնել դիմադրության կախումն առբերվող լարումից: Ոչ բացահայտ բևեռներով ռոտորների փաթույթների դիմադրությունը որոշվում է պտտման հաճախականության երեք-չորս աստիճանների համար, ներառյալ անվանականը, և անշարժ վիճակում` կիրառվող լարումը կամ հոսանքը պահպանելով անփոփոխ: Դիմադրությունը, ըստ բևեռների կամ բևեռների զույգերի, չափվում է միայն անշարժ ռոտորի դեպքում:
Աղյուսակ N 3
Արդյունաբերական հաճախականության փորձարկման լարումը` համաժամանակյա գեներատորների եվ փոխհատուցիչների փաթույթների համար
Փորձարկվող տարրը Գեներատորի բնութագիրը կամ տեսակը Փորձարկման լարումը, կՎ Լրացուցիչ ցուցումներ 1. Գեներատորի ստատորի փաթույթը հզորությունը` 1 ՄՎտ-ից ցածր, անվանական լարումը` 0,1 կՎ-ից բարձր 0,8 (2Uանվ. + 1), բայց 1,2-ից ոչ պակաս 2. Հիդրոգեներատորի ստատորի փաթույթը, ստատորի մասերի շերտահավաքումը կամ կցարկումը, որը կատարում են տեղակայման վայրում, փաթույթի միացումների լրիվ հավաքումից և միացումները մեկուսացնելուց հետո հզորությունը` 1 ՄՎտ և ավելի, անվանական լարումը` մինչև 3,3 կՎ ներառյալ 2Uանվ. +1 Եթե ստատորի հավաքումը կատարում են հավաքակցման վայրում, բայց ոչ հիմքի վրա, ապա մինչև հիմքի վրա ստատորի տեղակայումը դրա փորձարկումները կատարվում են ըստ կետի, իսկ տեղակայումներից հետո` ըստ սույն աղյուսակի 1-ին կետի 3. Բացահայտ բևեռներով ռոտորի փաթույթը բոլոր հզորությունների գեներատորները գեներատորի գրգռման 8Uանվ., բայց 1,2-ից ոչ ցածր և 2,8-ից ոչ բարձր 4. Ոչ բացահայտ բևեռներով ռոտորի փաթույթը բոլոր հզորությունների գեներատորները 1,0 Փորձարկման լարումն ընդունվում է 1 կՎ-ին հավասար այն դեպքում, երբ դա չի հակասում գեներատորի շահագործման փաստաթղթերին: 5. Կոլեկտորային գրգռիչի և ենթագրգռիչի փաթույթը բոլոր հզորությունների գեներատորներ գեներատորի գրգռման 8Uանվ., բայց 1,2-ից ոչ ցածր և 2,8-ից ոչ բարձր հենամարմնի և կալանդների նկատմամբ 6. Գրգռման շղթաները բոլոր հզորությունների գեներատորները 1,0 7. Գրգռման ռեակտորը բոլոր հզորությունների գեներատորները 1,0 8. Դաշտի մարման շղթայի ռեզիստորը և ԴՄԱ բոլոր հզորությունների գեներատորները 2,0 9. Ստատորի փաթույթի ծայրային արտանցիչը ՏԳՎ-200, 31.0*, 34.5** Փորձարկումները կատարվում են մինչև ծայրային արտանցիչների տեղակայումը տուրբագեներատորի վրա։ * Ծայրային արտանցիչների համար, որոնք փորձարկվել են արտադրող կազմակերպությունում` ստատորի փաթույթի մեկուսացման հետ միասին:
հզորությունը` 1 ՄՎտ և ավելի, անվանական լարումը` մինչև 3,3 կՎ ներառյալ
0,8 (2Uանվ. + 1)
հզորությունը` 1 ՄՎտ և ավելի, անվանական լարումը` 3,3 կՎ-ից բարձր, մինչև 6,6 կՎ ներառյալ
0,8 • 2,5Uանվ.
հզորությունը` 1 ՄՎտ և ավելի, անվանական լարումը` 6,6 կՎ-ից բարձր, մինչև 20 կՎ ներառյալ
0,8 (2Uանվ. + 3)
հզորությունը` 1 ՄՎտ և ավելի, անվանական լարումը` 20 կՎ-ից բարձր
0,8 (2Uանվ. + 1)
հզորությունը` 1 ՄՎտ և ավելի, անվանական լարումը` 3,3 կՎ-ից բարձր, մինչև 6,6 կՎ ներառյալ
2,5Uանվ.
հզորությունը` 1 ՄՎտ և ավելի, անվանական լարումը` 6,6 կՎ-ից բարձր
2Uանվ. + 3
Եթե հրահանգներով նախատեսված են փորձարկման ավելի խիստ նորմեր, փորձարկման լարումը պետք է բարձրացվի։
ՏԳՎ-200Մ,
ՏԳՎ-300
39.0*, 43.0**
**Պահուստային ծայրային արտանցիչների համար` տուրբագեներատորների վրա տեղակայելուց առաջ:
Աղյուսակ N 4
Հաստատուն հոսանքի դիմադրության թույլատրելի շեղումը
Փորձարկվող օբյեկտը Նորմը Ստատորի փաթույթը (չափումը Փաթույթների գործնականորեն սառը վիճակում չափված տարբեր ֆազերի դիմադրություններն իրարից չպետք է տարբերվեն 2%-ից ավելի: Ռոտորի փաթույթը Փաթույթների չափված դիմադրությունն արտադրանքի շահագործման փաստաթղթերի տվյալներից չպետք է լինի 2%-ից ավելի: Դաշտի մարման ռեզիստորը, Դիմադրությունն արտադրանքի շահագործման փաստաթղթերի տվյալներից չպետք է լինի 10%-ից ավելի։ Կոլեկտորային գրգռիչի Չափված դիմադրության արժեքը ելակետային տվյալներից չպետք է լինի 2%-ից ավելի։ Գրգռիչի խարսխի փաթույթը Չափված դիմադրության արժեքները իրարից չպետք է լինեն 10%-ից ավելի` բացառությամբ այն դեպքի, երբ դա պայմանավորված է միացման սխեմայով։
կատարում են յուրաքանչյուր
ֆազի կամ ճյուղի համար առանձին)
Կառուցվածքային առանձնահատկությունների հետևանքով (միացնող աղեղների մեծ երկարություն և այլն) գեներատորների որոշ տեսակների մոտ ճյուղերի դիմադրությունների միջև տարբերությունը կարող է հասնել 5%-ի։
Բացահայտ բևեռներով ռոտորների մոտ չափումը կատարում են յուրաքանչյուր բևեռի համար առանձին կամ զույգ առ զույգ։
գրգռման ռեոստատները
գրգռման փաթույթը
(կոլեկտորային թիթեղների միջև)
Ստացված արդյունքների` շահագործման փաստաթղթերի տվյալներից կամ բևեռների չափված դիմադրությունների միջին արժեքից 3-5 %-ից ավելի շեղումը վկայում է ռոտորի փաթույթներում արատների առկայության մասին: Գալարային միացումների ծագման մասին վկայում է դիմադրության իջեցման թռիչքային բնույթը` պտտման հաճախականության մեծացման դեպքում, իսկ ռոտորի տատանամարիչ համակարգի հպակներում վատ որակի մասին` պտտման հաճախականությունը մեծացնելիս դիմադրության իջեցման սահուն բնույթը: Միացված գալարների առկայության և թվի մասին վերջնական եզրակացություն պետք է անել ԿՄ բնութագրի հանման արդյունքների և շահագործման փաստաթղթերում նշված տվյալների հետ դրա համեմատման հիման վրա:
7) Գրգռման համակարգերի էլեկտրասարքվածքի ստուգում և փորձարկում: Բերվում են տիրիստորային ինքնագրգռման համակարգի (այսուհետ` ՏԻՀ), տիրիստորային անկախ համակարգի (ՏԱՀ), անխոզանակ գրգռման համակարգի (ԱԳՀ), կիսահաղորդչային բարձր հաճախային գրգռման համակարգի (ԲՀ) ուժային սարքավորման փորձարկման նորմերը: Գրգռման ինքնավար կարգավորիչի պաշտպանության, կառավարման ավտոմատը և այլ սարքավորանքների ստուգումը կատարում են արտադրանքի շահագործման փաստաթղթերին համապատասխան:
Էլեկտրամեքենայական գրգռիչների ստուգումը և փորձարկումը պետք է կատարել 47-րդ գլխին համապատասխան։
ա) Մեկուսացման դիմադրության չափում: Մեկուսացման դիմադրությունը, 100C-300C ջերմաստիճանի դեպքում, պետք է համապատասխանի սույն բաժնի N 5 աղյուսակում նշվածներին:
բ) Փորձարկում` արդյունաբերական հաճախականության բարձրացված լարմամբ: Փորձարկման լարման արժեքներն ընդունվում են համաձայն սույն բաժնի N 5 աղյուսակի։ Փորձարկման լարման կիրառման տևողությունը` 1 րոպե:
գ) Տրանսֆորմատորների փաթույթներում և էլեկտրական մեքենաներում գրգռման համակարգերի հաստատուն հոսանքին դիմադրության չափում: Էլեկտրական մեքենաների փաթույթների դիմադրությունը (օժանդակ գեներատոր` ՏԱՀ համակարգում, ինդուկտորային գեներատոր ԲՀ համակարգում, դարձված կամ համաժամանակյա գեներատոր` ԱԳՀ համակարգում) չպետք է լինի շահագործման հրահանգներում նշված տվյալներից 2%-ից ավելի, տրանսֆորմատորների փաթույթներինը (ուղղիչայիններինը` ՏԻՀ, ՏԱՀ, ԱԳՀ համակարգերում, հաջորդաբարներինը` ՏԻՀ առանձին համակարգերում)` 5%-ից ոչ ավելի: Ինդուկտորային գեներատորների աշխատանքային փաթույթների զուգահեռ ճյուղերի դիմադրությունները մեկը մյուսից չպետք է լինի 15%-ից ավելի, պտտվող ենթագրգռիչների ֆազերի դիմադրությունները` 10%-ից ոչ ավելի:
դ) Տրանսֆորմատորների ստուգում (ուղղիչային, հաջորդական, սեփական կարիքների, սկզբնական գրգռման, լարման և հոսանքի չափիչ տրանսֆորմատորների): Ստուգումը կատարում են 49-51-րդ գլուխներում նշված նորմերին համապատասխան: Հաջորդական տրանսֆորմատորների (ՀՏ) համար որոշվում է նաև բաց երկրորդային փաթույթների վրա լարման և գեներատորի ստատորի հոսանքի միջև կախումը` U2հտ=f(Iստ): U2հտ=f(Iստ) բնութագիրը որոշվում է գեներատորի (բլոկի) եռաֆազ կարճ միակցման Iստ.անվ. բնութագիրը հանելիս: Առանձին ֆազերի բնութագրերի (միաֆազ հաջորդական տրանսֆորմատորների դեպքում) տարբերությունն իրարից չպետք է լինի 5%-ից ավելի:
ե) Արդյունաբերական հաճախականության օժանդակ համաժամանակյա գեներատորի բնութագրի որոշումը ՏԱՀ համակարգերում: Օժանդակ գեներատորն ստուգվում է սույն գլխի 8-րդ կետին համապատասխան: ՕՀԳ-ի կարճ միակցման բնութագիրը որոշվում է մինչև Iստ.անվ., իսկ պարապ ընթացքի բնութագիրը` մինչև 1,3 Uստ.անվ.` 5 րոպե տևողությամբ գալարային մեկուսացման ստուգմամբ:
զ) Ինդուկտորային գեներատորի բնութագրի որոշումը գրգռման ԲՀ համակարգում ուղղիչային տեղակայանքի հետ համատեղ: Փորձարկումը կատարում են հաջորդական գրգռման փաթույթի անջատված վիճակում: Ինդուկտորային գեներատորի պարապ ընթացքի բնութագիրը ուղղիչային տեղակայանքի հետ համատեղ [Uստ, Uուտ=f(Iա.գ), որտեղ Iա.գ-ն հոսանքն է` անկախ գրգռման փաթույթում], որոշվում է մինչև Uուտ արժեքը, որը համապատասխանում է ռոտորի անվանական լարման կրկնակի արժեքին և չպետք է լինի շահագործման փաստաթղթերով սահմանված արժեքի 5%-ից ավելի: Լարումների ցրվածքը ուղղիչային տեղակայանքի հաջորդաբար միացված ուղղիչների միջև չպետք է գերազանցի միջին արժեքի 10%-ը: Ինդուկտորային գեներատորի կարճ միակցման բնութագիրն ուղղիչային տեղակայանքի հետ համատեղ նույնպես շահագործման փաստաթղթերով սահմանված արժեքից չպետք է լինի 5%-ից ավելի: Ուղղված հոսանքի դեպքում, որը համապատասխանում է ռոտորի անվանական հոսանքին, հոսանքների ցրվածքը, ուղղիչային տեղակայանքի բազուկներում ըստ զուգահեռ ճյուղերի, չպետք է գերազանցի միջին արժեքի ± 20%-ը: Որոշվում է նաև բեռային բնութագիրը ռոտորի վրա աշխատելիս` մինչև պարապ ընթացքի Iռպ.ը-ի վրա [Iռ=f(Iգ.գ)], որտեղ Iգ.գ-ն գրգռիչի գրգռման հոսանքն է:
է) Պտտվող ենթագրգռիչի արտաքին բնութագրի որոշումը գրգռման ԲՀ համակարգերում: Ենթագրգռիչի վրա բեռը փոփոխվելիս (բեռ է հանդիսանում գրգռման ինքնավար կարգավորիչը) ենթագրգռիչի լարման փոփոխությունը չպետք է գերազանցի արտադրանքի շահագործման փաստաթղթերում նշված արժեքները: Լարման տարբերությունն ըստ ֆազերի չպետք է գերազանցի 10%-ը:
ը) ԱԳՀ համակարգում պտտվող կերպափոխիչի դարձված համաժամանակյա գեներատորի տարրերի ստուգում: Չափվում են պտտվող ուղղիչի անցումային հպակային միացումների` հաստատուն հոսանքին ցուցաբերվող դիմադրությունները. հոսանահաղորդչի դիմադրությունը, որը կազմված է փաթույթների արտանցիչներից և միջանցուկ գամասեղներից, որոնք խարսխի փաթույթը միացնում են ապահովիչների հետ (դրանց առկայության դեպքում), ուղղիչների միացումների դիմադրությունն ապահովիչների հետ, պտտվող կերպափոխիչի ապահովիչների դիմադրությունը: Չափման արդյունքները համեմատվում են շահագործման փաստաթղթերով սահմանված նորմերի հետ: Ստուգվում են ուղղիչների, RC - շղթաների (այսուհետ` հայերեն ՌՑ), վարիստորների և այլնի պրկման ճիգերը` շահագործման նորմերին համապատասխան: Չափվում են պտտվող կերպափոխիչի ուղղիչների հետադարձ հոսանքները ՌՑ-շղթաների (կամ վարիստորների) հետ ամբողջական սխեմայում այն լարման ժամանակ, որը հավասար է տվյալ դասի համար կրկնվողին: Հոսանքները չպետք է գերազանցեն գրգռման համակարգի համար արտադրանքի շահագործման փաստաթղթերում նշված արժեքները:
թ) Դարձված գեներատորի և պտտվող ուղղիչի բնութագրերի որոշումը գեներատորի (բլոկի) եռաֆազ կարճ միակցման ռեժիմում: Չափվում են ստատորի Iստ հոսանքը, գրգռիչի գրգռման Iգ.գ հոսանքը, ռոտորի Uռ լարումը, որոշում են գրգռիչի Uռ=f(Iգ.գ) բնութագրերի համապատասխանությունը շահագործման հրահանգներում նշված բնութագրերին: Ըստ ստատորի չափված հոսանքների և գեներատորի կարճ միակցման շահագործման հրահանգներում նշված բնութագրերի Uստ=f(Uռ)` որոշվում է ռոտորի հոսանքի տվիչների լարքի ճշտությունը: ԴՏՌ-Պ (ДТР-П) տեսակի տվիչի միջոցով չափված ռոտորի հոսանքի (ԱԳՀ-ի ելքում հոսանքի) շեղումը չպետք է գերազանցի ռոտորի հաշվարկային հոսանքի 10%-ը:
ժ) ՏԻՀ, ՏԱՀ, ԱԳՀ համակարգերի տիրիստորային կերպափոխիչների ստուգում: Մեկուսացման դիմադրության չափումը և փորձարկումը, բարձրացված լարմամբ, կատարում են սույն բաժնի N 5 աղյուսակին համապատասխան: Կատարվում են հովացման ջրային համակարգով տիրիստորային կերպափոխիչների հիդրավլիկական փորձարկումներ ջրի բարձրացված ճնշմամբ: Ճնշման մեծությունը և դրա ազդման տևողությունը պետք է համապատասխանեն կերպափոխիչի շահագործման փաստաթղթերին` կերպափոխիչների յուրաքանչյուր տեսակի համար: Կատարում են տիրիստորային կերպափոխիչի մեկուսացման կրկնակի ստուգում` թորած ջրով լցնելուց հետո (սույն բաժնի N 3 աղյուսակ): Ստուգվում է ծակված տիրիստորների, վնասված ՌՑ-շղթաների բացակայությունը: Ստուգումը կատարում են օմաչափի օգնությամբ: Ստուգվում է յուրաքանչյուր ուժային ապահովիչի հալվող ներդիրի զուգահեռ շղթաների ամբողջությունը` հաստատուն հոսանքին ցուցաբերվող դիմադրության չափման միջոցով: Ստուգվում է տիրիստորների կառավարման համակարգի վիճակը, ուղղված լարման կարգավորման ընդգրկույթը` տիրիստորների կառավարման համակարգի վրա ներազդման դեպքում: Ստուգվում է տիրիստորային կերպափոխիչն անվանական ռեժիմում գեներատորի աշխատանքի ժամանակ` ռոտորի անվանական հոսանքով: Ստուգումը կատարում են հետևյալ ծավալով`
կերպափոխիչների բազուկների զուգահեռ ճյուղերի միջև հոսանքների բաշխում` ճյուղերում հոսանքների արժեքների շեղումը ճյուղի հոսանքի միջին թվաբանականից պետք է լինի 10%-ից ոչ ավելի,
հետադարձ լարումների բաշխումը հաջորդաբար միացված տիրիստորների միջև` հաշվի առնելով փոխարկումային գերլարումները. հետադարձ լարման ակնթարթային արժեքի շեղումը ճյուղի տիրիստորի վրա միջինից պետք է լինի ± 20%-ից ոչ ավելի,
հոսանքի բաշխումը զուգահեռ միացված կերպափոխիչների միջև: Հոսանքները կերպափոխիչով անցնող հոսանքի միջին արժեքից ± 10%-ից ավելի չպետք է տարբերվեն,
հոսանքի բաշխումը զուգահեռ միացված տիրիստորային կերպափոխիչի նույնանուն բազուկների ճյուղերում` շեղումը չպետք է լինի համանման բազուկների ճյուղի հոսանքի միջին հաշվարկային արժեքից ± 20 %-ից ավելի:
Աղյուսակ N 5
Գրգռման համակարգի տարրերի մեկուսացման դիմադրությունը եվ փորձարկման լարումները
Փորձարկվող օբյեկտը Մեկուսացման դիմադրության չափումը Արդյունաբերական հաճախականության փորձարկման լարման արժեքը Լրացուցիչ ցուցումներ մեգաօմա-չափի լարումը, Վ մեկուս-չային նվազա-գույն դիմադրու-թյունը, ՄՕմ 1 2 3 4 5 1. Գլխավոր գեներատորի ռոտորի շղթայի տիրիստորային կերպափոխիչ ՏԻՀ, ՏԱՀ գրգռման համակարգում` կերպափոխիչների հոսանատար շղթաներ, տիրիստորների հետ կապված պաշտպանական շղթաներ, կառավարման համակարգի ելքային տրանսֆորմատորների երկրորդային փաթույթներ և այլն, կերպափոխիչներին հարող անջատված բաժանարարները (ՏԻՀ), սեփական կարիքների տրանսֆորմատորների առաջնային փաթույթները (ՏԻՀ): 2500 5 տիրիստորային կերպափոխիչի շահագործման փաստաթղթերով նախատեսված փորձարկման լարման 1,8 մասը, բայց շահագործման փաստաթղթերով նախատեսված ռոտորի փաթույթի արտադրողի փորձարկման լարման 0,8 մասից ոչ պակաս Հենամարմնի և դրան միացված տիրիստորային կերպափոխիչ երկրորդային շղթաների նկատմամբ ՏԿՀ-ի (իմպուլսային տրանսֆորմատորների առաջնային փաթույթների, ուժային ապահովիչների բլոկ հպակները, հոսանքի բաժանարարների տրանսֆորմատորների երկրորդային փաթույթները և այլն), որոնք հարում են սխեմայի ուժային տարրերի տիրիստորային կերպափոխիչին (ՏԻՀ-ում սեփական կարիքների տրանսֆորմատորների երկրորդային փաթույթներին, մի շարք մոդիֆիկացիաների ՏԻՀ-ում բաժանարարների մյուս կողմին): 2. Տիրիստորային կերպափոխիչ ԱԳՀ համակարգի գրգռիչի գրգռման շղթայում` հոսանատար մասերը, տիրիստորները և դրանց հետ կապված շղթաները (ըստ սույն աղյուսակի 1-ին կետի): ՏԱՀ համակարգի ՕՀԳ-ի գրգռման շղթայի տիրիստորային ձևափոխիչը 1000 5 տիրիստորային կերպափոխիչի շահագործման փաստաթղթերով նախատեսված փորձարկման լարման 0,8 մասը, բայց ոչ պակաս դարձված գեներատորի կամ ՕՀԳ գրգռման փաթույթի շահագործման փաստաթղթերով նախատեսված փորձարկման լարման 0,8 մասից Հենամարմնի և դրա հետ կապված տիրիստորային կերպափոխիչի երկրորդային շղթաների նկատմամբ, որոնք կապված չեն ուժային շղթաների հետ (սույն աղյուսակի 1-ին կետ): Փորձարկումների ժամանակ տիրիստորային կերպափոխիչն անջատում են ուժային շղթայից, ըստ մուտքի և ելքի, տիրիստորները (անոդները, կատոդները, կառավարվող էլեկտրոդները) պետք է կարճ միակցվեն, իսկ տիրիստորների կառավարման ՏԿՀ բլոկները դուրս քաշվեն հարակցիչներից։ 3. Ուղղիչային տեղակայանքը` գրգռման ԲՀ համակարգում 1000 5 ուղղիչային տեղակայանքի շահագործման փաստաթղթերով նախատեսված փորձարկման լարման 0,8 մասը, բայց ոչ պակաս ռոտորի փաթույթի շահագործման փաստաթղթերով նախատեսված փորձարկման լարման 0,8 մասից Հենամարմնի նկատմամբ փորձարկումների ժամանակ ուղղիչային տեղակայանքն անջատված է սնման աղբյուրից և ռոտորի փաթույթներից: Սնող հաղորդաձողերը և ելքի հաղորդաձողերը (Ա, Բ, Ս, +, -) միավորված են: 4. Օժանդակ համաժամանակյա գեներատորը (ՕՀԳ)` ՏԱՀ համակարգում` ստատորի փաթույթները 2500 5,0 ՕՀԳ-ի ստատորի փաթույթի շահագործման փաստաթղթերով նախատեսված փորձարկման լարման 0,8 մասը, բայց ոչ պակաս գլխավոր գեներատորի ռոտորի շահագործման փաստաթղթերով նախատեսված փաթույթի հենամարմնի նկատմամբ և փաթույթների միջև գրգռման փաթույթները 1000 5,0 փորձարկման լարման 0,8 մասից դարձված գեներատորի կամ ՕՀԳ գրգռման փաթույթի արտադրողի փորձարկման լարման 0,8 մասը հենամարմնի նկատմամբ 5. Ինդուկտորային գեներատոր` ԲՀ գրգռման համակարգում` աշխատանքային փաթույթներ (երեք ֆազեր) և հաջորդական գրգռման փաթույթ 1000 5,0 փաթույթների շահագործման փաստաթղթերով նախատեսված փորձարկման լարման 0,8 մասը, բայց ոչ պակաս գեներատորի ռոտորի փաթույթի շահագործման փաստաթղթերով նախատեսված փորձարկման լարման 0,8 մասից հենամարմնի և դրան միացված անկախ գրգռման փաթույթների նկատմամբ, փաթույթների միջև անկախ գրգռման փաթույթներ 1000 5,0 փաթույթների շահագործման փաստաթղթերով նախատեսված փորձարկման լարման 0,8 մասը հենամարմնի նկատմամբ և անկախ գրգռման փաթույթների միջև 6. Ենթագրգռիչ ԲՀ` գրգռման համակարգում 1000 5,0 շահագործման փաստաթղթերով նախատեսված փորձարկման լարման 0,8 մասը յուրաքանչյուր ֆազ, հենամարմնի հետ միացված մյուս ֆազերի նկատմամբ 7. Դարձված գեներատոր` ԱԳՀ համակարգում, պտտվող ձևափոխիչների հետ համատեղ` խարսխի փաթույթները պտտվող ձևափոխիչների հետ համատեղ 1000 5,0 խարիսխի փաթույթների արտադրողի փորձարկման լարման 0,8 մասը Հենամարմնի նկատմամբ. գրգռիչն անջատված է գեներատորի ռոտորից, ուղղիչներից, ՌՑ-շղթաները կամ վարիստորները շունտված են (միացված են +, -, փոփոխական հոսանքի գամասեղները) բարձրացված են խոզանակները չափիչ հպակային օղակների վրա Հենամարմնի նկատմամբ։ դարձված գեներատորի գրգռման փաթույթները 1000 5,0 գրգռման փաթույթի շահագործման փաստաթղթերով նախատեսված փորձարկման լարման 0,8 մասը, բայց 1,2 կՎ-ից ոչ պակաս 8. Ուղղիչային տրանսֆորմատոր (ՈՒՏ)` ՏԻՀ համակարգում 2500 5,0 տրանսֆորմատորային փաթույթների շահագործման փաստաթղթերով նախատեսված փորձարկման լարման 0,8 մասը երկրորդային փաթույթները` 1,2 կՎ-ից ոչ պակաս հենամարմնի նկատմամբ և փաթույթների միջև Ուղղիչային տրանսֆորմատոր` ՕՀԳ գրգռման համակարգում (ՏԱՀ) և ԱԳՀ-ում` 9. Հաջորդական տրանսֆորմատորներ` ՏԻՀ համակարգերում 2500 5,0 փաթույթների շահագործման փաստաթղթերով նախատեսված փորձարկման լարման 0,8 մասը հենամարմնի նկատմամբ և փաթույթների միջև 10. Հոսանահաղորդիչներ, որոնք միացնում են սնման աղբյուրները (ՕՀԳ-ը` ՏԻՀ համակարգում, ՈՒՏ և ՀՏ-ը` ՏԱՀ համակարգում) ինդուկտորային գեներատորը` ԲՀ համակարգում տիրիստորային կամ դիոդային կերպափոխիչներով, հաստատուն հոսանքի հոսանահաղորդիչներ` 2500 10 հոսանահաղորդիչների շահագործման փաստաթղթերով նախատեսված փորձարկման լարման 0,8 մասը «Հողի» նկատմամբ ֆազերի միջև միակցված ապարատով 2500 5,0 ռոտորի փաթույթի շահագործման փաստաթղթերով նախատեսված փորձարկման լարման 0,8 մասը «Հողի» նկատմամբ ֆազերի միջև 11. ՏԻՀ, ՏԱՀ, ԲՀ համակարգերի ուժային տարրերը (սնման աղբյուրներ, կերպափոխիչներ և այլն)` միակցված ամբողջ ապարատով, ընդհուպ գրգռման մտցման անջատիչները կամ փոխակերպչի ելքի բաժանիչները (գրգռման համակարգերի սխեմաները` առանց պահուստային գրգռիչների)` առանց ջրային հովացման փոխակերպիչների համակարգեր և ջրային հովացմամբ, երբ հովացման համակարգը ջրով լցված չէ 1000 1,0 1,0 կՎ հենամարմնի նկատմամբ տիրիստորային կերպափոխիչի հովացման համակարգը ջրով լցված լինելու դեպքում (75 կՕմ•սմ տեսակարար դիմադրությամբ) 1000 0,15 1,0 կՎ Կառավարման համակարգի բլոկներն առաջ են քաշված։ 12. Գեներատորի գրգռման ուժային շղթաներն առանց ռոտորի փաթույթի (գրգռման մտցման անջատիչից կամ հաստատուն հոսանքի բաժանիչից հետո, սույն աղյուսակի 11-րդ կետ), ԴՄԱ սարքվածքը, պարպիչը, ուժային ռեզիստորը, հաղորդաձողալարերը և այլն: Շղթաները, որոնք միացված են չափվող օղակներին` ԱԳՀ համակարգում (ռոտորի փաթույթն անջատված է) 1000 0,1 ռոտորի շահագործման փաստաթղթերով նախատեսված փորձարկման լարման 0,8 մասը «Հողի» նկատմամբ
Ջրային հովացմամբ տիրիստորային կերպափոխիչ համակարգում փոր-ձարկման ժամանակ ջուրը բացակայում է։
Փորձարկումների ժամանակ տիրիստորները (անոդները, կատոդները, կառավարվող էլեկտրոդները) պետք է կարճ միակցվեն, իսկ տիրիստորների կառավարման (ՏԿՀ) բլոկները դուրս քաշվեն հարակցիչներից։
Գրգռման փաթույթներն անջատված են սխեմայից։
առաջնային փաթույթ
երկրորդային փաթույթ
2500
2500
5,0
5,0
առանց միակցված ապարատի
ժա) Ուղղիչ դիոդային կայանքի ստուգում` գրգռման ԲՀ համակարգում: Կատարում են գեներատորի անվանական ռեժիմում աշխատելիս` ռոտորի անվանական հոսանքով: Ստուգման ընթացքում որոշվում է`
հոսանքի բաշխումը բազուկների զուգահեռ ճյուղերի միջև` շեղումը միջին արժեքից չպետք է լինի ± 20%-ից ավելի,
հետադարձ լարումների բաշխումն ըստ հաջորդաբար միացված ուղղիչների` շեղումը միջին արժեքից չպետք է լինի ± 20%-ից ավելի:
ժբ) Գրգռման համակարգերի փոխարկման ապարատի, ուժային ռեզիստորների, սեփական կարիքների ապարատի ստուգում: Ստուգումը կատարում են շահագործման փաստաթղթերի և 67-րդ գլխի ցուցումներին համապատասխան:
ժգ) Ուժային ռեզիստորների, դիոդների, ապահովիչների, հաղորդալարերի և կերպափոխիչների այլ տարրերի և պահարանների ջերմաստիճանի չափում, որոնցում դրանք տեղադրված են: Չափումները կատարվում են գրգռման համակարգերը բեռնվածքի տակ միացնելուց հետո: Տարրերի ջերմաստիճանները չպետք է գերազանցեն այն արժեքները, որոնք նշված են շահագործման հրահանգներում: Ստուգման ընթացքում խորհուրդ է տրվում կիրառել ջերմացույցներ, թույլատրվում է նաև հարաչափերի օգտագործումը:
8) Գեներատորի բնութագրերի որոշում
ա) Եռաֆազ ԿՄ: Բնութագիրը հանվում է` ստատորի հոսանքը մինչև անվանական մեծությունը փոփոխելով: Շեղումները` շահագործման փաստաթղթերում նշած բնութագրերից, պետք է գտնվեն չափման սխալանքների սահմաններում:
Չափված բնութագրի ցածրացումը, որը գերազանցում է չափման սխալանքը, վկայում է ռոտորի փաթույթում գալարային միացումների առկայության մասին:
Տրանսֆորմատորի հետ բլոկով աշխատող գեներատորի համար հանվում է ամբողջ բլոկի ԿՄ բնութագիրը (տեղակայելով կարճ միակցիչ տրանսֆորմատորից հետո): Թույլատրվում է տրանսֆորմատորի հետ բլոկի մեջ աշխատող գեներատորի սեփական բնութագիրը չորոշել, եթե կան արտադրող կազմակերպության կողմից ստենդի վրա կատարված համապատասխան փորձարկումների մասին արձանագրությունները:
Առանց թափառքի շարժիչի համաժամանակյա փոխհատուցիչների եռաֆազ ԿՄ բնութագրերի հանումը կատարում են կանգաշարժի գործընթացում, այն դեպքում, երբ բացակայում է արտադրողի կողմից հանված բնութագիրը:
բ) Պարապ ընթացք: Պարապ ընթացքի ժամանակ անվանական հաճախականությամբ լարման բարձրացումը պետք է կատարել` տուրբագեներատորների և համաժամանակյա փոխհատուցիչների անվանական լարման մինչև 130%-ը, հիդրոգեներատորների անվանական լարման մինչև 150%-ը: Թույլատրվում է տուրբա- և հիդրոգեներատորների պարապ ընթացքի բնութագրի հանում` մինչև գրգռման անվանական հոսանքը` գեներատորի պտտման իջեցված հաճախականության ժամանակ, պայմանով, որ լարումը ստատորի փաթույթի վրա չգերազանցի 1,3 անվանականը: Համաժամանակյա փոխհատուցիչներում թույլատրվում է բնութագիրը հանել կանգաշարժի գործընթացում: Տրանսֆորմատորների հետ բլոկի մեջ աշխատող գեներատորներում հանվում է բլոկի պարապ ընթացքի բնութագիրը, ընդ որում, գեներատորը գրգռվում է մինչև 1,15 անվանական լարումը (սահմանափակվում է տրանսֆորմատորով): Բլոկի տրանսֆորմատորից անջատված գեներատորի պարապ ընթացքի սեփական բնութագիրը թույլատրվում է չհանել, եթե կան արտադրողի համապատասխան փորձարկումների մասին արձանագրությունները: Պարապ ընթացքի բնութագրերի շեղումը շահագործման փաստաթղթերով սահմանված բնութագրերից չի նորմավորվում, սակայն պետք է լինի չափման սխալանքի սահմաններում:
9) Միջգալարային մեկուսացման փորձարկում: Փորձարկումը պետք է կատարել գեներատորի անվանական հաճախականությամբ լարման բարձրացմամբ պարապ ընթացքի ժամանակ` մինչև հիդրոգեներատորի ստատորի անվանական լարման 150%-ը, տուրբագեներատորների և համաժամանակյա փոխհատուցիչների անվանական լարման մինչև 130%-ը: Տրանսֆորմատորների հետ բլոկի մեջ աշխատող գեներատորների համար` տես սույն գլխի 8-րդ կետի ցուցումները: Ընդ որում, պետք է ստուգել լարումների համաչափությունն ըստ ֆազերի: Փորձարկման տևողությունն ամենամեծ լարման դեպքում` 5 րոպե:
Խորհուրդ է տրվում միջգալարային մեկուսացման փորձարկումը կատարել պարապ ընթացքի բնութագրի հանման հետ միաժամանակ:
10) Թրթռման չափում: Գեներատորի հանգույցների և դրանց էլեկտրամեքենայական գրգռիչների թրթռումը (թրթռաշեղումների տատանաթափը, տատանումների կրկնապատկված լայնույթը), չպետք է գերազանցի N 6 աղյուսակում նշված արժեքները: Թրթռաարագության վերահսկման ապարատի առկայության դեպքում կատարում են դրա չափումը, թրթռաարագության միջին քառակուսային արժեքը չպետք է գերազանցի 2,8 մմ•վ-1` ըստ ուղղաձիգ և հորիզոնական առանցքների և 4,5 մմ•վ-1 ` ըստ երկայնական առանցքի:
Ռոտորի պտտման 750-1500 պտ/րոպե հաճախականությամբ համաժամանակյա փոխհատուցիչների առանցքակալների թրթռումը չպետք է գերազանցի 80 մկմ-ը` ըստ թրթռաշեղումների տատանաթափերի, կամ 2,2 մմ•վ-1` ըստ թրթռման արագության միջին քառակուսային արժեքի:
11) Հովացման համակարգի ստուգում և փորձարկում: Կատարում են արտադրանքի շահագործման փաստաթղթերին համապատասխան:
12) Յուղամատակարարման համակարգի ստուգում և փորձարկում: Կատարում են արտադրանքի շահագործման փաստաթղթերին համապատասխան:
13) Առանցքակալի մեկուսացման ստուգումը գեներատորի (փոխհատուցիչի) աշխատանքի ժամանակ: Կատարում են լիսեռի ծայրերի միջև լարման չափման միջոցով, ինչպես նաև հիմքային սալի և մեկուսացված առանցքակալի հենամարմնի միջև: Ընդ որում, լարումը հիմքային սալի և առանցքակալի միջև պետք է լինի լիսեռի ծայրերի միջև լարումից ոչ ավելի: Լարումների միջև 10%-ից ավելի տարբերությունը ցույց է տալիս մեկուսացման անսարքությունը:
14) Գեներատորի (փոխհատուցիչի) փորձարկումը բեռնվածքի տակ: Բեռնվածքը որոշվում է ընդունման-հանձնման փորձարկումների ժամանակահատվածում գործնական հնարավորություններով: Ստատորի տաքացումը տվյալ բեռնվածքի դեպքում պետք է համապատասխանի անձնագրային տվյալներին:
15) Կոլեկտորային գրգռիչի բնութագրերի որոշում: Պարապ ընթացքի բնութագիրը որոշվում է մինչև լարման ամենամեծ (առաստաղային) արժեքը կամ շահագործման փաստաթղթերով սահմանված արժեքը:
Բեռնվածքային բնութագրի հանումը կատարում են գեներատորի ռոտորի վրա գեներատորի գրգռման անվանական հոսանքից ոչ ցածր բեռնվածքի դեպքում: Բնութագրերի շեղումը շահագործման հրահանգների տվյալներից պետք է լինի չափումների թույլատրելի սխալանքների սահմաններում:
Աղյուսակ N 6
Գեներատորների եվ դրանց գրգռիչների թրթռման սահմանային արժեքները
Հսկվող հանգույցը Թրթռումը, մկմ, ռոտորի պտտման հաճախականության դեպքում, պտ/րոպե Լրացուցիչ ցուցումներ մինչև 100 100-ից մինչև 187,5 187,5-ից մինչև 375 375-ից մինչև 750 1500 3000 1. Տուրբագեներատորների և գրգռիչների առանցքակալները, ուղղաձիգ կատարման հիդրոգեներատորների խաչակապերը` դրանցում ներկառուցված ուղղորդ առանցքակալներով 180 150 100 70 50 30 Տուրբագեներատորների առանցքակալների, 2. Տուրբագեներատորների ռոտորի հպակային օղակները - - - - - -
դրանց գրգռիչների և հորիզոնական
հիդրոգեներատորների թրթռումը չափվում է առանցքակալների վերին կափարիչի վրա,
ուղղաձիգ ուղղությամբ և հողակցիչի մոտ` առանցքակալային լայնական ուղղություններով:
Ուղղաձիգ հիդրոգեներատորների համար թրթռման տրված արժեքները վերաբերում են հորիզոնական և ուղղաձիգ ուղղություններով
Թրթռումները չափվում են հորիզոնական ուղղաձիգ ուղղություններով։
16) ՏԳՎ շարքի տուրբագեներատորների ստատորի փաթույթի ծայրային արտանցիչների փորձարկումներ: Սույն բաժնի NN 1 և 3 աղյուսակներում նշված փորձարկումներից բացի` կոնդենսատորային ապակեէպօքսիդային մեկուսացմամբ ծայրային արտանցիչները ենթարկվում են փորձարկման` ըստ սույն կետի`
ա) Դիէլեկտրիկական կորուստների անկյան տանգենսի (tgd) չափում: Չափումը կատարում են տուրբագեներատորի վրա ծայրային արտանցիչը տեղակայելուց առաջ` 10 կՎ փորձարկման լարման և շրջապատող օդի 100C-300C ջերմաստիճանի դեպքում: Հավաքված ծայրային արտանցիչի tgd-ի արժեքը չպետք է գերազանցի շահագործման փաստաթղթերով նախատեսված չափումների ժամանակ ստացված արժեքի 130%-ը: Առանց ճենապակե ծածկանների ծայրային արտանցիչի tgd-ն չափելու դեպքում դրա արժեքը չպետք է գերազանցի 3%-ը:
բ) Գազակիպության ստուգում: Շահագործման փաստաթղթերով նախատեսված 0,6 ՄՊա ճնշման տակ փորձարկված ծայրային արտանցիչների փորձարկումը` ըստ գազակիպության, կատարում են 0,5 ՄՊա ճնշման սեղմված օդով: Ծայրային արտանցիչը համարվում է փորձարկմանը դիմացած, եթե 0,3 ՄՊա ճնշման դեպքում ճնշման անկումը չի գերազանցում 1 կՊա/ժ:
17) Գեներատորի մնացորդային լարման չափումը ռոտորի շղթայում դաշտի մարման ավտոմատը (ԴՄԱ) անջատելու դեպքում: Մնացորդային լարման արժեքը չի նորմավորվում:
18) Գեներատորի (փոխհատուցիչի) փորձարկումը բեռնվածքի տակ: Բեռնվածքը որոշվում է ընդունման-հանձնման ժամանակահատվածում գործնական հնարավորություններով: Ստատորի տաքացումը տվյալ բեռնվածքի դեպքում պետք է համապատասխանի արտադրանքի շահագործման փաստաթղթերի տվյալներին:
47. ՀԱՍՏԱՏՈՒՆ ՀՈՍԱՆՔԻ ՄԵՔԵՆԱՆԵՐԸ
Մինչև 200 կՎտ հզորության, մինչև 440 Վ-ից լարման հաստատուն հոսանքի մեքենաները պետք է փորձարկել ըստ սույն գլխի 1-ին, 2-րդ, 8-րդ կետերի և 4-րդ կետի «գ» ենթակետի, մյուսները` լրացուցիչ` ըստ սույն գլխի 3-րդ, 5-րդ կետերի և 4-րդ կետի «ա» ենթակետի:
Համաժամանակյա գեներատորների և փոխհատուցիչների գրգռիչները պետք է փորձարկել ըստ սույն գլխի 3-րդ, 5-րդ կետերի և 4-րդ կետի «ա» ենթակետի:
Չափումը, ըստ սույն գլխի 7-րդ կետի, պետք է կատարել այն մեքենաների համար, որոնք տեղակայման համար տեղ են հասել քանդված վիճակում:
1) Հաստատուն հոսանքի մեքենաներն առանց չորացման միացնելու հնարավորության որոշում: Պետք է կատարել արտադրանքի շահագործման փաստաթղթերին համապատասխան:
2) Մեկուսացման դիմադրության չափում
ա) Փաթույթների մեկուսացման դիմադրություն: Չափումը կատարում են փաթույթների մինչև 0,5 կՎ-ը ներառյալ անվանական լարման դեպքում` 500 Վ լարման մեգաօմաչափի միջոցով, իսկ փաթույթի 0,5 կՎ-ից բարձր անվանական լարման դեպքում` 1 կՎ լարման մեգաօմաչափով:
Մեկուսացման դիմադրության չափված արժեքը պետք է լինի սույն բաժնի N 7 աղյուսակում նշված արժեքներից ոչ պակաս:
բ) Կալանդների մեկուսացման դիմադրություն: Չափումը կատարում են հենամարմնի և կալանդներով պահվող փաթույթների նկատմամբ:
Մեկուսացման դիմադրության չափված արժեքը պետք է լինի 0,5 ՄՕմ-ից ոչ պակաս:
Աղյուսակ N 7
Հաստատուն հոսանքի մեքենաների փաթույթների մեկուսացման դիմադրության ամենափոքր թույլատրելի արժեքները
Փաթույթի Մեկուսացման դիմադրությունը, R"60, ՄՕմ, 230 460 650 750 900 10 2,7 5,3 8,0 9,3 10,8 20 1,85 3,7 5,45 6,3 7,5 30 1,3 2,6 3,8 4,4 5,2 40 0,85 1,75 2,5 2,9 3,5 50 0,6 1,2 1,75 2,0 2,35 60 0,4 0,8 1,15 1,35 1,6 70 0,3 0,5 0,8 0,9 1,0 75 0,22 0,45 0,65 0,75 0,9
ջերմաստիճանը, 0C
մեքենայի անվանական լարման դեպքում, Վ
3) Մեկուսացման փորձարկում` արդյունաբերական հաճախականության բարձրացված լարմամբ: Փորձարկումը կատարում են ըստ սույն բաժնի N 8 աղյուսակում նշված նորմերի: Նորմավորված փորձարկման լարման կիրառման տևողությունը` 1 րոպե: 3 կՎտ-ից փոքր հզորության մեքենաների փաթույթները թույլատրվում է չփորձարկել:
Աղյուսակ N 8
Հաստատուն հոսանքի մեքենաների մեկուսացման փորձարկման արդյունաբերական հաճախականության լարումը
Փորձարկման օբյեկտը Էլեկտրական մեքենայի բնութագիրը Փորձարկման լարումը, կՎ Փաթույթը բոլոր հզորությունների մեքենաները 8Uանվ., բայց 1,2-ից ոչ ցածր Խարսխի կալանդները նույնը 1 Ռեոստատները և թողարկման կարգավորման նույնը 1
և 2,8-ից ոչ բարձր
ռեզիստորները (փորձարկումը կարող է կատարվել
գրգռման շղթաների հետ համատեղ)
(մեկուսացումը կարելի է
փորձարկել գրգռման շղթաների
մեկուսացման հետ համատեղ)
4) Հաստատուն հոսանքին դիմադրության չափում
ա) գրգռման փաթույթների։ Դիմադրության արժեքն արտադրանքի շահագործման փաստաթղթերի տվյալների համեմատ չպետք է լինի 2%-ից ավելի,
բ) խարսխի փաթույթների (հավաքիչ թիթեղների միջև): Դիմադրության արժեքները մեկը մյուսից չպետք է լինի 10%-ից ավելի` բացառությամբ այն դեպքերի, երբ տատանումները պայմանավորված են փաթույթների միացման սխեմայով,
գ) ռեոստատների և գործարկիչ-կարգավորիչ ռեզիստորների: Չափում են ընդհանուր դիմադրությունը, ստուգվում է զոդատումների ամբողջականությունը: Դիմադրությունների արժեքներն արտադրանքի շահագործման փաստաթղթերի տվյալներից չպետք է լինի 10% ավելի:
5) Պարապ ընթացքի բնութագրի հանում և գալարային մեկուսացման փորձարկում: Լարման բարձրացումը պետք է կատարել` հաստատուն հոսանքի գեներատորների համար` մինչև անվանական լարման 130%-ը, գրգռիչների համար` մինչև առավելագույնը (առաստաղայինը) կամ շահագործման փաստաթղթերով սահմանված լարման արժեքը: Չորսից ավելի բևեռներով մեքենաների գալարային մեկուսացման փորձարկման ժամանակ հարևան հավաքիչ թիթեղների միջև միջին լարումը չպետք է լինի 24 Վ-ից ավելի: Գալարային մեկուսացման փորձարկման տևողությունը` 3 րոպե:
Ստացված բնութագրի տվյալների շեղումը շահագործման հրահանգներում նշված բնութագրի արժեքներից պետք է գտնվի չափման սխալանքի սահմաններում:
6) Բեռնվածքային բնութագրի հանում: Գրգռիչների համար պետք է կատարել գեներատորի գրգռման հոսանքի` մինչև անվանականից ոչ ցածր բեռնվածքի դեպքում: Շեղումը շահագործման հրահանգներում նշված բնութագրից չի նորմավորվում:
7) Բևեռների միջև օդային բացակների չափում: Չափումները կատարվում են 200 կՎտ և ավելի հզորության մեքենաների մոտ:
Բացակի չափերը տրամագծորեն հակադիր կետերում մեկը մյուսից պետք է տարբերվեն բացակի միջին չափի 10%-ից ոչ ավելի: 300 ՄՎտ և ավելի տուրբագեներատորների գրգռիչների համար այդ տարբերությունը չպետք է գերազանցի 5%-ը:
8) Փորձարկումը` պարապ ընթացքում և բեռնվածքի տակ: Որոշում են պտտման հաճախականության կամ լարման կարգավորման սահմանը, որը պետք է համապատասխանի շահագործման փաստաթղթերի տվյալներին:
48. ՓՈՓՈԽԱԿԱՆ ՀՈՍԱՆՔԻ ԷԼԵԿՏՐԱՇԱՐԺԻՉՆԵՐԸ
Փոփոխական հոսանքի 1 կՎ-ից ցածր լարման էլեկտրաշարժիչները փորձարկվում են ըստ սույն գլխի 2-րդ, 5-րդ, 6-րդ կետերի և 4-րդ կետի «բ» ենթակետի: Փոփոխական հոսանքի 1 կՎ-ից բարձր լարման էլեկտրաշարժիչները փորձարկում են ըստ 1-6-րդ կետերի:
1) 1 կՎ-ից բարձր լարման էլեկտրաշարժիչներն առանց չորացման միացնելու հնարավորության որոշում: Փոփոխական հոսանքի էլեկտրաշարժիչները միացնում են առանց չորացման, եթե մեկուսացման դիմադրության արժեքը և կլանման գործակիցը սույն բաժնի N 9 աղյուսակում նշված արժեքներից ցածր չեն:
Աղյուսակ N 9
Էլեկտրաշարժիչների ստատորի փաթույթների մեկուսացման դիմադրության եվ կլանման R'60/R'15 գործակցի թույլատրելի արժեքները
Էլեկտրաշարժիչի հզորությունը, անվանական լարումը, փաթույթների մեկուսացման տեսակը Ստատորի փաթույթի մեկուսացման վիճակի գնահատման չափանիշները Մեկուսացման Կլանման R"60/R"15 գործակցի արժեքը 1. Հզորությունը` 5 ՄՎտ-ից ավելի, ջերմառեակտիվ և փայլարաժապավենային մեկուսախառնուրդային մեկուսացումը 100C-300C ջերմաստիճանում մեկուսացման դիմադրությունը 10 ՄՕմ ոչ ցածր` յուրաքանչյուր 1 կՎ անվանական գծային լարման համար 1,3-ից ոչ պակաս 100C-300C ջերմաստիճանի դեպքում 2. Հզորությունը` 5 ՄՎտ և ցածր, լարումը` 1 կՎտ-ից բարձր, ջերմառեակտիվ մեկուսացումը 3. Փայլարաժապավենային մեկուսախառնուրդային մեկուսացմամբ շարժիչները, լարումը` N 10 աղյուսակում նշված արժեքներից ոչ ցածր 1,2-ից ոչ պակաս 4. Փայլարաժապավենային մեկուսախառնուրդային մեկուսացմամբ շարժիչներ, լարումը` N 10 աղյուսակում նշված արժեքներից ոչ ցածր - 0,2 արտադրանքի շահագործման
դիմադրության արժեքը,
ՄՕմ
1 կՎ-ից բարձր, հզորությունը` 1-ից մինչև
5 ՄՎտ ներառյալ, ինչպես նաև արտաքին տեղակայման ավելի փոքր հզորության շարժիչները, նույնպիսի մեկուսացմամբ,
1 կՎ-ից բարձր լարմամբ
1 կՎ-ից բարձր, 1 ՄՎտ-ից ավելի հզորության` բացառությամբ սույն աղյուսակի 3-րդ կետում նշվածներից
5. Լարումը` 1 կՎ-ից բարձր, մեկուսացման բոլոր տեսակները
1,0 ՄՕմ-ից ոչ պակաս 100C-300C ջերմաստիճանի դեպքում
-
6. Ռոտորի փաթույթը
-
7. Ջերմացուցասարքեր միացնող հաղորդալարերով, առանցքակալները
հրահանգներին համապատասխան
2) Մեկուսացման դիմադրության չափում: 1 կՎ-ից բարձր լարման էլեկտրաշարժիչների մեկուսացման դիմադրության թույլատրելի արժեքները պետք է համապատասխանեն սույն բաժնի N 10 աղյուսակում նշված նորմերին:
3 կՎ և բարձր լարման կամ 1 ՄՎտ-ից ավելի հզորության համաժամանակյա շարժիչների և ֆազային ռոտորով շարժիչների մոտ կատարում են ռոտորի մեկուսացման դիմադրության չափում` 1 կՎ լարման մեգաօմաչափով: Դիմադրության չափված արժեքը պետք է լինի 0,2 ՄՕմ-ից ոչ ցածր:
Աղյուսակ N 10
Մեկուսացման դիմադրության նվազագույն թույլատրելի արժեքները էլեկտրաշարժիչների համար
(N 9 աղյուսակի 3-րդ և 4-րդ կետերի համար)
|
Փաթույթի |
Մեկուսացման դիմադրությունը, R"60 ՄՕմ, | ||
|
3-3,15 |
6-6,3 |
10-10,5 | |
|
10 |
30 |
60 |
100 |
|
20 |
20 |
40 |
70 |
|
30 |
15 |
30 |
50 |
|
40 |
10 |
20 |
35 |
|
50 |
7 |
15 |
25 |
|
60 |
5 |
10 |
17 |
|
75 |
3 |
6 |
10 |
3) Փորձարկում արդյունաբերական հաճախականության բարձրացված լարմամբ: Կատարում են լրիվ հավաքված շարժիչի վրա: Ստատորի փաթույթի փորձարկումը կատարում են յուրաքանչյուր ֆազի համար առանձին, հենամարմնի նկատմամբ` մյուս երկուսի հենամարմնին միացված դեպքում: Այն շարժիչների մոտ, որոնք յուրաքանչյուր ֆազի առանձին արտանցիչներ չունեն, թույլատրվում է ամբողջ փաթույթի փորձարկում` հենամարմնի նկատմամբ:
Փորձարկման լարումների արժեքները տրված են սույն բաժնի N 11 աղյուսակում: Փորձարկման լարման կիրառման տևողությունը` 1 րոպե:
4) Հաստատուն հոսանքին ցուցաբերած դիմադրության չափում: Կատարում են մեքենայի գործնականորեն սառը վիճակում:
ա) Ստատորի և ռոտորի փաթույթներ: Ռոտորի փաթույթի` համապատասխան հոսանքին ցուցաբերած դիմադրությունը չափվում է համաժամանակյա էլեկտրաշարժիչների և ֆազային ռոտորով ոչ համաժամանակյա էլեկտրաշարժիչների մոտ:
Չափումը կատարվում է 3 կՎ և բարձր լարման էլեկտրաշարժիչներում: Փաթույթների տարբեր ֆազերի չափված դիմադրություննների միևնույն ջերմաստիճանին տրված արժեքները, ինչպես նաև համաժամանակյա շարժիչների գրգռման փաթույթների դիմադրությունները միմյանցից և ելակետային տվյալներից չպետք է լինեն 2%-ից ավելի:
բ) Ռեոստատներ և գործարկակարգավորիչ ռեզիստորներ: Ռեոստատների գործարկման ռեզիստորների համար, որոնք տեղակայված են 3 կՎ և բարձր էլեկտրաշարժիչների վրա, դիմադրությունը չափվում է բոլոր ճյուղավորումների վրա: Մինչև 3 կՎ լարման էլեկտրաշարժիչների համար չափում են ռեոստատների և գործարկման ռեզիստորների ընդհանուր դիմադրությունը և ստուգում են բոլոր զոդատումների ամբողջականությունը:
Դիմադրության արժեքները ելակետային արժեքներից չպետք է լինի 10%-ից ավելի:
5) Էլեկտրաշարժիչի աշխատանքի ստուգում պարապ ընթացքում կամ չբեռնավորված մեխանիզմով: Ստուգման տևողությունը` 1 ժ-ից ոչ պակաս:
6) Էլեկտրաշարժիչի աշխատանքի ստուգում բեռնվածության տակ: Կատարում են շահագործման հանձնելու պահին տեխնոլոգիական սարքավորմամբ ապահովված բեռնվածքի տակ: Ընդ որում, պտտման կարգավորվող հաճախականությամբ շարժիչների համար որոշում են կարգավորման սահմանները: Ստուգում են շարժիչի ջերմային և թրթռման վիճակները:
Աղյուսակ N 11
Արդյունաբերական հաճախականության փորձարկման լարումները փոփոխական հոսանքի շարժիչների փաթույթների համար
Փորձարկվող Էլեկտրաշարժչի հզորությունը, Էլեկտրաշարժչի անվանական լարումը (Uանվ.), կՎ Փորձարկման 1 2 3 4 1. Ստատորի փաթույթը 0,1-ից պակաս 1,0-ից մինչև 1000 0,1-ից ցածր 0,8 (2Uան+0,5) 0,1-ից ցածր 0,8 (2Uան+1) 0,1-ից բարձր 0,8 (2Uան+1), սկսած 1000-ից և ավելի Մինչև 3,3 ներառյալ 0,8 (2Uան+1) սկսած 1000-ից և ավելի 3,3-ից բարձր մինչև 6,6 ներառյալ 0,8•2,5Uան սկսած 1000-ից և ավելի 6,6-ից բարձր 0,8 (2Uան+3) 2. Ռոտորի փաթույթը համաժամանակյա - - Գրգռման համակարգի 3. Ֆազային ռոտորով էլեկտրաշարժիչի ռոտորի փաթույթ - - 1,5 Uռ, բայց 4. Համաժամանակյա շարժիչների դաշտի մարման շղթայի ռեզիստոր - - 2,0 5. Ռեոստատներ և գործարկակարգավորիչ ռեզիստորներ - - 1,5 Uռ, բայց Uռ - լարումն օղակների վրա, անջատված անշարժ ռոտորի և ստատորի վրա` անվանական լարման դեպքում:
տարրը
կՎտ
լարումը
կՎ
բայց 1,2-ից
ոչ պակաս
շարժիչների, որոնք նախատեսված են
անմիջական գործարկման համար,
ռեզիստորի կամ սնման աղբյուրի վրա փակված գրգռման փաթույթով
Uան-ի ութապատիկը,
բայց 1,2-ից ոչ պակաս
և 2,8-ից ոչ ավելի
1,0-ից ոչ
պակաս
1,0-ից ոչ
պակաս
49. ՈՒԺԱՅԻՆ ՏՐԱՆՍՖՈՐՄԱՏՈՐՆԵՐ, ԱՎՏՈՏՐԱՆՍՖՈՐՄԱՏՈՐՆԵՐ, ՅՈՒՂԱՅԻՆ ՌԵԱԿՏՈՐՆԵՐ ԵՎ ՀՈՂԱԿՑՈՂ ԱՂԵՂՄԱՐԻՉ ՌԵԱԿՏՈՐՆԵՐ (ԱՂԵՂՄԱՐԻՉ ԿՈՃԵՐ)
Մինչև 630 կՎԱ հզորության յուղալեցուն տրանսֆորմատորները փորձարկում են ըստ սույն գլխի 1-2-րդ կետերի (միայն մեկուսացման դիմադրությունը) և սույն գլխի 11-14-րդ կետերի:
Մինչև 1,6 ՄՎԱ հզորության յուղալեցուն տրանսֆորմատորները փորձարկում են ըստ սույն գլխի 1, 2, 4, 11-14-րդ կետերի:
1,6 ՄՎԱ և ավելի հզորության յուղալեցուն տրանսֆորմատորները, ինչպես նաև էլեկտրակայանների սեփական կարիքների տրանսֆորմատորները, անկախ հզորությունից, փորձարկում են սույն գլխով նախատեսված ամբողջ ծավալով:
Չոր և չայրվող հեղուկ դիէլեկտրիկով լցված բոլոր հզորությունների տրանսֆորմատորները փորձարկում են ըստ սույն գլխի 1-7, 12, 14-րդ կետերի:
1) Տրանսֆորմատորների միացման պայմանների որոշում: Պետք է կատարել արտադրանքի շահագործման փաստաթղթերին համապատասխան:
2) Մեկուսացման բնութագրերի չափում: Մինչև 35 կՎ ներառյալ լարման մինչև 1 ՄՎԱ հզորության տրանսֆորմատորների և աղեղմարիչ ռեակտորների համար փաթույթների մեկուսացման դիմադրությունը պետք է լինի հետևյալ արժեքներից ոչ ցածր.
|
Tփաթ, 0C |
10 |
20 |
30 |
40 |
50 |
60 |
70 |
|
R"60, ՄՕմ |
450 |
300 |
200 |
130 |
90 |
60 |
40 |
Չոր տրանսֆորմատորների մեկուսացման դիմադրությունը 200C-300C ջերմաստիճանի դեպքում հետևյալ անվանական լարմամբ փաթույթների համար պետք է լինի`
1 կՎ-ից ցածր ներառյալ - 100 ՄՕմ-ից ոչ պակաս,
1 կՎ-ից մինչև 6 կՎ - 300 ՄՕմ-ից ոչ պակաս,
6 կՎ-ից ավելի - 500 ՄՕմ-ից ոչ պակաս:
Մնացած տրանսֆորմատորների համար շահագործող փաստաթղթերում տրված չափումների ջերմաստիճանին տրված մեկուսացման դիմադրությունը պետք է կազմի ելակետային արժեքի 50%-ից ոչ պակաս:
Դիէլեկտրիկական կորուստների անկյան տանգենսի (tgd) արժեքները, բերված շահագործման փաստաթղթերում տրված չափումների ջերմաստիճանին, ելակետային արժեքներից վատացման ուղղությամբ, չպետք է լինեն 50%-ից ավելի:
Մեկուսացման դիմադրության և tgd-ի չափումները պետք է կատարվեն փաթույթների հետևյալ ջերմաստիճաններից ոչ ցածրի դեպքում`
100C - մինչև 150 կՎ լարման տրանսֆորմատորների մոտ,
200C - 220-750 կՎ լարման տրանսֆորմատորների մոտ:
Մինչև 1600 կՎԱ հզորության տրանսֆորմատորների tgd-ի չափումը պարտադիր չէ:
Մատչելի ձգիչ գամասեղների, կալանդների, կցարկների կիսակալանդների և մամլող օղակների ակտիվ պողպատի նկատմամբ մեկուսացման դիմադրության չափումը և էլեկտրական էկրաններինը` փաթույթների և մագնիսալարի նկատմամբ, կատարում են ակտիվ մասի զննման ժամանակ:
Չափված արժեքները պետք է լինեն 2 ՄՕմ-ից ոչ պակաս, իսկ կցարկային հեծանների մեկուսացմանը` 0,5 ՄՕմ-ից ոչ պակաս: Չափումները կատարում են 1 կՎ լարման մեգաօմաչափով:
3) Փորձարկում` արդյունաբերական հաճախականության բարձրացված լարմամբ
ա) փաթույթների մեկուսացումը ներանցիչների հետ միասին: Փորձարկման լարումները տրված են սույն բաժնի N 12 աղյուսակում: Նորմավորված փորձարկման լարման կիրառման տևողությունը` 1 րոպե:
Աղյուսակ N 12
Բնականոն մեկուսացմամբ յուղալեցուն ուժային տրանսֆորմատորների եվ ռեակտորների ներքին մեկուսացման եվ թեթեվացված մեկուսացմամբ
(չոր և յուղալեցուն) տրանսֆորմատորների արդյունաբերական հաճախականության փորձարկման լարումը
|
Փաթույթի լարման դասը, |
Փորձարկման լարումը հենամարմնի և մյուս | |
|
բնականոն |
թեթևացված | |
|
0,05-ից մինչև 1 |
4,5 |
2,7 |
|
3 |
16,2 |
9 |
|
6 |
22,5 |
15,4 |
|
10 |
31,5 |
21,6 |
|
15 |
40,5 |
33,5 |
|
20 |
49,5 |
- |
|
35 |
76,5 |
- |
Յուղալեցուն տրանսֆորմատորների փաթույթների փորձարկումը արդյունաբերական հաճախականության բարձրացված լարմամբ պարտադիր չէ:
Չոր տրանսֆորմատորների փաթույթների մեկուսացման փորձարկումն արդյունաբերական հաճախականության բարձրացված լարմամբ պարտադիր է և կատարում են ըստ սույն բաժնի 12-րդ աղյուսակի նորմերի` թեթևացրած մեկուսացմամբ ապարատների համար:
Ներմուծված տրանսֆորմատորները թույլատրվում է փորձարկել սույն բաժնի 12-րդ աղյուսակում տրված լարմամբ միայն այն դեպքերում, եթե դրանք չեն գերազանցում այն լարումը, որով տվյալ տրանսֆորմատորը փորձարկված է արտադրող կազմակերպությունում:
Մինչև 35 կՎ լարման հողակցող ռեակտորների փորձարկման լարումը համանման է համապատասխան դասի տրանսֆորմատորների համար տրվածներին,
բ) մատչելի ձգիչ գամասեղների, մամլող օղակների և կցարկային հեծանների մեկուսացումը: Փորձարկումը պետք է կատարել ակտիվ մասի զննման դեպքում: Փորձարկման լարումը` 1 կՎ: Նորմավորված փորձարկման լարման կիրառման տևողությունը` 1 րոպե:
4) Հաստատուն հոսանքին փաթույթների ցուցաբերած դիմադրության չափում: Կատարում են բոլոր ճյուղավորումների վրա: Դիմադրությունը պետք է լինի 2%-ից ոչ ավելի այն դիմադրությունից, որը ստացվել է մյուս ֆազերի նույնպիսի ճյուղավորման վրա, կամ արտադրանքի շահագործման փաստաթղթերի տվյալներից:
Միաֆազ տրանսֆորմատորների փաթույթների դիմադրության արժեքը ջերմաստիճանային վերահաշվարկից հետո ելակետային արժեքներից չպետք է լինի 5 %-ից ավելի:
5) Տրանսֆորմացիայի գործակցի ստուգում: Կատարում են փոխարկման բոլոր աստիճանների վրա: Տրանսֆորմացիայի գործակիցը պետք է լինի 2%-ից ոչ ավելի` մյուս ֆազերի նույն ճյուղավորման վրա ստացված արժեքներից կամ արտադրանքի շահագործման փաստաթղթերի տվյալներից:
ԲՏԿ (բեռի տակ կարգավորվող) տրանսֆորմատորների համար տարբերությունը տրանսֆորմացիայի գործակիցների միջև չպետք է գերազանցի կարգավորման աստիճանի արժեքը:
6) Եռաֆազ տրանսֆորմատորների միացման խմբի և միաֆազ տրանսֆորմատորների արտանցիչների բևեռականության ստուգում: Կատարում են, եթե բացակայում են տեխնիկական անձնագրային տվյալները կամ կասկածներ կան այդ տվյալների արժանահավատության մասին:
Միացումների խումբը պետք է համապատասխանի անձնագրային տվյալներին և վահանակի վրայի նշանակումներին:
7) Պարապ ընթացքի կորուստների չափում
ա) Չափումները կատարում են 1000 կՎԱ լարմամբ և ավելի հզորության տրանսֆորմատորների վրա` լարում մատուցելով ամենացածր լարման փաթույթներին և հավասար շահագործման արձանագրության (անձնագրի) մեջ նշվածին, բայց 380 կՎ-ից ոչ ավելի: Եռաֆազ տրանսֆորմատորներում պարապ ընթացքի կորուստները չափվում են միաֆազ գրգռման դեպքում` ըստ արտադրող կազմակերպության կիրառած սխեմաների:
Եռաֆազ տրանսֆորմատորների մոտ, շահագործման մեջ մտցնելիս, տարբեր ֆազերի վրա կորուստների հարաբերակցությունը չպետք է լինի այն հարաբերակցություններից, որոնք տրված են շահագործման փաստաթղթերով փորձարկումների արձանագրության (անձնագրի) մեջ, 5%-ից ավելի:
Միաֆազ տրանսֆորմատորների մոտ, շահագործման մեջ մտցնելիս, կորուստների չափված արժեքների տարբերությունը ելակետայիններից չպետք է գերազանցի 10%-ը:
բ) Տրանսֆորմատորի կարճ միակցման դիմադրության (Zկ) չափում: Չափումը կատարում են 125 ՄՎԱ և ավելի տրանսֆորմատորների վրա:
Բեռնվածքի տակ լարման կարգավորման սարքվածքով տրանսֆորմատորների համար Zկ-ն չափվում է հիմնական և եզրային երկու ճյուղավորումների վրա:
Zկ-ի արժեքները 5%-ից ավելի չպետք է գերազանցեն այն արժեքը, որը որոշված է տրանսֆորմատորի հիմնական ճյուղավորման վրա ԿՄ լարման (Uկ) հիման վրա:
8) Փոխարկման սարքվածքի աշխատանքի ստուգում: Կատարում են շահագործման հրահանգներին համապատասխան:
9) Հովացուցիչներով բաքի փորձարկում: Փորձարկումների ենթարկում են բոլոր տրանսֆորմատորները, բացի հերմետիկացվածներից և ընդարձակիչ չունեցողներից: Փորձարկումը կատարվում է`
մինչև 35 կՎ ներառյալ տրանսֆորմատորների մոտ` յուղի սյան ջրաբաշխական ճնշմամբ, որի բարձրությունը լրալցված ընդարձակչի մակարդակից կազմում է 0,6 մ, բացառությամբ ալիքավոր բաքերով և թիթեղավոր հովացուցիչներով տրանսֆորմատորների, որոնց համար յուղի սյան բարձրությունն ընդունվում է 0,3 մ,
յուղի պատյանային պաշտպանությամբ տրանսֆորմատորների մոտ` ճկուն պատյանի մեջ օդի 10 կՊա հավելյալ ճնշում ստեղծելով,
մնացած տրանսֆորմատորների մոտ ընդարձակչի վերյուղային տարածության մեջ ազոտի կամ չոր օդի 10 կՊա հավելյալ ճնշում ստեղծելով:
Փորձարկման տևողությունը բոլոր դեպքերում` 3 ժամից ոչ պակաս: Մինչև 150 կՎ ներառյալ լարմամբ տրանսֆորմատորների փորձարկումների ժամանակ, յուղի ջերմաստիճանը բաքի մեջ պետք է լինի 100C-ից ոչ ցածր, մնացած դեպքերում` 200C-ից ոչ ցածր:
Տրանսֆորմատորը համարվում է յուղակիպ, եթե փորձարկումներից հետո զննման ժամանակ յուղի հոսք չի հայտնաբերվել:
10) Հովացնող սարքվածքների ստուգում: Հովացնող սարքվածքների գործարկման և աշխատանքային ռեժիմը պետք է համապատասխանի արտադրանքի շահագործման փաստաթղթերին:
11) Յուղի պաշտպանության միջոցների ստուգում: Կատարում են շահագործման հրահանգներին համապատասխան:
12) Տրանսֆորմատորների ֆազավորում: Պետք է տեղի ունենա համընկնում` ըստ ֆազերի:
13) Տրանսֆորմատորային յուղի փորձարկում: Պետք է փորձարկվի թարմ յուղը` առանց յուղի ստացված տրանսֆորմատորի մեջ լցնելուց առաջ` ըստ սույն բաժնի 33-րդ աղյուսակի ցուցանիշների:
Մինչև 35 կՎ լարմամբ տրանսֆորմատորների համար հանձնարարվում է յուղը փորձարկել ըստ սույն բաժնի 33-րդ աղյուսակի 1-7-րդ կետերի ցուցանիշների, թույլատրվում է փորձարկումներ չկատարել ըստ սույն բաժնի 33-րդ աղյուսակի 3, 6 և 7-րդ կետերի:
110 կՎ և բարձր լարմամբ տրանսֆորմատորների համար յուղը փորձարկվում է` ըստ սույն բաժնի 33-րդ աղյուսակի 1-7-րդ կետերի, իսկ յուղի պատյանային պաշտպանությամբ տրանսֆորմատորների մոտ` լրացուցիչ ըստ 10-րդ կետի:
ԲՏԿ-ով տրանսֆորմատորների մոտ բեռնվածքի տակ լարման կարգավորման հպարկիչի բաքից յուղը փորձարկում են ԲՏԿ-ի արտադրանքի շահագործման փաստաթղթերին համապատասխան:
Հերմետիկացված տրանսֆորմատորներից յուղի նմուշառում չի կատարվում:
110 կՎ և բարձր լարմամբ տրանսֆորմատորների, ինչպես նաև սեփական կարիքների բլոկային տրանսֆորմատորների համար կարելի է կատարել յուղի մեջ լուծված գազերի քրոմատոգրաֆային վերլուծություն:
Տեղակայման վայր տրված` յուղով լցված տրանսֆորմատորների յուղը, եթե առկա են նորմերին բավարարող ցուցանիշներ, ստացված տրանսֆորմատորը աշխատանքի մեջ մտնելուց 6 ամսից ոչ ավելի առաջ կատարված արտադրողի փորձարկումների վերաբերյալ արձանագրություն, թույլատրվում է փորձարկել միայն ըստ սույն բաժնի 33-րդ աղյուսակի 1-ին և 2-րդ կետերի ցուցանիշների:
Մինչև 630 կՎԱ հզորության տրանսֆորմատորների մոտ յուղի ստուգումը թույլատրվում է կատարել միայն ըստ սույն բաժնի 33-րդ աղյուսակի 1-ին և 2-րդ կետերի (ակնադիտական):
14) Փորձարկում` հրմամբ անվանական լարմանը միացնելով: Անվանական լարման տակ տրանսֆորմատորը 3-5-ապատիկ միացման գործընթացում չպետք է տեղի ունենան այնպիսի երևույթներ, որոնք ցույց են տալիս տրանսֆորմատորի անբավարար վիճակը:
Տրանսֆորմատորները, որոնք տեղակայվել են գեներատորի հետ բլոկի սխեմայով, կարելի է միացնել` լարումը զրոյից բարձրացնելով:
15) Ներանցիչների փորձարկում: Պետք է կատարել համաձայն 65-րդ գլխում տրված կարգի:
16) Ներսարքված հոսանքի տրանսֆորմատորների փորձարկում: Պետք է կատարել համաձայն 66-րդ գլխի:
50. ՀՈՍԱՆՔԻ ՉԱՓԻՉ ՏՐԱՆՍՖՈՐՄԱՏՈՐՆԵՐ
1) Մեկուսացման դիմադրության չափում: Հոսանքի տրանսֆորմատորների հիմնական մեկուսացման, չափիչ կոնդենսատորի և թղթե-յուղային կոնդենսատորային տեսակի մեկուսացման վերջին շրջադիրի արտանցիչի մեկուսացման դիմադրության չափումը կատարում են 2500 Վ լարման մեգաօմաչափով:
Երկրորդային փաթույթների և սանդղավոր հոսանքի տրանսֆորմատորների միջանկյալ փաթույթների դիմադրության չափումը պատվանդանի նկատմամբ, կատարում են 1 կՎ-անոց մեգաօմաչափով:
Մեկուսացման դիմադրության չափված արժեքները պետք է լինեն սույն բաժնի N 13 աղյուսակում տրվածներից ոչ պակաս: Երկրորդային փաթույթների մեկուսացման թույլատրելի դիմադրությունները տրված են առանց փակագծերի` անջատված երկրորդային շղթաների դեպքում, փակագծերում` միացված երկրորդային շղթաների դեպքում:
Աղյուսակ N 13
Հոսանքի սանդղավոր տրանսֆորմատորների մեկուսացման դիմադրությունը
Լարման դասը Մեկուսացման թույլատրելի դիմադրությունները, ՄՕմ, ոչ պակաս հիմնական չափիչ արտաքին երկրորդային միջանկյալ 3-35 1000 - - 50(1) - 110-220 3000 - - 50(1) - 330-750 5000 3000 1000 50(1) 1
կՎ
մեկուսացում
արտանցիչ
շերտեր
փաթույթներ
փաթույթներ
Սանդղավոր հոսանքի տրանսֆորմատորների մոտ մեկուսացման դիմադրությունը չափում են ամբողջական հոսանքի տրանսֆորմատորի համար: Այդպիսի չափումների անբավարար արդյունքների դեպքում, մեկուսացման դիմադրությունը չափում են ըստ աստիճանների:
2) Մեկուսացման tgd-ի չափում: Թղթե-յուղային հիմնական մեկուսացմամբ հոսանքի տրանսֆորմատորների tgd-ի չափումը կատարում են 10 կՎ լարման դեպքում:
Չափված արժեքները, բերված 200C ջերմաստիճանի, պետք է լինեն սույն բաժնի N 14 աղյուսակում տրվածներից ոչ ավելի:
Աղյուսակ N 14
Հոսանքի տրանսֆորմատորների հիմնական մեկուսացման tgd-ի արժեքները
Մեկուսացման Անվանական լարման հոսանքի տրանսֆորմատորների 3-15 20-35 110 220 330 Թղթե-բակելիտային 3,0 2,5 2,0 - - Հիմնական թղթե-յուղային կոնդենսատորային - 2,5 2,0 1,0 շահագործման փաստաթղթերում
տեսակը
մեկուսացման tgd-ի սահմանային արժեքները, %
տրված չափված արժեքի 150%-ից
ոչ ավելի, բայց 0,8 արժեքից ոչ
բարձր
Սանդղավոր հոսանքի տրանսֆորմատորների մոտ հիմնական մեկուսացման tgd-ն չափում են ամբողջական հոսանքի տրանսֆորմատորի համար: Այդպիսի չափումների tgd-ի բավարար արդյունքների դեպքում լրացուցիչ կատարում են չափում` ըստ աստիճանների:
3) Փորձարկում 50 Հց արդյունաբերական հաճախականության բարձրացված լարմամբ:
ա) Հիմնական մեկուսացման փորձարկումը` բարձրացված լարմամբ:
Հիմնական մեկուսացման փորձարկման լարման արժեքները տրված են սույն բաժնի 16-րդ աղյուսակում: Հոսանքի տրանսֆորմատորների փորձարկման տևողությունը` 1 րոպե:
Թույլատրվում է հոսանքի տրանսֆորմատորների փորձարկումները կատարել հաղորդաձողավորման հետ համատեղ: 35 կՎ-ից բարձր լարման հոսանքի տրանսֆորմատորները` բարձրացված լարմամբ, փորձարկման չեն ենթարկվում:
բ) Երկրորդային փաթույթների մեկուսացման փորձարկումը` բարձրացված լարմամբ: Փորձարկման լարման արժեքը երկրորդային փաթույթների մեկուսացման համար դրանց միացված շղթաների հետ համատեղ, ընդունվում է 1 կՎ-ին հավասար:
Փորձարկման լարման կիրառման տևողությունը` 1 րոպե:
4) Մագնիսացման բնութագրի հանում: Բնութագիրը հանվում է բարձրացված լարմամբ, բայց 1800 Վ-ից ոչ բարձր, երկրորդային փաթույթներից մեկի վրա, մինչև հագեցման սկիզբը:
Փաթույթների մի քանի ճյուղավորումների առկայության դեպքում բնութագիրը հանվում է աշխատանքային ճյուղավորման վրա:
Հանված բնութագիրը համեմատվում է մագնիսացման տիպային բնութագրի հետ կամ ստուգվողների հետ նույնատիպ սարքին հոսանքի տրանսֆորմատորների մագնիսացման բնութագրերի հետ:
Շահագործման փաստաթղթերում կամ ստուգվողի հետ նույնատիպ սարքին հոսանքի տրանսֆորմատորի վրա չափված արժեքներից տարբերությունները չպետք է գերազանցեն 10%-ը:
Թույլատրվում է միայն երեք ստուգիչ կետերի հանում:
5) Տրանսֆորմացիայի գործակցի չափում: Չափված գործակցի շեղումը տեխնիկական անձնագրում նշվածից կամ նույն տեսակի հոսանքի սարքին տրանսֆորմատորի վրա չափվածից չպետք է գերազանցի 2%-ը:
6) Երկրորդային փաթույթների` հաստատուն հոսանքին ցուցաբերած դիմադրության չափում: Չափումը կատարում են 110 կՎ և բարձր լարման հոսանքի տրանսֆորմատորների մոտ:
Փաթույթի` հաստատուն հոսանքին ցուցաբերած չափված դիմադրության շեղումն անձնագրային արժեքից կամ մյուս ֆազերի վրա չափվածից, չպետք է գերազանցի 2%-ը: Չափված արժեքը անձնագրային տվյալների հետ համեմատելիս պետք է բերվի շահագործման փաստաթղթերով սահմանած ջերմաստիճանին: Մյուս ֆազերի հետ համեմատելիս չափումները բոլոր ֆազերի վրա պետք է կատարվեն միևնույն ջերմաստիճանում:
7) Տրանսֆորմատորային յուղի փորձարկումներ: Հոսանքի տրանսֆորմատորները շահագործման մեջ մտցնելիս տրանսֆորմատորային յուղը պետք է փորձարկվի սույն բաժնի 33-րդ աղյուսակի 1-6-րդ կետերի պահանջներին համապատասխան, իսկ հերմետիկների մոտ` նաև ըստ 10-րդ կետի:
Յուղալեցուն կասկադավոր հոսանքի տրանսֆորմատորներում տրանսֆորմատորային յուղի վիճակի գնահատումը յուրաքանչյուր աստիճանի համար կատարում են ըստ աստիճանի, աշխատանքային լարմանը համապատասխանող նորմերի:
8) Ներսարքված հոսանքի տրանսֆորմատորների փորձարկում: Կատարում են ըստ սույն գլխի 1, 2-6-րդ կետերի և 3-րդ կետի «բ» ենթակետի: Ներսարքված հոսանքի տրանսֆորմատորների մեկուսացման դիմադրության չափումը կատարում են 1 կՎ լարման մեգաօմաչափով:
Մեկուսացման չափված դիմադրությունը, առանց երկրորդային շղթաների, պետք է լինի 10 ՄՕմ-ից ոչ պակաս:
Թույլատրվում է ներսարքված հոսանքի տրանսֆորմատորների մեկուսացման դիմադրության չափումը երկրորդային շղթաների հետ միասին: Մեկուսացման չափված դիմադրությունը պետք է լինի 1 ՄՕմ-ից ոչ պակաս:
51. ԼԱՐՄԱՆ ՉԱՓԻՉ ՏՐԱՆՍՖՈՐՄԱՏՈՐՆԵՐ
1) Լարման էլեկտրամագնիսական տրանսֆորմատորներ
ա) Փաթույթների մեկուսացման դիմադրության չափում: Լարման տրանսֆորմատորների ԲԼ փաթույթի մեկուսացման դիմադրության չափումը կատարում են 2500 Վ լարման մեգաօմաչափով:
Երկրորդային փաթույթների մեկուսացման դիմադրության, ինչպես նաև լարման կասկադավոր տրանսֆորմատորների կապող փաթույթների մեկուսացման դիմադրության չափումները կատարում են 1 կՎ լարման մեգաօմաչափով:
Մեկուսացման դիմադրության չափված արժեքները պետք է լինեն սույն բաժնի 15-րդ աղյուսակում տրված նորմերից ոչ պակաս: Երկրորդային փաթույթների մեկուսացման դիմադրությունները տրված են. առանց փակագծերի` անջատված երկրորդային շղթաների դեպքում, փակագծերում` միացված երկրորդային շղթաների հետ միասին:
բ) Փորձարկում 50 Հց հաճախականության բարձրացված լարմամբ: ԲԼ փաթույթի մեկուսացման փորձարկումը 50 Հց հաճախականության բարձրացման լարմամբ կատարում են ԲԼ փաթույթի բոլոր արտանցիչների անվանական լարման մեկուսացմամբ` լարման տրանսֆորմատորների համար:
Հիմնական մեկուսացման փորձարկման լարման արժեքները տրված են սույն բաժնի 15-րդ աղյուսակում:
Լարման տրանսֆորմատորների փորձարկման տևողությունը` 1 րոպե:
Փորձարկման լարման արժեքը երկրորդային փաթույթների համար դրանց միացված շղթաների հետ միասին, ընդունվում է 1 կՎ-ի հավասար:
Փորձարկման լարման կիրառման տևողությունը` 1 րոպե:
Աղյուսակ N 15
Լարման տրանսֆորմատորների մեկուսացման դիմադրությունը
Լարման դասը, Մեկուսացման թույլատրելի դիմադրությունը, ՄՕմ, ոչ պակաս հիմնական երկրորդային կապակցող 3-35 100 50(1) 1 110-500 300 50(1) 1
կՎ
մեկուսացում
փաթույթներ
փորձարկումներ
գ) Փաթույթների` հաստատուն հոսանքին ցուցաբերած դիմադրության չափում: Փաթույթների` հաստատուն հոսանքին ցուցաբերած դիմադրության չափումը կատարում են կասկադավոր լարման տրանսֆորմատորների կապակցող փաթույթների մոտ:
Փաթույթի հաստատուն հոսանքին ցուցաբերվող դիմադրության շեղումը տեխնիկական անձնագրում տրված արժեքից կամ մյուս ֆազերի վրա չափվածից չպետք է գերազանցի 2%-ը: Չափված արժեքը տեխնիկական անձնագրային տվյալների հետ համեմատելիս դիմադրության չափված արժեքը պետք է բերվի շահագործման փաստաթղթերով սահմանված փորձարկումների ջերմաստիճանին: Մյուս ֆազերի հետ համեմատելիս չափումները բոլոր ֆազերի վրա պետք է կատարվեն միևնույն ջերմաստիճանի դեպքում:
դ) Տրանսֆորմատորային յուղի փորձարկում: Լարման տրանսֆորմատորները, շահագործման մեջ մտցնելիս, յուղը պետք է փորձարկվի սույն բաժնի 33-րդ աղյուսակի 1-6-րդ կետերի պահանջներին համապատասխան:
Յուղալեցուն սանդղավոր լարման տրանսֆորմատորներում յուղի վիճակի գնահատումն առանձին աստիճաններում կատարում են աստիճանի աշխատանքային լարմանը համապատասխանող նորմերով:
2) Ունակային լարման տրանսֆորմատորներ
ա) Լարման բաժանարարների կոնդենսատորների փորձարկում: Լարման բաժանարարների կոնդենսատորների փորձարկումը կատարում են 60-րդ գլխի պահանջներին համապատասխան:
բ) Էլեկտրամագնիսական սարքվածքի մեկուսացման դիմադրության չափում: Փաթույթների մեկուսացման դիմադրության չափումը կատարում են 2500 Վ լարման մեգաօմաչափով:
Մեկուսացման դիմադրությունը տեխնիկական անձնագրում նշվածից չպետք է լինի 30%-ից ավելի` դեպի վատ կողմը, բայց պետք է լինի 300 ՄՕմ-ից ոչ պակաս:
գ) Էլեկտրամագնիսական սարքվածքի փորձարկում` 50 Հց հաճախականության բարձրացված լարմամբ: Փորձարկումների ենթարկում են էլեկտրամագնիսական սարքվածքի երկրորդային փաթույթների մեկուսացումը:
Փորձարկման լարումը` 1,8 կՎ: Լարման կիրառման տևողությունը` 1 րոպե:
դ) Փաթույթների` հաստատուն հոսանքին ցուցաբերվող դիմադրության չափում: Շահագործման մեջ մտցնելիս փաթույթների` հաստատուն հոսանքին ցուցաբերվող դիմադրության չափումը կատարում են փոխարկման սարքվածքի բոլոր դիրքերի վրա:
Չափված արժեքները` բերված շահագործման փաստաթղթերում տրված փորձարկումների ջերմաստիճանին, տեխնիկական անձնագրում նշվածներից 5%-ից ավելի չպետք է տարբերվեն:
ե) Պարապ ընթացքի հոսանքի և կորուստների չափում: Պարապ ընթացքի հոսանքի և կորուստների չափումը կատարում են շահագործման հրահանգներում նշված լարումների դեպքում:
Չափված արժեքները տեխնիկական անձնագրում նշվածներից չպետք է լինեն 10%-ից ավելի:
զ) Էլեկտրամագնիսական սարքվածքից տրանսֆորմացիայի յուղի փորձարկում: Յուղի ծակման լարման արժեքը պետք է լինի 30 կՎ-ից ոչ պակաս:
Շահագործման մեջ մտցնելիս, թարմ, չոր տրանսֆորմատորային յուղը էլեկտրամագնիսական սարքվածքի լցման (լրալցման) համար պետք է փորձարկված լինի սույն բաժնի 33-րդ աղյուսակի 1-6 կետերի պահանջներին համապատասխան:
է) Փականային պարպիչների փորձարկում: Կատարում են 64-րդ գլխի ցուցումների համաձայն:
52. ՅՈՒՂԱՅԻՆ ԱՆՋԱՏԻՉՆԵՐ
1) Մեկուսացման դիմադրության չափում
ա) տանովի և ուղղորդող մասերի, որոնք պատրաստված են օրգանական նյութերից: Կատարում են 2500 Վ լարման մեգաօմաչափով:
Մեկուսացման դիմադրությունը չպետք է լինի ցածր հետևյալ արժեքներից.
|
անջատիչի անվանական լարումը` կՎ |
3-10 |
15-150 |
220-500 |
|
մեկուսացման դիմադրությունը` ՄՕմ |
1000 |
3000 |
5000 |
բ) երկրորդային շղթաների, միացման և անջատման էլեկտրամագնիսների և այլն: Կատարում են 70-րդ գլխի պահանջներին համապատասխան:
2) Ներանցիչների փորձարկում: Կատարվում է 67-րդ գլխի պահանջներին համապատասխան:
3) Ներբաքային մեկուսացման և աղեղմարիչ սարքվածքների մեկուսացման վիճակի գնահատում: Գնահատումը կատարում են 35 կՎ լարման բաքային յուղային անջատիչների մոտ, եթե լրիվ հավաքված անջատիչի ներանցիչի tgd-ի չափման ժամանակ ստացվել են սույն բաժնի 30-րդ աղյուսակում տրված նորմերի համեմատ բարձրացած տվյալներ:
Ներբաքային մեկուսացումը և աղեղմարիչ սարքվածքների մեկուսացումը ենթակա են չորացման, եթե այդ մեկուսացման ազդեցության բացառումը չափված tgd-ն իջեցնում է 4%-ից ավելի (բացարձակ արժեք):
4) Մեկուսացման փորձարկում` արդյունաբերական հաճախականության բարձրացված լարմամբ.
ա) անջատիչի մեկուսացման` հենամարմնի կամ հենարանային մեկուսացման նկատմամբ: Կատարում են մինչև 35 կՎ լարման անջատիչների համար: Փորձարկման լարումն անջատիչների համար ընդունում են սույն բաժնի 16-րդ աղյուսակի տվյալներին համապատասխան: Նորմավորված փորձարկման լարման կիրառման տևողությունը` 1 րոպե: Համանման փորձարկման պետք է ենթարկվի 6-10 կՎ յուղային անջատիչների միջհպակային խզումների մեկուսացումը,
բ) երկրորդային շղթաների և միացման ու անջատման էլեկտրամագնիսների փաթույթների մեկուսացման: Փորձարկման լարման արժեքը` 1 կՎ: Նորմավորված փորձարկման լարման կիրառման տևողությունը` 1 րոպե:
Աղյուսակ N 16
Արդյունաբերական հաճախականության փորձարկման լարումը ապարատների արտաքին մեկուսացման համար
Լարման դասը, Փորձարկման լարումը, կՎ, մեկուսացմամբ ապարատների համար բնականոն բնականոն թեթևացված թեթևացված 3 24 21,6 13 11,7 6 32 28,8 21 18,9 10 42 37,8 32 28,8 15 55 49,5 48 43,2 20 65 58,5 - - 35 95 85,5 - -
կՎ
խեցեղեն
օրգանական
խեցեղեն
օրգանական
5) Հաստատուն հոսանքին ցուցաբերվող դիմադրության չափում
ա) յուղային անջատիչների հպակների: Չափվում է անջատիչի բևեռի հոսանատար համակարգի և դրա առանձին տարրերի դիմադրությունը: Հպակների` հաստատուն հոսանքին ցուցաբերվող դիմադրության արժեքը պետք է համապատասխանի շահագործման հրահանգի տվյալներին,
բ) աղեղմարիչ սարքվածքների շունտող ռեզիստորների: Դիմադրության չափված արժեքը շահագործման հրահանգներում տրված տվյալներից պետք է լինի 3 %-ից ոչ ավելի,
գ) միացման և անջատման էլեկտրամագնիսների փաթույթների, փաթույթների դիմադրության արժեքը պետք է համապատասխանի շահագործման հրահանգի պահանջներին:
6) Անջատիչների ժամանակային բնութագրերի չափում: Ժամանակային բնութագրերի չափումը կատարում են լարման բոլոր դասերի անջատիչների համար: Միացման և անջատման արագության չափումը պետք է կատարել 35 կՎ և բարձր անջատիչների համար, երբ այն պահանջվում է շահագործման հրահանգով: Չափված բնութագրերը պետք է համապատասխանեն արտադրանքի շահագործման փաստաթղթերին:
7) Անջատիչի շարժական մասերի (լայնակների) քայլի, միացման ժամանակ հպակների ներս խրման խորության, հպակների միակցման և խզման միաժամանակության չափում: Ստացված տվյալները պետք է համապատասխանեն շահագործման հրահանգի պահանջներին:
8) Մեխանիզմների, շարժաբերների և անջատիչների կարգավորման և տեղակայման բնութագրերի ստուգում: Կատարում են շահագործման հրահանգների և տեխնիկական անձնագրերի ծավալներով ու նորմերով` հաղորդակների ու անջատիչների յուրաքանչյուր տեսակի համար:
9) Ազատ շղթայազատման մեխանիզմի գործողության ստուգում: Շարժաբերի ազատ շղթայազատման մեխանիզմը պետք է թույլ տա կատարելու անջատման գործողություններ հպակների ամբողջ ընթացքի ժամանակ, այսինքն, միացման գործողության սկզբից` ցանկացած պահին:
10) Անջատիչների գործարկման նվազագույն լարման (ճնշման) ստուգում: Միաբևեռային շարժաբերներով անջատիչների մոտ գործարկման նվազագույն լարման ստուգումը պետք է կատարել բևեռ առ բևեռ:
Գործարկման նվազագույն լարումը պետք է համապատասխանի անջատիչների արտադրանքի շահագործման փաստաթղթերին: Օդաճնշումային շարժաբերների գործարկման ճնշման մեծությունը պետք է 20-30%-ով պակաս լինի աշխատանքային ճնշման ստորին սահմանից:
11) Անջատիչների փորձարկում` բազմակի փորձումներով: Անջատիչների բազմակի փորձումներ` միացման և անջատման գործողությունների և բարդ շրջափուլերի իրագործում (Մ-Ա առանց ժամանակի պահման պարտադիր են բոլոր անջատիչների համար, Ա-Մ և Ա-Մ-Ա պատադիր են այն անջատիչների համար, որոնք նախատեսված են ԱԿՄ ռեժիմում աշխատելու համար) պետք է կատարվեն էլեկտրամագնիսների ելքերի վրա անվանական լարման դեպքում: Գործողությունների բարդ շրջափուլերի թիվը, որոնք անջատիչի կողմից ենթակա են կատարման, պետք է կազմի`
միացման և անջատման` 3-5 գործողություն,
յուրաքանչյուր տեսակի` 2-3 շրջափուլ:
12) Անջատիչների տրանսֆորմատորային յուղի փորձարկում: Լարումների բոլոր դասերի բաքային անջատիչների և 110 կՎ ու բարձր լարման փոքրածավալ անջատիչների մոտ յուղի փորձարկումը կատարում են մինչև յուղի լցնելն անջատիչի մեջ և դրանից հետո:
Մինչև 35 կՎ փոքրածավալ անջատիչների մոտ յուղը փորձարկվում է մինչև աղեղմարիչ խցերի մեջ լցնելը: Յուղի փորձարկումը կատարում են սույն բաժնի 33-րդ աղյուսակի 1, 3, 4, 5-րդ կետերին համապատասխան:
13) Ներսարքված հոսանքի տրանսֆորմատորների փորձարկում: Կատարում են 50-րդ գլխի պահանջներին համապատասխան:
53. ՕԴԱՅԻՆ ԱՆՋԱՏԻՉՆԵՐ
1) Մեկուսացման դիմադրության չափում
ա) հենարանային մեկուսիչների, մարիչ խցերի և բաժանարարների մեկուսիչների, լարումների բոլոր դասերի անջատիչների մեկուսացնող ձգաձողերի և օդատարների:
Կատարում են 2500 Վ լարման մեգաօմաչափով:
Աղյուսակ N 17
Օդային անջատիչների հենարանային մեկուսացման եվ շարժական մասերի մեկուսացման նվազագույն թույլատրելի դիմադրությունը
Փորձարկվող օբյեկտը Մեկուսացման դիմադրությունը, ՄՕմ, մինչև 10 15-150 220 և բարձր Հենարանային մեկուսիչ, օդատար և ձգաձող 1000 3000 5000
անջատիչի անվանական լարման դեպքում, կՎ
(յուրաքանչյուրն առանձին)`
պատրաստված ճենապակուց
Անհրաժեշտության դեպքում հենարանային մեկուսիչների, մարիչ խցերի և բաժանարարների մեկուսացման դիմադրության չափումը պետք է կատարել արտաքին մակերևույթի վրա պաշտպանիչ օղակներ տեղակայելով:
Մեկուսացման դիմադրությունը պետք է լինի սույն բաժնի 17-րդ աղյուսակում տրվածներից ոչ պակաս,
բ) երկրորդային շղթաների, միացման և անջատման էլեկտրամագնիսների փաթույթների: Կատարում են 70-րդ գլխի պահանջներին համապատասխան:
2) Փորձարկում` արդյունաբերական հաճախականության բարձրացված լարմամբ.
ա) անջատիչների մեկուսացման: Պարտադիր է մինչև 35 կՎ անջատիչներ համար: Անջատիչների հենարանային ճենապակյա մեկուսացումը պետք է փորձարկել արդյունաբերական հաճախականության բարձրացված լարմամբ սույն բաժնի 16-րդ աղյուսակին համապատասխան: Նորմավորված փորձարկման լարման կիրառման տևողությունը` 1 րոպե,
բ) երկրորդային շղթաների և կառավարման էլեկտրամագնիսների փաթույթների մեկուսացման: Կատարում են 70-րդ գլխի պահանջներին համապատասխան:
3) Հաստատուն հոսանքին ցուցաբերվող դիմադրության չափում`
ա) լարման բոլոր դասերի օդային անջատիչների հպակների: Չափման ենթակա է մարիչ խցի յուրաքանչյուր հպակների և խզիչի դիմադրությունն առանձին: Օդային անջատիչների հպակների դիմադրության առավելագույն թույլատրելի արժեքները տրված են սույն բաժնի 18-րդ աղյուսակում, որտեղ մարիչ խցի և խզիչի մեկ տարրի (խզման) և մոդուլի մեկ աղեղմարիչ սարքվածքի դիմադրությունների սահմանային արժեքները. ՎՎՆ(ВВН) շարքի անջատիչներինը` 20 մկՕմ, ՎՎՈՒ(ВВУ), ՎՎԲ(ВВБ), ՎՎԴ(ВВД), ՎՎԲԿ(ВВБК) շարքինը` 80 մկՕմ, ՎՆՎ(ВНВ) շարքինը` 70 մկՕմ: ՎՎ(ВВ) տեսակի 330-500 կՎ լարմամբ անջատիչների մոտ հաստատուն հոսանատար կոնտուրների հետևյալ տեղամասերի դիմադրությունների արժեքները չպետք է գերազանցեն. 50 մկՕմ` մարիչ խուցը բաժանարարին միացնող հաղորդաձողերի համար, 80 մկՕմ` բաժանարարի երկու կեսերը միացնող հաղորդաձողերի համար, 10 մկՕմ` բաժանարարի ապարատային արտանցիչից միացման հաղորդաձողին անցման համար: ՎՆՎ շարքի 330-500 կՎ անջատիչների աղեղմարիչ սարքվածքի յուրաքանչյուր խզման դիմադրությունների արժեքները չպետք է գերազանցեն 35 մկՕմ-ը:
բ) անջատիչների միացման և անջատման էլեկտրամագնիսների փաթույթների: Սահմանվում է անջատիչների յուրաքանչյուր տեսակի համար արտադրանքի շահագործման փաստաթղթերի համաձայն:
գ) լարման բաժանարարների և շունտող ռեզիստորների տարրերի դիմադրության չափման արդյունքները պետք է համապատասխանեն շահագործման հրահանգների պահանջներին, որոնք տրված են սույն բաժնի 19-րդ աղյուսակում, որտեղ շունտող ռեզիստորների դիմադրությունները, որոնք ենթակա են տեղադրման անջատիչի մեկ բեռի վրա, չպետք է տարբերվեն իրարից ավելի, քան թույլատրվում է շահագործման հրահանգով:
Աղյուսակ N 18
Օդային անջատիչների` հպակային համակարգի հաստատուն հոսանքին ցուցաբերվող սահմանային դիմադրությունները
Անջատիչի տեսակը Բեռի կոնտուրի դիմադրությունը, ՎՎՆ-330-15 460 ՎՎ-330Բ 380 ՎՎ-500Բ 500 ՎՎԲ-110, ՎՎԲՄ-110Վ, ՎՎԲԿ-110Բ 80 ՎՎԴ-220Բ, ՎՎԲԿ-220Բ 300 ՎՎԲ-500Ա 900 ՎՎԲ-750Ա 1200 ՎՆՎ-330-40, ՎՆՎ-330-63, ՎՆՎ-500-40, ՎՆՎ-500-63 150 ՎՆՎ-750 230
ՄՕմ, ոչ ավելի
600
Աղյուսակ N 19
Լարման օմական բաժանարարների եվ շունտող ռեզիստորների` հաստատուն հոսանքին ցուցաբերվող դիմադրությունների նորմավորվող արժեքները
Անջատիչի տեսակը Մեկ տարրի դիմադրությունը` Օմ ՎՎՆ-110-6 150 ± 5 ՎՎՇ-110Բ, ՎՎՇ-150Բ 150+4-2 ՎՎՆ-154-8, ՎՎՆ-220-10, ՎՎՆ-220-15, ՎՎՆ-330-15 15000 ± 150 ՎՎ-330, ՎՎ-500 14140 ± 140 ՎՎՈՒ-35 4,6-0,25 ՎՎՈՒ-110Բ 5 ± 0,3 (ստորին մոդուլ) ՎՎԲ-110, ՎՎԲ-220Բ 100 ± 2 ՎՎԲՄ-110ը, ՎՎԴ-220Բ 50 ± 1 ՎՎԲԿ-110Բ, ՎՎԲԿ-200Բ 47,5+1-0,5 ՎՆՎ-330-63, ՎՆՎ-500-63 75+1-3
100 ± 2 (վերին մոդուլ)
4) Անջատիչի բնութագրերի ստուգում: Անջատիչի բնութագրերը, հանված անվանական, նվազագույն և առավելագույն աշխատանքային ճնշումների դեպքում, պարզ գործողությունների և բարդ շրջափուլերի դեպքում, պետք է համապատասխանեն արտադրանքի շահագործման փաստաթղթերին:
5) Անջատիչի գործարկման նվազագույն լարման ստուգում: Օդային անջատիչների կառավարման էլեկտրամագնիսները պետք է գործարկվեն 0,7Uան-ից ոչ ավելի լարման դեպքում` շարժաբերը հաստատուն հոսանքի աղբյուրից սնելիս և 0,65Uան-ից ոչ ավելի` փոփոխական հոսանքի աղբյուրից ուղղիչ սարքվածքի միջոցով սնելիս և անջատիչի ամբարներում սեղմված օդի ամենամեծ աշխատանքային ճմշման դեպքում: Լարումն էլեկտրամագնիսներին պետք է տրվի հարվածով:
6) Անջատիչի ստուգում` բազմակի միացմամբ և անջատմամբ: Յուրաքանչյուր անջատիչի կողմից կատարվող գործողությունների և բարդ շրջափուլերի թիվը սահմանվում է համաձայն սույն բաժնի 20-րդ աղյուսակի, ըստ որի գործողություններ և բարդ շրջափուլեր կատարելիս (20-րդ աղյուսակի 4-9-րդ, 12-14-րդ կետեր) պետք է հանվեն ստուգարքային տատանագրերը:
Աղյուսակ N 20
Կարգաբերման ժամանակ անջատիչների փորձարկումների պայմանները եվ թիվը
Գործողություն Ճնշումը` փորձարկման Լարումը Գործողությունների և 1. Միացում (Մ) Նվազագույն միացում Անվանական 3 2. Անջատում (Ա) Նվազագույն միացում Անվանական 3 3. Մ-Ա Նվազագույն միացում Անվանական 2 4. Միացում Նվազագույն Անվանական 3 5. Անջատում Նվազագույն Անվանական 3 6. Մ- Ա Նվազագույն Անվանական 2 7. Միացում Անվանական Անվանական 3 8. Անջատում Անվանական Անվանական 3 9. Ա-Մ Անվանական Անվանական 2 10. Միացում Ամենամեծ Անվանականի 2 11. Անջատում Ամենամեծ Անվանականի 2 12. Մ-Ա Ամենամեծ Անվանական 2 13. Ա-Մ-Ա Ամենամեծ Անվանական 2 14. Ա-Մ-Ա Նվազագույն Անվանական 2
կամ շրջափուլ
ժամանակ
անջատիչների վրա
շրջափուլերի թիվը
աշխատանքային
աշխատանքային
աշխատանքային
աշխատանքային
0,7 մասը
աշխատանքային
0,7 մասը
աշխատանքային
աշխատանքային
ԱԿՄ համար
7) Օդային անջատիչների լարման բաժանարարների կոնդենսատորների փորձարկում: Կատարում են 63-րդ գլխի պահանջներին համապատասխան:
54. ԷԼԵԳԱԶԱՅԻՆ ԱՆՋԱՏԻՉՆԵՐ
1) Երկրորդային շղթաների կառավարման և էլեկտրամագնիսների փաթույթների մեկուսացման դիմադրության չափում: Չափումը պետք է կատարվի 70-րդ գլխի ցուցումներին համապատասխան:
2) Անջատիչի մեկուսացման փորձարկում
ա) Մեկուսացման փորձարկումը պետք է կատարվի արդյունաբերական հաճախականության լարմամբ, սույն բաժնի N 16 աղյուսակի համաձայն: Այն անջատիչները, որոնք էլեգազով լցված են արտադրողի կողմից և շահագործման ողջ ընթացքում ենթակա չեն բացման, թույլատրվում է փորձարկման չենթարկել:
բ) Երկրորդային շղթաների և կառավարման էլեկտրամագնիսների փաթույթների մեկուսացման փորձարկումը պետք է կատարվի 70-րդ գլխի ցուցումներին համապատասխան:
3) Հաստատուն հոսանքին ցուցաբերվող դիմադրության չափում
ա) Գլխավոր շղթայի դիմադրության չափում: Գլխավոր շղթայի դիմադրությունը պետք է չափվի ինչպես ամբողջ բևեռի հոսանատար կոնտուրի, այնպես էլ առանձին աղեղմարիչ սարքվածքի յուրաքանչյուր խզման համար:
Չափված արժեքները պետք է համապատասխանեն շահագործման հրահանգի պահանջներին:
Չափումներ չեն կատարվում այն անջատիչների վրա, որոնք էլեգազով լցվել են արտադրող կազմակերպությունում և ենթակա չեն բացման ծառայության ամբողջ ժամկետի ընթացքում:
բ) Կառավարման էլեկտրամագնիսների փաթույթների և դրանց շղթայում լրացուցիչ ռեզիստորների դիմադրության չափում: Դիմադրությունների չափված արժեքները պետք է համապատասխանեն արտադրանքի շահագործման փաստաթղթերի պահանջներին:
4) Անջատիչների գործարկման նվազագույն լարման ստուգում: Անջատիչները պետք է գործարկվեն 0,85 Uան լարման դեպքում` շարժաբերի հաստատուն հոսանքի աղբյուրից սնվելիս և 0,7 Uան` շարժաբերը փոփոխական հոսանքի ցանցից սնվելիս, անջատիչի խոռոչներում էլեգազի անվանական ճնշման և շարժաբերերի ամբարներում ամենամեծ աշխատանքային ճնշման դեպքում: Լարումը էլեկտրամագնիսների վրա պետք է տրվի զարկով:
5) Լարման բաժանարարների կոնդենսատորների փորձարկում: Փորձարկումները պետք է կատարվեն 60-րդ գլխի ցուցումների համաձայն: Չափված ունակության արժեքը պետք է համապատասխանի արտադրանքի շահագործման փաստաթղթերում սահմանված չափաքանակին:
6) Անջատիչի բնութագրերի ստուգում: Էլեգազային անջատիչների աշխատանքը ստուգելիս պետք է որոշվեն շահագործման հրահանգներով կարգադրագրված բնութագրերը: Ստուգումների և չափումների արդյունքները պետք է համապատասխանեն տեխնիկական անձնագրային տվյալներին:
7) Անջատիչների փորձարկում` բազմակի փորձարկումներով: Բազմակի փորձարկումներ` միացման ու անջատման գործողությունների և բարդ շրջափուլերի կատարում (Մ-Ա առանց գործողությունների միջև ժամանակի պահման` բոլոր անջատիչների համար, Ա-Մ և Ա-Մ-Ա, ԱԿՄ ռեժիմում աշխատելու նախատեսված անջատիչների համար) պետք է կատարվեն շարժաբերում սեղմված օդի տարբեր ճնշումների և կառավարման էլեկտրամագնիսների արտանցիչների վրա տարբեր լարումների դեպքում` անջատիչների գործողության սարքին լինելը սույն բաժնի 20-րդ աղյուսակի համաձայն ստուգելու նպատակով: Կատարում են շարժաբերի էլեկտրամագնիսների արտանցիչների վրա անվանական լարման դեպքում կամ շարժաբերի սեղմված օդի անվանական ճնշման դեպքում:
Անջատիչի կողմից կատարման ենթակա գործողությունների և բարդ շրջափուլերի թիվը պետք է կազմի`
միացման և անջատման 3-5 գործողություն,
յուրաքանչյուր տեսակի 2-3 շրջափուլ:
8) Հերմետիկության ստուգում: Հերմետիկության ստուգումը կատարում են հոսանաորոնիչի օգնությամբ: Հերմետիկության փորձարկման ժամանակ հոսանաորոնիչի արանքաչափերի միջոցով զննում են կցվածքային միացումների խցվածքների և անջատիչի եռակցման կարերի տեղերը:
Ըստ հերմետիկության փորձարկման արդյունքը համարվում է բավարար, եթե հոսանաորոնիչը հոսակորուստ ցույց չի տալիս: Փորձարկումը կատարում են էլեգազի անվանական ճնշման դեպքում:
9) Էլեգազի մեջ խոնավության պարունակության ստուգում: Էլեգազի մեջ խոնավության պարունակությունը որոշում են անջատիչը էլեգազով լցնելուց առաջ, ցողի կետը չափելու հիման վրա: Էլեգազի ցողի կետի ջերմաստիճանը պետք է լինի մինուս 500C-ից ոչ բարձր:
10) Ներսարքված հոսանքի տրանսֆորմատորների փորձարկում: Փորձարկումը պետք է կատարվի 50-րդ գլխի ցուցումներին համապատասխան:
55. ՎԱԿՈՒՈՒՄԱՅԻՆ ԱՆՋԱՏԻՉՆԵՐ
1) Երկրորդային շղթաների և կառավարման էլեկտրամագնիսների մեկուսացման դիմադրության չափում: Չափումները կատարվում են 70-րդ գլխի ցուցումների համաձայն:
2) Մեկուսացման փորձարկում` 50 Հց հաճախականության բարձրացված լարմամբ`
ա) Անջատիչի մեկուսացման փորձարկումը: Փորձարկման լարման արժեքն ընդունվում է սույն բաժնի 15-րդ աղյուսակի համաձայն:
բ) Երկրորդային շղթաների և կառավարման էլեկտրամագնիսների մեկուսացման փորձարկումը: Փորձարկումները կատարում են 70-րդ գլխի ցուցումների համաձայն:
3) Անջատիչի գործարկման նվազագույն լարման ստուգում: Վակուումային անջատիչների կառավարման էլեկտրամագնիսները պետք է գործարկվեն`
միացման էլեկտրամագնիսներ` 0,85Uան-ից ոչ ավելի լարման դեպքում,
անջատման էլեկտրամագնիսներ` 0,7Uան-ից ոչ ավելի լարման դեպքում:
4) Անջատիչների փորձարկում` բազմակի փորձարկումներով: Էլեկտրամագնիսների արտանցիչների վրա` անվանական լարման դեպքում, անջատիչի կողմից կատարման ենթակա գործողությունների և բարդ շրջափուլերի թիվը պետք է կազմի`
միացման և անջատման` 3-5 գործողություն,
գործողությունների միջև առանց ժամանակի պահման Մ-Ա (միացում-անջատում)` 2-3 շրջափուլ:
5) Հաստատուն հոսանքին ցուցաբերվող դիմադրության չափում, անջատիչների ժամանակային բնութագրերի չափում, շարժական մասերի ընթացքի և հպակների միակցման միաժամանակության չափում: Կատարում են, եթե դա պահանջվում է արտադրանքի շահագործման փաստաթղթերով:
56. ԲԵՌՆՎԱԾՔԻ ԱՆՋԱՏԻՉՆԵՐ
1) Երկրորդային շղթաների և կառավարման էլեկտրամագնիսների փաթույթների մեկուսացման դիմադրության չափում: Կատարում են 70-րդ գլխի ցուցումներին համապատասխան:
2) Փորձարկում` արդյունաբերական հաճախականության բարձրացված լարմամբ
ա) բեռնվածքի անջատիչի մեկուսացման: Կատարում են սույն բաժնի 16-րդ աղյուսակին համապատասխան,
բ) երկրորդային շղթաների և կառավարման էլեկտրամագնիսների մեկուսացման: Կատարում են 70-րդ գլխի ցուցումներին համապատասխան:
3) Հաստատուն հոսանքին ցուցաբերվող դիմադրության չափում
ա) անջատիչի հպակների: Կատարում են բևեռի հոսանատար համակարգի և աշխատանքային հպակների յուրաքանչյուր զույգի դիմադրության չափում: Դիմադրության արժեքը պետք է համապատասխանի արտադրանքի շահագործման փաստաթղթերին,
բ) կառավարման էլեկտրամագնիսների փաթույթների: Դիմադրության արժեքը պետք է համապատասխանի արտադրանքի շահագործման փաստաթղթերի տվյալներին:
4) Ազատ շղթայազատման մեխանիզմի գործողության ստուգում: Ազատ շղթայազատման մեխանիզմն ստուգում են աշխատանքի մեջ` 52-րդ գլխի 9-րդ կետին համապատասխան:
5) Շարժաբերի գործարկման ստուգում` իջեցված լարման դեպքում: Կատարում են 52-րդ գլխի 10-րդ կետին համապատասխան:
6) Բեռնվածքի անջատիչի փորձարկում` բազմակի փորձարկումներով: Կատարում են 52-րդ գլխի 11-րդ կետին համապատասխան:
57. ԲԱԺԱՆԻՉՆԵՐ, ԽԶԻՉՆԵՐ ԵՎ ԿԱՐՃ ՄԻԱԿՑԻՉՆԵՐ
1) Մեկուսացման դիմադրության չափում
ա) օրգանական նյութերից պատրաստված սանձիկների և ձգալարերի: Կատարում են 2500 Վ լարման մեգաօմաչափով: Մեկուսացման դիմադրությունը պետք է լինի 52-րդ գլխի 1-ին կետի «ա» ենթակետում տրված արժեքներից ոչ պակաս:
բ) բազմատարր մեկուսիչների: Կատարում են 68-րդ գլխին համապատասխան,
գ) երկրորդային շղթաների և կառավարման էլեկտրամագնիսների փաթույթների: Կատարում են 70-րդ գլխին համապատասխան:
2) Փորձարկում` արդյունաբերական հաճախականության բարձրացված լարմամբ
ա) բաժանիչների, խզիչների և կարճ միակցիչների մեկուսացման: Կատարում են սույն բաժնի 16-րդ աղյուսակի ցուցումներին համապատասխան,
բ) երկրորդային շղթաների և կառավարման էլեկտրամագնիսների փաթույթների մեկուսացման: Կատարում են 70-րդ գլխին համապատասխան:
3) Հաստատուն հոսանքին ցուցաբերվող դիմադրության չափում
ա) չափումը պետք է կատարվի «հպակային արտանցիչ-հպակային արտանցիչ» կետերի միջև: Դիմադրությունների չափումների արդյունքները պետք է համապատասխանեն շահագործման հրահանգներով սահմանված պահանջներին, իսկ դրանց բացակայության դեպքում` սույն բաժնի N 21 աղյուսակի տվյալներին:
բ) կառավարման էլեկտրամագնիսների փաթույթների: Փաթույթների դիմադրության արժեքները պետք է համապատասխանեն շահագործման հրահանգների պահանջներին:
4) Շարժական հպակները անշարժներից արտաձգող ճիգերի չափում: Կատարում են 35 կՎ բաժանիչների և խզիչների մոտ: Արտաձգիչ ճիգերի արժեքի չափված արժեքները, հպակային մակերևույթների յուղազրկված վիճակում, պետք է համապատասխանեն արտադրանքի շահագործման փաստաթղթերի պահանջներին:
Աղյուսակ N 21
Բաժանիչների եվ խզիչների հպակային համակարգի հաստատուն հոսանքին ցուցաբերվող ամենամեծ թույլատրելի դիմադրությունը
|
Բաժանիչի |
Անվանական լարումը |
Անվանական հոսանքը, |
Դիմադրությունը, |
|
ՌՕՆԶ(РОНЗ) |
500 |
2000 |
200 |
|
ՌԼՆ(РЛН) |
35-200 |
600 |
220 |
|
Մնացած տեսակները |
լարման բոլոր |
600 |
175 |
|
1000 |
120 | ||
|
1500-2000 |
50 |
5) Բաժանիչի, խզիչների և կարճ միակցիչի աշխատանքի ստուգում: Ձեռքով կառավարման ապարատները պետք է ստուգված լինեն միացման 5 գործողությամբ և անջատման 5 գործողությամբ:
Հեռագործ կառավարման ապարատները պետք է ստուգված լինեն նաև միացման 5 գործողության կատարմամբ և նույն թվով անջատման գործողությամբ` կառավարման էլեկտրամագնիսների և էլեկտրաշարժիչների արտանցիչների վրա անվանական լարման դեպքում:
6) Ժամանակային բնութագրերի որոշում: Կատարում են կարճ միակցիչների մոտ` միացնելիս և խզիչների մոտ` անջատելիս: Չափված արժեքները պետք է համապատասխանեն արտադրանքի շահագործման փաստաթղթերի տվյալներին:
7) Մեխանիկական արգելափակման աշխատանքի ստուգում: Արգելափակումը չպետք է թույլ տա գլխավոր դանակների գործողություն` հողակցման դանակների միացված դիրքում և ընդհակառակը:
58. ՆԵՐՍԻ ԵՎ ԱՐՏԱՔԻՆ (ԴՐՍԻ) ՏԵՂԱԿԱՅՄԱՆ ԲԱՇԽԻՉ ՍԱՐՔՎԱԾՔՆԵՐ (ԼԲՍ, ԼԲՍԱ)
ԼԲՍ-ի տարրերի` յուղային անջատիչների, չափիչ տրանսֆորմատորների, բեռնվածքի անջատիչների, փականային պարպիչների, ապահովիչների, բաժանիչների, ուժային տրանսֆորմատորների, տրանսֆորմատորային յուղի փորձարկման նորմերը ներկայացված են սույն բաժնի համապատասխան գլուխներում:
1) Մեկուսացման դիմադրության չափում
ա) առաջնային շղթաների: Կատարում են 2,5 կՎ լարման մեգաօմաչափով: ԼԲՍ-ի ամբողջությամբ հավաքված առաջնային շղթաների, դրանցում տեղակայված սարքավորմամբ և հանգույցներով, մեկուսացման դիմադրությունը պետք է լինի 100 ՄՕմ-ից ոչ պակաս:
Փորձարկումների անբավարար արդյունքների դեպքում դիմադրության չափումը կատարում են տարր առ տարր, ընդ որում, յուրաքանչյուր տարրի մեկուսացման դիմադրությունը պետք է լինի 1000 ՄՕմ-ից ոչ պակաս: Արտադրող կազմակերպությունում էլեգազով լցված համալիր բաշխիչ սարքվածքները, որոնք բացման ենթակա չեն ծառայության ամբողջ ժամկետի ընթացքում, փորձարկման չեն ենթարկվում,
բ) երկրորդային շղթայի: Կատարում են 500-ից 1 կՎ-ից ցածր լարման մեգաօմաչափով:
Երկրորդային շղթաների յուրաքանչյուր միացության դիմադրությունը միացված բոլոր ապարատներով (ռելեներով, սարքերով, հոսանքի և լարման տրանսֆորմատորների երկրորդային փաթույթներով և այլն), պետք է լինի 0,5 ՄՕմ-ից ոչ պակաս:
2) Փորձարկում արդյունաբերական հաճախականության բարձրացված լարմամբ
ա) ԼԲՍ-ի և ԼԲՍԱ-ի բջիջների առաջնային շղթաների մեկուսացման: ԼԲՍ-ի և ԼԲՍԱ-ի լրիվ տեղակայված բջիջների փորձարկման լարումը, աշխատանքային դիրքի տրված սայլակների և փակ դռների դեպքում, ներկայացված է սույն բաժնի N 22 աղյուսակում:
Փորձարկման նորմավորված լարման կիրառման տևողությունը` 1 րոպե:
բ) երկրորդային շղթաների մեկուսացման: Կատարում են 1 կՎ լարմամբ: Փորձարկման նորմավորված լարման կիրառման տևողությունը` 1 րոպե:
3) Հաստատուն հոսանքի նկատմամբ ցուցաբերված դիմադրության չափում: Քանդովի և հեղուսային միացումների դիմադրությունը հաստատուն հոսանքին պետք է լինի սույն բաժնի N 23 աղյուսակում ներկայացված արժեքներից ոչ ավելի:
Աղյուսակ N 22
ԼԲՍ-ի ԵՎ ԼԲՍԱ-ի բջիջների մեկուսացման փորձարկման արդյունաբերական հաճախականության լարումը
|
Լարման |
Փորձարկման լարումը, կՎ |
Լարման դասը, |
Փորձարկման լարումը, կՎ | ||
|
խեցեղեն |
պինդ օրգանական |
խեցեղեն |
պինդ օրգանական | ||
|
Մինչև 0,69 |
1 |
1 |
15 |
55 |
49,5 |
|
3 |
24 |
21,6 |
20 |
65 |
58,5 |
|
6 |
32 |
28,8 |
35 |
95 |
85,5 |
|
10 |
42 |
37,8 |
|
|
|
Աղյուսակ N 23
ԼԲՍ-ի տարրերի հաստատուն հոսանքին ցուցաբերած դիմադրությունների թույլատրելի արժեքները
(չափումը կատարում են, եթե ԼԲՍ-ի կառուցվածքը թույլ է տալիս)
|
Չափվող տարրը |
Դիմադրության թույլատրելի արժեքները |
|
1. Առաջնային շղթայի մխրճվող հպակներ |
Հպակների դիմադրության թույլատրելի 400 Ա հպակների համար` 75 մկՕմ 630 Ա հպակների համար` 60 մկՕմ 1000 Ա հպակների համար` 50 մկՕմ 1600 Ա հպակների համար` 40 մկՕմ 2000 Ա և բարձր հպակների համար` 33 մկՕմ |
|
2. Դուրս քաշովի տարրի հողակցման կապը հենամարմնի հետ |
0,1 Օմ-ից ոչ ավելի |
4) Մեխանիկան փորձարկումներ: Կատարում են արտադրանքի շահագործման փաստաթղթերին համապատասխան: Մեխանիկական փորձարկումներին վերաբերում են`
ա) դուրս քաշվող տարրերի ներսհրումը և դուրսքաշումը` բաժանիչ հպակների փոխադարձաբար իրար մեջ մտնելու ստուգմամբ, ինչպես նաև փականների, ուղեկապերի, սևեռիչների աշխատանքները,
բ) հողակցող բաժանիչի հպակների աշխատանքը և վիճակն ստուգելով:
59. ԼՐԱԿԱԶՄ ՀՈՍԱՆԱՀԱՂՈՐԴԻՉՆԵՐ (ՀԱՂՈՐԴԱՁՈՂԱԼԱՐԵՐ)
Հոսանահաղորդիչներին և հաղորդաձողալարերին միակցված սարքվածքի (գեներատոր, ուժային և չափիչ տրանսֆորմատորներ և այլն) փորձարկման ծավալն ու նորմերը ներկայացված են սույն բաժնի համապատասխան գլուխներում:
1) Փորձարկում արդյունաբերական հաճախականության բարձրացված լարմամբ: Հոսանահաղորդչի մեկուսացման փորձարկման լարումը, գեներատորների, ուժային տրանսֆորմատորների և լարման տրանսֆորմատորների անջատված փաթույթների դեպքում սահմանում են սույն բաժնի N 24 աղյուսակի համաձայն:
Հոսանահաղորդչի փորձարկման նորմավորված լարման կիրառման տևողությունը` 1 րոպե:
2) Հեղուսային և եռակցովի միացումների կատարման որակի ստուգում: Ընտրովի ստուգվում է հոսանահաղորդիչների հեղուսային միացումների ձգվածությունը, կատարում են հոսանահաղորդչի 1-2 հեղուսային միացումների ընտրովի քանդում` հպումային միացումների կատարման որակն ստուգելու նպատակով:
Եռակցովի միացումները ենթարկում են զննման` ալյումինի եռակցման հրահանգին համապատասխան, կամ համապատասխան կայանքի առկայության դեպքում` ռենտգենա- կամ գամմաարատանշման, կամ արտադրանքի շահագործման փաստաթղթերում նշված այլ եղանակով ստուգման:
Աղյուսակ N 24
Հոսանահաղորդիչների մեկուսացման փորձարկման արդյունաբերական հաճախականության լարումը
Լարման դասը, Փորձարկման լարումը, կՎ, ճենապակյա խառը (խեցեղեն և պինդ Մինչև 0,69 1 1 6 32 28,8 10 42 37,8 15 55 49,5 35 95 85,5
կՎ
մեկուսացմամբ հաղորդաձողի
օրգանական նյութերից)
3) Մեկուսիչ միջադիրների վիճակի ստուգում: Կատարում են այն հոսանահաղորդիչների մոտ, որոնց պատյանները մեկուսացված են հենարանային մետաղակառուցվածքներից: Մեկուսիչ միջադիրների ամբողջականությունն ստուգվում է ֆազի սեկցիայի մեկուսիչ միջադիրների վրա չափված լարման անկման համեմատության կամ մետաղակառուցվածքներում սեկցիաների հենոցների միջև անցնող հոսանքը չափելու միջոցով: Գեներատորային լարման հոսանահաղորդիչներում կարճ միակցված կոնտուրների բացակայության չափանիշները ներկայացված են սույն բաժնի N 25 աղյուսակում:
Աղյուսակ N 25
Հոսանահաղորդիչներում կարճ միակցված կոնտուրների բացակայության չափանիշները
Հոսանահաղորդչի կառուցվածքը Ստուգման Վիճակի գնահատման Լրացուցիչ անընդհատ էկրանների կամ հոսանահաղորդչի պատյանների մեկուսացում տրանսֆորմատորի և գեներատորի հենամարմնից` հոսանահաղորդչի էկրանների և գեներատորի հենամարմնի միջև անընդհատ օդային բացակի (ճեղքի) առկայության դեպքում էկրանների և գեներատորի հենամարմնի միջև մետաղական միակցման բացակայություն ակնադիտական զննման ժամանակ էկրանների խցվածքների և հոսանահաղորդիչների պատյանների` տրանսֆորմատորի և գեներատորի հենամարմնից միակողմանի մեկուսացման դեպքում մեկուսիչ ականոցների ամբողջականություն, էկրանների և պատյանների մակերևույթներով հպումների բացակայություն (մեկուսացման տեղերում) տրանսֆորմատորների և գեներատորների հենամարմիններին ակնադիտական զննման ժամանակ հոսանահաղորդչի հանովի էկրանների և պատյանների խցվածքների երկկողմանի մեկուսացման, որոնք միացված են տրանսֆորմատորի և գեներատորի հենամարմնին հանովի էկրանի կամ պատյանի մեկուսացման դիմադրությունը տրանսֆորմատորի և գեներատորի հենամարմնի նկատմամբ` ապատեղակայված գամասեղների և հողակցող հոսանահաղորդիչների դեպքում պետք է լինի 10 կՕմ-ից ոչ պակաս չափվում է 500 Վ լարման մեգաօմաչափով հատվածավորված հոսանահաղորդիչների էկրանների ռետինե փոխհատուցիչների մեկուսացում` տրանսֆորմատորի և գեներատորի հենամարմնից բացակը ռետինե փոխհատուցիչի հարևան ձգիչ օղակների հեղույսների միջև պետք է լինի 5 մմ-ից ոչ պակաս ակնադիտական զննման ժամանակ հանովի և տանովի էկրանների ռետինե խցվածքների մեկուսացում էկրանի մեկուսացման դիմադրությունը մետաղակոնստրուկցիաների նկատմամբ ապատեղակայված ձգիչ գամասեղների դեպքում պետք է լինի 10 կՕմ-ից ոչ պակաս։ Չափվում է 500 Վ լարման մեգաօմաչափով։ բոլոր տեսակները` էկրանների և հենոցների երկշերտ միջադիրներով էկրանների հենոցների մեկուսիչ միջադիրներ միջադիրների մեկուսացման դիմադրությունը մետաղակոնստրուկցիաների նկատմամբ պետք է լինի 10 կՕմ-ից ոչ պակաս 1. չափվում է 500 Վ լարման մեգաօմաչափով բոլոր տեսակները բաժանիչների և հողակցիչների միջֆազային ձգաձողեր Ձգաձողերը պետք է ունենան մեկուսիչ ներդիր կամ այլ տարրեր, որոնք բացառում են կարճ միակցված կոնտուրի առաջացումը ակնադիտական զննման դեպքում
հանգույցը
չափանիշը
ցուցումներ
էկրանով
2. հենոցների ամրացման հեղույսների մեկուսիչ ականոցների վիճակն ստուգվում է ակնադիտական ձևով
4) Հոսանահաղորդչի արհեստական հովացման սարքվածքի զննում և ստուգում: Կատարում են արտադրանքի շահագործման փաստաթղթերի համաձայն:
60. ՀԱՎԱՔՄԱՆ ԵՎ ՄԻԱՑՆՈՂ ՀԱՂՈՐԴԱՁՈՂԵՐ
Հաղորդաձողերը փորձարկվում են`
1 կՎ-ից ցածր լարման` ըստ սույն գլխի 1, 3-5-րդ կետերի,
1 կՎ-ից բարձր լարման` ըստ սույն գլխի 2-6-րդ կետերի:
1) Կախովի և հենարանային ճենապակե մեկուսիչների մեկուսացման դիմադրության չափում: Կատարում են 2500 Վ լարման մեգաօմաչափով` միայն շրջապատող օդի դրական ջերմաստիճանի դեպքում:
Յուրաքանչյուր մեկուսչի կամ բազմատարր մեկուսչի յուրաքանչյուր տարրի դիմադրությունը պետք է լինի 300 ՄՕմ-ից ոչ պակաս:
2) Մեկուսացման փորձարկում արդյունաբերական հաճախականության բարձրացված լարմամբ: Մեկուսացման փորձարկումը կատարում են սույն բաժնի N 24 աղյուսակի համաձայն: Փորձարկման տևողությունը` 1 րոպե:
3) Հեղուսային հպակային միացումների որակի ստուգում: Կատարում են հպակների ձգման ընտրովի ստուգում և միացումների 2-3 %-ի բացում: Հպակային միացումների անցումային դիմադրության չափումը պետք է կատարել ընտրովի` միացումների 2-3%-ի վրա: Խորհուրդ է տրվում 1000 Ա-ից ավելի հոսանքի համար հպակային միացումներն ստուգել լրիվ ծավալով:
Լարման անկումը կամ դիմադրությունը հաղորդաձողի տեղամասի վրա (0,7-ից մինչև 0,8 մ) հպակային միացման տեղում չպետք է գերազանցի հաղորդաձողերի նույն երկարությամբ տեղամասի լարման անկումը կամ դիմադրությունը 1,2 անգամից ավելի:
4) Հաղորդաձողերի մամլված հպակային միացումների կատարման որակի ստուգում: Մամլված հպակային միացումները խոտանվում են, եթե`
դրանց երկրաչափական չափերը (մամլված մասի երկարությունը և տրամագիծը) չեն համապատասխանում տվյալ տեսակի միացնող սեղմակների տեղակայման հրահանգի պահանջներին,
միակցիչի կամ սեղմակի մակերևույթի վրա կան ճեղքեր, քայքայված զգալի հետքեր և մեխանիկական վնասվածքներ,
մամլված միակցիչի կորությունը գերազանցում է դրա երկարության 3%-ը,
մամլված միակցիչի պողպատե միջուկը համաչափության դիրքից շեղված է մամլվող մասի երկարության 15%-ից ավելի:
Պետք է կատարել մամլված հպակային միացումների 3-ից մինչև 5%-ի անցումային դիմադրության ընտրովի չափում: Լարման անկումը կամ դիմադրությունը միացման տեղամասի վրա չպետք է գերազանցի նույն երկարության հաղորդալարի տեղամասի վրա լարման անկումը կամ դիմադրությունը 1,2 անգամից ավելի:
5) Եռակցովի հպակային միացումների ստուգում: Եռակցովի հպակային միացումները խոտանվում են, եթե եռակցումը կատարելուց անմիջապես հետո հայտնաբերվում են`
արտաքին ոլորվածքի հաղորդալարի գերայրում կամ եռակցման խախտում` միացման հաղորդալարերի ծալման դեպքում,
եռակցման տեղում կծկումային խոռոչ` հաղորդալարի տրամագծի 1/3-ից ավելի խորությամբ:
6) Միջանցիկ մեկուսիչների փորձարկում: Կատարում են 67-րդ գլխին համապատասխան:
61. ՀՈՍԱՆԱՍԱՀՄԱՆԱՓԱԿԻՉ ՉՈՐ ՌԵԱԿՏՈՐՆԵՐ
1) Ամրակապման հեղույսների նկատմամբ փաթույթների մեկուսացման դիմադրության չափում: Կատարում են 2500 Վ լարման մեգաօմաչափով: Մեկուսացման դիմադրությունը պետք է լինի 0,5 ՄՕմ-ից ոչ պակաս:
2) Ռեակտորների հենարանային մեկուսացման փորձարկում` արդյունաբերական հաճախականության բարձրացված լարմամբ: Լրիվ հավաքված ռեակտորի հենարանային մեկուսացման փորձարկման լարումն ընդունվում է սույն բաժնի N 24 աղյուսակի համաձայն:
Փորձարկման նորմավորված լարման կիրառման տևողությունը` 1 րոպե:
Չոր ռեակտորների հենարանային մեկուսացման փորձարկումն արդյունաբերական հաճախականության բարձրացված լարմամբ կարող է կատարվել բջջի հաղորդաձողավորման մեկուսիչների հետ համատեղ:
62. ԷԼԵԿՏՐԱԶԱՏԻՉՆԵՐ
1) Սնման ագրեգատի տրանսֆորմատորի փաթույթների մեկուսացման դիմադրության չափում: 380/220 Վ լարմամբ փաթույթների մեկուսացման դիմադրությունը, դրանց միացված շղթաների հետ միասին, պետք է լինի 1 ՄՕմ-ից ոչ պակաս:
Բարձր լարման փաթույթների մեկուսացման դիմադրությունը պետք է լինի 50 ՄՕմ-ից ոչ պակաս 250C ջերմաստիճանի դեպքում կամ ագրեգատի տեխնիկական անձնագրում նշված արժեքի 70%-ից ոչ պակաս:
2) Սնման ագրեգատի 380/220 շղթաների մեկուսացման փորձարկում: Մեկուսացման փորձարկումը կատարում են 50 Հց հաճախականության 2 կՎ լարմամբ 1 րոպեի ընթացքում: 60 Վ և ցածր լարման տակ աշխատող տարրերը պետք է անջատվեն:
3) Բարձր լարման մալուխի մեկուսացման դիմադրության չափում: Մեկուսացման դիմադրությունը, չափված 2500 Վ լարման մեգաօմաչափով, 10 ՄՕմ-ից փոքր չպետք է լինի:
4) Բարձր լարման մալուխի մեկուսացման փորձարկում: Փորձարկումը կատարում են հաստատուն հոսանքի 75 կՎ լարմամբ 30 րոպեի ընթացքում:
5) Տրանսֆորմատորային յուղի փորձարկում: Յուղի ծակման լարման սահմանային թույլատրելի արժեքները` մինչև լցնելը` 40 կՎ, լցնելուց հետո` 35 կՎ: Յուղի մեջ ջրի հետքեր չպետք է պարունակվեն:
6) Սարքավորանքի տարրերի հողակցման սարքին լինելու ստուգում: Կատարում են հողակցիչին և սարքվածքի տարրերին հողակցման հաղորդիչների ամրացման հուսալիության ստուգում` նստեցնող էլեկտրոդներին, սնման ագրեսիվ դրական բևեռին, էլեկտրաշարժիչի հենամարմնին, տրանսֆորմատորների և էլեկտրաշարժիչների հենամարմիններին, փոխարկիչների հիմքին, կառավարման պանելների և վահանների հիմնատակերին, բարձր լարման մալուխների պատյաններին, սողանցքների ելանցքներին, մեկուսչային տուփերի դռնակներին, մալուխային կցորդիչների տուփերին, մեկուսիչների կցաշուրթերին և մյուս մետաղական կոնստրուկցիաներին` նախագծի համաձայն:
7) Հողակցող սարքվածքների դիմադրության ստուգում: Հողակցիչի դիմադրությունը չպետք է գերազանցի 4 Օմ-ը, իսկ հողակցման հաղորդիչների դիմադրությունը (հողակցման կոնտուրի և սարքվածքի հողակցման ենթակա մանրամասի միջև) 0,1 Օմ-ը:
8) Վոլտ-ամպերային բնութագրի հանում: Էլեկտրազտիչի վոլտ-ամպերային բնութագիրը (դաշտերի պսակի հոսանքի կախումը կիրառված լարումից) հանվում է օդում և ծխագազի մեջ սույն բաժնի N 26 աղյուսակի ցուցումների համաձայն:
Աղյուսակ N 26
Ցուցումներ էլեկտրազտիչների բնութագրերի հանման համար
Փորձարկվող օբյեկտը Վոլտ-ամպերային բնութագրի հանման կարգը Պահանջներ փորձարկման արդյունքների նկատմամբ 1. Յուրաքանչյուր դաշտն օդում է։ Վոլտ-ամպերային բնութագիրը հանվում է լարման սահուն բարձրացման դեպքում հոսանքային բեռնվածքը մինչծակման մակարդակի անվանական արժեքի 5%-ից մինչև 10%-ով փոփոխական միջակայքով փոփոխելիս: Այն հանվում է էլեկտրոդների թափահարման մեխանիզմների և ծխաքարշերի անընդհատ աշխատելու ժամանակ։ Ծածկման լարումն էլեկտրոդների վրա պետք է լինի 40 կՎ-ից ոչ ցածր` պսակի անվանական հոսանքի դեպքում, 15 րոպեի ընթացքում։ 2. Էլեկտրազտիչի բոլոր դաշտերն օդում են։ Վոլտ-ամպերային բնութագիրը հանվում է լարման սահուն բարձրացման դեպքում հոսանքային բեռնվածքը մինչծակման մակարդակի անվանական արժեքի 5%-ից մինչև 10%-ով փոփոխական միջակայքով փոփոխելիս: Այն հանվում է էլեկտրոդների թափահարման մեխանիզմների և ծխաքարշերի անընդհատ աշխատելու ժամանակ։ Բնութագրերը, որոնք հանված են 24-ժամյա փորձարկման սկզբում և վերջում, չպետք է լինեն 10%-ից ավելի։ 3. Էլեկտրազտիչի բոլոր դաշտերը ծխագազի մեջ են։ Վոլտ-ամպերային բնութագրերը հանվում են մինչծակումնային լարման սահուն բարձրացման միջոցով (վերընթաց ճյուղ) հոսանքային բեռնվածքի` անվանականի 5-10%-ով փոփոխման միջակայքերով և լարման սահուն իջեցման դեպքում (վարընթաց ճյուղ) հոսանքային բեռնվածքի նույնպիսի միջակայքերով: Այն հանվում է շոգեկաթսայի անվանական բեռնվածքի և էլեկտրոդների թափահարման մեխանիզմների և խաքարշերի միացված վիճակում։
63. ԿՈՆԴԵՆՍԱՏՈՐՆԵՐ
Հզորության գործակցի բարձրացման համար 1 կՎ-ից ցածր լարմամբ կոնդենսատորները փորձարկվում են ըստ սույն գլխի 1, 4 և 5-րդ կետերի, հզորության գործակցի բարձրացման համար 1 կՎ և բարձր լարմամբ կոնդենսատորները` ըստ սույն գլխի 1, 2, 4 և 5-րդ կետերի: Կապի հզորության արտառման կոնդենսատորները և բաժանարարային կոնդենսատորները` ըստ սույն գլխի 1-4-րդ կետերի, գերլարումներից պաշտպանության և երկայնական փոխհատուցման կոնդենսատորները` ըստ սույն գլխի 1, 2, 4 և 5-րդ կետերի:
1) Մեկուսացման դիմադրության չափում: Կատարում են 2500 Վ լարման մեգաօմաչափով: Չափվում է մեկուսացման դիմադրությունն արտանցիչների միջև և կոնդենսատորի նկատմամբ:
2) Ունակության չափում: Կատարում են 15-300C ջերմաստիճանի դեպքում: Չափված ունակությունը պետք է համապատասխանի տեխնիկական անձնագրային տվյալներին` հաշվի առնելով չափման սխալանքը և սույն բաժնի N 27 աղյուսակում ներկայացված թույլտվածքները:
Աղյուսակ N 27
Կոնդենսատորի ունակության թույլատրելի փոփոխությունը
Անվանումը Կոնդենսատորի չափված Կապի հզորության արտառման և բաժանարարային կոնդենսատորներ ±5 Կոնդենսատորներ` հզորության գործակցի բարձրացման համար, ±5 Երկայնական փոխհատուցման կոնդենսատորներ +5
ունակության թույլատրելի
փոփոխությունը տեխնիկական
անձնագրային արժեքի նկատմամբ, %
և գերլարումներից պաշտպանության համար օգտագործվող կոնդենսատորներ
-10
3) Դիէլեկտրիկական կորուստների անկյան տանգենսի չափում: Չափումը կատարում են կապի կոնդենսատորների, հզորության արտառման կոնդենսատորների և լարման բաժանարարային կոնդենսատորի վրա:
tgd-ի չափված արժեքը չպետք է գերազանցի 0,3% (200C ջերմաստիճանի դեպքում):
4) Փորձարկում բարձրացված լարմամբ: Փորձարկում են մեկուսացումը հենամարմնի նկատմամբ` կոնդենսատորի արտանցիչների կարճ միակցված ժամանակ:
Փորձարկման լարման մեծությունը և կիրառման տևողությունը կանոնակարգվում են շահագործման հրահանգներով:
Արդյունաբերական հաճախականության փորձարկման լարումները զանազան կոնդենսատորների համար ներկայացված են ստորև`
|
Կոնդենսատորներ` հզորության |
Փորձարկման լարումը, |
|
0,22 |
2,1 |
|
0,38 |
2,1 |
|
0,5 |
2,1 |
|
1,05 |
4,3 |
|
3,15 |
15,8 |
|
6,3 |
22,3 |
|
10,5 |
30,0 |
|
Կոնդենսատորներ` գերլարումներից |
|
|
ՍՄՄ(СММ)-20/3-0,107 |
22,5 |
|
ԿՄ(КМ)2-10,5-24 |
22,5-25,0 |
Արդյունաբերական հաճախականության լարմամբ փորձարկումները կարող են փոխարինվել մեկ րոպեանոց փորձարկմամբ, նշված փորձարկման լարումների նկատմամբ կրկնակի մեծության ուղղված լարմամբ:
5) Կոնդենսատորների մարտկոցի փորձարկում եռապատիկ միացմամբ: Կատարում են անվանական լարման տակ միացմամբ, յուրաքանչյուր ֆազում հոսանքի արժեքների հսկմամբ: Հոսանքները զանազան ֆազերում մեկը մյուսից պետք է տարբերվեն 5%-ից ոչ ավելի:
64. ՓԱԿԱՆԱՅԻՆ ՊԱՐՊԻՉՆԵՐ (ՓՊ) ԵՎ ԳԵՐԼԱՐՈՒՄՆԵՐԻ ՍԱՀՄԱՆԱՓԱԿԻՉՆԵՐ (ԳԼՍ)
1) Պարպիչների և գերլարումների սահմանափակիչների դիմադրության չափում: Չափումը կատարվում է`
3 կՎ-ից պակաս անվանական լարմամբ պարպիչների և ԳԼՍ-ի վրա` 1 կՎ լարման մեգաօմաչափով,
3 կՎ և ավելի անվանական լարմամբ պարպիչների և ԳԼՍ-ի վրա` 2500 Վ լարման մեգաօմաչափով (ԳԼՍ-ի փորձարկումները, որոնք սույն բաժնում չեն նշված, պետք է կատարել շահագործման հրահանգներին համապատասխան):
ՌՎՆ(РВН) (լարման), ՌՎՊ(РВП) (ենթակայանային), ՌՎՕ(РВО) (թեթևացված), ՑԶ(CZ) (կայծային միջակայք) պարպիչների դիմադրությունը պետք է լինի 1000 ՄՕմ-ից ոչ պակաս:
ՌՎՍ(РВС) (կայանային) պարպիչների տարրերի դիմադրությունը պետք է համապատասխանի շահագործման հրահանգի պահանջներին:
ՌՎՄ(РВМ) (մագնիսական), ՌՎՌԴ(РВРД) (ձգված աղեղով), ՌՎՄԳ(РВМГ) (մագնիսական, ամպրոպային), ՌՎՄԿ(РВМК) (մագնիսական, փոխարկային) պարպիչների տարրերի դիմադրությունը պետք է համապատասխանի սույն բաժնի N 28 աղյուսակում նշված արժեքներին:
110 կՎ և բարձր անվանական լարմամբ գերլարումների սահմանափակիչների դիմադրությունը պետք է լինի 3000 ՄՕմ-ից ոչ պակաս և չպետք է լինի տեխնիկական անձնագրում ներկայացված տվյալներից ± 30%-ից ավելի:
Գործարկման գրանցիչով պարպիչների մեկուսացնող հիմնատակերի մեկուսացման դիմադրությունը չափվում է 2500 Վ լարման մեգաօմաչափով: Մեկուսացման չափման դիմադրության արժեքը պետք է լինի 1 ՄՕմ-ից ոչ պակաս:
Մինչև 3 կՎ անվանական լարմամբ գերլարումների սահմանափակիչների դիմադրությունը պետք է լինի 1000 ՄՕմ-ից ոչ պակաս:
3-ից մինչև 35 կՎ անվանական լարմամբ գերլարումների սահմանափակիչների դիմադրությունը պետք է համապատասխանի արտադրանքի շահագործման փաստաթղթերի պահանջներին:
Աղյուսակ N 28
Փականային պարպիչների դիմադրությունների արժեքները
Պարպիչի կամ տարրի տեսակը Դիմադրությունը, ՄՕմ ոչ պակաս ոչ ավելի ՌՎՄ-3 15 40 ՌՎՄ -6 100 250 ՌՎՄ -10 170 450 ՌՎՄ -15 600 2000 ՌՎՄ -20 1000 10000 ՌՎՄԳ պարպիչի տարրը` 110Մ 400 2500 150Մ 400 2500 220Մ 400 2500 600 400 2500 500 400 2500 ՌՎՄԿ-330, 500 պարպիչի հիմնական տարրը 150 500 ՌՎՄԿ-330, 500 պարպիչի փականային տարրը 0,010 0,035 ՌՎՄԿ-330 պարպիչի կայծային տարրը 600 1000
2) Փականային պարպիչների հաղորդականության հոսանքի չափում` ուղղված լարման դեպքում: Չափումը կատարում են շունտող դիմադրություններով պարպիչների մոտ: Շահագործման փաստաթղթերում համապատասխան ցուցումների բացակայության դեպքում հաղորդականության հոսանքները պետք է համապատասխանեն սույն բաժնի N 29 աղյուսակում ներկայացված նորմերին: Պարպիչի հաղորդականության հոսանքները 200C ջերմաստիճանի բերելու համար պետք է մտցնել ուղղում, որը հավասար է 3%-ի` յուրաքանչյուր 100C շեղման համար (200C-ից բարձր ջերմաստիճանի դեպքում ուղղումը բացասական է):
Աղյուսակ N 29
Փականային պարպիչների թույլատրելի հաղորդականության հոսանքներն ուղղված լարման դեպքում
Պարպիչի կամ Փորձարկման ուղղված լարումը, կՎ Հաղորդականության հոսանքը ոչ պակաս ոչ ավելի ՌՎՍ-15 16 200 340 ՌՎՍ-20 20 200 340 ՌՎՍ-33 32 450 620 ՌՎՍ-35 32 200 340 ՌՎՄ-3 4 380 450 ՌՎՄ-6 6 120 220 ՌՎՄ-10 10 200 280 ՌՎՄ-15 18 500 700 ՌՎՄ-20 28 500 700 ՌՎԷ-25Ծ 28 400 650 ՌՎՄԷ-25 32 450 600 ՌՎՌԴ-3 3 30 85 ՌՎՌԴ-6 6 30 85 ՌՎՌԴ-10 10 30 85 ՌՎՄԳ-110Մ, 150Մ, 220Մ, 330Մ, 400, 500 պարպիչի տարր 30 1000 1350 ՌՎՄԿ-330, 500 պարպիչի հիմնական տարր 18 1000 1350 ՌՎՄԿ-330, 500 պարպիչի կայծային տարր 28 900 1300
տարրի տեսակը
պարպիչի 200C ջերմաստիճանի
դեպքում, մկԱ
3) Գերլարումների սահմանափակիչների հաղորդականության հոսանքի չափում: Գերլարումների սահմանափակիչների հաղորդականության հոսանքի չափումը կատարվում է`
լարման 3-ից մինչև 110 կՎ դասի սահմանափակիչների համար` ամենամեծ, երկարատև թույլատրելի ֆազային լարում կիրառելիս,
լարման 150, 220 և 330 կՎ դասի սահմանափակիչների համար` 110 կՎ 50 Հց հաճախականության լարում կիրառելիս:
ԳԼՍ-ի հաղորդականության հոսանքների սահմանային արժեքները պետք է համապատասխանեն արտադրանքի շահագործման փաստաթղթերին:
4) Աշխատանքային լարման տակ գերլարումների սահմանափակչի հաղորդականության հոսանքի չափման համար հարմարանքի լրակազմի մեջ մտնող տարրերի ստուգում: Մեկուսացված արտանցիչի էլեկտրական ամրությունը ԳԼՍ 330 և 500 կՎ սահմանափակիչների համար ստուգում են շահագործման մեջ մտցնելուց առաջ:
Ստուգումը կատարում են 50 Հց հաճախականության լարման սահուն բարձրացմամբ` մինչև 10 կՎ, առանց պահաժամի:
ՀՀԿ (հենարանային հախճապակե կողավոր) մեկուսչի էլեկտրական ամրությունն ստուգում են 50 Հց հաճախականության 24 կՎ լարմամբ, 1 րոպեի ընթացքում:
Պաշտպանական ռեզիստորի հաղորդականության հոսանքը չափում են 50 Հց հաճախականության 0,75 կՎ լարմամբ: Հոսանքի արժեքը պետք է գտնվի 1,8-ից մինչև 4,0 մԱ սահմաններում:
65. ԽՈՂՈՎԱԿԱՅԻՆ ՊԱՐՊԻՉՆԵՐ
1) Պարպիչի մակերևույթի վիճակի ստուգում: Կատարում են զննման միջոցով` պարպիչը հենարանի վրա տեղակայելուց առաջ: Պարպիչի արտաքին մակերևույթը ճեղքեր և շերտաբաժանում չպետք է ունենա:
2) Արտաքին կայծային միջակայքի ստուգում: Կատարում են պարպիչի տեղակայման հենարանի վրա: Կայծային միջակայքը չպետք է լինի տրվածից:
3) Արտանետվածքի գոտիների դասավորության ստուգում: Կատարում են պարպիչները տեղակայելուց հետո: Արտանետվածքի գոտիները չպետք է փոխհատվեն և ընդգրկեն պարպիչի բաց ծայրի պոտենցիալից տարբեր պոտենցիալ ունեցող կոնստրուկցիայի և հաղորդալարերի տարրեր:
66. 1 կՎ-ԻՑ ԲԱՐՁՐ ԼԱՐՄԱՆ ԱՊԱՀՈՎԻՉՆԵՐ, ԱՊԱՀՈՎԻՉՆԵՐ-ԲԱԺԱՆԻՉՆԵՐ
1) Ապահովիչների հենարանային մեկուսացման ստուգում` արդյունաբերական հաճախականության բարձրացված լարմամբ: Փորձարկման լարումը սահմանվում է սույն բաժնի N 24 աղյուսակի համաձայն:
Նորմավորված փորձարկման լարման կիրառման տևողությունը` 1 րոպե: Ապահովիչների հենարանային մեկուսացման փորձարկումն արդյունաբերական հաճախականության բարձրացված լարմամբ կարող է կատարվել բջջի հաղորդաձողավորման մեկուսիչների փորձարկման հետ համատեղ:
2) Հալուն ներդիրների և հոսանասահմանափակիչ ռեզիստորների ամբողջականության ստուգում: Ստուգվում են`
օմաչափով` հալուն ներդիրի ամբողջականությունը,
տեսողական` կոթառի վրա մականշվածքի առկայությանը և հոսանքի համապատասխանությունը նախագծային տվյալներին:
3) Ապահովիչ-բաժանիչի կոթառի հոսանատար մասի հաստատուն հոսանքին ցուցատրված դիմադրության չափում: Դիմադրության չափված արժեքը պետք է համապատասխանի արտադրանքի շահագործման փաստաթղթերի տվյալին:
4) Ապահովիչ-բաժանիչի անջատվող հպակներում հպակային ճնշման չափում: Հպակային ճնշման չափված արժեքը պետք է համապատասխանի արտադրանքի շահագործման փաստաթղթերի տվյալին:
5) Ապահովիչ-բաժանիչի կոթառի աղեղմարիչ մասի վիճակի ստուգում: Չափվում է ապահովիչ-բաժանիչի աղեղմարիչ մասի ներքին տրամագիծը:
6) Ապահովիչ-բաժանիչի աշխատանքի ստուգում: Կատարում են ապահովիչ-բաժանիչի միացման և անջատման գործողության 5 շրջափուլ: Յուրաքանչյուր գործողության կատարում պետք է լինի հաջող` առաջին անգամից:
67. ՆԵՐԱՆՑԻՉՆԵՐ ԵՎ ՄԻՋԱՆՑԻԿ ՄԵԿՈՒՍԻՉՆԵՐ
1) Մեկուսացման դիմադրության չափում: Կատարում են 2,5 կՎ լարման մեգաօմաչափով թղթե-յուղային մեկուսացմամբ ներանցիչների մոտ: Չափվում է ներանցիչների չափիչ և վերջին շրջադիրների մեկուսացման դիմադրությունը միացնող ականոցի նկատմամբ: Մեկուսացման դիմադրությունը պետք է լինի 1000 ՄՕմ-ից ոչ պակաս:
2) Մեկուսացման tgd-ի և ունակության չափում: Կատարում են մեկուսացման tgd-ի և ունակության չափում`
ներանցիչների հիմնական մեկուսացման 10 կՎ լարման դեպքում,
չափիչ կոնդենսատորի (C2) մեկուսացման և (կամ) մեկուսացման վերջին շերտի (C3) 5 կՎ լարման դեպքում:
tgd-ի սահմանային արժեքները ներկայացված են սույն բաժնի N 30 աղյուսակում:
Աղյուսակ N 30
tgd-ի սահմանային արժեքները
Ներանցիչի մեկուսացման tgd-ի սահմանային արժեքները, 35 110-150 220 330 Ներանցիչի թղթե-յուղային մեկուսացում. հիմնական մեկուսացում (C1) և կոնդենսատորի մեկուսացում, ՊԻՆ(ПИН) (C2), մեկուսացման վերջին շերտերը (C3) - 0,7 0,6 0,6 Ներանցիչի պինդ մեկուսացում` յուղի լրալցվածքով, հիմնական մեկուսացում (C1) 1,0 1,0 - - Ներանցիչի թղթե-բակելիտային մեկուսացում` մածիկային լցվածքով, հիմնական մեկուսացում (C1) 3,0 - - -
տեսակը և գոտին
%, անվանական լարմամբ ներանցիչների համար, կՎ
-
1,2
1,0
0,8
Հիմնական մեկուսացման ունակության սահմանային մեծացումը կազմում է արտադրանքի շահագործման փաստաթղթերի չափվածի 5%-ը:
Նորմավորում են tgd-ի արժեքները` տրված 200C ջերմաստիճանի դեպքում: Բերումը կատարում են ներանցիչի շահագործման հրահանգին համապատասխան:
3) Փորձարկում արդյունաբերական հաճախականության բարձրացված լարմամբ: Փորձարկումը պարտադիր է մինչև 35 կՎ լարման ներանցիչների և միջանցիկ մեկուսիչների համար:
Փորձարկման լարումը միջանցիկ մեկուսիչների ներանցիչների համար, որոնք փորձարկում են առանձին կամ բաշխիչ սարքվածքում տեղակայելուց հետո, ընդունվում է սույն բաժնի N 31 աղյուսակի համաձայն:
Աղյուսակ N 31
Արդյունաբերական հաճախականության փորձարկման լարումը ներանցիչների եվ միջանցիկ մեկուսիչների համար
Անվանական լարումը, կՎ Փորձարկման լարումը, կՎ խեցեղեն ապարատային ներանցիչներ ապարատային ներանցիչներ և 3 25 24 21,6 6 32 32 28,8 10 42 42 37,8 15 57 55 79,5 20 68 65 58,5 35 100 95 85,5
մեկուսիչներ`
առանձին
փորձարկվող
և միջանցիկ մեկուսիչներ`
հիմնական խեցեղեն կամ
հեղուկ մեկուսացմամբ
միջանցիկ մեկուսիչներ`
հիմնական բակելիտային
մեկուսացմամբ
Ուժային տրանսֆորմատորների վրա տեղակայված ներանցիչները պետք է փորձարկել փաթույթների փորձարկման հետ մեկտեղ` ըստ նորմերի, որոնք ընդունված են ուժային տրանսֆորմատորների համար (սույն բաժնի N 12 աղյուսակ):
Նորմավորված փորձարկման լարման կիրառման տևողությունը ներանցիչների և միջանցիկ մեկուսիչների համար` 1 րոպե:
Ներանցիչը համարվում է փորձարկման դիմացած, եթե չեն նկատվում ծակում, վրածածկում, սահող պարպումներ և մասնակի պարպումներ յուղում (յուղային ներանցիչների մոտ), գազի անջատում, ինչպես նաև փորձարկումից հետո մեկուսացման տեղային տաքացում չի բացահայտված:
4) Ներանցիչների խցվածքների որակի ստուգում: Կատարում են 110 կՎ և բարձր լարման, թղթե-յուղային մեկուսացմամբ ոչ հերմետիկ յուղալեցուն ներանցիչների համար, դրանց մեջ յուղի 0,1 ՄՊա հավելյալ ճնշում ստեղծելու միջոցով: Փորձարկման տևողությունը` 30 րոպե: Փորձարկման ժամանակ յուղի արտահոսքի նշաններ չպետք է նկատվեն: Փորձարկման ժամանակահատվածում ճնշման թույլատրելի իջեցումը` 5%-ից ոչ ավելի:
5) Տրանսֆորմատորային յուղի փորձարկում յուղալեցուն ներանցիչներից: Կատարում են լցված յուղի փորձարկում` ըստ սույն բաժնի N 33 աղյուսակի 1-6-րդ կետերի:
Հերմետիկ ներանցիչների մոտ յուղի փորձարկում չի կատարվում:
68. ԿԱԽՈՎԻ ԵՎ ՀԵՆԱՐԱՆԱՅԻՆ ՄԵԿՈՒՍԻՉՆԵՐ
Հենարանաձողային մեկուսիչների համար արդյունաբերական հաճախականության բարձրացված լարմամբ փորձարկումը պարտադիր չէ:
Ապակե կախովի մեկուսիչների էլեկտրական փորձարկումներ չեն կատարվում: Դրանց վիճակը հսկվում է զննման միջոցով:
1) Կախովի և բազմատարր մեկուսիչների մեկուսացման դիմադրության չափում: Կատարում են 2500 Վ լարման մեգաօմաչափով` շրջապատող օդի միայն դրական ջերմաստիճանների դեպքում: Մեկուսիչները պետք է ստուգել բաշխիչ սարքվածքներում և էլեկտրահաղորդման գծերում դրանց տեղակայումից անմիջապես առաջ: Յուրաքանչյուր հախճապակե կախովի մեկուսչի կամ ցցաձողային մեկուսչի յուրաքանչյուր տարրի մեկուսացման դիմադրությունը պետք է լինի 300 ՄՕմ-ից ոչ պակաս:
2) Փորձարկումն արդյունաբերական հաճախականության բարձրացված լարմամբ`
ա) մեկ տարրով հենարանային մեկուսիչների: Ներքին և արտաքին տեղակայման մեկուսիչների համար փորձարկման լարման արժեքները ներկայացված են սույն բաժնի N 32 աղյուսակում,
բ) հենարանային բազմատարր և կախովի մեկուսիչների: Նոր տեղակայվող ցցաձողային և կախովի մեկուսիչները պետք է փորձարկել մեկուսչի յուրաքանչյուր տարրի վրա 50 կՎ լարում կիրառելով: Թույլատրվում է կախովի մեկուսիչների փորձարկում չկատարել:
Աղյուսակ N 32
Հենարանային մեկ տարրով մեկուսիչների փորձարկման լարումը
(փորձարկման նորմավորված լարման կիրառման տևողությունը` 1 րոպե)
|
Փորձարկվող |
Փորձարկման լարումը, կՎ, | |||||
|
3 |
6 |
10 |
15 |
20 |
35 | |
|
Առանձին փորձարկվող մեկուսիչներ |
25 |
32 |
42 |
57 |
68 |
100 |
|
Հաղորդաձողերի և ապարատների շղթաներում տեղակայվող մեկուսիչներ |
24 |
32 |
42 |
55 |
65 |
95 |
69. ՏՐԱՆՍՖՈՐՄԱՏՈՐԱՅԻՆ ՅՈՒՂ
1) Յուղի վերլուծությունը սարքվածքի մեջ լցնելուց առաջ: Գործարանից ստացված տրանսֆորմատորային թարմ յուղի յուրաքանչյուր խմբաքանակ սարքվածքի մեջ լցվելուց առաջ պետք է ենթարկվի միանգամյա փորձարկումների` ըստ սույն բաժնի N 33 աղյուսակում ներկայացված ցուցանիշների: Փորձարկումների ժամանակ ստացված արժեքներն աղյուսակում ներկայացված ցուցանիշներից ավելի վատ չպետք է լինեն:
2) Յուղի վերլուծություն սարքավորումը միացնելուց առաջ: Յուղի նմուշը սարքավորումը դրա տեղակայումից հետո լարման տակ միացնելուց առաջ ենթարկվում է կրճատված վերլուծության` սույն բաժնի համապատասխան գլուխներում նշված ծավալով և արտադրանքի շահագործման փաստաթղթերով:
70. ԷԼԵԿՏՐԱԿԱՆ ԱՊԱՐԱՏՆԵՐ, ԵՐԿՐՈՐԴԱՅԻՆ ՇՂԹԱՆԵՐ ԵՎ 1 ԿՎ-ԻՑ ՑԱԾՐ ԼԱՐՄԱՆ ԷԼԵԿՏՐԱՀԱՂՈՐԴԱԳԾԵՐ
Էլեկտրական ապարատները և պաշտպանության, կառավարման, ազդանշանման և չափման սխեմաների երկրորդային շղթաները փորձարկվում են սույն գլխում նախատեսված ծավալով: 1 կՎ-ից ցածր լարման էլեկտրահաղորդագծերը բաշխիչ կետերից մինչև էլեկտրաընդունիչներ փորձարկում են ըստ սույն գլխի 1-ին կետի:
1) Մեկուսացման դիմադրության չափում: Մեկուսացման դիմադրությունը պետք է լինի սույն բաժնի N 34 աղյուսակում ներկայացված մեծություններից ոչ պակաս:
2) Փորձարկումն արդյունաբերական հաճախականության բարձրացված լարմամբ: Փորձարկման լարումը պաշտպանության, կառավարման, ազդանշանման և չափիչ սխեմաների երկրորդային շղթաների համար բոլոր միացված ապարատների (ինքնավար անջատիչներ, մագնիսական գործարկիչներ, հպարկիչներ, ռելեներ, սարքավորումներ և այլն) հետ միասին` 1 կՎ: Նորմավորված փորձարկման լարման կիրառման տևողությունը` 1 րոպե:
3) Ավտոմատ անջատիչների գործողության ստուգում
ա) մեկուսացման դիմադրության ստուգում: Կատարում են 400 Ա և ավելի անվանական հոսանքի անջատիչների մոտ: Մեկուսացման դիմադրության արժեքը` 1 ՄՕմ-ից ոչ պակաս.
բ) շղթայաբաժանարարների գործողության ստուգում: Ստուգվում է ակնթարթային գործողության շղթայազատիչի գործողությունը: Անջատիչը պետք է գործի անջատիչի գործարկման հոսանքի վերին արժեքի 1,1 Ա-ից ոչ ավելի հոսանքի դեպքում` տրված արտադրանքի շահագործման փաստաթղթերում:
Այլ էլեկտրատեղակայանքներում փորձարկվում են բոլոր մուտքային և հատվածավոր անջատիչները, վթարային լուսավորության, հրդեհային ազդանշանման և ինքնավար հրդեհամարման անջատիչները, ինչպես նաև մնացած անջատիչների առնվազն 1%-ը:
Ստուգումը կատարում են արտադրանքի շահագործման փաստաթղթերին համապատասխան: Սահմանված պահանջները չբավարարող անջատիչների բացահայտման դեպքում լրացուցիչ ստուգվում են անջատիչները` կրկնապատկված թվով:
Աղյուսակ N 33
Տրանսֆորմատորային յուղի որակի ցուցանիշների սահմանային թույլատրելի արժեքները
Յուղի որակի ցուցանիշը և փորձարկման Յուղի որակի ցուցանիշների թարմ չոր յուղը սարքվածքի մեջ լցնելուց առաջ յուղը սարքվածքի մեջ լցնելուց անմիջականորեն հետո 1. Ծակման լարումը էլեկտրասարքվածքում, կՎ, ոչ պակաս` մինչև 15 կՎ ներառյալ մինչև 35 կՎ ներառյալ 60-ից մինչև 150 կՎ 220-ից մինչև 500 կՎ 30 25 2. Թթվային թիվը էլեկտրասարքվածքում` ըստ ԳՕՍՏ 5985, ԿՕՆ (КОН) յուղի 1գ-ի համար, ոչ ավելի` մինչև 220 կՎ 220 կՎ-ից բարձր 0,02 0,02 3. Բռնկման ջերմաստիճանը փակ հալքանյութի մեջ, 0C, ոչ ցածր 135 135 4. Խոնավապարունակությունը` ըստ ԳՕՍՏ 7822 ստանդարտի, զանգվածի % (գ/տ), ոչ ավելի ԳՕՍՏ 1547 որակական` 0,001(10) 0,001(10) 5. Մեխանիկական խառնուրդների պարունակությունն էլեկտրասարքվածքում` ըստ ԳՕՍՏ 6370 ստանդարտի և ԳՕՍՏ 17216 ստանդարտի` մինչև 220 կՎ ներառյալ 220 կՎ-ից բարձր, % ոչ ավելի Բացակայում են Բացակայում են 6. Դիէլեկտրիկական կորուստների անկյան տանգենսը 900C դեպքում, %, ոչ ավելի 1,7 2,0 7. Ջրում լուծվող թթուները և հիմքերը` ըստ ԳՕՍՏ 6307 ստանդարտի Բացակայում են Բացակայում են 8. Հակաօքսիդացման հավելանյութի պարունակությունը` ըստ ԳՕՍՏ 6307 ստանդարտի, %, ոչ ավելի 0,2 0,18 9. Պնդացման ջերմաստիճանը` ըստ ԳՕՍՏ 20287 ստանդարտի, 0C ոչ բարձր արկտիկական յուղ մինուս 45 - 10. Ծավալի գազապարունակությունը, %, ոչ ավելի 0,5 1,0 11. Կայունություն օքսիդացման դեմ` ըստ ԳՕՍՏ 981 ստանդարտի, 110-ից մինչև 220 կՎ ուժային և չափիչ տրանսֆորմատորների համար` 0,01
մեթոդի ստանդարտի համարը
արժեքները
35
60
65
30
55
60
0,01
0,01
ա) պատյանային կամ ազոտային պաշտպանությամբ տրանսֆորմատորներ, հերմետիկ յուղալեցուն ներանցիչներ և չափիչ տրանսֆորմատորներ
բ) առանց յուղի հատուկ պաշտպանության ուժային և չափիչ տրանսֆորմատորներ, ոչ հերմետիկ ներանցիչներ
գ) էլեկտրասարքվածք, շահագործման փաստաթղթերում տվյալ ցուցանիշի քանակական որոշման նկատմամբ պահանջների բացակայության դեպքում
0,001(10)
0,002(20)
Բացակայում է
0,001(10)
0,0025(25)
Բացակայում է
0,0008
0,0008
մինուս 60
ա) նստվածքի պարունակությունը, %, ոչ ավելի
բ) օքսիդացված յուղի թթվային թիվը, մգ ԿՕՆ 1գ յուղի համար, ոչ ավելի
0,1
Աղյուսակ N 34
Մեկուսացման դիմադրության թույլատրելի մեծությունները
| Փորձարկվող տարրը | Մեգաօմաչափի լարումը, Վ |
Մեկուսացման դիմադրության ամենափոքր թույլատրելի արժեքը, ՄՕմ |
| 1. Հաստատուն հոսանքի հաղորդաձողեր կառավարման վահանների վրա և բաշխիչ սարքավորումներում (անջատված շղթաների դեպքում) |
500-1000 |
10 |
| 2. Յուրաքանչյուր միացություն երկրորդային շղթաներ և անջատիչների շարժաբերների սնման շղթաներ1 |
500-1000 |
1 |
| 3. Կառավարման, պաշտպանության, ավտոմատիկայի և չափումների շղթաներ, ինչպես նաև հաստատուն հոսանքի մեքենաների գրգռման շղթաներ` միակցված ուժային շղթաներին |
500-1000 |
1 |
| 4. Երկրորդային շղթաներ և տարրեր` առանձին աղբյուրներից կամ բաժանիչ տրանսֆորմատորներից սնելու դեպքում, հավաքված 60 Վ և ցածր2 աշխատանքային լարումների համար |
500 |
0,5 |
| 5. Էլեկտրահաղորդագծեր, այդ թվում` լուսավորության ցանցեր3 |
1000 |
0,5 |
| 6. Բաշխիչ սարքվածքներ4, վահաններ և հոսանքատարներ (հաղորդաձողալարեր) |
500-1000 |
0,5 |
|
1 Չափումը կատարում են բոլոր միակցված ապարատների հետ (շարժաբերների կոճեր, հպարկիչներ, գործարկիչներ, ինքնավար անջատիչներ, ռելեներ, սարքեր, հոսանքի և լարման տրանսֆորմատորների երկրորդային փաթույթներ և այլն): | ||
4) Ավտոմատ անջատիչների և հպարկիչների աշխատանքի ստուգում` օպերատիվ հոսանքի իջեցված և անվանական լարումների դեպքում: Բազմակի միացումների անջատումներով ինքնավար անջատիչների և հպարկիչների փորձարկման ժամանակ գործարկման լարման արժեքը և գործողությունների քանակը ներկայացված են սույն բաժնի N 35 աղյուսակում:
Աղյուսակ N 35
Հպարկիչների եվ ինքնավար անջատիչների փորձարկումը բազմակի միացումներով եվ անջատումներով
|
Գործողությունը |
Օպերատիվ հոսանքի անվանական լարումը, % |
Գործողությունների քանակը |
| Միացում Անջատում |
90 |
5 |
5) Պաշտպանական անջատման սարքվածքներ, դիֆերենցիալ հոսանքի անջատիչներ (ԴՀԱ): Ստուգվում են արտադրանքի շահագործման փաստաթղթերին համապատասխան:
6) Ռելեական սարքվածքի ստուգում: Պաշտպանության, կառավարման, ավտոմատիկայի և ազդանշանման ռելեների և այլ սարքվածքների ստուգումը կատարում են շահագործման փաստաթղթերին համապատասխան: Աշխատանքային նախադրվածքներով ռելեների գործարկման սահմանները պետք է համապատասխանեն հաշվարկային տվյալներին` սահմանված շահագործման փաստաթղթերով:
7) Լրիվ հավաքված սխեմաների ճիշտ գործելու ստուգում` օպերատիվ հոսանքների տարբեր արժեքների դեպքում: Սխեմաների բոլոր տարրերը պետք է հուսալի գործեն նախագծով նախատեսված հաջորդականությամբ` սույն բաժնի N 36 աղյուսակում ներկայացված օպերատիվ հոսանքի արժեքների դեպքում:
Աղյուսակ N 36
Օպերատիվ հոսանքի լարումը, որի դեպքում պետք է ապահովվի սխեմաների բնականոն գործառումը
Փորձարկվող օբյեկտը Օպերատիվ հոսանքի անվանական լարումը, % Լրացուցիչ ցուցումներ Պաշտպանության և ազդանշանման սխեմաներ 1 կՎ-ից բարձր լաման կայանքներում 80, 100 90, 100 - - - 90, 100 85, 100, 110
Կառավարման սխեմաներ 1 կՎ-ից բարձր լարման կայանքներում`
փորձարկում միացման վրա
փորձարկում, սակայն անջատման վրա
80, 100
Ռելեահպարկչային սխեմաներ
1 կՎ-ից ցածր լարման կայանքներում
Կոճակ-մագնիսական թողարկիչ հասարակ սխեմաների համար իջեցված լարման տակ ստուգում չի կատարվում։
Անհպակային սխեմաներ տրամաբանական տարրերի վրա
Լարման փոփոխությունը կատարում են սնման բլոկի մուտքում։
71. ԿՈՒՏԱԿԻՉ ՄԱՐՏԿՈՑՆԵՐ
1) Մեկուսացման դիմադրության չափում: Չափումը կատարում են վոլտաչափով (վոլտաչափի ներքին դիմադրությունը պետք է ճշգրիտ հայտնի լինի, դասը` 1-ից ոչ պակաս):
Լրիվ հանված բեռնվածքի դեպքում պետք է չափված լինի մարտկոցի լարումը սեղմակների վրա և յուրաքանչյուր սեղմակի ու հողի միջև:
Մեկուսացման R դիմադրությունը հաշվարկում են հետևյալ բանաձևով`
R = Rն((U/U1+U2) - 1),
որտեղ` Rն-ը վոլտաչափի ներքին դիմադրությունն է, U-ն լարումն է մարտկոցների սեղմակների վրա, U1-ը և U2-ը լարումներն են դրական սեղմակի ու հողի, և բացասական սեղմակի ու հողի միջև:
Մարտկոցի մեկուսացման դիմադրությունը պետք է լինի ոչ պակաս`
|
անվանական լարումը, Վ |
24 |
48 |
110 |
220 |
|
դիմադրությունը, կՕմ |
60 |
60 |
60 |
150 |
2) Ձևավորված կուտակիչ մարտկոցի ունակության ստուգում: Լրիվ լիցքավորված կուտակիչները լիցքավորվում են 3 կամ 10-ժամյա ռեժիմի հոսանքով:
Կուտակիչ մարտկոցի ունակությունը` բերված 250C ջերմաստիճանին, պետք է համապատասխանի արտադրանքի շահագործման փաստաթղթերի տվյալներին:
3) Էլեկտրոլիտի ստուգում: Յուրաքանչյուր տարրի էլեկտրոլիտի խտությունը մարտկոցի լիցքավորման և լիցքաթափման վերջում պետք է համապատասխանի արտադրանքի շահագործման փաստաթղթերի տվյալներին: Էլեկտրոլիտի ջերմաստիճանը լիցքավորման ժամանակ 400C-ից բարձր չպետք է լինի:
4) Էլեկտրոլիտի քիմիական վերլուծություն: Թթվային կուտակիչ մարտկոցները լցնելու համար էլեկտրոլիտը պետք է պատրաստվի ըստ ԳՕՍՏ 667 ստանդարտի Ա (Ը) տեսակի կուտակչային ծծմբաթթվից և թորած ջրից` ըստ ԳՕՍՏ 6709 ստանդարտի:
Խառնուրդների և չցնդող մնացորդների պարունակությունը` նոսրացված էլեկտրոլիտի մեջ, չպետք է գերազանցի սույն բաժնի N 37 աղյուսակում ներկայացված արժեքները: Թորած ջրի համար թույլատրվում է նույն խառնուրդների առկայությունը, որը թույլատրում է ԳՕՍՏ 667 ստանդարտով սահմանված կուտակչային թթվի համար, բայց 10 անգամ փոքր կոնցենտրացիայով:
Աղյուսակ N 37
Կուտակիչ մարտկոցի համար ծծմբական թթվի եվ էլեկտրոլիտի բնութագրերի նորմերը
Ցուցանիշը Նորմերը` բարձր տեսակի ծծմբական թթվի համար Նորմերը` էլեկտրոլիտի համար նոսրացված թարմ թթու մարտկոցների մեջ լցնելու համար էլեկտրոլիտ աշխատող մարտկոցից 1. Արտաքին տեսք թափանցիկ թափանցիկ 2. Գունավորման ինտենսիվությունը (որոշում են գունաչափական եղանակով), մլ 0,6 0,6 1 3. Խտությունը 200C ջերմաստիճանում, գ/սմ3 1,83-1,84 1,18 ± 0,0005 1,2 ± 1,21 4. Երկաթի պարունակությունը, %, ոչ ավելի 0,005 0,006 0,008 5. Չցնդող մնացորդի պարունակությունը շիկացումից հետո, %, ոչ ավելի 0,02 0,03 - 6. Ազոտի օքսիդների պարունակությունը, %, ոչ ավելի 0,00003 0,00005 - 7. Մկնդեղի պարունակությունը, %, ոչ ավելի 0,00005 0,00005 - 8. Քլորային միացությունների պարունակությունը, %, ոչ ավելի 0,0002 0,0003 0,0005 9. Մանգանի պարունակությունը, %, ոչ ավելի 0,00005 0,00005 - 10. Պղնձի պարունակությունը, %, ոչ ավելի 0,0005 0,0005 - 11. Պերմանգանաթթվային կալիումը վերականգնող նյութերի պարունակությունը, ԿՄ ՆՕ4 լուծույթի, 0,01H մլ, ոչ ավելի 4,5 - - 12. Ծանր մետաղների գումարային պարունակությունը` վերահաշված կապարի վրա, %, ոչ ավելի 0,01 - -
5) Տարրերի վրա լարման չափում: Լիցքաթափման վերջում լարումը հետ մնացող տարրերի վրա չպետք է լինի ավելի, քան մնացած տարրերի միջին լարման 1-1,5%-ով, իսկ հետ մնացող տարրերի թիվը պետք է լինի մարտկոցում դրանց ընդհանուր թվի 5%-ից ոչ ավելի: Լիցքաթափման վերջում լարումը պետք է համապատասխանի արտադրանքի շահագործման փաստաթղթերի տվյալներին:
72. ՀՈՂԱԿՑՈՂ ՍԱՐՔՎԱԾՔՆԵՐ
1) Հողակցող արքվածքների տարրերի ստուգում: Ստուգումը պետք է կատարել հողակցող սարքվածքի տարրերը զննելու միջոցով` դրա մատչելիության սահմաններում: Հողակցող սարքվածքների տարրերի հատույթները և հաղորդականությունները, ներառյալ գլխավոր հողակցող հաղորդաձողը, պետք է համապատասխանեն սույն ՏԿ-ի պահանջներին և շահագործման փաստաթղթերով սահմանված տվյալներին:
2) Հողակցիչների և հողակցող տարրերի միջև շղթայի ստուգում: Պետք է ստուգել հաղորդիչների և դրանց միացումների ու կցումների հատույթները, ամբողջականությունը և ամրությունը: Սարքերը հողակցման շղթային միացնող հողակցիչ հաղորդիչներում չպետք է լինեն խզումներ և տեսանելի արատներ: Եռակցման հուսալիությունն ստուգվում է մուրճի հարվածով:
3) Ծակվող ապահովիչների վիճակի ստուգում 1 կՎ-ից ցածր լարման էլեկտրատեղակայանքներում: Ծակվող ապահովիչները պետք է լինեն սարքին և համապատասխանեն էլեկտրատեղակայանքի անվանական լարմանը:
4) Ֆազ-զրո շղթայի ստուգում` 1 կՎ-ից ցածր, ՏՆ համակարգով էլեկտրատեղակայանքներում: Ստուգումը կատարում են հետևյալ եղանակներից մեկով`
հենամարմնի կամ զրոյական պաշտպանական հաղորդչի հետ միաֆազ միակցման հոսանքի անմիջական չափմամբ,
ֆազ-զրոյական պաշտպանական հաղորդչի շղթայի լրիվ դիմադրության չափմամբ, միաֆազ միակցման հոսանքի հետագա հաշվումով:
Հողին միաֆազ միակցման հոսանքի պատիկությունն ապահովիչի կամ ինքնավար անջատիչի շղթայազատիչի անվանական հոսանքի նկատմամբ պետք է լինի շահագործման փաստաթղթերում ներկայացված արժեքից ոչ պակաս:
5) Հողակցող սարքվածքների դիմադրության չափում: Հողակցող սարքվածքների դիմադրության արժեքները դրանց միացված բնական հողակցիչների հետ միասին պետք է բավարարեն սույն ՏԿ-ի համապատասխան բաժիններում և սույն բաժնի N 38 աղյուսակում ներկայածված արժեքները:
Աղյուսակ N 38
Հողակցող սարքվածքների դիմադրությունների ամենամեծ թույլատրելի արժեքները
Էլեկտրատեղակայանքի տեսակը Էլեկտրատեղակայանքի բնութագիրը Դիմադրու-թյունը, Օմ 1. 1 կՎ-ից բարձր լարման ենթակայաններ և բաշխիչ կետեր խուլ հողակցված և արդյունավետ հողակցված չեզոքով էլեկտրական ցանցերի էլեկտրատեղակայանքներ 0,5 մեկուսացված չեզոքով, աղեղմարիչ ռեակտորի կամ ռեզիստորի միջոցով հողակցված չեզոքով էլեկտրական ցանցերի էլեկտրատեղակայանքներ 250/Ih 2. 1 կՎ-ից բարձր լարման օդային էլեկտրահաղորդման գծեր ՕԳ հենասյուները հողակցող սարքվածքներ բնահողի r, Օմ•մ տեսակարար դիմադրությամբ. մինչև 100 100-ից ավելի մինչև 500 500-ից ավելի մինչև 1000 1000-ից ավելի մինչև 5000 5000-ից ավելի 10 3. 1 կՎ-ից ցածր լարման էլեկտրատեղակայանքներ խուլ հողակցված չեզոքով (կամ միջին կետով) էլեկտրական ցանցերում սնման աղբյուրով էլեկտրատեղակայանքներ (ՏՆ համակարգ)` չեզոքին անմիջապես մոտ հաշվի առնելով բնական հողակցիչները և հեռացող գծերի կրկնական հողակցիչները սնման աղբյուրի մեկուսացված չեզոքով (կամ միջին կետով) էլեկտրական ցանցերում էլեկտրատեղակայանքներ (ԻՏ համակարգ) 15/30/60 4. 1 կՎ-ից ցածր լարման օդային էլեկտրահաղորդման գծեր ՕԳ հենասյուների հողակցող սարքվածքներ ՊԵՆ (ՊԵ)` հաղորդչի կրկնական հողակցիչով 30 Ih - հողին միակցման հաշվարկային հոսանք, համապատասխանաբար 660, 380, 220 Վ գծային լարումների դեպքում: I - հողին միակցման լրիվ հոսանք:
15
20
30
r 6•10-3
2/4/8
50/I, 4 Օմ-ից ավելի չի պահանջվում։
6) Հպման լարման չափում (ըստ հպման լարման նորմերի իրականացված էլեկտրատեղակայանքներում): Հպման լարումը չափվում է, երբ բնական հողակցիչները միացված են:
Հպման լարումը չափվում է հսկիչ կետերում, որոնցում այդ արժեքները որոշված են հաշվարկով:
73. ՈՒԺԱՅԻՆ ՄԱԼՈՒԽԱՅԻՆ ԳԾԵՐԸ
1 կՎ-ից ցածր լարման ուժային մալուխային գծերը փորձարկում են ըստ սույն գլխի 1-ին, 2-րդ, 7-րդ և 13-րդ կետերի, 1 կՎ-ից բարձր և մինչև 35 կՎ լարմանը` ըստ սույն գլխի 1-3-րդ, 6-րդ, 7-րդ, 11-րդ և 13-րդ կետերի, 110 կՎ և բարձր լարմանը` սույն գլխում նախատեսված լրիվ ծավալով:
1) Մալուխի ջղերի ամբողջականության և ֆազավորման ստուգում: Ստուգում են մալուխի միացվող ջղերի ամբողջականությունը և ֆազերի նշանակումների համընկնումը:
2) Մեկուսացման դիմադրության չափում: Կատարում են 2,5 կՎ լարման մեգաօմաչափով: 1 կՎ-ից ցածր լարման ուժային մալուխների մեկուսացման դիմադրությունը պետք է լինի 0,5 ՄՕմ-ից ոչ պակաս: 1 կՎ-ից բարձր ուժային մալուխների մեկուսացման դիմադրությունը չի նորմավորվում: Չափումը պետք է կատարել բարձրացված լարմամբ մալուխների փորձարկումից առաջ և հետո:
3) Փորձարկում` ուղղված հոսանքի բարձրացված լարմամբ: Փորձարկման լարումն ընդունվում է սույն բաժնի N 39 աղյուսակին համապատասխան: Առանց զրահի (էկրանի), պլաստմասսայե մեկուսացմամբ միաջիղ մալուխների փորձարկումներ, որոնք անցկացվում են օդով, ուղղված լարմամբ չեն ստուգվում:
Աղյուսակ N 39
Ուղղված հոսանքի փորձարկման լարումն ուժային մալուխների համար
|
Թղթե մեկուսացմամբ մալուխները, կՎ լարման | ||||||||||
|
2 |
3 |
6 |
10 |
20 |
35 |
110 |
150 |
220 |
330 |
500 |
|
12 |
18 |
36 |
60 |
100 |
175 |
285 |
347 |
510 |
670 |
865 |
|
Պլաստմասսայե մեկուսացմամբ մալուխները, կՎ լարման | ||||||||||
|
1 |
3 |
6 |
10 |
110 | ||||||
|
5,0 |
15 |
36 |
60 |
285 | ||||||
|
Ռետինե մեկուսացմամբ մալուխները, կՎ լարման | ||||||||||
|
3 |
6 |
10 | ||||||||
|
6 |
12 |
20 | ||||||||
Աղյուսակ N 40
Հոսակորստի հոսանքները եվ անհամաչափության գործակիցները` ուժային մալուխների համար
|
Մալուխների |
Փորձարկման |
Հոսակորուստների հոսանքների |
Անհամաչափության |
|
6 |
36 |
0,2 |
8 |
|
10 |
60 |
0,5 |
8 |
|
20 |
100 |
1,5 |
10 |
|
35 |
175 |
2,5 |
10 |
|
110 |
285 |
Չի նորմավորվում։ |
Չի նորմավորվում։ |
|
150 |
347 |
Չի նորմավորվում։ |
Չի նորմավորվում։ |
|
220 |
610 |
Չի նորմավորվում։ |
Չի նորմավորվում։ |
|
330 |
670 |
Չի նորմավորվում։ |
Չի նորմավորվում։ |
|
500 |
865 |
Չի նորմավորվում։ |
Չի նորմավորվում։ |
Մինչև 35 կՎ լարման, թղթե և պլաստմասսայե մեկուսացմամբ մալուխների համար լրիվ փորձարկման լարման կիրառման տևողությունը կազմում է 10 րոպե:
Ռետինե մեկուսացմամբ, 3-ից մինչև 10 կՎ լարման մալուխների համար լրիվ փորձարկման լարման կիրառման տևողությունը կազմում է 5 րոպե: Ռետինե մեկուսացմամբ, 1 կՎ-ից ցածր լարման մալուխները բարձրացված լարմամբ փորձարկումների չեն ենթարկվում:
110-ից մինչև 500 կՎ լարման մալուխների համար փորձարկման լրիվ լարման կիրառման տևողությունը կազմում է 15 րոպե:
Թույլատրելի հոսակորստի հոսանքները, կախված փորձարկման լարումից և անհամաչափության գործակցի թույլատրելի արժեքներից, հոսակորստի հոսանքները չափելիս, ներկայացված են սույն բաժնի N 40 աղյուսակում: Հոսակորստի հոսանքի բացարձակ արժեքը խոտանման ցուցանիշ չի հանդիսանում: Բավարար մեկուսացմամբ մալուխային գծերը պետք է ունենան հոսակորստի հոսանքների կայուն արժեքներ: Փորձարկում կատարելուց հոսակորստի հոսանքը պետք է փոքրանա: Եթե հոսակորստի հոսանքի փոքրացում տեղի չի ունենում, ինչպես նաև դրա մեծացման և անկայունության դեպքում փորձարկումը կատարել մինչև արատի բացահայտումը, բայց 15 րոպեից ոչ ավելի:
Մալուխների խառն անցկացման դեպքում ամբողջ մալուխային գծի համար որպես փորձարկման լարում ընտրել փորձարկման լարումներից ամենափոքրը` ըստ սույն բաժնի N 39 աղյուսակի:
4) Փորձարկում 50 Հց հաճախականության փոփոխական հոսանքի լարմամբ: Այդպիսի փորձարկում թույլատրվում է 110-ից մինչև 500 կՎ լարման մալուխային գծերի համար` ուղղված լարմամբ փորձարկման փոխարեն:
Փորձարկումը կատարում են (1,00-1,73)Uան լարմամբ:
Թույլատրվում է փորձարկումներ կատարել մալուխային գիծը Uան անվանական լարումը միացնելու միջոցով: Փորձարկման տևողությունը` փաստաթղթերի համաձայն:
5) Ջղերի ակտիվ դիմադրության որոշում: Կատարում են 20 կՎ և բարձր գծերի համար: Մալուխային գծի ջղերի ակտիվ դիմադրությունը հաստատուն հոսանքին, բերված 1 մմ2 հատույթին, 1 մ երկարությանը և 200C ջերմաստիճանին, պետք է լինի 0,0179 Օմ-ից ոչ ավելի` պղնձե ջիղի համար, և 0,0294 Օմ-ից ոչ ավելի` ալյումինե ջիղի համար: Չափված դիմադրությունը (բերված տեսակարար արժեքին) կարող է տարբերվել նշված արժեքներից 5%-ից ոչ ավելի:
6) Ջղերի էլեկտրական աշխատանքային ունակության որոշում: Կատարում են 20 կՎ և բարձր գծերի համար: Չափած ունակությունը չպետք է լինի շահագործման փաստաթղթերով սահմանված նորմերից 5%-ից ավելի:
7) Թափառող հոսանքներից պաշտպանության ստուգում: Կատարում են տեղադրված կատոդային պաշտպանությունները գործելու ստուգումը:
8) Չլուծված օդի առկայության փորձարկում (ներծծման փորձարկում): Կատարում են յուղալեցուն 110-330 կՎ մալուխային գծերի համար: Չլուծված օդի պարունակությունը յուղի մեջ պետք է լինի 0,1%-ից ոչ ավելի:
9) Լրասնուցող ագրեգատների ծայրային կցորդիչների ինքնավար տաքացման փորձարկում: Կատարում են յուղալեցուն 110-ից մինչև 330 կՎ մալուխային գծերի համար:
10) Հակակոռոզիոն պաշտպանությունների ստուգում: Գծերը շահագործման ընդունելիս և շահագործման ընթացքում ստուգվում է հակակոռոզիոն պաշտպանությունների աշխատանքը`
մետաղե պատյանով մալուխների համար, որոնք անցկացված են միջին և ցածր կոռոզիոն ակտիվության բնահողերում (բնահողի տեսակարար դիմադրությունը` 20 Օմ/մ-ից բարձր)` հողի մեջ հոսակորստի հոսանքի միջին օրական 0,15 մԱ/դմ2-ից մեծ խտության դեպքում,
մետաղե պատյանով մալուխների համար, որոնք անցկացված են բարձր քայքայման ակտիվության բնահողերում (բնահողի տեսակարար դիմադրությունը 20 Օմ/մ-ից փոքր է)` հողի մեջ հոսակորստի հոսանքի միջին օրական ցանկացած խտության դեպքում,
չպաշտպանված թաղանթով և քայքայված զրահով և պաշտպանական ծածկույթներով մալուխների համար,
բարձր ճնշման մալուխների պողպատե խողովակաշարի համար` անկախ բնահողի ագրեսիվությունից և մեկուսչային ծածկույթների տեսակից:
Ստուգման ժամանակ չափում են պոտենցիալները և հոսանքները մալուխների թաղանթներում և էլեկտրապաշտպանության հարաչափերում (կատոդային կայանի հոսանքը և լարումը, դրենաժի հոսանքը)` ստորգետնյա էներգետիկական կառույցները քայքայումից էլեկտրաքիմիական պաշտպանության շահագործման հրահանգների ցուցումներին համապատասխան:
Բնահողերի և բնական ջրերի քայքայիչ ակտիվության գնահատումը պետք է կատարել ԳՕՍՏ 9.602 ստանդարտին համապատասխան:
11) Յուղի և մեկուսչային հեղուկի բնութագրերի որոշում: Որոշումը կատարում են 110-500 կՎ լարման, յուղալեցուն մալուխների բոլոր տարրերի համար և պլաստմասսայե մեկուսացմամբ 110 կՎ լարման մալուխների ծայրային կցորդիչների (ԿՌՈՒԷ(КРУЭ) խցիկների և տրանսֆորմատորների ներանցումների) համար:
Ս(C)-220, ՄՆ(MH)-3, ՄՆ(MH)-4 մակնիշի սինթետիկ յուղերի և ՊՄՍ(ПМС) մակնիշի մեկուսչային հեղուկի (Ս-սիլիկոն, Մ-մեթիլ, Ն-նիտրոբենզոլ, Պ-պոլի) նմուշները պետք է բավարարեն սույն բաժնի NN 41 և 2 աղյուսակների պահանջների նորմերին: Յուղերի փորձարկումը, որոնք չեն նշված N 41 աղյուսակում, կատարել շահագործման փաստաթղթերի պահանջներին համապատասխան:
Եթե ՄՆ-4 յուղի էլեկտրական ամրության արժեքը և գազազերծման աստիճանը համապատասխանում են նորմերին, իսկ tgd-ի արժեքները գերազանցում են սույն բաժնի N 42 աղյուսակում նշված նորմերին, ապա յուղի նմուշը լրացուցիչ պահում են 1000C ջերմաստիճանում` 2 ժ, պարբերաբար չափում են tgd-ն: tgd-ի արժեքը փոքրանալիս յուղի նմուշը պահում են 1000C ջերմաստիճանում` մինչև կայունացված արժեքի ստացումը, որն ընդունում են որպես հսկիչ մեծություն: Համարիչում նշված է Ս-220 մակնիշի, հայտարարում` ՄՆ-3, ՄՆ-4 և ՊՄՍ մակնիշների յուղերի արժեքների համար:
12) Հողակցման դիմադրության չափում: Կատարում են բոլոր լարումների գծերի վրա ծայրային ամրակցումների, իսկ 110-ից մինչև 330 կՎ գծերի վրա, բացի դրանցից, մալուխային հորերի մետաղե կառուցվածքների և ենթասնման կետերի համար:
Աղյուսակ N 41
Ս-220, ՄՆ-3, ՄՆ-4 մակնիշների յուղերի եվ ՊՄՍ մակնիշի մեկուսչային հեղուկի որակի ցուցանիշների նորմերը
Յուղի որակի ցուցանիշը Նոր մտցվող գծի համար Ս-220, ՄՆ-3, ՊՄՍ Ծակման լարումն ստանդարտ անոթի մեջ, կՎ, ոչ պակաս 45 45 35 Գազազերծման աստիճանը (լուծված գազ), ոչ ավելի 0,5 0,1 -
5ՌԱ
ՄՆ-4
Աղյուսակ N 42
Յուղի եվ մեկուսչային հեղուկի դիէլեկտրիկական կորուստների անկյան տանգենսը (1000C-ի դեպքում), %, ոչ ավելի, մալուխների համար
|
Լարումը, կՎ | ||
|
110 |
150-220 |
330 |
|
0,5/0,8 |
0,5/0,8 |
0,5/- |
74. 1 ԿՎ-ԻՑ ԲԱՐՁՐ ԼԱՐՄԱՆ ԷԼԵԿՏՐԱՀԱՂՈՐԴՄԱՆ ՕԴԱՅԻՆ ԳԾԵՐԸ
1) Մեկուսիչների ստուգում: Կատարում են արտաքին զննմամբ:
2) Հաղորդաձողերի միացումների ստուգում: Կատարում են համաձայն 60-րդ գլխի:
3) Հենասյուների, դրանց ձգալարերի և մետաղաճոպանների հողակցման դիմադրության չափումը: Կատարում են 72-րդ գլխին համապատասխան:
VIII. էԼԵԿՏՐԱԿԱՅԱՆՔՆԵՐԻ ՄԵԿՈՒՍԱՑՈՒՄԸ
75. ԸՆԴՀԱՆՈՒՐ ՊԱՀԱՆՋՆԵՐ
1) Սույն բաժինը տարածվում է 6-ից մինչև 500 կՎ անվանական լարման, փոփոխական հոսանքի էլեկտրակայաքների մեկուսացման ընտրության վրա:
2) Ապակե կամ ճենապակե մեկուսիչների կամ մեկուսչային կոնստրուկցիաների ընտրությունը պետք է կատարվի ըստ հոսակորստի ուղու տեսակարար արդյունավետ երկարության` կախված էլեկտրատեղակայանքի տեղադրման տեղի ԱԱ-ից և դրա անվանական լարումից: Ապակե կամ ճենապակե մեկուսիչների կամ մեկուսչային կոնստրուկցիաների ընտրությունը կարող է կատարվել նաև ըստ պարպման բնութագրերի` աղտոտված և խոնավացված վիճակում:
Պոլիմերային մեկուսիչների կամ մեկուսչային կոնստրուկցիաների ընտրությունը, կախված էլեկտրատեղակայանքի ԱԱ-ից և անվանական լարումից, պետք է կատարվի ըստ պարպման բնութագրերի` աղտոտված և խոնավացված վիճակում:
3) ԱԱ-ի որոշումը պետք է կատարվի` կախված աղտոտման աղբյուրների բնութագրերից և մինչև էլեկտրատեղակայանք դրանց հեռավորությունից (սույն բաժնի NN 3-18 աղյուսակներ): Այն դեպքերում, երբ սույն բաժնի NN 3-18 աղյուսակների կիրառումն այս կամ այն պատճառով հնարավոր չէ, ԱԱ-ի որոշումը պետք է կատարել ըստ ԱԱՔ-ի:
Արդյունաբերական համալիրների մոտակայքում, ինչպես նաև խոշոր արդյունաբերական կազմակերպություններից, ՋԷԿ-երից և բարձր էլեկտրական հաղորդականությամբ խոնավացման աղբյուրներից աղտոտումների վերադրման շրջաններում ԱԱ-ի որոշումը, որպես կանոն, պետք է կատարվի ըստ ԱԱՔ-ի:
4) Ապակե և ճենապակե մեկուսիչների կամ մեկուսչային կոնստրուկցիաների հոսակորստի ուղու երկարությունը L (սմ) պետք է որոշվի
L = Ulաk,
որտեղ` lա-ն հոսակորստի ուղու տեսակարար արդյունավետ երկարությունն է` ըստ N 1 աղյուսակի, սմ/ կՎ,
U-ն ամենամեծ աշխատանքային միջֆազային լարումն է, կՎ (ըստ ԳՕՍՏ 721 ստանդարտի),
k-ն հոսակորստի ուղու երկարության օգտագործման գործակիցն է (տես 80-րդ գլուխը):
76. ՕԳ-Ի ՄԵԿՈՒՍԱՑՈՒՄԸ
1) Մետաղե և երկաթբետոնե հենասյուներով ՕԳ-ի մեկուսիչները պահող շարանի և ցցաձողային մեկուսիչների հոսակորստի ուղու տեսակարար արդյունավետ երկարությունը, կախված ԱԱ-ից և անվանական լարումից (ծովի մակարդակից մինչև 1000 մ բարձրության վրա), պետք է ընդունվի ըստ սույն բաժնի N 1 աղյուսակի:
Աղյուսակ N 1
Մետաղե եվ ԵՐկաթբետոնե հենասյուներով ՕԳ-ի մեկուսիչները պահող շարանների եվ ցցաձողային մեկուսիչների, էլեկտրասարքվածքի արտաքին մեկուսացման եվ ԲԲՍ-ի մեկուսիչների հոսակորստի ուղու տեսակարար արդյունավետ երկարությունը
Աղտոտման lա, սմ/ կՎ (ոչ պակաս), անվանական լարման դեպքում, կՎ մինչև 35-ը ներառյալ 110-500 1 1,90 1,60 2 2,35 2,00 3 3,00 2,50 4 3,50 3,10
աստիճանը
ՕԳ-ի պահող շարանների և ցցաձողային մեկուսիչների հոսակորստի ուղու տեսակարար արդյունավետ երկարությունը` ծովի մակարդակից 1000 մ-ից ավելի բարձրության վրա, պետք է մեծացված լինի սույն բաժնի N 1 աղյուսակում նորմավորվածի համեմատ`
1000-ից մինչև 2000 մ` 5%-ով,
2000-ից մինչև 3000 մ` 10%-ով,
3000-ից մինչև 4000 մ` 15%-ով:
2) Մեկուսչային հեռավորություններն օդով` հենասյուների հոսանատար մասից մինչև հողակցված մասերը, պետք է համապատասխանեն սույն ՏԿ-ին:
3) Մետաղե և երկաթբետոնե հենասյուներով ՕԳ-ի կախովի ափսեաձև մեկուսիչների պահող շարաններում և հատուկ կոնստրուկցիայի (V-աձև, l-աձև, -աձև, Y-աձև և այլն) շարանների հաջորդաբար շղթայում մեկուսիչների թիվը պետք է որոշվի հետևյալ բանաձևով`
m = L/Lմ,
որտեղ` Լմ -ն մեկ մեկուսչի հոսակորստի ուղու երկարությունն է` ըստ ստանդարտի կամ շահագործման փաստաթղթերի` կոնկրետ տիպի մեկուսչի համար, սմ: Եթե m-ի հաշվարկն ամբողջ թիվ չի տալիս, ապա ընտրում են հաջորդ ամբողջ թիվը:
4) Մետաղե և երկաթբետոնե հենասյուներով 6-ից մինչև 20 կՎ լարմամբ ՕԳ-ի վրա կախովի ափսեաձև մեկուսիչների թիվը պահող և ձգիչ շարաններում պետք է որոշվի ըստ սույն գլխի 3-րդ կետի և, անկախ հենասյուների նյութից, պետք է կազմի 2-ից ոչ պակաս:
Մետաղե, երկաթբետոնե և շարանների հողակցված ամրակապով փայտե հենասյուներով 35-ից մինչև 110 կՎ լարմամբ ՕԳ-ի վրա ափսեաձև մեկուսիչների թիվը` բոլոր տեսակի ձգիչ շարաններում, 1-2-րդ ԱԱ-ի շրջաններում, պետք է մեծացնել` ըստ սույն գլխի 3-րդ կետի ստացված քանակի համեմատ:
Մետաղե և երկաթբետոնե հենասյուներով 150-ից մինչև 500 կՎ լարմամբ ՕԳ-ի վրա կախովի ափսեաձև մեկուսիչների թիվը` ձգիչ շարաններում, որոշում են ըստ սույն գլխի 3-րդ կետի:
5) Փայտե հենասյուներով 35-ից մինչև 220 կՎ լարմամբ ՕԳ-ի վրա, 1-2-րդ ԱԱ-ի շրջաններում ապակե կամ ճենապակե ափսեաձև կախովի մեկուսիչների թիվը` մետաղե կամ երկաթբետոնե հենասյուներով ՕԳ-ի համար, թույլատրվում է ընդունել 1-ով պակաս:
Փայտե հենասյուներով կամ մետաղե և երկաթբետոնե հենասյուների վրա փայտե լայնակներով, 6-20 կՎ լարմամբ ՕԳ-ի վրա, 1-2-րդ ԱԱ-ի շրջաններում մեկուսիչների հոսակորստի ուղու տեսակարար արդյունավետ երկարությունը պետք է լինի 1,5 սմ/ կՎ-ից ոչ պակաս:
6) Մեծ անցումների հենասյուների շարաններում պետք է նախատեսված լինի մեկական լրացուցիչ ափսեաձև մեկուսիչ` ապակուց կամ ճենապակուց, հենասյան բարձրությունը 50 մ-ը գերազանցելու յուրաքանչյուր 10 մ-ի համար, բնականոն իրականացման մեկուսիչների թվի համեմատ, որը որոշվում է lա =1,9 սմ/կՎ-ի դեպքում, միաշղթա շարանների համար 6-ից մինչև 35 կՎ լարմամբ ՕԳ-ի համար և lա=1,4 սմ/կՎ-ի դեպքում` 110-ից մինչև 500 կՎ լարմամբ ՕԳ-ի համար: Ընդ որում, մեկուսիչների թիվն այդ հենասյուների շարաններում պետք է լինի անցման շրջանում ըստ աղտոտման պայմանների պահանջվող քանակից ոչ պակաս:
7) Ապակե կամ ճենապակե ափսեաձև մեկուսիչների շարաններում, որոնք կախված են 100 մ-ից ավելի բարձրության վրա, պետք է նախատեսված լինեն երկու լրացուցիչ մեկուսիչներ` բացի սույն գլխի 3-րդ և 6-րդ կետերին համապատասխան որոշվածից:
8) Մեկուսացված հաղորդալարերով ՕԳ-ի մեկուսացման ընտրությունը պետք է կատարվի սույն գլխի 1-7-րդ կետերին համապատասխան:
77. ԷԼԵԿՏՐԱՍԱՐՔԱՎՈՐԱՆՔԻ ԵՎ ԲԲՍ-Ի ԱՐՏԱՔԻՆ ԱՊԱԿԵ ԵՎ ՃԵՆԱՊԱԿԵ ՄԵԿՈՒՍԱՑՈՒՄԸ
1) 6-ից մինչև 500 կՎ լարմամբ էլեկտրասաքավորանքի և ԲԲՍ-ի արտաքին ճենապակե մեկուսացման, ինչպես նաև ՓԲՍ-ի ներանցիչների արտաքին մասի հոսակորստի ուղու տեսակարար արդյունավետ երկարությունը, կախված ԱԱ-ից և անվանական լարումներից (ծովի մակարդակից մինչև 1000 մ բարձրության վրա), պետք է ընդունվի ըստ սույն բաժնի N 1 աղյուսակի:
1000 մ-ից ավելի բարձրության վրա տեղաբաշխված, 6-ից մինչև 220 կՎ լարմամբ էլեկտրասարքվածքի արտաքին մեկուսացման և ԲԲՍ-ի մեկուսիչների հոսակորստի ուղու տեսակարար արդյունավետ երկարությունը պետք է ընդունվի 2000 մ բարձրության վրա` ըստ սույն բաժնի N 1 աղյուսակի, իսկ 2000 մ-ից մինչև 3000 մ բարձրության վրա` նորմավորվածի համեմատ աղտոտման մեկ աստիճանով բարձր:
2) ԲԲՍ-ի մեկուսացումն ընտրելիս, մեկուսչային հեռավորություններն օդով, ԲԲՍ-ի հոսանատար մասերից մինչև հողակցված կոնստրուկցիաները, պետք է համապատասխանեն սույն ՏԿ-ի պահանջներին:
3) ԲԲՍ-ի ձգիչ և պահող շարանների մեջ ափսեաձև մեկուսիչների թիվը պետք է որոշել ըստ 76-րդ գլխի 3-րդ և 4-րդ կետերի, 110-ից մինչև 150 կՎ լարմամբ շարանի յուրաքանչյուր շղթայում ավելացնելով մեկ, 220-ից մինչև 330 կՎ-ի համար` երկու մեկուսիչ:
4) Սույն բաժնի N 1 աղյուսակի պահանջները բավարարող էլեկտրասարքվածքի բացակայության դեպքում, 3-4-րդ ԱԱ-ի շրջանների համար պետք է կիրառել ավելի բարձր անվանական լարումների սարքավորում, մեկուսիչներ և ներանցիչներ` սույն բաժնի N 1 աղյուսակի բավարարող մեկուսացմամբ:
5) 4-րդ ԱԱ-ն գերազանցող աղտոտման պայմաններով շրջաններում, որպես կանոն, պետք է նախատեսել ՓԲՍ-ի կառուցում:
6) 500 կՎ և, որպես կանոն 110-ից մինչև 330 կՎ լարմամբ միացությունների մեծ քանակով ԲԲՍ-ն չպետք է տեղաբաշխվեն 3-4-րդ ԱԱ-ի գոտիներում:
7) 110 կՎ և բարձր լարմամբ էլեկտրասարքվածքի արտաքին մեկուսացման և ՓԲՍ-ի մեկուսիչների հոսակորստի ուղու տեսակարար արդյունավետ երկարությունը պետք է լինի 1,2 սմ/կՎ-ից ոչ պակաս` 1-ին ԱԱ-ի շրջաններում, և 1,5 սմ/կՎ-ից ոչ պակաս` 2-4-րդ ԱԱ-ի շրջաններում:
8) 1-3-րդ ԱԱ-ի շրջաններում պետք է կիրառվեն ՀԲՍԱ և ՀՓԵ` մեկուսացմամբ ըստ սույ ն բաժնի N 1 աղյուսակի մեկուսացմամբ արտաքին տեղակայման լրակազմ բաշխիչ սարքեր և լրակազմ տրանսֆորմատորային ենթակայաններ: Թույլատրվում է 4-րդ ԱԱ-ի շրջաններում դրանց կիրառումը` միայն հատուկ կատարման մեկուսիչներով:
9) Ճկուն և կոշտ արտաքին տեղակայման հոսանահաղորդիչների մեկուսիչները պետք է ընտրվեն ըստ սույն բաժնի N 1 աղյուսակի որոշվող հոսակորստի ուղու տեսակարար երկարությամբ. lա=1,9 սմ/կՎ 20 կՎ անվանական լարման` 10 կՎ հոսանատարների համար` 1-3-րդ ԱԱ-ի շրջաններում. lա=3,0 սմ/կՎ 10 կՎ հոսանահաղորդիչների համար 4-րդ ԱԱ-ի շրջաններում. lա=2,0 սմ/կՎ 35 կՎ անվանական լարման` 13,8-24 կՎ հոսանահաղորդիչների համար` 1-4-րդ ԱԱ-ի շրջաններում:
78. ՄԵԿՈՒՍԱՑՄԱՆ ԸՆՏՐՈՒԹՅՈՒՆՆ ԸՍՏ ՊԱՐՊՄԱՆ ԲՆՈՒԹԱԳՐԵՐԻ
1) 6-ից մինչև 500 կՎ լարմամբ ՕԳ-ի շարանները, 6-ից մինչև 500 կՎ ԲԲՍ-ի էլեկտրասարքվածքի արտաքին մեկուսացումը և մեկուսիչները, աղտոտված և խոնավացած վիճակում, պետք է ունենան սույն բաժնի N 2 աղյուսակում նշված նորմերից ոչ պակաս արդյունաբերական հաճախականության 50%-անոց պարպման լարումներ:
Աղտոտման շերտի տեսակարար մակերևույթային հաղորդականությունը պետք է ընդունվի (առնվազն)` 1-ին ԱԱ-ի համար` 5 մկՍմ, 2-րդ ԱԱ-ի համար` 10 մկՍմ, 3-րդ ԱԱ-ի համար` 20 մկՍմ, 4-րդ ԱԱ-ի համար` 30 մկՍմ:
Աղյուսակ N 2
6-ից մինչեվ 500 կՎ ՕԳ-ի շարանների, 6-ից մինչեվ 500 կՎ ԲԲՍ-ի էլեկտրասարքվածքի արտաքին մեկուսացման ԵՎ մեկուսիչների 50%-ին պարպման լարումները` աղտոտված եվ խոնավացված վիճակում
|
Էլեկտրատեղակայանքի անվանական |
50%-ին պարպման լարումները, |
|
6 |
8 |
79. ԱՂՏՈՏՄԱՆ ԱՍՏԻՃԱՆԻ ՈՐՈՇՈՒՄԸ
1) Այն շրջանները, որոնք չեն ընկնում աղտոտման արդյունաբերական աղբյուրների ազդեցության գոտու մեջ (անտառներ, մարգագետիններ), կարող է կիրառվել հոսակորստի ուղու ավելի փոքր տեսակարար արդյունավետ երկարություն ունեցող մեկուսացում, քան նորմավորված է սույն բաժնի N 1 աղյուսակում` 1-ին ԱԱ-ի համար:
2) 1-ին ԱԱ-ի շրջաններին պատկանում են այն տարածքները, որոնք չեն ընկնում արդյունաբերական և բնական աղտոտման աղբյուրների գոտու մեջ (ճահիճներ, բարձր լեռնային շրջաններ, գյուղատնտեսական շրջաններ):
3) Արդյունաբերական շրջաններում, հիմնավորող տվյալների առկայության դեպքում, կարող է կիրառվել հոսակորստի ուղու ավելի մեծ տեսակարար արդյունավետ երկարությամբ մեկուսացում, քան սույն բաժնի N 1 աղյուսակում նորմավորվածը` 4-րդ ԱԱ-ի համար:
4) Աղտոտվածության աստիճանն արդյունաբերական կազմակերպությունների մոտակայքում, պետք է որոշվի ըստ սույն բաժնի NN 3-12 աղյուսակների` կախված թողարկվող արտադրանքի տեսակից ու հաշվարկային ծավալից և մինչև աղտոտումների աղբյուր եղած հեռավորությունից:
Արդյունաբերական կազմակերպության կողմից թողարկվող արտադրանքի հաշվարկային ծավալը որոշվում է արտադրանքի բոլոր տեսակները գումարելով: Գործող կամ կառուցվող կազմակերպության տարածքների գոտում ԱԱ-ն պետք է որոշվի ըստ արտադրանքի տարեկան ամենամեծ ծավալի` հաշվի առնելով կազմակերպության զարգացման հեռանկարային ծրագիրը (10 տարվանից ոչ ավելի):
5) Աղտոտման աստիճանը` ՋԷԿ-երի և արդյունաբերական կաթսայատների մերձակայքում պետք է որոշվի ըստ սույն բաժնի N 13 աղյուսակի` կախված վառելիքի տեսակից, կայանի հզորությունից և ծխատար խողովակների բարձրությունից:
6) Հեռավորությունները, ըստ սույն բաժնի NN 3-13 աղյուսակների հաշվարկելիս, աղտոտման սահման է կորը, որը պարուրում է դեպի մթնոլորտ արտանետումների բոլոր տեղերը` տվյալ կազմակերպությունում (ՋԷԿ):
7) Թողարկվող արտադրանքի ծավալը և ՋԷԿ-ի հզորությունը, սույն բաժնի NN 3-13 աղյուսակներում նշվածների համեմատ գերազանցելու դեպքում, պետք է ԱԱ-ն մեծացնել առնվազն մեկ աստիճանով:
8) Մեկ կազմակերպությունում աղտոտման մի քանի աղբյուրների (արտադրամասերի) առկայության դեպքում թողարկվող արտադրանքի ծավալը որոշվում է առանձին արտադրամասերի արտադրանքի ծավալների գումարումով: Եթե առանձին արտադրությունների (արտադրամասերի) աղտոտող նյութերի արտանետումների աղբյուրը կազմակերպության արտանետման մյուս աղբյուրներից հեռու է 1000 մ-ից ավելի, արտադրանքի տարեկան ծավալը պետք է որոշվի այդ արտադրությունների և կազմակերպության մնացած մասի համար առանձին: Այդ դեպքում հաշվարկային ԱԱ-ն պետք է որոշվի սույն գլխի 16-րդ կետի համաձայն:
9) Եթե մեկ արդյունաբերական կազմակերպությունում թողարկվում է արդյունաբերության մի քանի ճյուղերի (կամ ենթաճյուղերի) արտադրանք` նշված սույն բաժնի NN 3-12 աղյուսակներում, ապա ԱԱ-ն պետք է որոշել սույն գլխի 16-րդ կետի համաձայն:
Աղյուսակ N 3
ԱԱ-ն քիմիական կազմակերպությունների եվ արտադրությունների մերձակայքում
Թողարկվող արտադրանքի հաշվարկային ծավալը, հազ. տոննա/տարի ԱԱ-ն աղտոտման աղբյուրից հեռավորության դեպքում, մ մինչև 500 500-ից մինչև 1000 1000-ից մինչև 1500 1500-ից մինչև 2000 2000-ից մինչև 2500 2500-ից մինչև 3000 3000-ից մինչև 5000 5000-ից Մինչև 10 1 1 1 1 1 1 1 1 10-ից մինչև 500 2 1 1 1 1 1 1 1 500-ից մինչև 1500 3 2 1 1 1 1 1 1 1500-ից մինչև 2500 3 3 2 1 1 1 1 1 2500-ից մինչև 3500 4 3 3 2 2 1 1 1 3500-ից մինչև 5000 4 4 3 3 3 2 2 1
10) Տվյալ ԱԱ-ով գոտու սահմանները պետք է ճշգրտել քամիների փնջագրի հաշվառմամբ, ըստ հետևյալ բանաձևի`
S =S0 • W/W0,
|
որտեղ` |
S-ն | աղտոտման աղբյուրի սահմանից մինչև տվյալ ԱԱ-ով շրջան հեռավորությունն է` ճշգրտված քամիների փնջագրի հաշվառմամբ, մ, |
| S0-ն | նորմավորված հեռավորությունն է` աղտոտման աղբյուրի սահմանից մինչև տվյալ ԱԱ-ով շրջանի սահմանը, քամիների շրջանային փնջի դեպքում, մ, | |
| W0-ն | մեկ հորիզոնամասի քամիների կրկնելիությունն է` քամիների շրջանային փնջի դեպքում, %, | |
| W-ն | դիտարկվող հորիզոնամասի քամիների միջին տարեկան կրկնելիությունն է, %: |
S/S0 արժեքները պետք է սահմանափակվեն 0,5≤S/S0≤2 սահմաններով:
11) Աղտոտվածության աստիճանը` փոշեանջատ նյութերի թափոնակույտերի, պահեստային շենքերի և կառույցների, կոյուղիների մաքրման կառույցների մերձակայքում պետք է որոշել ըստ սույն բաժնի N 14 աղյուսակի:
12) Աղտոտվածության աստիճանը ձմռանը` քիմիական հակասառցակեղևային միջոցառումների կիրառմամբ ավտոճանապարհների մերձակայքում պետք է որոշել ըստ սույն բաժնի N 15 աղյուսակի:
13) Աղտոտվածության աստիճանը` ծովերի, աղակալված լճերի և ջրամբարների մերձափնյա գոտում պետք է որոշվի ըստ սույն բաժնի N 6 աղյուսակի` կախված ջրի աղիության աստիճանից և մինչև ջրափնյա գիծ հեռավորությունից: Ջրի հաշվարկային աղիությունը որոշվում է ըստ ջրագիտական քարտեզների` որպես ջրի մակերևութային շերտի աղիության առավելագույն արժեք, մինչև ջրատարածության 10 կմ խորության գոտու մեջ: Աղակալված ջրամբարների մակերեսից վեր աղտոտվածության աստիճանը պետք է ընդունել մեկ աստիճանով ավելի բարձր, քան սույն բաժնի N 16 աղյուսակում` մինչև 0,1 կմ գոտու համար:
14) Ծովի կողմից քամու ենթարկված շրջաններում (պարբերականությունը` 10 տարվա ընթացքում մեկ անգամից ոչ պակաս) հեռավորությունը ջրափնյա գծից, որոնք նշված են սույն բաժնի N 16 աղյուսակում, պետք է մեծացնել 3 անգամ:
1000-ից մինչև 10000 մ2 մակերեսով ջրամբարների համար թույլատրվում է ԱԱ-ն իջեցնել մեկ աստիճանով` սույն բաժնի N 16 աղյուսակի տվյալների համեմատ:
15) Ջրահովարանների կամ ցողիչ ավազանների մոտակայքում աղտոտվածության աստիճանը պետք է որոշվի ըստ սույն բաժնի N 17 աղյուսակի` շրջապտուտային ջրի 1000 մկՍմ/սմ-ից ոչ փոքր տեսակարար հաղորդականության դեպքում և ըստ սույն բաժնի N 18 աղյուսակի` 1000-ից մինչև 3000 մկՍմ/սմ տեսակարար հաղորդականության դեպքում:
16) Երկու անկախ աղբյուրների աղտոտումների վերադրման գոտում, որոշված քամիների փնջագրի հաշվառմամբ` ըստ սույն գլխի 10-րդ կետի, հաշվարկային ԱԱ-ն պետք է որոշել ըստ սույն բաժնի N 19 աղյուսակի` անկախ արդյունաբերական կամ բնական աղտոտման տեսակից:
Աղյուսակ N 4
ԱԱ-ն նավթամշակման եվ նավթաքիմիական կազմակերպությունների ԵՎ արտադրությունների մերձակայքում
Ենթաճյուղը Թողարկվող արտադրանքի հաշվարկային ծավալը, հազ. տոննա/տարի ԱԱ-ն` աղտոտման աղբյուրից հեռավորության դեպքում, մ մինչև 500 500-ից մինչև 1000 1000-ից մինչև 1500 1500-ից մինչև 2000 2000-ից մինչև 3500 3500-ից Նավթամշակման կազմակերպություններ մինչև 1000 1 1 1 1 1 1 1000-ից մինչև 2 1 1 1 1 1 5000-ից մինչև 3 2 1 1 1 1 9000-ից մինչև 3 3 2 1 1 1 Նավթաքիմիական կազմակերպություններ և կոմբինատներ մինչև 5000 3 2 1 1 1 1 5000-ից մինչև 3 3 2 1 1 1 10000-ից մինչև 4 3 3 2 1 1 15000-ից մինչև 4 4 3 3 2 1 Սինթետիկ կաուչուկի կազմակերպություններ մինչև 50 1 1 1 1 1 1 50-ից մինչև 2 1 1 1 1 1 150-ից մինչև 3 2 1 1 1 1 500-ից մինչև 3 3 2 1 1 1 Ռետինատեխնիկական իրերի կազմակերպություններ մինչև 100 1 1 1 1 1 1 100-ից մինչև 2 1 1 1 1 1
5000
9000
18000
10000
15000
20000
150
500
1000
300
Աղյուսակ N 5
ԱԱ-ն գազի արտադրության եվ նավթային գազի վերամշակման կազմակերպությունների մերձակայքում
|
Ենթաճյուղը |
Թողարկվող արտադրանքի հաշվարկային ծավալը |
ԱԱ-ն` աղտոտման աղբյուրից հեռավորության դեպքում, մ | ||
|
մինչև 500 |
500-ից մինչև 1000 |
1000-ից | ||
|
Գազի արտադրություն |
անկախ ծավալից |
2 |
1 |
1 |
|
Նավթային գազի |
անկախ ծավալից |
3 |
2 |
1 |
Աղյուսակ N 6
ԱԱ-ն թաղանթանյութի եվ թղթի արտադրության կազմակերպությունների մերձակայքում
Ենթաճյուղը Թողարկվող արտադրանքի ԱԱ-ն` աղտոտման աղբյուրից մինչև 500 500-ից մինչև 1000 1000-ից մինչև 1500 1500-ից Ցելյուլոզի և կիսացելյուլոզի արտադրություն մինչև 75 1 1 1 1 75-ից մինչև 150 2 1 1 1 150-ից մինչև 500 3 2 1 1 500-ից մինչև 1000 4 3 2 1 Թղթի արտադրություն անկախ ծավալից 1 1 1 1
հաշվարկային ծավալը, հազ. տոննա/տարի
հեռավորության դեպքում, մ
Աղյուսակ N 7
ԱԱ-ն սեվ մետաղների արտադրությունների եվ կազմակերպությունների մերձակայքում
Ենթաճյուղը Թողարկվող արտադրանքի ԱԱ-ն` աղտոտման աղբյուրից հեռավորության դեպքում, մ մինչև 500 500-ից մինչև 1000 1000-ից մինչև 1500 1500-ից մինչև 2000 2000-ից մինչև 3500 3500-ից Թուջի և պողպատի մինչև 1500 2 1 1 1 1 1 1500-ից մինչև 2 2 2 1 1 1 7500-ից մինչև 3 2 2 2 1 1 Լեռնահարստա- մինչև 2000 1 1 1 1 1 1 2000-ից մինչև 2 1 1 1 1 1 5500-ից մինչև 3 2 1 1 1 1 10000-ից մինչև 3 3 2 1 1 1 Կոքսաքիմիական արտադրություն մինչև 5000 2 2 2 2 2 1 5000-ից մինչև 3 2 2 2 2 1 Ֆեռոհամա- մինչև 500 1 1 1 1 1 1 500-ից մինչև 2 2 1 1 1 1 500-ից մինչև 3 3 2 1 1 1 Մագնեզիտային իրերի արտադրություն անկախ ծավալից 3 2 2 2 1 1 Թուջի և պողպատի անկախ ծավալից 2 1 1 1 1 1
հաշվարկային ծավալը, հազ. տոննա/ տարի
հալում
7500
12000
ցուցիչ կոմբինատներ
5500
10000
13000
12000
ձուլվածքներ
700
1000
գլոցվածք և մշակում
ԱԱ-ն գունավոր մետալուրգիայի կազմակերպությունների մերձակայքում
Ենթաճյուղը Թողարկվող արտադրանքի հաշվարկային ծավալը, ԱԱ-ն` աղտոտման աղբյուրից հեռավորության դեպքում, մ մինչև 500 500-ից մինչև 1000 1000-ից մինչև 1500 1500-ից մինչև 2000 2000-ից մինչև 2500 2500-ից մինչև 3500 3500-ից Ալյումինի արտա- մինչև 100 1 1 1 1 1 1 1 100-ից մինչև 2 2 1 1 1 1 1 500-ից մինչև 3 2 2 2 1 1 1 1000-ից մինչև 3 3 3 2 2 1 1 Նիկելի արտա- 1-ից մինչև 1 1 1 1 1 1 1 5-ից մինչև 2 2 1 1 1 1 1 25-ից մինչև 3 2 2 1 1 1 1 Հազվագյուտ մետաղների արտադրություն անկախ ծավալից 4 4 3 3 2 2 1 Ցինկի արտա-դրություն անկախ ծավալից 3 2 1 1 1 1 1 Գունավոր մետաղների արտադրություն և մշակում անկախ ծավալից 2 1 1 1 1 1 1
հազ. տոննա/տարի
դրություն
500
1000
2000
դրություն
5
25
1000
ԱԱ-ն շինանյութերի արտադրության կազմակերպությունների մոտակայքում
Ենթաճյուղը Թողարկվող արտադրանքի հաշվարկային ծավալը, ԱԱ-ն` աղտոտման աղբյուրից հեռավորության դեպքում, մ մինչև 250 250-ից մինչև 500 500-ից մինչև 1000 1000-ից մինչև 1500 1500-ից մինչև 2000 2000-ից մինչև 3000 3000-ից Ցեմենտի արտա- մինչև 100 1 1 1 1 1 1 1 100-ից մինչև 2 2 1 1 1 1 1 500-ից մինչև 3 3 2 1 1 1 1 1500-ից մինչև 3 3 3 2 1 1 1 2500-ից մինչև 4 4 3 3 2 1 1 3500-ից 4 4 4 3 3 3 1 Ասբեստի և այլ արտադրություն անկախ ծավալից 3 2 1 1 1 1 1 Բետոնե իրերի և այլ արտադրություն անկախ ծավալից 2 1 1 1 1 1 1
հազ. տոննա/տարի
դրություն
500
1500
2500
3500
ԱԱ-ն մեքենաշինական կազմակերպությունների եվ արտադրությունների մերձակայքում
Թողարկվող արտադրանքի ԱԱ-ն` աղտոտման աղբյուրից մինչև 500 500-ից անկախ ծավալից 2 1
հաշվարկային ծավալը,
հազ. տոննա/տարի
հեռավորության դեպքում, մ
ԱԱ-ն թեթեվ արդյունաբերության կազմակերպությունների մերձակայքում
Ենթաճյուղը Թողարկվող արտադրանքի հաշվարկային ծավալը, հազ. տոննա/ տարի ԱԱ-ն` աղտոտման աղբյուրից հեռավորության դեպքում, մ մինչև 250 250-ից մինչև 500 500-ից Գործվածքների մշակում անկախ ծավալից 3 2 1 Արհեստական կաշիների և անկախ ծավալից 2 1 1
թաղանթային նյութերի արտադրություն
Աղյուսակ N 12
ԱԱ-ն հանքաքարի եվ ոչ հանքային հանածոների արդյունահանման կազմակերպությունների մերձակայքում
(Ածխի մասով տարածվում է կոնաձև թափոնակույտերի մերձակայքում` ըստ ԱԱ-ի որոշման)
|
Ենթաճյուղը |
Թողարկվող արտադրանքի |
ԱԱ-ն` աղտոտման աղբյուրից | ||
|
մինչև 250 |
250-ից մինչև 500 |
500-ից | ||
|
Երկաթահանք և այլ |
անկախ ծավալից |
3 |
2 |
1 |
|
Ածուխ |
անկախ ծավալից |
2 |
1 |
1 |
Աղյուսակ N 13
ԱԱ-ն ՋԷԿ-երի եվ արտադրական կաթսայատների մերձակայքում
Վառելիքի տեսակը Հզորությունը, ՄՎտ Ծխախողովակների բարձրությունը, մ ԱԱ-ն` աղտոտման աղբյուրից հեռավորության դեպքում, մ մինչև 250 250-ից մինչև 500 500-ից մինչև 1000 1000-ից մինչև 1500 1500-ից մինչև 3000 3000-ից ՋԷԿ և կաթսայատներ 30%-ից պակաս մոխրայնության ածխի, մազութի և գազի վրա անկախ հզորությունից ցանկացած 1 1 1 1 1 1 ՋԷԿ և կաթսայատներ 30%-ից ավելի մոխրայնության ածխի վրա մինչև 1000 ցանկացած 1 1 1 1 1 1 1000-ից մինչև 4000 մինչև 180 2 2 2 1 1 1 180-ից 2 2 1 1 1 1 ՋԷԿ և կաթսայատներ թերթաքարերի վրա մինչև 500 ցանկացած 3 2 2 2 1 1 500-ից մինչև 2000 մինչև 180 4 3 2 2 2 1 180-ից 3 3 2 2 2 1
ԱԱ-ն փոշի բարձրացնող նյութերի լցակույտերի, պահեստային շենքերի եվ կառույցների, կոյուղամաքրման կառույցների մերձակայքում
(մոխրաթափոնակույտեր, աղբաթափոնակույտեր, խարամաթափոնակույտեր, խոշոր արդյունաբերական աղբակույտեր, աղբի այրման կազմակերպություններ, փոշի բարձրացնող նյութերի պահեստներ և սորամբարձիչներ, հանքային պարարտանյութերի և թունաքիմիակատներ պահելու պահեստներ, հիդրոհորեր և հարստացուցիչ ֆաբրիկաներ, մաքրման կայաններ և այլ կոյուղամաքրման կառույցներ)
|
ԱԱ-ն` աղտոտման աղբյուրից հեռավորության դեպքում, մ | ||
|
մինչև 200 |
200-ից մինչև 600 |
600-ից |
|
3 |
2 |
1 |
Աղյուսակ N 15
ԱԱ-ն ձմռան ընթացքում հակասառցակեղեվային քիմիական միջոցների ինտենսիվ օգտագործմամբ ավտոճանապարհների մերձակայքում
|
ԱԱ-ն` աղտոտման աղբյուրից հեռավորության դեպքում, մ | ||
|
մինչև 25 |
25-ից մինչև 100 |
100-ից |
|
3 |
2 |
1 |
Աղյուսակ N 16
ԱԱ-ն 10000 մ2-ից մեծ մակերեսով լճերի մերձափնյա գոտու մոտ
|
Ջրամբարի տեսակը |
Ջրի հաշվարկային |
Հեռավորությունը ափային |
ԱԱ |
|
Չաղակալված |
մինչև 2 |
մինչև 0,1 |
1 |
|
Թույլ աղակալված |
2-ից մինչև 10 |
մինչև 0,1 |
2 |
|
0,1-ից մինչև 1,0 |
1 | ||
|
Միջին աղակալված |
10-ից մինչև 20 |
մինչև 0,1 |
3 |
|
0,1-ից մինչև 1,0 |
2 | ||
|
0,1-ից մինչև 50 |
1 | ||
|
Ուժեղ աղակալված |
20-ից մինչև 40 |
մինչև 1,0 |
3 |
|
1,0-ից մինչև 5,0 |
2 | ||
|
5,0-ից մինչև 10,0 |
1 |
Աղյուսակ N 17
ԱԱ-ն շրջապտուտային ջրի 1000 մկՍմ/սմ-ից փոքր տեսակարար հաղորդականությամբ ջրահովարանների եվ ցողիչ ավազանների մոտակայքում
Շրջանի ԱԱ-ն Հեռավորությունը ջրահովարաններից մինչև 150 150-ից 1 2 1 2 3 2 3 4 3 4 4 4
(ցողիչ ավազաններից), մ
Աղյուսակ N 18
ԱԱ-ն շրջապտուտային ջրի 1000 մկՍմ/սմ-ից մինչեվ 3000 մկՍմ/սմ տեսակարար հաղորդականությամբ ջրահովարանների եվ ցողիչ ավազանների մոտակայքում
Շրջանի ԱԱ-ն Հեռավորությունը ջրահովարաններից մինչև 150 150-ից մինչև 600 600-ից 1 2 2 1 2 3 3 2 3 4 4 3 4 4 4 4
(ցողիչ ավազաններից), մ
Աղյուսակ N 19
Հաշվարկային ԱԱ-ն երկու անկախ աղբյուրներից աղտոտումների վերադրման դեպքում
ԱԱ-ն` առաջին աղբյուրից Հաշվարկային ԱԱ-ն` երկու երկրորդ 2 3 4 2 2 3 4 3 3 4 4 4 4 4 4
աղբյուրից` աղտոտման աստիճանի դեպքում
80. ՄԵԿՈՒՍԻՉՆԵՐԻ ԵՎ ՄԵԿՈՒՍՉԱՅԻՆ ԿՈՆՍՏՐՈՒԿՑԻԱՆԵՐԻ (ԱՊԱԿԵ ԵՎ ՃԵՆԱՊԱԿԵ) ՀԻՄՆԱԿԱՆ ՏԻՊԵՐԻ ՕԳՏԱԳՈՐԾՄԱՆ ԳՈՐԾԱԿԻՑՆԵՐԸ
1) Միատեսակ մեկուսիչներից կազմված մեկուսչային կոնստրուկցիաների օգտագործման K գործակիցը պետք է որոշել որպես`
k = k0•kկ,
|
որտեղ` |
k0-ն | մեկուսչի օգտագործման գործակիցն է, |
| kկ-ն` | զուգահեռ կամ հաջորդական զուգահեռ ճյուղերի բաղադրյալ կոնստրուկցիայի օգտագործման գործակիցը: |
2) Մեկուսչային մասի թույլ տարածված ստորին մակերևույթով կախովի ափսեաձև մեկուսիչների k0 օգտագործման գործակիցը, ըստ ԳՕՍՏ 27661 ստանդարտի, պետք է որոշել ըստ սույն բաժնի N 20 աղյուսակի` կախված մեկուսչի հոսակորստի ուղու Lմ երկարության և դրա ափսեի D տրամագծի հարաբերությունից:
3) Հատուկ կատարման, ուժեղ տարածված մակերևույթով կախովի ափսեաձև մեկուսիչների k0 օգտագործման գործակիցը պետք է որոշել ըստ սույն բաժնի N 21 աղյուսակի:
4) Թույլ տարածված մակերևույթով ցցաձողային մեկուսիչների (գծային, հենարանային) k0 օգտագործման գործակիցները պետք է ընդունվեն 1,0-ին հավասար, ուժեղ տարածված մակերևույթով` 1,1-ի:
5) Արտաքին տեղակայման էլեկտրասարքվածքի արտաքին մեկուսացման օգտագործման k0 գործակիցները, որոնք իրագործված են միակի մեկուսչային կոնստրուկցիայի տեսքով, այդ թվում` արտաքին տեղակայման հենարանային մեկուսիչների տեսքով` մինչև 110 կՎ անվանական լարման համար, ինչպես նաև 110 կՎ լարման կախովի ձողաձև մեկուսիչների համար, պետք է որոշել ըստ սույն բաժնի N 22 աղյուսակի` կախված մեկուսչի հոսակորստի ուղու կամ մեկուսչային կոնստրուկցիայի հոսակորստի ուղու Lմ երկարության և դրանց մեկուսչային մասի h երկարության հարաբերությունից:
6) Միատեսակ մեկուսիչներից կազմված միաշղթա շարանների և միայնակ հենարանային սյուների օգտագործման kկ գործակիցը պետք է ընդունել 1,0-ին հավասար:
7) Զուգահեռ ճյուղերով (առանց միջակապերի) բաղադրյալ կոնստրուկցիաների օգտագործման գործակիցները, որոնք կազմված են միատիպ տարրերից (երկշղթա և բազմաշղթա պահող և ձգիչ շարանների, երկկանգնակ և բազմականգնակ սյուների), պետք է որոշել ըստ սույն բաժնի N 23 աղյուսակի:
8) Միաշղթա ճյուղերով V-աձև և l-աձև շարանների օգտագործման kկ գործակիցները պետք է ընդունել 1,0-ին հավասար:
9) Հաջորդական-զուգահեռ ճյուղերով բաղադրյալ կոնստրուկցիաների օգտագործման kկ գործակիցները` կազմված մեկ տիպի մեկուսիչներից (V կամ l տեսակի շարանների, ըստ բարձրության զուգահեռ ճյուղերի տարբեր թվերով հենարանային սյուների, ինչպես նաև ենթակայանային առձգիչով ապարատների), պետք է ընդունել 1,1-ին հավասար:
10) k01 և k02 օգտագործման գործակիցներով, տարբեր տիպի մեկուսիչներից կազմված միաշղթա շարանների և միակի հենարանային սյուների օգտագործման k0 գործակիցները պետք է որոշվեն հետևյալ բանաձևով`
k = L1 + L2/(L1/k01 + L2/k02)
որտեղ` L1 և L2-ը կոնստրուկցիայի հատվածների համապատասխան տիպի մեկուսիչներից կոնստրուկցիայի հատվածների հոսակորստի ուղու երկարությունն են: Նման ձևով պետք է որոշվի k0 մեծությունը` նշված տեսքի կոնստրուկցիայի համար` երկուսից մեծ թվով տարբեր տիպի մեկուսիչների դեպքում:
Աղյուսակ N 20
Մեկուսիչ մասի թույլ տարածված ստորին մակերեվույթով կախովի ափսեաձԵՎ մեկուսիչների օգտագործման k0 գործակիցը
|
Lմ/D |
k0 |
| 0,90-ից մինչև 1,05 ներառյալ |
1,00 |
| 1,05-ից մինչև 1,10 ներառյալ |
1,05 |
| 1,10-ից մինչև 1,20 ներառյալ |
1,10 |
| 1,20-ից մինչև 1,30 ներառյալ |
1,15 |
| 1,30-ից մինչև 1,40 ներառյալ |
1,20 |
Աղյուսակ N 21
Հատուկ կատարման կախովի ափսեաձԵՎ մեկուսիչների օգտագործման k0 գործակիցները
Մեկուսչի փոխդասավորությունը k0
Երկթև
1,20
Ստորին մակերևույթի վրա կողի մեծացված թռիչքով
1,25
Աերոդինամիկական պրոֆիլի (կոնական կիսագնդային)
1,0
Զանգակաձև, ներքին հարթ և արտաքին կողավոր մակերևույթներով
1,15
Աղյուսակ N 22
Միայնակ մեկուսիչ սյուների, հենարանային եվ կախովի ձողաձեվ մեկուսիչների օգտագործման գործակիցները
|
Lմ/հ |
2,5-ից պակաս |
2,5-3,00 |
3,01-3,30 |
3,31-3,50 |
3,51-3,71 |
3,71-4,00 |
|
kկ |
1,0 |
1,10 |
1,15 |
1,20 |
1,25 |
1,30 |
Աղյուսակ N 23
Էլեկտրական զուգահեռ ճյուղերով (առանց միջակապերի) բաղադրյալ կոնստրուկցիաների օգտագործման գործակիցները
|
Զուգահեռ ճյուղերի քանակը |
1 |
2 |
3-5 |
|
kկ |
1,0 |
1,05 |
1,10 |
11) Աղտոտման տարբեր տեսակներով շրջանների համար կախովի մեկուսիչների փոխդասավորությունը պետք է ընտրվի ըստ սույն բաժնի N 24 աղյուսակի:
Աղյուսակ N 24
Զանազան տեսքի կախովի մեկուսիչների կիրառման հանձնարարելի բնագավառները
Մեկուսչի տեսքը Աղտոտման շրջանների բնութագիրը Ափսեաձև, կողավոր ստորին մակերևույթով (Lմ/D ≤1,4) 1-2-րդ ԱԱ-ի շրջաններ` աղտոտման ցանկացած տեսակների դեպքում Ափսեաձև հարթ կիսագնդային, ափսեաձև հարթ կոնական 1-2-րդ ԱԱ-ի շրջաններ` աղտոտման ցանկացած տեսակների դեպքում, աղակալված հողերով և 3-րդ ԱԱ-ն չգերազանցող արդյունաբերական աղտոտման շրջաններ Ափսեաձև ճենապակե 4-րդ ԱԱ-ի շրջաններ` ցեմենտի և թերթաքարեր վերամշակող կազմակերպությունների, սև մետալուրգիայի, կալիումական պարարտանյութերի արտադրության, ֆոսֆատներ, ալյումին և էլեկտրոդներ արտադրող կազմակերպությունների առկայության դեպքում, մերձակայքում Ձողաձև, ճենապակե բնականոն կատարման (Lմ/D ≤2,5) 1-ին ԱԱ-ի շրջաններ, այդ թվում` ՕԳ-ի դժվարամատչելի ուղեգծերով Ափսեաձև երկթև աղակալված հողերով և արդյունաբերական աղտոտվածությամբ շրջաններ (2-4-րդ ԱԱ) Ափսեաձև ստորին մակերևույթի վրա ուժեղ դուրս ցցված կողով (Lմ/h ≤1,4) ծովերի և աղի լճերի ափերը (2-4-րդ ԱԱ) Հատուկ կատարման ձողաձև ճենապակե (Lմ/h ≤2,5) 2-4-րդ ԱԱ-ի շրջաններ, աղտոտման ցանկացած տեսակի դեպքում, ՕԳ-ի դժվարամատչելի ուղեգծերով շրջաններ (2-3-րդ ԱԱ) Ձողաձև պոլիմերային բնականոն կատարման 1-2-րդ ԱԱ-ի շրջաններ, աղտոտման ցանկացած տեսակի դեպքում, այդ թվում` ՕԳ-ի դժվարամատչելի ուղեգծերով շրջաններ Ձողաձև պոլիմերային հատուկ կատարման 2-3-րդ ԱԱ-ի շրջաններ, աղտոտման ցանկացած տեսակի դեպքում, այդ թվում` ՕԳ-ի դժվարամատչելի ուղեգծերով շրջաններ D -ն ափսեաձև մեկուսչի տրամագիծն է, սմ,
n -ը ձողաձև մեկուսչի մեկուսչային մասի բարձրությունն է, սմ,
Lմ-ն հոսակորստի ուղու երկարությունն է, սմ:
Ց Ա Ն Կ
IX. ՏԵԽՆԻԿԱԿԱՆ ԿԱՆՈՆԱԿԱՐԳՈՎ ՍԱՀՄԱՆՎԱԾ ՊԱՀԱՆՋՆԵՐԻ ԿԱՏԱՐՈՒՄՆ ԱՊԱՀՈՎՈՂ ՍՏԱՆԴԱՐՏՆԵՐԻ ԵՎ ԱՅԼ ԻՐԱՎԱԿԱՆ ԱԿՏԵՐԻ
|
Ստանդարտի |
Պահանջներ և փորձարկման մեթոդներ սահմանող ստանդարտի անվանումը |
|
ԳՕՍՏ 9.602-89 |
Քայքայումից և հնեցումից պաշտպանության ստանդարտների համակարգ. Ստորգետնյա կառույցներ. Քայքայումից պաշտպանության ընդհանուր պահանջներ |
|
ԳՕՍՏ 12.1.030-81 |
Աշխատանքի անվտանգության ստանդարտների համակարգ. Էլեկտրաանվտանգություն. Պաշտպանական հողակցում, զրոյացում |
|
ԳՕՍՏ 12.1.038-82 |
Աշխատանքի անվտանգության ստանդարտների համակարգ: Էլեկտրաանվտանգություն: Հպման լարման և հոսանքների սահմանային թույլատրելի մակարդակները |
|
ԳՕՍՏ 667-73 |
Թթու ծծմբական կուտակչային. Տեխնիկական պայմաններ |
|
ԳՕՍՏ 721-77 |
Էլեկտրամատակարարման համակարգ, էլեկտրական էներգիայի ցանցեր, աղբյուրներ, փոխակերպիչներ և ընդունիչներ |
|
ԳՕՍՏ 839-80 |
Չմեկուսացված հաղորդալարեր էլեկտրահաղորդման օդային գծերի համար: Տեխնիկական պայմաններ |
|
ԳՕՍՏ 981-75 |
Նավթային յուղեր. Թթվեցման նկատմամբ կայունության որոշման մեթոդ |
|
ԳՕՍՏ 1547-84 |
Յուղեր և քսուքներ. Ջրի առկայության որոշման մեթոդ |
|
ԳՕՍՏ 5985-79 |
Նավթամթերք. Թթվայնություն և թթվայնության թվի որոշման մեթոդ |
|
ԳՕՍՏ 6307-75 |
Նավթամթերք. Ջրում լուծվող թթուների և հիմքերի առկայության որոշման մեթոդ |
|
ԳՕՍՏ 6370-83 |
Նավթ, նավթամթերքներ և հավելանյութեր: Մեխանիկական խառնուրդների որոշման մեթոդ |
|
ԳՕՍՏ 6709-72 |
Ջուր թորած. Տեխնիկական պայմաններ |
|
ԳՕՍՏ 7822-75 |
Նավթային յուղեր. Լուծված ջրի որոշման մեթոդ |
|
ԳՕՍՏ 10434-82 |
Միացումներ հպումային էլեկտրական. Դասակարգում. Ընդհանուր տեխնիկական պահանջներ |
|
ԳՕՍՏ 13109-97 |
Էլեկտրական էներգիա. Տեխնիկական միջոցների էլեկտրամագնիսական համատեղելիություն. էլեկտրամատակարարման համակարգերում էներգիայի ընդհանուր նշանակման որակի նորմեր |
|
ԳՕՍՏ 17216-71 |
Արդյունաբերական մաքրություն. Հեղուկների մաքրության դասեր |
|
ԳՕՍՏ 20287-91 |
Նավթամթերք. Հոսունության և պնդացման ջերմաստիճանների որոշման մեթոդներ |
|
ԳՕՍՏ 22782.0-81 |
Պայթապաշտպանված էլեկտրասարքավորանք: Ընդհանուր տեխնիկական պահանջներ և փորձարկման մեթոդներ |
|
ԳՕՍՏ 27661-88Ե |
Մեկուսիչներ գծային կախովի ափսեաձև. Տիպերը, պարամետրերը և չափերը |
|
ԳՕՍՏ 30030-93 |
Տրանսֆորմատորներ բաժանիչ և անվտանգ բաժանիչ տրանսֆորմատորներ. Տեխնիկական պահանջներ |
|
ԳՕՍՏ 31260 |
Հաղորդիչների նույնականացումն ըստ գույնի կամ թվերի նշագրերի |
|
ՎՍՆ-59-88 |
Բնակելի և հասարակական շենքերի էլեկտրասարքվածք. Նախագծման նորմեր |
| Հայաստանի Հանրապետության կառավարության աշխատակազմի ղեկավար-նախարար |
Մ. Թոփուզյան |