108.0086.03.04.98
ՀԱՅԱՍՏԱՆԻ ՀԱՆՐԱՊԵՏՈՒԹՅԱՆ
ԷՆԵՐԳԵՏԻԿԱՅԻ ՆԱԽԱՐԱՐՈՒԹՅՈՒՆ
Հ Ր Ա Մ Ա Ն
|
N 86-ԳՄ |
03.04.1998 թ. |
ԲԱՇԽԻՉ ԷԼԵԿՏՐԱԿԱՆ ՑԱՆՑԵՐՈՒՄ ԷԼԵԿՏՐԱԷՆԵՐԳԻԱՅԻ ԿՈՐՈՒՍՏՆԵՐԻ ՀԱՇՎԱՐԿԻ ՀՐԱՀԱՆԳԻ ՀԱՍՏԱՏՄԱՆ ՄԱՍԻՆ
Ղեկավարվելով «Էներգետիկայի մասին» Հայաստանի Հանրապետության օրենքի 7 և 14 հոդվածներով,
ՀՐԱՄԱՅՈՒՄ ԵՄ`
1. Հաստատել «Բաշխիչ էլեկտրական ցանցերում էլեկտրաէներգիայի կորուստների հաշվարկի հրահանգ»-ը (կցվում է):
2. Հրահանգը ներկայացնել ՀՀ արդարադատության նախարարություն` պետական գրանցման:
|
Նախարար |
Գ. Մարտիրոսյան |
ՀԱՅԱՍՏԱՆԻ ՀԱՆՐԱՊԵՏՈՒԹՅԱՆ
ԷՆԵՐԳԵՏԻԿԱՅԻ ՆԱԽԱՐԱՐՈՒԹՅՈՒՆ
|
Համաձայնեցված է` |
Համաձայնեցված է` |
|
Հաստատված է |
ԲԱՇԽԻՉ ԷԼԵԿՏՐԱԿԱՆ ՑԱՆՑԵՐՈՒՄ ԷԼԵԿՏՐԱԷՆԵՐԳԻԱՅԻ ԿՈՐՈՒՍՏՆԵՐԻ ՀԱՇՎԱՐԿԻ
Հ Ր Ա Հ Ա Ն Գ
ՀՀ ՂՓ 07024.09.001-97
Գործարկվում է առաջին անգամ
Պարտադիր են բաշխիչ էլեկտրական ցանցերի, գիտական և նախագծային ինստիտուտների համար:
Էներգետիկայի հայկական գիտահետազոտական ինստիտուտ
էներգետիկայի գիտատեխնիկական լրատվական «Էներգալուրեր» կենտրոն
Երևան 1998 թ.
| Մշակել է` | Հայաստանի Հանրապետության «Էներգետիկայի հայկական գիտահետազոտական ինստիտուտ» պետական փակ բաժնետիրական ընկերությունը |
| Կատարողներ` | Ա. Առաքելյան, Լ. Եղիազարյան, Վ. Սահակյան, Վ. Սաֆարյան |
| Խմբագիր` | Դ. Բաղդասարյան |
| Գրանցված է` | Հայաստանի Հանրապետության արդարադատության նախարարության կողմից |
___ _______ 199 թ. | |
| պետական գրանցման թիվ __________ |
Սույն Հրահանգի վերաբերյալ բոլոր առաջարկությունները և դիտողությունները խնդրում ենք ուղարկել հետևյալ հասցեով` Երևան-47, Ամառանոցային փող. 127, «Էներգետիկայի ինստիտուտ» ՊՓԲԸ, «Էներգալուրեր» լրատվական կենտրոն:
ԲԱՇԽԻՉ ԷԼԵԿՏՐԱԿԱՆ ՑԱՆՑԵՐՈՒՄ
ԷԼԵԿՏՐԱԷՆԵՐԳԻԱՅԻ ԿՈՐՈՒՍՏՆԵՐԻ ՀԱՇՎԱՐԿԻ
Հ Ր Ա Հ Ա Ն Գ
1. ԸՆԴՀԱՆՈՒՐ ԴՐՈՒՅԹՆԵՐ
1.1. Սույն հրահանգը կազմված է ի կատարումն «Էներգետիկայի մասին» ՀՀ օրենքի 7 և 14 հոդվածների և պարտադիր է ՀՀ տարածքում գործող պետական և ոչ պետական էլեկտրացանցային, նախագծային և գիտական ձեռնարկությունների համար:
1.2. Հրահանգում տրված են 0.38-35կՎ լարման բաց բաշխիչ էլեկտրական ցանցերով էլեկտրական էներգիայի հաղորդման համար կատարվող էլեկտրական էներգիայի ծախսի (տեխնոլոգիական ծախս) հաղորդմանը և հաշվառմանը զուգորդող առևտրային կորուստների (հակիրճ` էլեկտրաէներգիայի կորուստներ) հաշվարկի տեսակները և մեթոդները:
1.3. Սույն հրահանգին համապատասխան կատարված հաշվարկների արդյունքները պետք է օգտագործել էլեկտրաէներգիայի կորուստների հաշվետվության մեջ, ինչպես նաև` էլեկտրաէներգիայի կորուստների պլանավորման և էլեկտրական ցանցի կորստաբեր տարրերի բացահայտման և կորուստների նվազեցման միջոցառումների մշակումների մեջ:
Էլեկտրաէներգիայի այդ թվում` վաճառող-գնորդ, մատակարար-սպառող փոխադարձ ֆինանսական փոխհաշվարկներում էլեկտրացանցում էլեկտրաէներգիայի կորուստների հաշվարկի արդյունքները հանդիսանում են կարևորագույն ցուցանիշներ:
1.4. Սույն հրահանգով կարելի է նորմավորել տարբեր լարումների բաշխիչ էլեկտրացանցերում էլեկտրաէներգիայի տեխնոլոգիական ծախսերը և հաշվառման հետ կապված էլեկտրաէներգիայի կորուստները, որոնք տեղի և ունենում էլեկտրաէներգիան մինչև սպառողները հաղորդելու ընթացքում:
1.5. Բաշխիչ էլեկտրացանցերում էլեկտրաէներգիայի կորուստների հաշվարկի մեթոդում հաշվի են առնված ներքոհիշյալ գործոնները, որոնց միջոցով ապահովվում է հաշվարկային ալգորիթմում և ցանցերում գործող պայմանների համապատասխանությունը:
1.5.1. Հաշվարկների կատարման բավարար ճշտության ապահովումը, որը թելադրվում է էլեկտրաէներգիայի վաճառքի բարձր սակագներով;
1.5.2. Գործող էլեկտրացանցային ձեռնարկությունների ցանցային տեխնիկական փաստաթղթերի և տվյալների անբավարար վիճակը, որը հետևանք է.
- վերջին տարիների լարված աշխատանքի պայմաններում չպլանավորված և չգրանցվող բազմաթիվ սխեմայական փոփոխությունների, նաև կառուցվածքային փոփոխությունների պատճառով ձեռնարկություններում եղած 6-10 և 34 կՎ լարման ցանցերի միագիծ սխեմաները լիարժեք չեն համապատասխանում ցանցերի իրական, գործող սխեմաներին (դեռևս գտնվում են ճշտման ընթացքում),
- 0.38/0,22կՎ լարման բաշխիչ ցանցերի միագիծ սխեմաները ցանցային ձեռնարկություններում որպես կանոն բացակայում են (գտնվում են լրացման ընթացքում):
1.5.3. Բաշխիչ էլեկտրացանցերի աշխատանքի ռեժիմների թերի կամ անհավաստի տվյալները, ցանցի առանձին տեղամասերի (սնող և բաշխիչ ենթակայաններ, առանձին սնման ուղղություններ) էլեկտրաէներգիայի հաշվեկշռի ստացման դժվարությունները:
1.5.4. Բացակայում են այսօրվա պայմաններին համապատասխանող տիպային սպառողական ցանցի հանգույցների բեռնվածքի օրական գրաֆիկները (քանի որ բացակայում են գազամատակարարումը, ջերմամատակարարումը, ուստի հին գրաֆիկները, որոնք համապատասխանում էին դրանց առկայության պայմաններին, այժմ հնարավոր չէ օգտագործել):
1.5.5. Էլեկտրացանցային ձեռնարկությունները չունեն անհրաժեշտ ավտոմատ գրանցող սարքեր օրվա բեռնվածքի գրաֆիկներ ստանալու համար, իսկ մասնագիտացված կազմակերպությունների հնարավորությունները այդ գործում խիստ սահմանափակ են: Սակայն հետզհետե ձեռք են բերվում այդպիսի գրաֆիկներ:
1.5.6. Դիտարկվող պայմանների համար ցանցերում էլեկտրաէներգիայի կորուստների հին, հայտնի մեթոդները առաջացնում են անթույլատրելի մեծ սխալներ:
1.5.7. 0.38կՎ ցանցերում ամենուր դիտվում են ֆազերի անհավասար բեռնվածություն և աշխատանքային ռեժիմի ոչ սիմետրիկություն:
1.5.8. Էլեկտրամատակարարման դադար և օրվա ընթացքում սպառիչի մի քանի անջատում-միացում: Այս պարագան հաշվի է առնվում սույն հրահանգում:
1.6. Բացի 1.5 կետում նշված գործոններից, սույն հրահանգում հաշվի են առնվում նաև էլեկտրաէներգիայի կորուստների վրա ազդող հետևյալ հանգամանքները.
1.6.1. Էլեկտրաէներգիայի ծախսի մեծությունը ժամանակի տվյալ հատվածում (օր, ամիս, եռամսյակ և այլն):
1.6.2. Էլեկտրաէներգիայի սպառման անհավասարաչափությունը օրվա ընթացքում:
1.6.3. Բեռնվածքի գրաֆիկների տարբերությունը ըստ առանձին ֆազերի:
1.6.4. Ընդհանրացված բեռնվածքի (ըստ հանգույցների) ռեակտիվ հզորության գործակիցը:
1.6.5. Բաշխիչ 6-35կՎ էլեկտրացանցի բաժանման կետերի տեղերը:
1.6.6. Ցանցի տարրերի պարամետրերը:
1.6.7. 0.38/0,22կՎ եռաֆազ ցանցերի հնարավոր անսիմետրիկությունը:
2. ԷԼԵԿՏՐԱԷՆԵՐԳԻԱՅԻ ԿՈՐՈՒՍՏՆԵՐԻ ՀԱՇՎԱՐԿԻ ՏԵՍԱԿՆԵՐԸ ԵՎ ՆՊԱՏԱԿՆԵՐԸ
2.1. Պլանավորման ժամանակահատվածից և ելակետային տվյալների բնույթից կախված էլեկտրաէներգիայի կորուստների հաշվարկները լինում են հետևյալ տեսակների.
- անցյալ (ռետրոսպեկտիվ) ժամկետի հաշվարկ, այդ ժամկետում գրանցված տվյալներով,
- օպերատիվ հաշվարկ (ըստ օպերատիվ տվյալների),
- հեռանկարային հաշվարկ (ըստ ապագայի համար կանխատեսվող տվյալների):
2.2. Անցյալ ժամկետի հաշվարկները կատարվում են մոտակա ժամանակահատվածների (ամիս, եռամսյակ) տվյալներով: Հաշվարկի նպատակն է. ճշտել անցած ժամանակահատվածում կորուստների փաստացի մեծությունները և պլանավորել մոտ ապագայում (ամիս, եռամսյակ) սպասվող կորուստները:
2.2.1. Հաշվարկի արդյունքում որոշվում են.
-
էլեկտրացանցում էլեկտրաէներգիայի կորուստների կառուցվածքը,
-
չափիչ սարքերի սխալանքով և հաշվառքից դուրս օգտագործված էլեկտրաէներգիայով պայմանավորված էլեկտրաէներգիայի առևտրային կորուստները,
-
առավել բարձր կորուստներով ցանցի տեղամասերը (տարրերը, առանձին ուղղությունները),
-
էլեկտրաէներգիայի կորուստների նվազեցման կազմակերպական-տեխնիկական միջոցառումների ներդրման փաստացի արդյունավետությունը,
-
էներգաօբյեկտի (ցանցային ձեռնարկության, նրա ստորաբաժանման) տեխնիկատնտեսական ցուցանիշները:
2.2.2. Կազմվում է ցանցային ձեռնարկության, նրա ստորաբաժանումների, առանձին սնման ուղղությունների և ենթակայանների էլեկտրաէներգիայի հաշվեկշիռ:
2.2.3. Միջոցառումներ են մշակվում էլեկտրաէներգիայի հաշվեկշռի պակասները և մեծ կորուստներով ցանցի տեղամասերում էլեկտրաէներգիայի կորուստները թույլատրելի մակարդակի հասցնելու համար:
2.2.4. Էլեկտրաէներգիայի մատակարարի, մեծածախ գնորդի և վաճառողի միջև ճշտվում են ֆինանսական փոխհաշվարկները ըստ էլեկտրական ցանցում էլեկտրաէներգիայի կորուստների մեծության:
2.3. Օպերատիվ հաշվարկները կատարվում են ռեժիմի պարամետրերի չափումների տվյալներով և նպատակ ունեն.
-
հսկելու էլեկտրաէներգիայի կորուստների ընթացիկ արժեքները և դրանց փոփոխությունը ժամանակի ընթացքում,
-
կորուստների իջեցնելու համար կատարել էլեկտրական ցանցի սխեմայի և ռեժիմի ընթացիկ փոփոխություններ,
-
կատարել էներգաօբյեկտների հզորության հաշվեկշռի և սահմանաքանակների օպերատիվ հսկում,
-
գնահատել ընթացիկ հաշվարկային ժամկետի վերջին սպասվող էլեկտրաէներգիայի կորուստները,
-
ստեղծել տեղեկատու բանկ, որը կօգտագործվի ընթացիկ և ապագա ժամանակահատվածներում էլեկտրաէներգիայի կորուստների հաշվարկներում:
2.4. Հեռանկարային հաշվարկները թույլ են տալիս.
-
ճշտելու էլեկտրաէներգիայի կորուստների հաշվարկը առաջիկա և ապագա ժամանակահատվածների ընթացքում (ամիս, եռամսյակ, կիսամյակ, տարի),
-
գնահատելու էլեկտրաէներգիայի կորուստների նվազեցմանն ուղղված միջոցառումների սպասվող արդյունավետությունը,
-
կատարելու էլեկտրական ցանցերի վերակառուցման տարբերակների համեմատությունը:
2.5. Էլեկտրական բաշխիչ ցանցերը ըստ ռեժիմային և սխեմայական առանձնահատկությունների և հաշվարկների ելակետային տվյալների հագեցվածության կարելի է բաժանել երեք խմբի.
ա) 35-110 կՎ լարման բացված սխեմաներով էլեկտրական ցանցեր,
բ) 6-10 կՎ լարման էլեկտրական ցանցեր,
գ) 0.22/0.38կՎ լարման էլեկտրական ցանցեր:
2.6. Էլեկտրական ցանցերում էլեկտրաէներգիայի կորուստների հաշվարկի արդյունքները պետք է ներկայացվեն հետևյալ բաղադրիչները պարունակող կառուցվածքով.
-
բեռնվածքի կորուստները գծերում և ուժային տրանսֆորմատորներում,
-
պարապ ընթացիկ կորուստները ուժային տրանսֆորմատորներում,
-
ենթակայանների սեփական կարիքների համար սպառված էլեկտրաէներգիան,
-
էլեկտրաէներգիայի ծախսը հավասարակշռող (կոմպենսացնող) տեղակայանքներում` կոնդենսատորային մարտկոցներում, սինքրոն և ստատիկ տիրիստորային (կափույր) կոմպենսատորներում և այլն,
-
էլեկտրաէներգիայի կորուստները ռեակտորներում,
-
էլեկտրաէներգիայի առևտրային կորուստները չափիչ սարքերում (կախված հաշվիչների, չափիչ տրանսֆորմատորների ճշտության դասերից և այլն):
2.7. 0.38-35կՎ լարման բաշխիչ էլեկտրական ցանցերում էլեկտրաէներգիայի կորուստների հաշվարկներում պետք է կիրառել սույն հրահանգի պահանջներին համապատասխանող անհատական համակարգչային ծրագրեր:
Հավելվածում բերված են հանձնարարելի ծրագրերի անոտացիաները:
Այլ ծրագրերի կիրառումը թույլատրվում է ՀՀ Էներգետիկայի նախարարության հետ համաձայնեցնելուց հետո:
3. ԷԼԵԿՏՐԱԷՆԵՐԳԻԱՅԻ ԿՈՐՈՒՍՏՆԵՐԻ ՀԱՇՎԱՐԿԻ ՄԵԹՈԴՆԵՐ
4. 0.38-35 կՎ ԲԱՇԽԻՉ ԷԼԵԿՏՐԱԿԱՆ ՑԱՆՑԵՐՈՒՄ ԷԼԵԿՏՐԱԷՆԵՐԳԻԱՅԻ ԿՈՐՈՒՍՏՆԵՐԻ ՆՎԱԶԵՑՄԱՆ ՄԻՋՈՑԱՌՈՒՄՆԵՐ
4.1. Ներդրումների մինչև 1 տարի հետգնման ժամկետ ապահովող միջոցառումներ
4.1.1. Սպառողների շուրջօրյա էլեկտրամատակարարում:
4.1.2. Էլեկտրացանցային ձեռնարկությունների կարգավարական ծառայությունների զինումը համակարգիչներով և համապատասխան մաթեմատիկական ապահովմամբ:
4.1.3. Միաֆազ սպառիչների ցանցերում կատարել բեռնվածքի հավասարաչափ բաշխում ֆազերի միջև:
յուրաքանչյուր 0.38/0.22 կՎ բաշխիչ վահանակում և պահարանում, ենթակայանների 0.4 կՎ, էլեկտրաձողերից հեռացող գծերի վրա ըստ միաֆազ հաշվիչների ցուցմունքների կատարել ֆազերի ամսական միջին բեռնվածքի որոշման հաշվարկներ, ըստ ստացված արդյունքների իրականացնել ֆազերի բեռնվածքի վերաբաշխում: Կորուստների նվազեցման տեսակետից լավագույն արդյունքներ ստանալու համար պետք է կատարվեն առանձին ֆազերի բեռնվածքի գրաֆիկների կամ դրանց բնութագրական (առավելագույն և նվազագույն բեռնվածք) բեռնվածքի չափումներ, արդյունքները օգտագործելով ֆազերի բեռնվածքի վերաբաշխման մեջ:
4.1.4. Ցանցի լարման սեզոնային կարգավորում ուժային տրանսֆորմատորների ելուստների բոլոր տեղափոխումների միջոցով:
4.1.5. Բոլոր էլեկտրական հեղուսային միացումներում զսպանակավոր տափօղակների (մեջդիրների) պարտադիր կիրառում: Այս միացությունների կանխարգելիչ ձգումների պարբերական անցկացում:
4.1.6. Քառալար էլեկտրական ցանցերում չեզոք լարի միացումների առանձնահատուկ ջանասիրությամբ կատարում ուժային տրանսֆորմատորներից մինչև միաֆազ սպառիչ շղթայի ողջ երկարությամբ:
Նշված միջոցառումների համար անհրաժեշտ է պատրաստել հետևյալ ելակետային տվյալները.
Տարբեր տեսակի էլեկտրական սպառիչների տարվա տարբեր եղանակների համար բեռնվածքի գրաֆիկների, դրանց անհավասարաչափության գործակիցների ստացում և կուտակում տեղեկատու բանկի մեջ:
Սնող 6-35 կՎ ենթակայաններից մինչև 0.38 կՎ լարման միաֆազ և եռաֆազ սպառիչների միջև եղած ցանցում կատարել ֆազերի պիտակավորում: Պիտակավորել 0.38-10 կՎ օդային և մալուխային գծեր, նշելով երկարությունները և հաղորդալարերի և մալուխների տեսակները:
6-35 կՎ էլեկտրահաղորդման գծերում ֆազային հոսանքների մեծությունների որոշում առավելագույն բեռնվածքի ժամերին:
4.2. Ներդրումների 1 տարուց ավելի հետգնման ժամկետ ապահովող միջոցառումներ
4.2.1. Բնակչության (բնակարանների) գազամատակարարման վերականգնումը գազային անհատական հաշվիչների տեղադրումով կպայմանավորի բաշխիչ ցանցերի էլեկտրաէներգիայի կորուստների իջեցում բեռնվածքի և նրա գրաֆիկների հարթեցման շնորհիվ:
4.2.2. Օրվա ժամերով, ըստ հզորության և էներգիայի տարբերակված բազմասակագնային համակարգի կիրառումը բոլոր տեսակի բաժանորդների համար, կպայմանավորի բեռնվածքի օրական գրաֆիկների հարթեցում, հետևապես` ցանցում կորուստների նվազեցում:
4.2.3. 6-10/0.4 կՎ լարման տրանսֆորմատորների փոխարինում համապատասխան հզորության տրանսֆորմատորներով:
Հնարավոր են հետևյալ եղանակները.
-
թերբեռնված (մինչև 10-20%) տրանսֆորմատորի փոխարինումը փոքր հզորության տրանսֆորմատորով, ապահովելով վերջինիս բեռնվածքը 70%-ից մինչև 100%:
-
թերբեռնված (մինչև 15-30%) տրանսֆորմատորի փոխարինումը երկու տրանսֆորմատորով, երբ վերջիններիս գումարային անվանական հզորությունը օգտագործվում է 70%-ից մինչև 100% և ավելի բեռնվածքի դեպքում, երբ որոշ ցածր բեռնվածքի ռեժիմներում աշխատում է մեկ տրանսֆորմատորը, իսկ մյուսն անջատվում է:
-
ցանցային ձեռնարկությունում ստեղծվում է տրանսֆորմատորների պահուստային կազմ, որ անհրաժեշտության դեպքում օգտագործվի գործողների փոխարինման համար:
4.2.4. Բաշխիչ 0.38-35 կՎ լարման ցանցերի նորացում:
4.2.5. Էլեկտրաէներգիայի հաշվառքի և իրացման խնդիրների ավտոմատացված համակարգի ներդրում և կիրառում:
ՕԳՏԱԳՈՐԾՎԱԾ ԳՐԱԿԱՆՈՒԹՅԱՆ ՑԱՆԿ
потерь энергии и мощности в Ереванскиx электросетяx 0,38-6(10) кВ на переxодный период. Отчет о НИР. ГП “Институт Энергетики”, 94 стр., Ереван, 1996г.
1. Железко Ю.С.
Выбор мероприятий по снижению потерь электроэнергии в электрическиx сетяx. М., Энергоатомиздат, 1989.
2. Поспелов Г.Е.,
Сыг Н.М. Потери мощности и энергии в электрическиx сетяx. М., Энергоиздат, 1981
3. Инструкция
по учету и анализу теxнологического расxода электрической энергии на передачу по электрическим сетям энергосистем и энергообъединений: И3470-030-87.М., Союзтеxэнерго, 1987.
4. Нормирование
|
Հավելված 1 |
0.38-35 կՎ ԲԱՇԽԻՉ ԷԼԵԿՏՐԱԿԱՆ ՑԱՆՑԵՐՈՒՄ ԷԼԵԿՏՐԱԷՆԵՐԳԻԱՅԻ ԿՈՐՈՒՍՏՆԵՐԻ ՀԱՇՎԱՐԿԻ ԾՐԱԳՐԵՐԻ ՀԱՄԱԼԻՐ
Ա. ԾՐԱԳՐԱՅԻՆ ԱՊԱՀՈՎՈՒՄ
Սույն հրահանգում բերված էլեկտրացանցերում էլեկտրաէներգիայի կորուստների և հաշվեկշռի հաշվարկի մեթոդների կիրառման և կորուստների նվազեցման միջոցառումների որոշման համար հանձնարարվում են հետևյալ ալգորիթմները և ծրագրերը.
1. Էլեկտրացանցային ձեռնարկությունների 0.38-35 կՎ լարման բաշխիչ ցանցերի տեղեկատու բանկի ստեղծում:
2. 0.38-35 կՎ լարման բաշխիչ ցանցերում հոսանքի միջին արժեքի հաշվարկը լրիվ և ոչ լրիվ ելակետային տվյալներով:
3. 0.38-35 կՎ լարման բաշխիչ ցանցերում հոսանքի առավելագույն արժեքի հաշվարկը լրիվ և ոչ լրիվ ելակետային տվյալներով:
4. 6(10) կՎ լարման բաշխիչ ցանցի օպտիմալ սխեմայի որոշումը և հաշվարկը:
5. 0.38-35 կՎ լարման բաշխիչ էլեկտրական ցանցերում էլեկտրաէներգիայի կորուստների հաշվեկշռի հաշվարկը:
Բ. ԾՐԱԳՐԵՐԻ ԱՆՈՏԱՑԻԱՆԵՐ
1-ԻՆ ԾՐԱԳԻՐ: 0.38-35 կՎ լարման ցանցերի տեղեկատու բանկ:
Ծրագրով կատարվում են հետևյալ գործողությունները.
1. 0.38-35 կՎ լարման էլեկտրական ցանցի միագիծ սխեմայի ելակետային տվյալների գրառում, ինչպես նաև.
ձևավորվում են ցանցի բոլոր տոպոլոգիական հանգույցների ցուցակները ըստ բոլոր սնող ենթակայանների հաղորդաձողերի, բաշխիչ կետերի, տրանսֆորմատորային և գործարանային ենթակայանների, ցանցի բաժանման կետերի,
ձևավորվում է յուրաքանչյուր հանգույցի պարունակությունը (ուժային տրանսֆորմատոր, բաժանիչ, անջատիչ, ապահովիչ, հոսանքի տրանսֆորմատոր և այլն),
ձևավորվում են տոպոլոգիական ծառի ճյուղերը, դրանց աշխատանքային վիճակը (աշխատանքի մեջ, պահեստում, անջատված ծայրը և այլն),
ձևավորվում է յուրաքանչյուր ճյուղի պարունակությունը (մալուխային կամ օդային հաղորդման գիծ, դրա երկարությունը, նյութի տեսակը, զուգահեռ գծեր, բաժանիչ, անջատիչ, հոսանքի տրանսֆորմատոր, ապահովիչ և այլն):
2. Տեղեկատու բանկի տվյալների ճշտում, փոփոխություն:
3. Տեղեկատու բանկի տվյալներում սխալների հայտնաբերում, այդ թվում.
-
ցանցում կոնտուրի առկայություն,
-
«կախված», առանց սնման հանգույցներ,
-
գրառման կրկնություն,
-
հանգույցի և ճյուղի գրառման անհամապատասխանություն:
4. 0.38-35 կՎ լարման ցանցում էլեկտրասնման ուղղության սխեմայի կառուցվածքի (տոպոլոգիական ծառ) ստացում, մասնավորապես.
ծառի համարի և ճյուղի թվաքանակի հիշում,
էլեկտրասնման ուղղության գլխամասային ճյուղից սկսած ողջ ծառի ճյուղերի հաջորդական գրառում, ըստ ծառում ճյուղի տոպոլոգիական գրաված դիրքի,
անջատված ճյուղերի ցուցակի ստացում, որում նշված են ճյուղի անջատված ծայրը, այդ ճյուղով կապվող ծառերի համարները:
5. 0.38-35 կՎ լարման ցանցում էլեկտրասնման ուղղության տեղամասի սխեմային կառուցվածքի (տոպոլոգիայի) կառուցում, դրա ճյուղերի հաջորդական գրառում ըստ տոպոլոգիական դիրքի և դիտարկվող ծառի գլխամասային ճյուղի գրառում:
6. 0.38-35 կՎ էլեկտրացանցի յուրաքանչյուր ծառի հանգույցների ցուցակի կազմում, հանգույցներում միացված բոլոր առաջնային շղթայի տարրերի գրառումով:
7. 0.38-35 կՎ լարման էլեկտրացանցի յուրաքանչյուր ծառի ճյուղերի ցուցակի կազմում, ճյուղերում տեղակայված բոլոր առաջնային շղթայի տարրերի գրառումով:
8. Մալուխային էլեկտրահաղորդման գծերի տվյալների ձևավորում.
-
տվյալ ճյուղի վթարման տվյալների (ճյուղի անվանում, վթարի ամիս, ամսաթիվ, ժամ) գրառում,
-
տվյալ ճյուղի վթարի տեղի հայտնաբերման տվյալների գրառում,
-
տվյալ ճյուղի աշխատունակության վերականգնման տվյալների (ամիս, ամսաթիվ, ժամ) գրառում,
-
տվյալ ճյուղի փորձարկման տվյալների (ամիս, ամսաթիվ, ժամ) գրառում,
-
վերականգնված ճյուղի աշխատանքը վերսկսելու, ինչպես նաև ճյուղի ծայրերից հողանցումների հանելու մասին տվյալների (ամիս, ամսաթիվ, ժամ) գրառում:
9. Սարքավորման (էլեկտրակայանքի) տեսակի գրառումը և դրա գտնելը.
-
կազմել բոլոր տեսակի սարքավորումների և էլեկտրակայանքների տեղեկատուներ,
-
տեղեկատու բանկում յուրաքանչյուր նշված սարքավորման տողում գրառել տեսակի համարը ըստ տեղեկատվում զբաղեցրած տեղի,
-
էլեկտրացանցի տվյալ բաղադրամասում սարքավորման տեսակի արձանագրում:
10. «Տեղեկատու բանկ» ծրագիրը հնարավորություն է տալիս.
-
տեղեկատու ծրագրում մտցնել առանձին ցանցային ձեռնարկությունների տվյալները,
-
առանձին ցանցային ձեռնարկությունների տվյալների միացումը որպես մեկ միասնական տվյալների բանկ,
-
ցանցային ձեռնարկության տեղեկատու բանկից ցանցի առանձին մասերի տվյալների առանձնացում, այսինքն ցանցի յուրաքանչյուր առանձին մասի համար տեղեկատու բանկի ստեղծում:
2-ՐԴ ԾՐԱԳԻՐ: 0.38-35 կՎ էլեկտրացանցի հանգուցային հոսանքների միջին արժեքների հաշվարկի համար պակաս տվյալների մոտավոր որոշում ըստ էլեկտրասնման տվյալ ուղղության կազմի և տոպոլոգիական կառուցվածքի, ինչպես նաև էլեկտրահաշվիչների ցուցմունքների և հզորության գործակիցների մասին հայտնի տվյալների:
Հանգույցների հոսանքների որոշված միջին արժեքներով հաշվվում են տվյալ ուղղության բոլոր ճյուղերի հոսանքների միջին արժեքները:
3-ՐԴ ԾՐԱԳԻՐ: Որոշվում են տվյալ սնման ուղղության տարրերի հոսանքների առավելագույն արժեքները ելնելով ուղղության կազմի, տոպոլոգիայի, բնութագրական օրերին, ժամերին և հանգույցներում կատարած առավելագույն հոսանքների չափումների արդյունքներից:
4-րդ ԾՐԱԳԻՐ: Կատարվում է էլեկտրական 6-10 կՎ ցանցի բաժանման կետերի «օպտիմալ» տեղերի որոշում, հաշվարկվում է բաժանման կետերի «օպտիմալացումից» սպասվող էլեկտրաէներգիայի կորուստի նվազեցման մեծությունը:
Ծրագիրն աշխատում է հաշվի առնելով խնդրի բոլոր հնարավոր տեխնիկական և ռեժիմային սահմանափակումները:
5-րդ ԾՐԱԳԻՐ: 0.38 կՎ լարման էլեկտրացանցում էլեկտրաէներգիայի կորուստների հաշվարկ:
Ելակետային տվյալներն են.
-
6-10/0.4 կՎ բաշխիչ տրանսֆորմատորի 0.4 կՎ լարման էլեկտրաձողերից հեռացող յուրաքանչյուր էլեկտրահաղորդման գծից (ֆիդերից) սնվող ցանցի միագիծ էլեկտրական սխեման յուրաքանչյուր տարրի բոլոր պարամետրերով,
-
նշված գծով (ֆիդերով) հաղորդված էլեկտրաէներգիայի քանակը դիտարկվող հաշվարկային ժամանակահատվածում:
Դիտարկվող ցանցում (ցանցերում) կատարվում է էլեկտրաէներգիայի կորուստի հաշվարկ: Տվյալ տրանսֆորմատորից սնվող մի քանի ցանցերի առկայության դեպքում ծրագրով հաշվվում է բոլոր ցանցերում տեղի ունեցող գումարային կորուստի արժեքը:
6-ՐԴ ԾՐԱԳԻՐ: 6-10 կՎ լարման էլեկտրացանցի ուղղության (ծառի) բաշխիչ տրանսֆորմատորներից սնվող 0.38 կՎ լարման էլեկտրացանցում էլեկտրաէներգիայի կորուստների հաշվարկ:
Ելակետային տվյալներն են.
-
տվյալ ուղղության բոլոր 6-10/0.4 կՎ լարման տրանսֆորմատորների և դրանցից հեռացող էլեկտրահաղորդման գծերով (ֆիդերներով) սնվող 0.38 կՎ էլեկտրացանցերի միագիծ էլեկտրական սխեմաները և դրանց տարրերի պարամետրերը,
-
նշված բոլոր էլեկտրահաղորդման գծերով (ֆիդերներով) հաղորդված էլեկտրաէներգիայի քանակները ըստ գծերի դիտարկվող հաշվարկային ժամանակահատվածում:
Կատարվում է 0.38 կՎ լարման էլեկտրացանցում էլեկտրաէներգիայի կորուստների հաշվարկ: Ըստ ստացված արդյունքների որոշվում են ցանցի կորուստները այն ուղղություններում, որոնց տվյալները թերի են:
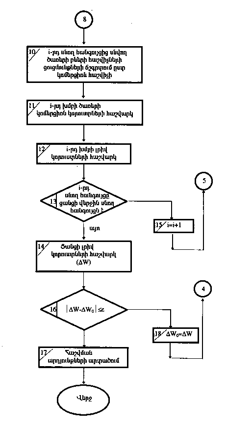
7-ՐԴ ԾՐԱԳԻՐ: 0.38-35 կՎ լարման էլեկտրացանցերում էլեկտրաէներգիայի կորուստների ամփոփիչ հաշվարկ:
Ելակետային տվյալներն են.
-
0.38-35 կՎ լարման էլեկտրացանցի ճյուղերի բոլոր պարամետրերը, որ պահվում են տեղեկատու բանկում,
-
դիտարկվող հաշվարկային ժամանակահատվածում ցանց գլխամասային տարրերով և բաշխիչ 6-10/0.4 կՎ լարման տրանսֆորմատորները ցածր լարման մասով հաղորդված էլեկտրաէներգիաների քանակները:
Ծրագրով հաշվարկվում և արտատպվում է.
-
էլեկտրաէներգիայի կորուստները ցանցի բոլոր ուժային տրանսֆորմատորներում (պարապ ընթացքի և բեռնվածքի),
-
էլեկտրաէներգիայի կորուստները ցանցի բոլոր էլեկտրահաղորդման գծերում,
-
էլեկտրաէներգիայի առևտրային կորուստները,
-
էլեկտրաէներգիայի կորուստների ամփոփ տվյալները դիտարկվող ցանցում հաշվարկային ժամանակահատվածի ընթացքում,
-
էլեկտրահաղորդման գծերի և տրանսֆորմատորների գերբեռնման բացահայտում և գրանցում,
-
անվանական լարումից անթույլատրելի շեղում ունեցող հանգույցների բացահայտում և գրանցում:
|
Հավելված 2 |
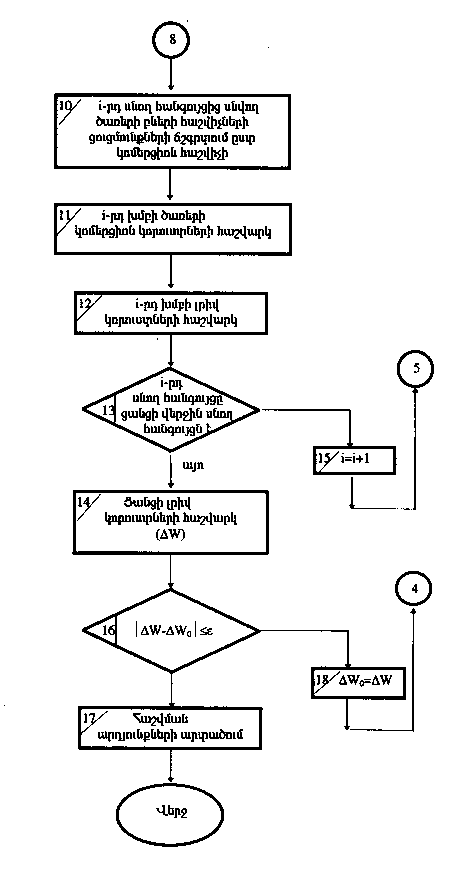
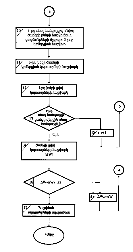
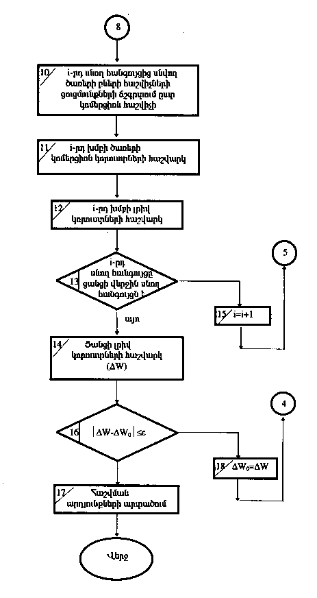
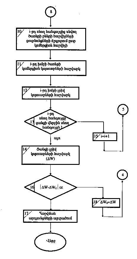
0.38-35 կ Վ ԲԱՇԽԻՉ ԷԼԵԿՏՐԱԿԱՆ ՑԱՆՑԵՐՈՒՄ ԷԼԵԿՏՐԱԷՆԵՐԳԻԱՅԻ ԿՈՐՈՒՍՏՆԵՐԻ ՀԱՇՎՄԱՆ ԱԼԳՈՐԻԹՄԻ ԲԼՈԿ-ՍԽԵՄԱ