«Վավերացնում եմ»
Հայաստանի Հանրապետության
Նախագահ Ռ. Քոչարյան
6 հունիսի 2006 թ.
ՀԱՅԱՍՏԱՆԻ ՀԱՆՐԱՊԵՏՈՒԹՅԱՆ ԿԱՌԱՎԱՐՈՒԹՅՈՒՆ
Ո Ր Ո Շ ՈՒ Մ
9 փետրվարի 2006 թվականի N 692-Ն
ՎԵՐԵԼԱԿՆԵՐԻ ԵՎ ԴՐԱՆՑ ՇԱՀԱԳՈՐԾՄԱՆ ԱՆՎՏԱՆԳՈՒԹՅԱՆ ՊԱՀԱՆՋՆԵՐԻ ՏԵԽՆԻԿԱԿԱՆ ԿԱՆՈՆԱԿԱՐԳԸ ՀԱՍՏԱՏԵԼՈՒ ՄԱՍԻՆ
«Ստանդարտացման մասին» Հայաստանի Հանրապետության օրենքի 8-րդ հոդվածի դրույթներին համապատասխան, ինչպես նաև հաշվի առնելով մարդու կյանքին և առողջությանը, ֆիզիկական և իրավաբանական անձանց ու պետական գույքին, շրջակա միջավայրին վնաս պատճառելու ռիսկի աստիճանը` Հայաստանի Հանրապետության կառավարությունը որոշում է.
1. Հաստատել վերելակների և դրանց շահագործման անվտանգության պահանջների տեխնիկական կանոնակարգը` համաձայն հավելվածի:
2. Սույն որոշումն ուժի մեջ է մտնում պաշտոնական հրապարակման օրվանից 9 ամիս հետո` բացառությամբ սույն որոշմամբ հաստատված տեխնիկական կանոնակարգի 38-րդ կետի, որն ուժի մեջ է մտնում սույն որոշումն ուժի մեջ մտնելու օրվանից 3 տարի հետո:
|
Հայաստանի Հանրապետության |
Ա. Մարգարյան |
|
|
|
Հավելված |
Տ Ե Խ Ն Ի Կ Ա Կ Ա Ն Կ Ա Ն Ո Ն Ա Կ Ա Ր Գ
ՎԵՐԵԼԱԿՆԵՐԻ ԵՎ ԴՐԱՆՑ ՇԱՀԱԳՈՐԾՄԱՆ ԱՆՎՏԱՆԳՈՒԹՅԱՆ ՊԱՀԱՆՋՆԵՐԻ
I. ԿԻՐԱՌՄԱՆ ՈԼՈՐՏԸ
1. Սույն վերելակների և դրանց շահագործման անվտանգության պահանջների տեխնիկական կանոնակարգի (այսուհետ` տեխնիկական կանոնակարգ) գործողությունը տարածվում է արտաքին տնտեսական գործունեության ապրանքային անվանացանկի 8428 10 ծածկագրից` շենքերում և տներում մշտական օգտագործվող վերելակների, ինչպես նաև 8431 31 000 ծածկագրից` վերելակների կազմում օգտագործվող հետևյալ անվտանգության ապահովման սարքերի վրա`
ա) նստեցման դռները փակող սարքերի վրա,
բ) հոսանքազրկման կամ վերելակի բաղկացուցիչ մասերից որևէ մեկի անսարքության դեպքում` խցիկի անկումները կամ անկառավարելի ընթացքը բացառող սարքերի վրա,
գ) արագությունը սահմանափակող սարքերի վրա,
դ) ոչ գծային կամ հետադարձ շարժման արգելակմամբ էներգիա կուտակող մեղմիչների վրա,
ե) էներգիայի ցրման մեղմիչների վրա,
զ) անկումները կանխելու համար օգտագործվող հիդրավլիկ ուժային շղթաների խոռոչներում տեղակայված անվտանգության ապահովման բաղկացուցիչ մասերի վրա,
է) էլեկտրոնային բաղկացուցիչ մասեր պարունակող փոխարկիչների տեսքով անվտանգության ապահովման էլեկտրական ապահովիչ սարքերի վրա
2. Սույն տեխնիկական կանոնակարգով սահմանվում են 1-ին կետով նախատեսված շենքերում և տներում մշտական օգտագործման վերելակներին (այսուհետ` վերելակներ) ու դրանց կազմում օգտագործվող` անվտանգության ապահովման սարքերին (այսուհետ` անվտանգության ապահովման սարքեր) ներկայացվող տեխնիկական պահանջները, մակնշմանը ներկայացվող պահանջները, վերելակների կառուցվածքը և անվտանգ շահագործման կանոնները, համապատասխանության գնահատման ընթացակարգերը:
(2-րդ կետը փոփ. 02.04.15 N 356-Ն)
3. Սույն տեխնիկական կանոնակարգի գործողությունը չի տարածվում`
ա) հանրային կամ անհատ անձանց փոխադրման համար օգտագործվող կախուղիների, այդ թվում` ճոպանուղիների վրա,
բ) զինված ուժերի կամ իրավապահ մարմինների օգտագործման համար հատուկ նախատեսված վերելակների վրա,
գ) հանքահորերում օգտագործվող ամբարձիչ սարքերի վրա,
դ) թատրոններում օգտագործվող վերելակների վրա,
ե) տրանսպորտային միջոցների վրա տեղադրված ամբարձիչների վրա,
զ) սարքավորումներին միացված և բացառապես աշխատատեղին հասնելու համար նախատեսված վերելակների վրա,
է) ատամնաձողերի և ժանանիվների օգնությամբ փոխադրման համակարգերի վրա,
ը) շինհրապարակներում մարդկանց կամ մարդկանց և բեռների ամբարձիչների վրա:
4. Վերելակները և դրանց անվտանգության ապահովման սարքերը ենթակա են համապատասխանության պարտադիր գնահատման:
(4-րդ կետը փոփ. 02.04.15 N 356-Ն)
II. ՀԱՍԿԱՑՈՒԹՅՈՒՆՆԵՐԸ
5. Սույն տեխնիկական կանոնակարգում կիրառված են հետևյալ հասկացությունները`
անվանական արագություն` վերելակի տեխնիկական տեղեկաթերթիկում ամրագրված խցիկի շարժման արագությունը, որով այն հաշվարկված է.
անվանական բեռնունակություն` վերելակի տեխնիկական տեղեկաթերթիկում ամրագրված բեռի ամենամեծ զանգվածը, որի փոխադրման համար նախատեսված է վերելակը.
անվտանգության ապահովման սարքեր արտադրող` իրավաբանական անձ կամ անհատ ձեռնարկատեր, որը պատասխանատու է անվտանգության ապահովման սարքերի նախագծման, արտադրման, տեղադրման, համապատասխանությունը հայտարարագրելու, համապատասխանության ազգային նշանով մակնշելու և շուկա վաճառքի հանելու համար.
անվտանգության էլեկտրական սարքավորում` վերելակի անվտանգ շահագործումն ապահովելու համար նախատեսված էլեկտրական սարքավորում.
անվտանգության շղթա` անվտանգության սարք պարունակող էլեկտրական շղթա.
անվտանգության սարք` վերելակից անվտանգ օգտվելն ապահովելու համար նախատեսված տեխնիկական սարք.
աշխատանքային (ընթացքի) արագություն` վերելակի խցիկի շարժման փաստացի արագություն, որը կարող է անվանական արագությունից շեղվել 15 տոկոսից ոչ ավելի.
աստղանիվային կարապիկ` կարապիկ, որի քարշող ճիգն ստեղծվում է քարշող շղթայի աստղանիվին կառչելու հաշվին.
արտաքին կառավարում` կառավարման տեսակ, որի ժամանակ վերելակի գործարկման հրահանգները տրվում են միայն շինության հարկերի հարթակներից.
բազմաշերտ ապակի` ապակե արտադրատեսակ` կազմված 2 և ավելի շերտից, որոնք միմյանց միացված են մեկ կամ մի քանի միջանկյալ պլաստմասսայե պատվածքով միջնաշերտով.
բլոկային սենք` բլոկների տեղադրման համար նախատեսված առանձին շինություն.
գետնախորշ` վերելակի հորանի մի մասը, որը գտնվում է ներքևի հարկի հարթակի եզրից ցածր.
եզակի կառավարում` մեկ վերելակի կառավարման համակարգ.
էլեկտրական վերելակ` վերելակ` էլեկտրաշարժաբերով.
թափարգելիչ` աշխատանքային սահմանային դիրքերից անցման դեպքում շարժվող խցիկի (հակակշռի) թափամեղմման և կանգնեցման համար նախատեսված սարք.
թեքող (ուղղորդիչ) բլոկ` ճոպանը պահանջվող ուղղությամբ թեքող սարք.
թմբուկավոր կարապիկ` կարապիկ, որի քարշող ճիգն ստեղծվում է ճկուն քարշող տարրերի թմբուկին կոշտ ամրացնելու և դրանց` թմբուկի հետ շփման հաշվին.
խառը կառավարում` կառավարման տեսակ, որի դեպքում վերելակի գործարկման հրահանգներ տրվում են ինչպես խցիկի ներսից, այնպես էլ` հարկերի հարթակներից.
խմբակային կառավարում` 2 և ավելի վերելակների համատեղ աշխատանքի կառավարման համակարգ.
խցիկ` բեռնակրող սարք, որը նախատեսված է մարդկանց (ուղևորների) տեղավորման համար.
խցիկի աշխատանքային լուսավորություն` մշտական էլեկտրական լուսավորություն, որն ապահովում է խցիկի նորմավորված լուսավորությունը.
խցիկի կանգի ճշտություն (կանգի ճշտություն)` խցիկի ավտոմատ կանգից հետո ուղղագիծ ուղղությամբ դրա հատակի և հարկի հարթակի միջև եղած տարածությունը (մակարդակների տարբերությունը).
խցիկի հատակի օգտակար մակերես` խցիկի հատակի մակերեսը, որը սահմանափակված է պատերի ներքին մակերևույթներով և խցիկի դռնով (դռներով)` հանած ծխնիավոր դռների մի փեղկի և բռնաձողի բացվելու ժամանակ գրաված մակերեսը.
կալուն (բաշմակ)` ուղղորդիչների նկատմամբ վերելակի հանգույցների դիրքն ապահովող սարք.
կառավարման համակարգ` վերելակի աշխատանքն ապահովող կառավարման սարքերի (հարմարանքների) համախումբ.
կառավարման հրահանգ` վերելակից օգտվող ուղևորի կամ սպասարկող անձնակազմի կողմից կառավարման համակարգին տրվող կամ այդ համակարգի կողմից ձևավորվող հրահանգ.
կառավարման շղթա` էլեկտրական շղթա, որը պարունակում է տարրեր, որոնց գործառութային նշանակությունն էլեկտրասարքավորումները և (կամ) առանձին էլեկտրական սարքերը գործողության մեջ դնելը կամ դրանց պարամետրերը փոխելն է.
կառավարման ռեժիմ` կառավարման համակարգի միջոցով վերելակի աշխատանքային գործառույթների կատարման հնարավորությունների ամբողջականության ապահովումը.
կառավարման տեսակ` վերելակն իր նշանակությամբ օգտագործելու ժամանակ կառավարման հրահանգներ տալու եղանակների համատեղումը.
կարապիկ` վերելակի խցիկի շարժումն ապահովող քարշող ճիգի ստեղծման համար նախատեսված էլեկտրաշարժիչով էլեկտրամեխանիկական սարք.
կտրուկ արգելակման որսիչներ` առաձգական տարրեր չունեցող որսիչներ.
հավաքական կառավարում` խառը կառավարում, որի դեպքում կառավարման մի հրահանգը տալուց (գրանցելուց) հետո կարող են տրվել (գրանցվել) նաև հաջորդական հրահանգներ, որոնք կատարվում են սահմանված ծրագրին համապատասխան.
հավաքակցման (մոնտաժային) գծագիր` գծագիր, որի համաձայն տեղակայվում և մոնտաժվում են վերելակի սարքավորումները.
հիդրավլիկական վերհան (վերելակ)` վերելակ` առաջընթաց շարժման էլեկտրապոմպային հիդրոշարժաբերով.
հորան` շինություն, որում շարժվում են խցիկը և հակակշիռը.
ճկուն քարշող տարր` տարր (ճոպան, շղթա, փոկ), որից կախված է խցիկը (հակակշիռը) և, որը նախատեսված է քարշի ճիգերը փոխանցելու համար.
մեքենայական սենք` բոլոր կողմերից ցանկապատված տարածություն` լուսավորված դռնով, որում տեղադրված են շարժաբերը, ներանցման սարքվածքը, կառավարման կայանը և վերելակի այլ սարքերը.
նետանցման սարք` էլեկտրատեխնիկական սարք, որի հիմնական նշանակությունը վերելակի էլեկտրասնուցման ուժային գծի մուտքին լարում տալը (միացնելը) և անջատելն է.
ներքին կառավարում` կառավարման տեսակ, որի դեպքում վերելակի գործարկման կառավարման հրահանգները տրվում են միայն խցիկի ներսից.
շահագործման հանձնում` ավարտված գործընթաց, որը փաստում է վերելակի` իր նշանակությամբ օգտագործման և փաստաթղթային ձևակերպման պատրաստ լինելը.
շարժիչի հոսանքի գլխավոր շղթա` էլեկտրական շղթա, որը պարունակում է էլեկտրաշարժիչին էլեկտրական էներգիա հաղորդելու տարրեր.
որսիչներ` անվտանգության հարմարանք, որը նախատեսված է խցիկը (հակակշիռը) կանգնեցնելու և ուղղորդիչների վրա պահելու համար` դրա աշխատանքային արագության մեծացման կամ քարշող տարրերի կտրվելու դեպքում.
սահուն արգելակման որսիչներ` որսիչներ, որոնք ունեն առաձգական տարր (զսպանակ և այլն), որի դեֆորմացիայով որոշվում է արգելակման մասի վրա ազդող ուժի մեծությունը.
վերելակ` պարբերական գործողության հաստատուն բեռնամբարձչային սարք` նախատեսված անշարժ ամրացված և հորիզոնականի նկատմամբ 150-ից ավելի անկյունային թեքությամբ ուղղորդիչով շարժվող խցիկում ուղևորներ կամ ուղևորներ և բեռներ փոխադրելու համար կամ միայն բեռներ փոխադրելու համար, եթե խցիկը մատչելի է մարդկանց` առանց որևէ դժվարության խցիկ մուտք գործելու համար, և եթե այն սարքավորված է ներսում գտնվող մարդու համար հասանելի կառավարման միջոցներով.
վերելակը շուկա վաճառքի հանելը` արտադրող կամ տեղադրող կազմակերպության կողմից վերելակն առաջին անգամ շահագործողին հանձնելը.
վերելակի սարքավորում` վերելակի կազմի մեջ մտնող առանձին սարքեր և մեխանիզմներ ու հանգույցներ.
վերելակը տեղադրող կազմակերպություն` իրավաբանական անձ կամ անհատ ձեռնարկատեր, որն իր վրա է վերցնում վերելակի նախագծման, արտադրման կամ տեղադրման, համապատասխանությունը հայտարարագրելու, համապատասխանության ազգային նշանով մակնշելու և շուկա վաճառքի հանելու պատասխանատվությունները.
տեխնիկական սպասարկում` համալիր ընթացակարգեր` վերելակի սարքինությունը և աշխատունակությունը պահպանելու համար.
ուժային շղթա` էլեկտրական շղթա, որը պարունակում է տարրեր` էլեկտրական էներգիայի փոխանցման, բաշխման և այլ արժեքներով հարաչափերի էլեկտրական էներգիայի կերպափոխման գործառութային նշանակությամբ.
փոկանիվով կամ շփման թմբուկով կարապիկ` կարապիկ, որի քարշող ճիգն ստեղծվում է քարշող տարրերի փոկանիվի կամ թմբուկի հետ շփման հաշվին:
(5-րդ կետը փոփ. 02.04.15 N 356-Ն)
III. ՇՈՒԿԱ ՄՈՒՏՔ ԳՈՐԾԵԼՈՒ ՊԱՅՄԱՆՆԵՐԸ
6. Հայաստանի Հանրապետության տարածքում վերելակների և դրանց անվտանգության ապահովման սարքերի իրացման ժամանակ պետք է պահպանվեն համապատասխանության պարտադիր գնահատման ենթակա արտադրանքի նկատմամբ Հայաստանի Հանրապետության օրենսդրությամբ սահմանված պայմանները:
(6-րդ կետը փոփ. 02.04.15 N 356-Ն)
7. Հայաստանի Հանրապետության տարածքում համապատասխանության պարտադիր գնահատման ենթակա և շրջանառության մեջ գտնվող վերելակներն ու դրանց անվտանգության ապահովման սարքերը պետք է ուղեկցվեն համապատասխանության ազգային նշանի մակնշմամբ կամ համապատասխանության հայտարարագրով:
(7-րդ կետը փոփ. 02.04.15 N 356-Ն)
8. Սույն տեխնիկական կանոնակարգում նշված վերելակներն ու դրանց անվտանգությունն ապահովող սարքերը կարող են շուկա վաճառքի հանվել և շահագործման հանձնվել միայն այն դեպքում, եթե դրանք պատշաճ կերպով տեղադրվել են, ինչպես նաև ըստ նշանակության շահագործման պայմաններում որևէ վտանգ չեն կարող ներկայացնել մարդկանց կյանքին, առողջությանը կամ գույքին:
9. Շենքի կամ շինության տարածքում շինարարական աշխատանքներ կատարելու համար պատասխանատու և վերելակ տեղադրող կազմակերպությունները պետք է միմյանց տեղեկացնեն վերելակի անվտանգ շահագործման համար կարևոր նշանակություն ունեցող փաստերի մասին և համապատասխան միջոցներ ձեռնարկեն դրանց անվտանգ շահագործումն ապահովելու ուղղությամբ: Նրանք պետք է կատարեն բոլոր այն անհրաժեշտ գործողությունները, որպեսզի վերելակների համար նախատեսված հորաններում տեղադրված չլինեն խողովակներ կամ մետաղալարեր` բացառությամբ վերելակների շահագործման կամ անվտանգության ապահովման համար նախատեսվածներից:
IV. ՏԵԽՆԻԿԱԿԱՆ ՊԱՀԱՆՋՆԵՐԸ
10. Վերելակների և դրանց անվտանգության ապահովման սարքերի վերաբերյալ սույն տեխնիկական կանոնակարգով չնախատեսված անվտանգության պահանջները պետք է համապատասխանեն ցածր լարման էլեկտրասարքավորումների ու մեքենաների և մեխանիզմների անվտանգությանը ներկայացվող` Հայաստանի Հանրապետության օրենսդրությամբ սահմանված պահանջներին:
ԽՑԻԿԸ, ԽՑԻԿԻ ԿԱՆԳՆ ԱՊԱՀՈՎՈՂ ՄԻՋՈՑՆԵՐԸ ԵՎ ՆԵՑՈՒԿԱՅԻՆ ՄԻՋՈՑՆԵՐԸ
11. Խցիկը պետք է արտադրված լինի այնպես, որպեսզի վերելակի ուղևորների առավելագույն թիվը և անվանական բեռնունակությունը համապատասխանի վերելակը տեղադրող կազմակերպության կողմից սահմանված տարողության ու հզորության չափանիշներին:
12. Ուղևորների փոխադրման համար նախատեսված վերելակների խցիկները պետք է արտադրված լինեն այնպես, որպեսզի դրանց կառուցվածքային առանձնահատկությունները չխոչընդոտեն հաշմանդամ մարդկանց մուտքը և, որպեսզի հնարավոր լինի վերելակի կառավարումը հարմարեցնել այդպիսի մարդկանց և նրանց կողմից դրա շահագործումը դյուրին դարձնել:
13. Խցիկի կանգն ապահովող միջոցները և նեցուկային միջոցները, դրանց կցամասերը և այլ բաղկացուցիչ մասերը պետք է ընտրված լինեն այնպես, որպեսզի դրանք ապահովեն անվտանգության ընդհանուր մակարդակը և նվազեցնեն խցիկի անկման հավանականությունը` հաշվի առնելով շահագործման պայմանները, օգտագործված նյութերը և արտադրման պայմանները:
14. Եթե խցիկի կանգն ապահովվում է ճոպանների կամ շղթաների միջոցով, ապա պետք է նախատեսված լինեն 2 առանձին ճոպաններ կամ շղթաներ` յուրաքանչյուրն իր ամրանային համակարգով: Այդպիսի ճոպաններն ու շղթաները պետք է զուրկ լինեն միակցումներից` բացառությամբ այն դեպքերի, երբ դրանք անհրաժեշտ են հանգույցն ամրացնելու համար:
15. Շահագործման աշխատանքային ռեժիմում խցիկի ինքնավար կանգի ճշտությունը պետք է լինի ± 35 մմ-ի սահմաններում:
ԲԵՌՆՈՒՆԱԿՈՒԹՅԱՆ ԵՎ ԱՐԱԳՈՒԹՅԱՆ ԳԵՐԱԶԱՆՑՈՒՄԸ ՍԱՀՄԱՆԱՓԱԿՈՂ ՍԱՐՔԵՐԸ
16. Վերելակները պետք է արտադրված և տեղադրված լինեն այնպես, որպեսզի անվանական բեռնունակության գերազանցման դեպքում վերելակների տեղաշարժը բացառվի:
17. Վերելակները պետք է սարքավորված լինեն արագությունը կարգավորող (արագության գերազանցումը կանխող) սարքով` բացառությամբ այն վերելակների, որոնց շարժիչային համակարգն ինքն է կարգավորում արագությունը և բացառում արագության գերազանցումը:
18. Խցիկի աշխատանքային ընթացքի արագության շեղումներն անվանական արագությունից պետք է լինեն 15 տոկոսից ոչ ավելի:
19. Արագընթաց վերելակները, որոնց ընթացքի արագությունը գերազանցում է 0,6 մ/վ-ն, պետք է սարքավորված լինեն արագության վերահսկման ու արագության սահմանափակման համար նախատեսված սարքերով և կանգի ժամանակ փափուկ արգելակումն ապահովող արգելակման համակարգով:
Չի թույլատրվում արգելակման համակարգերում ասբեստի օգտագործումը:
20. Շփման փոկանիվի միջոցով աշխատող վերելակները պետք է նախագծված լինեն այնպես, որպեսզի ապահովվի փոկանիվների քարշաճոպանների կայունությունը:
ԱՇԽԱՏԱՆՔԱՅԻՆ ՄԵԽԱՆԻԶՄԸ
21. Բոլոր ուղևորատար վերելակները պետք է ապահովված լինեն իրենց աշխատանքային մեխանիզմներով` բացառությամբ այն վերելակների, որոնց հակակշիռները փոխարինված են երկրորդ խցիկով:
22. Վերելակ տեղադրող կազմակերպությունը պետք է ապահովի վերելակների աշխատանքային մեխանիզմների և դրանց հետ կապված սարքերի անմատչելիությունն ուղևորների համար` բացառությամբ տեխնիկական սպասարկման, նորոգման և արտակարգ իրավիճակների դեպքերի:
ԿԱՌԱՎԱՐՄԱՆ ՄԻՋՈՑՆԵՐԸ
23. Առանց ուղեկցողի հաշմանդամ ուղևորների համար նախատեսված վերելակների կառավարման միջոցները պետք է տեղադրված լինեն այնպես, որպեսզի դրանք մատչելի լինեն նրանց համար:
24. Կառավարման միջոցների գործառույթները պետք է հստակ մակնշված լինեն:
25. Վերելակների խմբի կանչի սխեմաները կարող են լինել առանձին կամ փոխկապակցված:
26. Էլեկտրասարքավորումները պետք է տեղադրված լինեն այնպես, որպեսզի`
ա) բացառվեն վերելակների հետ ուղղակի կապ չունեցող միացումներին դրանք խառնելու հնարավորությունը,
բ) հոսանքի միացումը հնարավոր լինի անգամ բեռնվածության ժամանակ,
գ) վերելակի ընթացքը կախված լինի էլեկտրական ապահովիչների առանձին էլեկտրական պաշտպանական սխեմաներից,
դ) էլեկտրասարքավորումների անսարքությունը չառաջացնի արտակարգ իրավիճակներ:
ԽՑԻԿԻՑ ԴՈՒՐՍ ԳՏՆՎՈՂ ՄԱՐԴԿԱՆՑ ՍՊԱՌՆԱՑՈՂ ՎՏԱՆԳՆԵՐԸ
27. Վերելակները պետք է արտադրված լինեն այնպես, որպեսզի խցիկների աշխատանքային տարածությունը բացարձակապես անմատչելի լինի դրանցից դուրս գտնվող մարդկանց համար` բացառությամբ տեխնիկական սպասարկման, նորոգման կամ արտակարգ իրավիճակների դեպքերի: Վերելակների բնական շահագործումը պետք է ընդհատվի մինչև այդ տարածք մարդու մուտք գործելը:
28. Վերելակները պետք է արտադրված լինեն այնպես, որպեսզի վերջնակետային դիրքերից որևէ մեկում խցիկների գտնվելու պահին բացառվի բախման ռիսկը, որը հնարավոր է ապահովել այդ վերջնակետային դիրքերից դուրս գտնվող ազատ տարածության առկայությամբ:
Առանձին դեպքերում, երբ նշված լուծումը կիրառելի չէ, հատկապես ավարտված շինություններում կարող են կիրառվել բախման վտանգը բացառող այլ համապատասխան միջոցներ:
29. Խցիկի մուտքի և ելքի սանդղահարթակները պետք է սարքավորված լինեն շահագործման նախատեսվող պայմաններին համապատասխանող մեխանիկական դիմադրությամբ արտաքին դռներով:
Բնականոն շահագործման պայմաններում բլոկավորող սարքը պետք է`
ա) բացառի միտումնավոր կամ պատահաբար գործարկված խցիկի ընթացքը, եթե բոլոր արտաքին դռները համապատասխան ձևով փակված չեն,
բ) կանխի վերելակի մուտքի դռների բացվելը` խցիկի բացակայության դեպքում:
Հավասարեցման արագության կարգավորման պայմանով թույլատրվում է հատուկ գոտիներում վերելակների ընթացքի ժամանակ արտաքին դռները բաց լինելու հնարավորությունը:
ԽՑԻԿՈՒՄ ԳՏՆՎՈՂ ՄԱՐԴԿԱՆՑ ՍՊԱՌՆԱՑՈՂ ՎՏԱՆԳՆԵՐԸ
30. Վերելակների խցիկներն ամբողջությամբ պետք է պարփակված լինեն համապատասխան բարձրություն ունեցող պատերով, սարքավորված հատակով և առաստաղով` բացառությամբ օդափոխության անցքերի, և ունենան խցիկների բարձրությամբ տեղադրված դռներ: Դռները պետք է տեղադրված լինեն այնպես, որպեսզի խցիկը չշարժվի` բացառությամբ սույն տեխնիկական կանոնակարգի 29-րդ կետի երրորդ պարբերության, եթե դռները բաց են, իսկ բացման դեպքում պետք է անմիջապես դադարեցնի ընթացքը:
Երկու հարկերի միջև վերելակի կանգի դեպքում դռները պետք է փակ լինեն և բլոկավորված:
31. Հոսանքազրկման կամ վերելակների սարքավորումներից որևէ մեկի անսարքության դեպքում վերելակները պետք է ունենան խցիկների ազատ անկումը կամ դրանց անկառավարելի ընթացքը կանխարգելող սարքեր:
Խցիկի ազատ անկումը կանխարգելող սարքը պետք է անկախ լինի խցիկի արգելակման միջոցներից:
Վերելակներ արտադրող կազմակերպության կողմից սահմանված վերելակների անվանական բեռնունակության և առավելագույն արագության պայմաններում խցիկի ազատ անկումը կանխարգելող սարքի միջոցով պետք է հնարավոր լինի խցիկի ընթացքի դադարեցումը: Այդ սարքի միջոցով խցիկի ընթացքի յուրաքանչյուր կանգը, անկախ խցիկի բեռնվածությունից, չպետք է լինի կտրուկ արգելակմամբ, որը վնասակար ազդեցություն կունենա ուղևորների վրա:
32. Մեղմիչները պետք է տեղադրված լինեն հորանի հատակի և խցիկի հատակի միջև: Այդ դեպքում սույն տեխնիկական կանոնակարգի 28-րդ կետում նախատեսված ազատ տարածության մակերեսը պետք է լինի հաշվարկված` մեղմիչներն ամբողջությամբ սեղմված վիճակում:
Սույն պահանջը չի տարածվում այն վերելակների վրա, որոնց խցիկներն իրենց կառուցվածքով կամ ընթացքն ապահովող համակարգով նախատեսված չեն սույն տեխնիկական կանոնակարգի 28-րդ կետում նշված ազատ տարածություն խցիկի մուտքի համար:
33. Վերելակները պետք է արտադրված լինեն այնպես, որպեսզի սույն տեխնիկական կանոնակարգի 31-րդ կետով նախատեսված խցիկների անկառավարելի ընթացքը կանխարգելող սարքերի անսարքության դեպքում բացառվի դրանց շահագործման հնարավորությունը:
34. Խցիկի արտաքին և ներքին դռները կամ, մեխանիզացված լինելու դեպքում, երկու դռները միասին պետք է սարքավորված լինեն դրանց շարժման ընթացքում բախումը կանխող սարքով:
35. Արտաքին դռները, ներառյալ ապակե մասերով դռները, պետք է լինեն ջերմահրակայուն` հրդեհից շինության պաշտպանության համար` կապված բոցի տարածումը կանխարգելելու և ջերմությունը փոխանցելու հետ:
36. Հակակշիռները պետք է տեղադրված լինեն այնպես, որպեսզի բացառվի դրանց բախումը խցիկի հետ կամ անկումը դրա վրա:
37. Վերելակները պետք է սարքավորված լինեն այնպիսի միջոցներով, որոնք հնարավորություն կստեղծեն վերելակում մնացած ուղևորներին փրկելու համար:
38. Խցիկները պետք է ապահովված լինեն վերելակի շահագործման սպասարկող անձնակազմի հետ մշտական կապ ապահովող երկկողմանի հաղորդակցության միջոցներով:
39. Վերելակները պետք է արտադրված լինեն այնպես, որպեսզի վերելակ տեղադրող կազմակերպության կողմից սահմանված շարժիչի ջերմաստիճանի թույլատրելի մակարդակը գերազանցվելու դեպքում վերելակը շարունակի իր ընթացքը և չկատարի նոր հրահանգներ:
40. Խցիկը պետք է արտադրված լինի այնպես, որպեսզի ուղևորների համար ապահովվի բավարար օդափոխություն` անգամ խցիկի երկարատև կանգի դեպքում:
41. Շահագործման բոլոր պայմաններում խցիկը պետք է լինի լուսավորված, դրա ընթացքի և բաց դռների ժամանակ այն պետք է ունենա նաև վթարային լուսավորությունն ապահովող միջոց:
42. Սույն տեխնիկական կանոնակարգի 38-րդ կետում նշված հաղորդակցության միջոցները և 41-րդ կետում նշված վթարային լուսավորության միջոցները պետք է լինեն այնպես, որպեսզի գործեն անգամ վերելակների հիմնական էլեկտրասնուցման բացակայության դեպքում: Դրանց գործելու տևողությունը պետք է բավարար լինի բոլոր անհրաժեշտ փրկարարական գործողություններն ավարտելու համար:
43. Հրդեհների ժամանակ վերելակներից օգտվելը խստիվ արգելվում է: Արտակարգ իրավիճակների դեպքում մարդկանց` վերելակներով տեղահանումն արգելվում է:
ՄԱԿՆՇՈՒՄԸ
44. Վերելակների մակնշումը պետք է համապատասխանի մեքենաներին և մեխանիզմներին ներկայացվող` Հայաստանի Հանրապետության օրենսդրությամբ սահմանված պահանջներին:
45. Վերելակների խցիկներում տեսանելի տեղում պետք է տեղադրված լինեն վահանակներ, որտեղ պետք է նշված լինի անվանական բեռնունակությունը` կիլոգրամներով և ուղևորների առավելագույն թույլատրելի թվով:
46. Այն վերելակների, որոնց կառուցվածքը տալիս է խցիկի մեջ մնացած ուղևորներին ինքնուրույն դուրս գալու հնարավորություն, դրանց խցիկներում պետք է փակցված լինի համապատասխան ցուցումներ պարունակող վահանակ:
ՇԱՀԱԳՈՐԾՄԱՆ ՎԵՐԱԲԵՐՅԱԼ ՑՈՒՑՈՒՄՆԵՐԸ
47. Վերելակների անվտանգությունն ապահովող սարքերը պետք է ուղեկցվեն դրանց հավաքումը, միացումները, կարգավորումը և տեխնիկական սպասարկումն ապահովող շահագործման փաստաթղթերով:
48. Շահագործման փաստաթղթերը պետք է ընդգրկեն վերելակների բնականոն շահագործման, տեխնիկական սպասարկման, զննման, նորոգման, պարբերական ստուգման, փրկարարական գործողությունների համար անհրաժեշտ հատակագծի և սխեմաների վերաբերյալ ցուցումներ:
49. Շահագործման փաստաթղթերի լրակազմում ընդգրկված տեղեկաթերթիկում կամ տեղեկամատյանում պետք է նախատեսված լինեն վերելակների շահագործման ընթացքում անհամապատասխանությունների, նորոգումների պարբերական ստուգումների արդյունքների գրառումներ կատարելու համար համապատասխան բաժիններ:
V. ՎԵՐԵԼԱԿՆԵՐԻ ԿԱՌՈՒՑՎԱԾՔԸ ԵՎ ԱՆՎՏԱՆԳ ՇԱՀԱԳՈՐԾՄԱՆ ԿԱՆՈՆՆԵՐԸ
50. Վերելակների սարքավորումները պետք է ապահովեն դրանց տեղափոխման և տեղադրման համար բեռնամբարձիչների օգտագործումը, եթե դրանց չափերը, զանգվածները կամ ձևը հնարավորություն չեն տալիս դրանք ձեռքերով տեղաշարժելու:
51. Յուրաքանչյուր առաքվող վերելակ պետք է ունենա շահագործման փաստաթղթերի հետևյալ լրակազմը`
1) տեղեկաթերթիկ կամ տեղեկամատյան` կից փաստաթղթերով`
ա) հավաքակցման (մոնտաժային) գծագիր,
բ) սկզբունքային էլեկտրական սխեմա` սխեմայի տարրերի անվանացանկով, և միացման էլեկտրական սխեմա,
գ) վերելակի և համապատասխանության պարտադիր գնահատման ենթակա սարքավորումների համապատասխանության սերտիֆիկատների պատճենները.
2) շահագործման ձեռնարկ, որը պետք է ընդգրկի`
ա) վերելակի համառոտ նկարագիրը,
բ) անվտանգ շահագործման, այդ թվում` տեխնիկական սպասարկման, նորոգման, տեխնիկական արատաորոշման պահանջները և պայմանները,
գ) խցիկից մարդկանց անվտանգ տարահանման մեթոդիկան,
դ) շուտ փչացող մանրակների անվանացանկը,
ե) վերելակի ծառայության ժամկետի վերաբերյալ ցուցումը.
3) հավաքակցման հրահանգ:
(51-րդ կետը փոփ. 02.04.15 N 356-Ն)
52. Թույլատրվում է վերելակների տեղադրում (տեխնիկական սպասարկում, նորոգում) իրականացնող կազմակերպության կողմից հավաքակցման գծագրում կատարել փոփոխություններ` բացառությամբ կարապիկի և վերելակի տեղեկաթերթիկում (տեղեկամատյանում) ներկայացված տվյալների: Կարապիկի 1800 շրջումը չի նշանակում դրա դիրքի փոփոխությունը:
Փոփոխությունները պետք է լինեն գրառված և ստորագրությամբ ու կազմակերպության կնիքով վավերացված:
ՇԻՆԱՐԱՐԱԿԱՆ ՄԱՍԻՆ ՆԵՐԿԱՅԱՑՎՈՂ ՊԱՀԱՆՋՆԵՐԸ
53. Վերելակների սարքավորումների տեղակայման համար նախատեսված շինարարական մասը պետք է հաշվարկված լինի վերելակների շահագործման և փորձարկման ժամանակ, ինչպես նաև բոլոր ձգող տարրերի անջատման դեպքում առաջացող բեռնվածությունների համար և համապատասխանի շենքերի (շինությունների) նախագծերում նախատեսված շինարարական նորմերին:
54. Վերելակների տեղակայման համար նախատեսված շինարարական մասերը պետք է համապատասխանեն հակահրդեհային անվտանգության ապահովման պահանջներին:
55. Վերելակների բաղկացուցիչ մասերի տեղադրման համար նախատեսված շենքերի ջեռուցման և օդափոխության սարքավորումների անհրաժեշտությունը ներկայացվում է շենքերի (շինությունների) նախագծման ժամանակ վերելակների շահագործման պայմաններին ներկայացվող` արտադրող կազմակերպության կողմից սահմանված պահանջներին համապատասխան:
ՀՈՐԱՆԸ
56. Վերելակների տեղադրման համար նախատեսված հորանները պատերով, հատակով և ծածկով կամ անվտանգության ապահովման համար անհրաժեշտ տարածությամբ պետք է անջատված լինեն դրանց կից հրապարակից և աստիճանից, որոնց վրա տեղադրված են սարքավորումներ կամ կարող են գտնվել մարդիկ:
57. Վերելակների խցիկները, հակակշիռները և խցիկը հավասարակշռող սարքավորումը պետք է տեղադրված լինեն մի հորանում:
58. Լրիվ արգելափակված հորանի մեջ թույլատրվում է հետևյալ տարրերի առկայությունը`
ա) հարկերի հարթակներում վերելակների հորանի դռների որմնանցքեր,
բ) սարքավորումների սպասարկման և վթարային դռների որմնանցքեր, ինչպես նաև դիտանցքեր,
գ) հրդեհի դեպքում գազերի և ծխի ելքի համար արտաթողման անցքեր,
դ) օդանցքեր,
ե) վերելակի աշխատանքի համար անհրաժեշտ անցքեր` տեղակայված վերելակների հորանի և մեքենայական կամ բլոկային սրահի միջև:
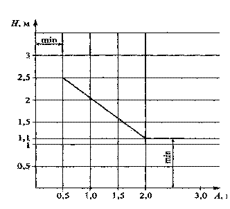
59. Մասամբ արգելափակված և մասամբ ոչ լրիվ (ցանցային և այլն) արգելափակված հորանների դեպքում հորանի լրիվ արգելափակման բարձրությունը մարդկանց համար հասանելի տեղերում (N 1 նկար) պետք է լինի`
ա) հարկերի հարթակներում հորանի դռան կողմից` 3,5 մ-ից ոչ պակաս,
բ) մյուս կողմերից` 2,5 մ-ից ոչ պակաս, եթե մինչև վերելակների շարժական մասերն ընկած տարածությունը չի գերազանցում 0,5 մ-ն:
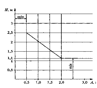
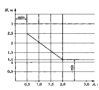
Եթե մինչև վերելակների շարժական մասերն ընկած տարածությունը գերազանցում է 0,5 մ-ն, ապա 2,5 մ մեծությունը 2,0 մ տարածության վրա (N 2 նկար) կարելի է հաջորդաբար փոքրացնել` մինչև 1,1 մ-ից ոչ պակաս բարձրության:
Արգելափակման և միջհարկային ծածկերի ծայրերի, աստիճանների և հարթակների միջև տարածությունը պետք է լինի 0,15 մ-ից ոչ ավելի:
Նկար N 1. Մինչև վերելակների շարժական տարրերն ընկած տարածությունը
A-ն մինչև վերելակի շարժական տարրերն ընկած տարածությունն է:
B-ն արգելափակման և միջհարկային ծածկերի ծայրերի, աստիճանների և հարթակների միջև ընկած տարածությունն է:
H1 -ը հարկային հարթակի կողմից արգելափակման բարձրությունն է:
H2 -ը մյուս կողմերից արգելափակման թույլտվությունն է:
Նկար N 2. Հորանի արգելափակման բարձրությունը` կախված մինչև վերելակների շարժական մասերն ընկած տարածությունից
A-ն մինչև վերելակի շարժական մասերն ընկած տարածությունն է:
H-ն արգելափակման բարձրությունն է:
60. Հորանի լրիվ արգելափակումը պետք է դիմանա 300 Ն-ին հավասար բեռնվածությանը, որը պետք է հավասարաչափ բաշխված լինի 5 սմ2 մակերես ունեցող` շրջանաձև կամ քառակուսի մակերևույթի վրա ուղիղ անկյան տակ դրա ցանկացած կետում 15 մմ-ն չգերազանցող` կիրառվող առաձգական դեֆորմացիային: Այդ դեպքում մնացորդային դեֆորմացիա չի թույլատրվում:
61. Մարդկանց համար հասանելի տեղերում հորանի արգելափակման համար օգտագործվող հարթ կամ ձևավոր ապակյա պանելները պետք է պատրաստված լինեն բազմաշերտ ապակուց և ունենան սույն տեխնիկական կանոնակարգի 59-րդ կետին համապատասխան բարձրություն:
62. Վերելակների յուրաքանչյուր ուղղորդիչի տակ գետնախորշի հատակը, բացառությամբ կախովի ուղղորդիչների, պետք է հաշվարկված լինի ըստ որսիչների գործարկման պահին առաջացող ուժի և ուղղորդիչների զանգվածների գումարին համապատասխան բեռնվածության:
63. Խցիկի թափամեղմիչի հենարանների տակ գետնախորշի հատակը պետք է հաշվարկված լինի ստատիկ բեռնվածությանը համապատասխան որոշված 1-ին բանաձևով`
| 4gn x (K+Q) (Ն), |
(1) |
որտեղ`
K-ն խցիկին կից կախվող կոնստրուկտորային տարրերի (հավասարակշռող ճոպանների և շղթաների, կախովի մալուխների մի մասը և այլն) և խցիկի զանգվածն է` հաշվարկված կիլոգրամով,
Q-ն անվանական բեռնունակությունն է (զանգվածը)` հաշվարկված կիլոգրամով,
gn -ն ազատ անկման արագացման մեծությունն է (9,81 մ/վ2):
64. Հակակշռի թափամեղմիչի հենարանների տակ կամ շարժական հավասարակշռող բեռի տարածքում գետնախորշի հատակը պետք է հաշվարկված լինի հակակշռի համար ստատիկ բեռնվածությանը համապատասխան որոշված 2-րդ բանաձևով`
| 4gn x (K+kQ) (Ն), |
(2) |
որտեղ`
K-ն խցիկին կից կախվող կոնստրուկտորային տարրերի (հավասարակշռող ճոպանների և շղթաների, կախովի մալուխի մի մասը և այլն) և խցիկի զանգվածն է` հաշվարկված կիլոգրամով,
Q-ն անվանական բեռնունակությունն է (զանգվածը)` հաշվարկված կիլոգրամով,
gn -ն ազատ անկման արագացման մեծությունն է (9,81 մ/վ2),
k-ն հակակշռով անվանական բեռնունակության հավասարակշռող գործակիցը կամ խցիկի հավասարակշռիչ սարքով խցիկի զանգվածի հավասարակշռման գործակիցն է:
65. Վերելակների գետնախորշերի տակ մարդկանց համար հասանելի տարածության (սրահների) առկայության դեպքում գետնախորշերի հիմքը պետք է հաշվարկված լինի 5000 Ն/մ2 -ից ոչ պակաս բեռնվածություն ընդունելու համար, իսկ հակակշիռը կամ խցիկի հավասարակշռիչ սարքը պետք է սարքավորված լինի որսիչներով:
66. Կախովի ուղղորդիչների ամրացման տեղերը պետք է հաշվարկված լինեն ուղղորդիչների զանգվածով ստեղծված` որսիչների գործարկման պահին առաջացած ուժերի գումարին համարժեք բեռնվածության համար:
67. Վերելակների հորանների դռների շեմերի բացվածքների և հարակից հարկերի հարթակների միջև 11 մ-ից ավելի տարածության և մի վերելակի խցիկից հարևան վերելակի խցիկն ուղևորների տեղափոխման անհնարինության դեպքում հորանում պետք է տեղադրվեն վթարային դռներ` այնպես, որպեսզի դռների շեմերի բացվածքների տարածությունը` ըստ բարձրության, չգերազանցի 11 մ-ն: Թույլատրվում է չտեղադրել վթարային դռներ այն դեպքերում, երբ բացակայում է վերելակի հորանին կից հարթակը (վթարային դռների տեղադրման տարածքում), որով հնարավոր է տարահանել մարդկանց:
68. Օդանցքերը պետք է փակված լինեն ցանցավանդակով, որի անցքերով չպետք է անցնի 21 մմ տրամագծով գնդիկը, դրան կցելով ցանցավանդակին ուղղահայաց 10 Ն բեռնվածություն: Ցանցավանդակի մեխանիկական ամրությունը պետք է բավարարի սույն տեխնիկական կանոնակարգի 60-րդ կետով նախատեսված պահանջները:
69. Ցանկացած հարկի հարթակում վերելակների հորանների ներքին մակերեսը հորանի դռան եզրից ներքև`
ա) պետք է կազմի ուղղահայաց հարթ մակերես` անմիջապես միացած վերելակների հորանների դռների շեմի հետ, որի բարձրությունը պետք է լինի դռների հպման գոտու կեսից ոչ պակաս` ավելացրած 0,05 մ, իսկ լայնությունը` խցիկի բացվածքի լայնությունից ոչ պակաս` ավելացրած յուրաքանչյուր կողմից 0,25 մ,
բ) չպետք է ունենա 5 մմ-ից ավելի ելուստ: 2 մմ-ից ավելի ելուստները պետք է ունենան 750 -ից ոչ պակաս հորիզոնական թեքություն,
գ) պետք է միջակապով միանան մյուս դռան բացվածքին կամ շարունակվեն ներքև` կոշտ հարթ թեքվածքով դեպի հորիզոնական հարթություն` 60-ից ոչ պակաս անկյունով: Այդ թեքվածքի պրոյեկցիան հորիզոնական հարթության վրա պետք է լինի 20 մմ-ից ոչ պակաս:
70. Սպասարկող անձնակազմի համար հասանելի կողմից հակակշռի կամ խցիկի հավասարակշռիչ սարքի շարժման գոտին պետք է լինի արգելափակված գետնախորշի հատակի մակերևույթից 2,5 մ-ից ոչ պակաս բարձրությամբ: Գետնախորշի հատակի մակերևույթի և արգելափակի ներքևի մասի տարածությունը պետք է լինի 0,3 մ-ից ոչ ավելի:
Արգելափակի լայնությունը (անշարժ կամ հանովի) պետք է լինի հակակշռի լայնությունից ոչ պակաս` գումարած 0,1 մ` յուրաքանչյուր կողմից:
Արգելափակի մեջ անցքերի առկայության դեպքում դրանք պետք է համապատասխանեն N 1 աղյուսակով սահմանված պահանջներին: Անցքերի «e» չափը տրված է N 3 նկարում:
|
Աղյուսակ N 1 |
|
Անցքերի չափը, մմ |
Անվտանգության հեռավորությունը, մմ | ||
|
անցքերի ձևը | |||
|
ուղղանկյուն (ճեղք) |
քառակուսի |
շրջան | |
|
e ≤ 4 |
≥ 2 |
≥ 2 |
≥ 2 |
|
4 < e ≤ 6 |
≥ 10 |
≥ 5 |
≥ 5 |
|
6 < e ≤ 8 |
≥ 20 |
≥ 15 |
≥ 15 |
|
8 < e ≤ 10 |
≥ 80 |
≥ 25 |
≥ 20 |
|
10 < e ≤ 12 |
≥ 100 |
≥ 80 |
≥ 80 |
|
12 < e ≤ 20 |
≥ 120 |
≥ 120 |
≥ 120 |
|
20 < e ≤ 30 |
≥ 850 |
≥ 120 |
≥ 120 |
|
30 < e ≤ 40 |
≥ 850 |
≥ 200 |
≥ 200 |
|
40 < e ≤ 120 |
≥ 850 |
≥ 850 |
≥ 850 |
≥ 850-ի դեպքում, եթե ուղղանկյան երկարությունը ≤ 62 մմ է, ապա մեծ մատը կգործի ինչպես սևեռակ և անվտանգության հեռավորությունը կարելի կլինի փոքրացնել մինչև 200 մմ-ի:
Նկար N 3. Անցքերի «e» չափի պատկերները
Թույլատրվում է արգելափակ չտեղադրել հետևյալ դեպքերում`
ա) եթե լրիվ սեղմված թափամեղմիչի վրա գտնվող հակակշռի ներքին կետի և գետնախորշի հատակի մակարդակի միջև տարածությունը 2,5 մ-ից ավելի չէ,
բ) եթե անցման գոտում հակակշռին կցված են հակակշռող ճոպաններ կամ շղթաներ:
71. Հորանում կարող են գտնվել մի քանի վերելակներ: Այդ դեպքում տարբեր վերելակների շարժական մասերի միջև պետք է տեղադրված լինեն միջնորմներ: Միջնորմը պետք է սկսվի գետնախորշի հատակից կամ խցիկի, հակակշռի կամ խցիկի հավասարակշռիչ սարքի տեղաշարժման ներքին կետից և վերջանա 2,5 մ վերև ներքին հարկի հարթակի հատակի մակերևույթի մակարդակից:
Միջնորմը պետք է տեղադրվի հորանի ամբողջ բարձրությամբ, եթե մի վերելակի խցիկի տանիքի ծայրից մինչև կից վերելակի խցիկի, հակակշռի կամ խցիկի հավասարակշռիչ սարքի, խցիկի շարժվող մասերի միջև տարածությունը փոքր է 0,5 մ-ից:
Հորանի ամբողջ բարձրությամբ տեղադրված միջնորմի լայնությունը պետք է լինի շարժական մասի կամ դրա այն տարրերի լայնությունից ոչ պակաս` ավելացրած յուրաքանչյուր կողմից 0,1 մ, որոնք պետք է արգելափակված լինեն:
Միջնորմների մեջ անցքերի առկայության դեպքում դրանք պետք է համապատասխանեն N 1 աղյուսակով սահմանված պահանջներին:
72. Ճոպանատար անիվով կամ շփման թմբուկով կարապիկով սարքավորված վերելակների հորանի բարձրությունը պետք է լինի այնպիսին, որպեսզի լրիվ սեղմված թափամեղմիչի վրա գտնվող հակակշռի դեպքում միաժամանակ ապահովվեն`
ա) ուղղորդիչներով (0,1+0,035v2 ) մ-ից ոչ պակաս տարածության վրա խցիկի տեղաշարժման հնարավորությունը,
բ) սպասարկող անձնակազմի տեղավորման համար նախատեսված խցիկի տանիքի հարթակի մակերևույթի և խցիկի պրոյեկցիայում դիրքավորված հորանի ներքևի մասի ծածկի (ներառյալ հեծանները և ծածկի տակ տեղադրված կոնստրուկտիվ տարրերը) (0,1+0,035v2) մ-ից ոչ պակաս բացակը,
գ) հորանի ծածկի ներքևի մասի և կալունի կամ հոլովակների ուղղորդիչների մասերի, ճոպաններին ամրացված միջնակապերի կամ ուղղագիծ տեղաշարժվող դռների մասերի միջև (0,1+0,035v2) մ-ից ոչ պակաս բացակը,
դ) խցիկի վրա ազատ տարածությունը, որը բավարար լինի իր մի նիստով պառկած (0,5x0,6x0,8) մ-ից ոչ պակաս չափերով զուգահեռանիստի տեղադրման համար: Ուղիղ կախոցով վերելակների համար քաշող ճոպանները և դրանց ամրացումները կարող են գտնվել այդ տարածության մեջ` պայմանով, որ ճոպանները տեղավորված լինեն զուգահեռանիստի որևէ ուղղահայաց հարթությունից 0,15 մ-ից ոչ ավելի հեռավորության վրա:
73. Ճոպանատար անիվով կամ շփման թմբուկով կարապիկով սարքավորված լրիվ սեղմված թափամեղմիչի վրա գտնվող խցիկներով վերելակների դեպքում պետք է ապահովվի ուղղորդիչներով (0,1+0,035v2) մ-ից ոչ պակաս տարածության վրա հակակշռի տեղաշարժման հնարավորությունը: Ձգովի բլոկով հավասարակշռող ճոպաններով հանդերձված վերելակների համար, որոնք սարքավորված են ոստյունին հակառակ սարքերով (արգելակող կամ փակիչ սարքվածքով) 0,035v2 մեծությունը` բացակների հաշվարկների ժամանակ, թույլատրվում է փոխարինել բլոկի հնարավոր տեղաշարժման (կախված կիրառվող պաշարից), ավելացրած 1/500 խցիկի բարձրացման մեծությամբ, բայց 0,2 մ-ից ոչ պակաս` հաշվի առնելով ճոպանի առաձգականությունը:
74. Թմբուկով կամ աստղիկով կարապիկով սարքավորված վերելակների ուղղորդիչների բարձրությունը պետք է ապահովի 0,5 մ-ից ոչ պակաս տարածության վրա խցիկի տեղաշարժման հնարավորությունը` վերևի հարկի մակերևույթից մինչև վերևի թափամեղմիչը:
75. Թմբուկով կամ աստղիկով կարապիկով սարքավորված լրիվ սեղմված թափամեղմիչի վրա գտնվող վերելակների խցիկների դեպքում`
ա) խցիկի տանիքի վրա սպասարկող անձնակազմի տեղավորման համար նախատեսված հարթակի մակարդակի և խցիկի պրոյեկցիայում դիրքավորված հորանի ծածկի ներքևի մասի (ներառյալ հեծանները և ծածկի տակ տեղադրված կոնստրուկտորային տարրերը) միջև բացակը պետք է լինի 1 մ-ից ոչ պակաս,
բ) հորանի ծածկի ներքև մասի և խցիկի տանիքի վրա տեղադրված սարքավորումների մանրակների միջև բացակը պետք է լինի 0,3 մ-ից ոչ պակաս, իսկ կալունների կամ հոլովակների ուղղորդիչների մասերի, ճոպանների ամրացումների, միջնակապերի կամ ուղղաձիգ տեղաշարժվող դռների միջև` 0,1 մ-ից ոչ պակաս,
գ) խցիկի վերևի ազատ տարածությունը պետք է բավարար լինի իր մի նիստով պառկած (0,5x0,6x0,8) մ-ից ոչ պակաս չափերով զուգահեռանիստի տեղադրման համար: Ուղիղ կախոցով վերելակների համար քաշող ճոպանները և դրանց ամրացումները կարող են գտնվել այդ տարածության մեջ` այն պայմանով, որ ճոպանները տեղադրված լինեն զուգահեռանիստի որևէ ուղղաձիգ հարթությունից 0,15 մ-ից ոչ ավելի հեռավորության վրա:
76. Թմբուկով կամ աստղիկով կարապիկով լրիվ սեղմված թափամեղմիչների վրա գտնվող խցիկով վերելակների դեպքում խցիկների հավասարակշռող սարքերի ուղղորդիչների բարձրությունը պետք է ապահովի դրանց հետագա տեղաշարժը` 0,3 մ-ից ոչ պակաս:
77. Վերելակների հորանների ներքևի մասում պետք է նախատեսված լինեն գետնախորշեր: Գետնախորշը պետք է պաշտպանված լինի դրա մեջ գրունտային ջրերի և կեղտաջրերի թափվելուց:
78. Պետք է ապահովված լինի սպասարկող անձնակազմի անվտանգ մուտքը գետնախորշ: Մինչև 2,5 մ խորություն ունեցող գետնախորշը պետք է սարքավորված լինի մուտքի դռներով` սույն տեխնիկական կանոնակարգի 131-րդ կետով նախատեսված պահանջներին համապատասխան:
79. Դռան բացվածքից 0,9 մ-ից ավելի խորություն ունեցող գետնախորշը պետք է սարքավորված լինի մուտքի համար անշարժ հարմարանքով (աստիճան, բռնակ և այլն)` տեղադրված դռան բացվածքից հասանելի սահմաններում:
80. Լրիվ սեղմված թափամեղմիչի վրա խցիկը գտնվելու դեպքում`
ա) գետնախորշում ազատ տարածությունը պետք է բավարար լինի իր մի նիստով պառկած (0,5x0,6x1,0) մ-ից ոչ պակաս զուգահեռանիստն ուղիղ անկյունով տեղադրելու համար.
բ) գետնախորշի հատակից մինչև խցիկի ներքևի մասերը` բացակը պետք է լինի 0,5 մ-ից ոչ պակաս: Թույլատրվում է բացակի փոքրացումը` մինչև 0,1 մ գետնախորշի հատակի և կալունների, խցիկի շեմի տակի վահանների, խցիկի ուղղաձիգ շարժական դռների տարրերի, ինչպես նաև որսիչների և խցիկի կարկասի մանրակների միջև տեղադրված ուղղորդիչներից 0,2 մ-ի սահմաններում:
81. Վերելակների հորաններում պետք է տեղադրված լինեն անվտանգության էլեկտրական սարքավորումներ` սույն տեխնիկական կանոնակարգի 325-րդ կետով նախատեսված պահանջներին համապատասխան:
Անվտանգության էլեկտրական սարքավորման դիրքը պետք է ապահովի դրա մատչելիությունը գետնախորշի մուտքի դուռը բացվելիս և գետնախորշի հատակից: Կախված գետնախորշի խորությունից` պետք է տեղադրվեն մեկ կամ երկու սարքավորում`
1) եթե գետնախորշի հատակից մինչև դրա մուտքի դռան շեմի տարածությունը 1,55 մ-ից ավելի չէ, ապա գետնախորշը պետք է սարքավորվի էլեկտրական անվտանգության մեկ սարքավորմամբ: Այդ դեպքում`
ա) գետնախորշի հատակից մինչև անվտանգության էլեկտրական սարքավորման կառավարման տարրի տարածությունը պետք է լինի 2,0 մ-ից ոչ ավելի,
բ) գետնախորշի մուտքի դռան շեմի մակերևույթից մինչև անվտանգության էլեկտրական սարքավորման կառավարման տարրի միջև ընկած տարածությունը պետք է լինի 0,45 մ-ից ոչ պակաս,
գ) գետնախորշի դռան բացվածքի գոտում շեմի ծայրային կետերից մինչև անվտանգության էլեկտրական սարքավորման կառավարման տարրն ընկած հորիզոնական տարածությունը պետք է լինի 0,75 մ-ից ոչ ավելի.
2) եթե գետնախորշի հատակից մինչև դրա մուտքի դռան շեմը տարածությունը 1,55 մ-ից ավելի է, ապա գետնախորշը պետք է սարքավորվի անվտանգության էլեկտրական 2 սարքավորմամբ: Այդ դեպքում`
ա) գետնախորշի մուտքի դռան շեմի մակերևույթից մինչև անվտանգության էլեկտրական սարքավորման կառավարման տարրն ընկած տարածությունը պետք է լինի 1,0 մ-ից ոչ պակաս,
բ) գետնախորշի դռան բացվածքի գոտում շեմի ծայրային կետերից մինչև անվտանգության էլեկտրական սարքավորման կառավարման տարրն ընկած հորիզոնական տարածությունը պետք է լինի 0,75 մ-ից ոչ պակաս,
գ) գետնախորշի հատակից մինչև անվտանգության էլեկտրական սարքավորման կառավարման տարրն ընկած տարածությունը պետք է լինի 1,2 մ-ից ոչ պակաս:
82. Չի թույլատրվում վերելակների հորաններում տեղադրել սարքավորումներ և անցկացնել վերելակներին չվերաբերող հաղորդակցուղիներ` բացառությամբ հակահրդեհային և պահպանության ազդանշանային, սպասարկող անձնակազմի, հորանի ջեռուցման և օդափոխության համար նախատեսված համակարգերի: Միաժամանակ ջեռուցման սարքերի կառավարող և կարգավորող բոլոր հարմարանքները պետք է տեղավորվեն վերելակի հորանից դուրս:
83. Վերելակների հորանների լուսավորությունը պետք է համապատասխանի սույն տեխնիկական կանոնակարգի 339-րդ կետով նախատեսված պահանջներին: Հորանի լուսավորությունը պետք է միացվի հորանից կամ մեքենայական սրահից: Հորանում տեղադրված լուսավորության անջատիչը հորանի դռները բացվելիս պետք է լինի հասանելի: Դռան բացվածքի գոտում շեմի ծայրային կետերից մինչև անջատիչը կառավարող տարրն ընկած հորիզոնական տարածությունը պետք է լինի 0,75 մ-ից ոչ ավելի:
84. Վերելակների գետնախորշերում պետք է նախատեսված լինեն էլեկտրական վարդակներ` սույն տեխնիկական կանոնակարգի 338-րդ կետով նախատեսված պահանջներին համապատասխան:
85. Խցիկի հակակշռի և հորանի տարրերի միջև ընկած տարածությունը` տրված N 4 նկարում, պետք է ապահովի վերելակների ծառայության ամբողջ ժամկետի ընթացքում:
Նկար N 4. Խցիկի և հորանի տարրերի միջև ընկած տարածությունը
86. Վերելակների հորանների ներքին մակերևույթի և խցիկի շեմի, հորանի դռան բացվածքի երիզվածքի և խցիկի շարժական դռների մոտակա փեղկերի միջև հորիզոնական տարածությունը պետք է լինի 0,15 մ-ից ոչ ավելի: Թույլատրվում է այդ տարածությունն ավելացնել մինչև`
ա) 0,2 մ` հորանի այն հատվածում, որի բարձրությունը չի գերազանցում 0,5 մ-ն,
բ) 0,2 մ` բեռնատար վերելակների ամբողջ բարձրությամբ, սարքավորված ուղղաձիգ-շարժական դռներով:
Մեխանիկական փականով սարքավորված խցիկների համար, որոնք բացվում են միայն դռների բացման գոտում, նշված տարածությունը չի սահմանափակվում: Խցիկը պետք է տեղաշարժվի միայն խցիկի դռների փակված ժամանակ` բացառությամբ սույն տեխնիկական կանոնակարգի 141-րդ կետի 1-ին ենթակետով նախատեսված դեպքերի:
87. Վերելակների խցիկի և հորանի դռների շեմերի միջև հորիզոնական տարածությունը պետք է լինի 0,035 մ-ից ոչ ավելի:
88. Վերելակների խցիկների դռների փեղկերի և հորանի դռան փեղկերի միջև հորիզոնական տարածությունը պետք է լինի 0,12 մ-ից ոչ ավելի:
89. Հորանի բացվող դռների և ծալովի դռների զուգակցման ժամանակ այդ դռների միջև ցանկացած բացակով չպետք է անցնի 0,15 մ տրամագծով գունդ (գլան):
90. Խցիկի տարրերի և հակակշռի կամ խցիկը հավասարակշռող սարքի միջև հորիզոնական տարածությունը պետք է լինի 0,05 մ-ից ոչ պակաս:
ՍԱՐՔԱՎՈՐՈՒՄՆԵՐԻ ՏԵՂԱԴՐՈՒՄԸ
91. Վերելակների սարքավորումները` կարապիկը, դրա հետ կապված մեխանիկական սարքերը, էլեկտրական սարքավորումները և բլոկները պետք է տեղադրվեն արտաքին ազդեցություններից հատուկ պաշտպանված սրահներում: Չի թույլատրվում կողմնակի մարդկանց մուտքն այդ սրահներ:
92. Վերելակների սարքավորումների տեղադրման սրահների հատակի մակարդակի վրա պետք է ապահովվի 50 լք-ից ոչ պակաս լուսավորություն:
93. Վերելակների սարքավորումների տեղադրման սրահների մուտքերում պետք է նախատեսել հորիզոնական հարթակներ: Եթե սարքավորումների տեղադրման սրահները և դրանց մուտքերի հարթակները գտնվում են 0,35 մ գերազանցող տարբեր հարթությունների վրա, ապա մի հարթությունից մյուս հարթություն անցնելու համար պետք է օգտագործվեն անշարժ ամրացված սանդուղքներ, որոնք պետք է բավարարեն հետևյալ պայմանները`
ա) 1,5 մ-ից ավելի բարձրություն ունեցող սանդուղքները պետք է տեղադրվեն հորիզոնականի նկատմամբ 600 -ից ոչ ավելի անկյան տակ,
բ) սանդուղքի լայնությունը` լույսի անկման պրոյեկցիայով, պետք է լինի 0,35 մ-ից ոչ պակաս, իսկ աստիճանի լայնությունը` 25 մմ-ից ոչ պակաս: Ուղղաձիգ տեղադրված սանդուղքների դեպքում` աստիճանների և դրանց հետևի պատի միջև եղած հեռավորությունը պետք է լինի 0,15 մ-ից ոչ պակաս: Աստիճանները պետք է հաշվարկված լինեն 1500 Ն բեռնվածության համար,
գ) 0,5 մ բարձրությունը գերազանցող սանդուղքները պետք է հանդերձված լինեն 0,9 մ-ից ոչ պակաս բարձրությամբ բազրիքով կամ ձեռքի բռնատեղերով,
դ) սանդուղքի յուրաքանչյուր հատվածի բարձրությունը չպետք է գերազանցի 4,0 մ:
Սարքավորումների սրահներում դռան և անշարժ ամրացված սանդուղքի միջև պետք է լինի հորիզոնական հարթակ: Ընդ որում, դռան բացման սահմանագծից մինչև հարթակին հարող սանդուղքը պետք է մնա 500 մմ-ից ոչ պակաս տարածություն: Հարթակի մակերեսը պետք է լինի այնքան, որպեսզի հնարավոր լինի բացվող դռները լրիվ բացել:
Հարթակի 500 մմ-ից ավելի մակարդակի տարբերության դեպքում այն պետք է ունենա 900 մմ-ից ոչ պակաս բարձրությամբ բազրիք:
94. Չի թույլատրվում վերելակների սարքավորումների սրահներում դրանց հետ չկապված որևէ սարքավորման տեղադրում կամ որևէ ինժեներական հաղորդակցուղու անցկացում: Այդ մեքենայական սրահներում կարող են գտնվել միայն`
ա) վերելակների մեխանիզմները և սպասարկման հարմարանքները,
բ) ջեռուցման և օդափոխության, օդի լավորակման սարքերը (բացառությամբ շոգեգոլորշային ջեռուցման սարքերի),
գ) հակահրդեհային և պահպանության ազդանշանային համակարգերը կամ դրանց տարրերը,
դ) կրակմարիչները:
95. Սարքավորումների սրահներում պետք է տեղակայված լինեն վերելակների նորոգման համար անհրաժեշտ բեռնամբարձիչ միջոցներ, որոնց վրա կամ դրանց կողքին որևէ տեղ պետք է նշված լինի այդ միջոցների թույլատրելի բեռնունակությունը կամ դրանց թույլատրելի բեռնվածությունը: Թույլատրվում է սարքավորումների սրահներում կիրառել նորոգման աշխատանքների անվտանգ կատարումն ապահովող այլ բեռնամբարձիչ սարքեր:
96. Մեքենայական և բլոկային սրահները պետք է ունենան հոծ, բոլոր կողմերից և բարձրությամբ ծածկեր, պատեր, հատակ և տանիք:
97. Մեքենայական և բլոկային սրահների պատերը, հատակը և տանիքը պետք է բավարարեն սույն տեխնիկական կանոնակարգի 60-րդ կետով նախատեսված նորմերով պահանջվող պայմանները, ընդ որում, պետք է չունենան ողորկներ և փոշի առաջացնող պատվածք:
98. Մեքենայական և բլոկային սրահների դռներն իրենց փականների հետ միասին փակ վիճակում պետք է դիմանան 5 սմ2 մակերեսով քառակուսի կամ շրջանաձև հարթակի հավասարաչափ բաշխված 300 Ն բեռնվածությանը և, որը պետք է ուղիղ անկյան տակ ազդի դռան պանելի վրա` դրա ցանկացած կետում և 15 մմ չգերազանցող առաձգական դեֆորմացիայի չափով դրա դռների ցանկացած կողմից, ընդ որում, մնացորդային դեֆորմացիա չի թույլատրվում:
99. Մեքենայական սրահների մուտքի դռները պետք է լինեն հոծ և չպետք է ներս բացվեն: Դռան բացվածքի ընդհանուր չափերը չպետք է լինեն 0,8 մ-ից ոչ պակաս լայնությամբ և 1,8 մ-ից ոչ պակաս բարձրությամբ:
Սրահի ելանցքով մեքենայական սրահ մտնելն արգելվում է:
100. Բլոկային սրահի մուտքի դռները պետք է լինեն հոծ և չպետք է ներս բացվեն:
Դռան բացվածքը պետք է լինի 0,6 մ-ից ոչ պակաս լայնությամբ և 1,4 մ-ից ոչ պակաս բարձրությամբ:
Թույլատրվում է մեքենայական սրահից դեպի բլոկային սրահ մտնելը ելանցքով:
101. Բլոկային սրահ մարդկանց մուտքը թույլատրելու համար մտոցի չափերը պետք է լինեն (0,8x0,8) մ-ից ոչ պակաս: Ելանցքի կափարիչը պետք է լինի կիպ ծածկված: Ելանցքի կափարիչը բացելու համար անհրաժեշտ ուժը չպետք է գերազանցի 150 Ն: Փակված վիճակում ելանցքի կափարիչն առանց առաձգական դեֆորմացիայի պետք է դիմանա դրա ցանկացած մասի (0,2x0,4) մ մակերեսին ուղղված 2000 Ն բեռնվածությանը: Ելանցքի կափարիչը չպետք է ներս բացվի` բացառությամբ այն դեպքերի, երբ դա կախված է շարժական սանդուղքի շարժումից:
102. Մեքենայական կամ բլոկային սրահներ նյութեր և սարքեր տանելու համար ելանցքի կափարիչը պետք է բացվի դեպի ներքև, ընդ որում, կափարիչը բացելու համար կիրառվող ուժը չպետք է գերազանցի 150 Ն: Կափարիչի ամրությունը պետք է համապատասխանի սույն տեխնիկական կանոնակարգի 101-րդ կետով նախատեսված պահանջներին:
103. Մեքենայական և բլոկային սրահների դռները և ելանցքը պետք է սարքավորված լինեն դրսից բանալիով բացվող փականներով, իսկ ներսից պետք է բացվեն առանց բանալու: Նյութերի մատուցման համար նախատեսված ելանցքի կափարիչը պետք է կողպել միայն ներսից:
104. Մեքենայական սրահի սարքավորումների սպասարկման գոտու բարձրությունը պետք է լինի 2 մ-ից ոչ պակաս, իսկ մեքենայական սրահից դեպի սարքավորումների սպասարկման գոտի տանող մուտքային մասերի բարձրությունը չպետք է լինի 1,8 մ-ից պակաս: Բարձրության մեծությունը հաշվարկվում է սրահի հատակից մինչև տանիքի շինարարական կոնստրուկցիաները:
Եթե վերելակների կարապիկները գտնվում են մեքենայական սրահում, ապա վերելակների հորաններում թույլատրվում է տեղակայել ճոպանատար անիվներ, եթե դրանց սպասարկումը հնարավոր է մեքենայական սրահից:
105. Բլոկային սրահի բարձրությունը` հաշվարկված բլոկի սրահի հատակից մինչև տանիքի տարրերը, պետք է լինի 1,5 մ-ից ոչ պակաս, ընդ որում, բլոկների վրա ազատ տարածքի չափը պետք է լինի 0,3 մ-ից ոչ պակաս:
106. Մեքենայական սրահում մինչև կառավարման սարքերի տեղադրումը պետք է նախատեսված լինի սպասարկման համար անհրաժեշտ ազատ տարածք (հարթակ)` հետևյալ չափերով`
ա) խորությունը (կառավարման վահանակների և պանելների արտաքին մասից չափված) պետք է լինի 0,75 մ-ից ոչ պակաս,
բ) լայնությունը պետք է հավասար լինի տվյալ կառավարման վահանակի կամ պանելների լայնությանը, բայց 0,5 մ-ից ոչ պակաս:
107. Մեքենայական սրահում տեղակայված մեխանիկական սարքավորումների շարժական մասերը և վերելակների խցիկների ձեռքով տեղաշարժման համար պետք է նախատեսված լինի սպասարկման գոտի (ազատ տարածքի) (0,5x0,5) մ-ից ոչ պակաս:
108. Սույն տեխնիկական կանոնակարգի 106-րդ և 107-րդ կետերով նախատեսված սպասարկման գոտիներ տանող ճանապարհների լայնությունը պետք է լինի 0,5 մ-ից ոչ պակաս: Եթե այդ գոտիներում բացակայում են շարժական մասեր, ապա թույլատրվում է այդ լայնությունը փոքրացնել մինչև 0,4 մ:
109. Բլոկային սրահում կառավարման սարքերի տեղադրման դեպքում այդ սրահները պետք է համապատասխանեն սույն տեխնիկական կանոնակարգի 104-րդ, 106-րդ և 108-րդ կետերով սահմանված պահանջներին:
110. Եթե մեքենայական կամ բլոկային սրահների հատակներն ունեն մի քանի տարբեր մակարդակներ, ապա մի մակարդակից մյուս մակարդակն անցնելու համար պետք է տեղադրվեն անշարժ ամրացված սանդուղքներ` հորիզոնական հարթության նկատմամբ 600-ից ոչ ավելի թեքությամբ, կամ պետք է ունենան անցումներ` 200-ից ոչ ավելի թեքությամբ թեք հարթակների տեսքով, եթե հատակների մակարդակների տարբերությունը չի անցնում 0,35 մ-ից:
Եթե մեքենայական կամ բլոկային սրահներում առկա է հատակների մակարդակների 0,5 մ-ից ավելի բարձրություն, ապա անցումների սանդուղքները կամ թեթևակի թեքություն ունեցող հարթակները պետք է սարքավորված լինեն բազրիքներով` 0,9 մ-ից ոչ պակաս բարձրությամբ:
111. Վերելակների հորանների տանիքների վրայի անցքերի շուրջը պետք է լինեն ծածկի սալիկի կամ հատակի մակարդակից 0,05 մ բարձրությամբ ելուստներ, ընդ որում, այդ անցքերի միջից անցնող շարժական մասերից մինչև անցքերի եզրերը պետք է լինի 0,01 մ-ից ոչ պակաս տարածություն:
112. Մեքենայական սրահի լուսավորությունը պետք է համապատասխանի սույն տեխնիկական կանոնակարգի 342-րդ կետով նախատեսված պահանջներին` 30 լք շիկացման լամպերի և 75 լք լյումինեսցենտային լամպերի դեպքում, և պետք է բավարարի սույն տեխնիկական կանոնակարգի 342-րդ կետով նախատեսված պահանջները:
113. Բլոկային սրահի լուսավորությունը պետք է համապատասխանի սույն տեխնիկական կանոնակարգի 343-րդ կետով նախատեսված պահանջներին:
Բլոկային սրահի լուսավորության համար նախատեսված անջատիչը պետք է տեղադրված լինի բլոկային սրահի մուտքից 0,75 մ-ից ոչ ավելի հեռավորության և հատակի մակարդակից 1,6 մ-ից ոչ ավելի բարձրության վրա: Մեքենայական սրահում պետք է լինի սնուցման վարդակ:
Բլոկային սրահում կառավարման սարքերի առկայության դեպքում պետք է ապահովվի սույն տեխնիկական կանոնակարգի 112-րդ կետով նախատեսված պահանջների կատարումը:
114. Բլոկային սրահում, մուտքերի մոտ պետք է տեղադրված լինի անվտանգության էլեկտրական սարքավորում, որը պետք է բավարարի սույն տեխնիկական կանոնակարգի 326-րդ կետով սահմանված պահանջները:
115. Չի թույլատրվում մեքենայական և բլոկային սրահների` շենքերի տանիք կամ այլ տարածքներ անցնելու համար որպես միջանկյալ տարածք օգտագործումը:
116. Վերելակների սարքավորումների տեղակայումն առանց մեքենայական սրահի պետք է իրականացվի սույն տեխնիկական կանոնակարգի 118-128-րդ կետերով նախատեսված պահանջներին համապատասխան:
117. Այն հորանների տարրերը, որոնց վրա տեղադրվում են սարքավորումներ, պետք է հաշվարկված լինեն վերելակների շահագործման և փորձարկման ժամանակ առաջացած բեռնվածությանը համապատասխան:
118. Հորանում տեղադրված սարքավորումների սպասարկման համար անհրաժեշտ բարձրությունը պետք է լինի 2,0 մ-ից ոչ պակաս, իսկ լուսավորության սարքավորումների սպասարկման համար նախատեսված անցման գոտիների բարձրությունը` 1,8 մ-ից ոչ պակաս, ընդ որում, այդ բարձրությունները չափվում են մոտեցումների և սպասարկման գոտիների հատակներից մինչև հորանի կոնստրուկցիայի ցցվածքները: Շարժաբերների շարժվող մասերի վերևում պետք է լինի ազատ տարածություն` 0,3 մ-ից ոչ պակաս բարձրությամբ: Այդ պահանջները չեն տարածվում այն շարժաբերների վրա, որոնք տեղադրված են հորանի տանիքի տակ:
119. Հորանի մեջ կառավարման սարքերի սպասարկման համար դրանց դիմաց պետք է նախատեսված լինի համապատասխան ազատ գոտի (տարածություն)`
ա) 0,75 մ-ից ոչ պակաս խորությամբ` հաշվարկված վահանակների և պանելների արտաքին մակերևույթից,
բ) վահանակների և պանելների լայնությամբ, բայց 0,5 մ-ից ոչ պակաս չափով:
120. Հորանում տեղադրված մեխանիկական սարքավորումների շարժական մասերի սպասարկման համար պետք է նախատեսվի սպասարկման ազատ հարթակ (0,5x0,6) մ-ից ոչ պակաս չափերով:
121. Խցիկի հարկադիր ոչ կառավարելի կանգի դեպքում` սպասարկող անձնակազմի համար պետք է նախատեսված լինի համապատասխան հնարավորություն` սպասարկման գոտուց ինքնուրույն հեռանալու համար:
122. Ուղևորների` խցիկից տարահանման համար, ինչպես նաև սույն տեխնիկական կանոնակարգի 124-րդ կետով դինամիկ փորձարկումների կատարման համար նախատեսված սարքավորումների կառավարումը պետք է նախատեսված լինի հորանից դուրս:
123. Հորանում տեղադրված սարքավորումների (կարապիկ, դրա հետ փոխկապակցված էլեկտրական և մեխանիկական հարմարանքներ) սպասարկումը և ստուգումները կարելի է իրականացնել անշարժ խցիկի տանիքից: Այդ դեպքում պետք է կատարվեն հետևյալ պահանջները`
ա) սպասարկումների կամ ստուգումների կատարման դեպքում պետք է բլոկավորվի խցիկի ոչ վերահսկելի կամ չկանխատեսված շարժումները: Այդ նպատակի համար թույլատրվում է կիրառել վերելակի որսիչներ.
բ) բլոկավորման սարքերը գործողության մեջ դնելու նկատմամբ հսկողությունը պետք է իրականացվի անվտանգության էլեկտրական սարքավորումներով` սույն տեխնիկական կանոնակարգի 328-րդ կետով նախատեսված պահանջներին համապատասխան:
124. Հորանի գետնախորշում տեխնիկական սպասարկման և սարքավորումների ստուգման աշխատանքները պետք է կատարվեն հետևյալ պայմանների պահպանմամբ`
ա) պետք է նախատեսված լինի խցիկի շարժումը կասեցնող հարմարանք: Խցիկը կանգնելուց հետո` գետնախորշի հատակի և խցիկի դուրս ցցված մասերի միջև եղած հեռավորությունը պետք է լինի 2 մ-ից ոչ պակաս.
բ) բլոկավորման սարքերը գործողության մեջ դնելու նկատմամբ հսկողությունը պետք է իրականացվի անվտանգության էլեկտրական սարքավորումներով` սույն տեխնիկական կանոնակարգի 328-րդ կետով նախատեսված պահանջներին համապատասխան:
125. Եթե հնարավոր չէ ըստ սույն տեխնիկական կանոնակարգի 120-րդ և 122-րդ կետերով նախատեսված սարքավորումների սպասարկումը հորանում, ապա վերելակների հորաններում պետք է կիրառվի ստացիոնար հարթակ, ընդ որում, անշարժ հարթակն առանց մնացորդային դեֆորմացիայի պետք է պահի 2000 Ն մեծության ուժ` կիրառված դրա ցանկացած մասի (0,2x0,4) մ մակերեսի վրա:
Հարթակը պետք է ունենա համապատասխան բազրիք` սույն տեխնիկական կանոնակարգի 169-րդ կետով նախատեսված պահանջներին համապատասխան:
Հարթակի նկատմամբ հսկողությունը ելակետային (չաշխատող) վիճակում պետք է իրականացվի անվտանգության էլեկտրական սարքավորումների միջոցով:
Հարթակը պետք է սարքավորված լինի այն աշխատանքային վիճակի բերելու հարմարանքով: Այդ հարմարանքը գործողության մեջ դնելը պետք է կառավարվի հորանից դուրս:
126. Սարքավորումների տեղադրման գոտու լուսավորվածությունը պետք է համապատասխանի սույն տեխնիկական կանոնակարգի 344-րդ կետով նախատեսված պահանջներին: Հորանի ներսի սպասարկման գոտում պետք է տեղադրվի լուսավորության անջատիչ և էլեկտրական վարդակ` ըստ սույն տեխնիկական կանոնակարգի 338-րդ կետի:
127. Հորանից դուրս դրվող` վերելակի սարքավորումները պետք է տեղադրվեն պահարաններում, որոնց դռները չպետք է բացվեն դեպի ներս և պետք է ունենան բանալիով փական: Թույլատրվում է դռները բացել նաև առանց բանալու:
Սարքավորումների սպասարկման համար պետք է նախատեսված լինեն սպասարկման գոտիներ` սույն տեխնիկական կանոնակարգի 121-րդ և 122-րդ կետերով նախատեսված պահանջներին համապատասխան:
Պահարանի լուսավորումը պետք է համապատասխանի սույն տեխնիկական կանոնակարգի 345-րդ կետով նախատեսված պահանջներին:
128. Սույն տեխնիկական կանոնակարգի 122-րդ կետով նախատեսված կառավարման սարքավորումները պետք է պաշտպանված լինեն չարտոնված մուտքերից և պետք է ապահովեն`
ա) մեքենայական սրահից կատարվող կառավարման ռեժիմը` նախատեսված սույն տեխնիկական կանոնակարգի 287-րդ կետով,
բ) խցիկի շարժման ուղղության և դրա դռների բացման գոտուն հասնելու կամ շարժաբերի աշխատանքի ընթացքին հետևելու վերաբերյալ ցուցանշումը:
Կառավարման սարքավորումների լուսավորությունը պետք է բավարարի սույն տեխնիկական կանոնակարգի 288-րդ կետով նախատեսված պահանջները:
Կառավարման սարքավորումների դիմաց պետք է նախատեսված լինի ազատ հարթակ (0,5x0,6) մ մակերեսով և 20 մ-ից ոչ պակաս բարձրությամբ: Ուղևորների տարահանման համար պետք է նախատեսված լինի երկկողմանի կապ` ուղևորների և սպասարկող անձնակազմի միջև:
ՎԵՐԵԼԱԿՆԵՐԻ ՄԵԽԱՆԻԿԱԿԱՆ ՍԱՐՔԱՎՈՐՈՒՄՆԵՐԸ
129. Հորանի պատերի մեջ եղած բացվածքները, որոնց միջոցով անցում է կատարվում դեպի խցիկ, պետք է սարքավորված լինեն կիպ ծածկվող դռներով:
130. Վերելակների հորանների դռները պետք է բավարարեն տվյալ շենքի և շինության հակահրդեհային անվտանգության նորմերը և կանոնները:
131. Վերելակի հորանի դռները` իրենց փականքների հետ միասին, փակված վիճակում պետք է դիմանան 5 սմ2 մակերեսով շրջանաձև կամ քառակուսի մակերեսների վրա դռների ցանկացած մասում ազդող` հավասարաչափ բաշխված 300 Ն բեռնվածության, 15 մմ-ից ոչ ավելի առաձգական դեֆորմացիայով, ընդ որում, մնացորդային դեֆորմացիա կամ գործունեության որևէ շեղում չի թույլատրվում:
132. Յուրաքանչյուր հարկի նստեցման հարթակում հորանի դռների բացվածքի բարձրությունը պետք է լինի 2 մ-ից ոչ պակաս:
133. Հորանի դռների բացվածքի լայնությունը չպետք է գերազանցի խցիկի դռների բացվածքը:
134. Հորանի դռների բացվածքը պետք է սարքավորված լինի խցիկի բեռնվածությունից առաջացող լարվածությանը դիմացող շեմով:
135. Ավտոմատ տեղաշարժվող դռների արտաքին մակերևույթը չպետք է ունենա 0,003 մ-ից ավելի փոս ընկած հատվածներ կամ ելուստներ: 0,003 մ-ից պակաս փոս ընկած հատվածների և ելուստների եզրային մասերը դռների բացման ուղղությամբ պետք է կլորացված կամ տաշված լինեն:
136. Դռների պաշտպանակների համար թույլատրվում է օգտագործել բազմաշերտ ապակի: Այդ պահանջները չեն տարածվում սույն տեխնիկական կանոնակարգի 138-րդ կետում նշված թափանցիկ պանելների վրա:
137. Մեխանիկական շարժաբերմամբ ավտոմատ դռների փակումը կանխարգելակող ուժի մեծությունը չպետք է գերազանցի 150 Ն` բացառությամբ դռների տեղաշարժման տարածության առաջին երրորդ մասի:
Դռների փակման միջին արագության դեպքում հորանի դռների և դրանց կոշտ ամրացում ունեցող մեխանիկական մանրակների կինետիկ էներգիան չպետք է գերազանցի 10 Ջ:
Տեղաշարժվող դռների փակման միջին արագությունը հաշվարկվում է դրանց տեղաշարժման ամբողջ տարածության համար` չհաշված`
1) 0,025 մ փեղկերի ծայրային դիրքերը, եթե դռները կենտրոնական բացմամբ են,
2) 0,05 մ փեղկերի ծայրային դիրքերը, եթե դռները կողմնային բացմամբ են:
Նախատեսված հարմարանքը պետք է ավտոմատ միացնի փակվող դռների դարձափոխումը` նախքան դռների փեղկերի ներգործությունը դռան բացվածքի մեջ գտնվող արգելքների վրա:
Դարձափոխման հարմարանքները պետք է տեղադրվեն խցիկում: Թույլատրվում է այդ հարմարանքները տեղադրել հորանի դռների վրա:
Դռների յուրաքանչյուր տանող փեղկի ընթացքի վերջին 0,05 մ հատվածում դռները կարող են գտնվել այդ հարմարանքների ազդեցության ոլորտից դուրս:
Հորանի և խցիկի փոխկապակցված դռների միաժամանակյա գործարկման դեպքում սույն կետի պահանջները մնում են ուժի մեջ` դրանց միացյալ դռան մեխանիզմի համար: Դռների բացվածքում արգելքի առկայության և դարձափոխման անջատման դեպքերում` անջատված դարձումով դռների ընթացքի ժամանակ հորանի դռների կինետիկ էներգիան չպետք է գերազանցի 4 Ջ:
Ծալովի դռների բացումը կանխելու համար անհրաժեշտ ուժը չպետք է գերազանցի 150 Ն-ն: Գործադրված այդ ուժի չափը պետք է որոշել բացված դռների ժամանակ, այդ դեպքում պանելների հարևան արտաքին եզրերի միջև եղած տարածությունը կամ պանելի արտաքին եզրի և դռան ճակատամուտքի միջև պետք է լինի (0,1x0,01) մ:
Ուղղաձիգ տեղաշարժվող դռները կարող են կիրառվել միայն բեռնատար վերելակներում, որոնցով մարդկանց տեղափոխումն արգելվում է: Այդ դեպքում`
ա) դռան փեղկերը պետք է կախված լինեն 2-ից ոչ պակաս անկախ կրող տարրերից,
բ) կրող տարրերի ամրության պաշարի գործակիցը պետք է լինի 8-ից ոչ պակաս,
գ) մետաղյա ճոպանները որպես կրող տարրեր օգտագործվելու դեպքում ճոպանի կորացման հոլովակի տրամագծի հարաբերությունը ճոպանի տրամագծին չպետք է լինի 25-ից պակաս,
դ) ձեռքով բացվող-փակվող դռների փեղկերը պետք է լինեն հավասարակշռված,
ե) տանող տարրերը պետք է պաշտպանված լինեն հոլովակների ակոսներից կամ աստղանիվներից դուրս ընկնելու հնարավորությունից:
Հորանի ավտոմատ բացվող դռների փակման ուժը չպետք է լինի 150 Ն-ից ոչ ավելի:
138. Հորանի` ձեռքով բացվող դռների դեպքում պետք է նախատեսված լինի խցիկի տվյալ հարկում գտնվելու մասին տեղեկություններ ստանալու հետևյալ միջոցներից մեկը`
1) հորանի դռների վրա մեկ կամ մի քանի թափանցիկ պանելներով դիտանցքեր, որոնք պետք է բավարարեն նաև հետևյալ պայմանները`
ա) մեխանիկական ամրությունը պետք է համապատասխանի սույն տեխնիկական կանոնակարգի 131-րդ կետով նախատեսված պահանջներին,
բ) թափանցիկ մասի հաստությունը չպետք է լինի 0,006 մ-ից պակաս,
գ) թափանցիկ դիտանցքերի ընդհանուր մակերեսը հորանի մի դռան վրա պետք է լինի 0,015 մ2-ից ոչ պակաս,
դ) դիտանցքի թափանցիկ մասի լայնությունը պետք է լինի 0,06 մ-ից ոչ պակաս և 0,15 մ-ից ոչ ավելի: 0,08 մ լայնությամբ դիտանցքի ներքևի եզրը պետք է լինի 1,0 մ-ից ոչ պակաս բարձրության վրա` հաշվարկված տվյալ հարկի նստեցման հարթակի մակերևույթից.
2) պետք է ունենա տվյալ հարկում խցիկի գտնվելը ցույց տվող լուսային ազդանշան:
139. Դռների փեղկերի միջև, դռների փեղկի և դռնային բացվածքի եզրի կամ փեղկերի և շեմի միջև բացակը` դռները փակված վիճակում, պետք է լինի 0,006 մ-ից ոչ ավելի:
Հորիզոնական բացվող կամ ծալվող դռների վրա ցանկացած կետում տանող դռնային պանելի բացման ուղղությամբ ձեռքով (առանց գործիքի օգնության)150 Ն ուժ կիրառելու դեպքում բացվածքները չպետք է գերազանցեն`
1) 0,03 մ-ն` կողքային բացվող դռների համար,
2) 0,045 մ-ն` կենտրոնից բացվող դռների համար:
140. Հորիզոնական տեղաշարժվող և ուղղաձիգ տեղաշարժվող հորանի դռները փակված վիճակում պետք է բավարարեն հետևյալ պահանջները`
ա) հորիզոնական տեղաշարժվող դռների դեպքում փեղկերը պետք է ծածկեն դռան բացվածքի շրջակապի վերևից և կողային մասերից, ուղղաձիգ տեղաշարժվող դռները` բոլոր կողմերից 0,015 մ2-ից ոչ պակաս:
Միակողմանի տեղաշարժվող դռների դեպքում` թույլատրվում է փեղկի թևի կողմից ոչ լրիվ ծածկել դռան բացվածքի շրջակապը.
բ) հորիզոնական տեղաշարժվող` միակողմանի փակվող փեղկերով դռների մի փեղկի ծածկումը մյուսի կողմից պետք է լինի 0,015 մ-ից ոչ պակաս, իսկ դրանց միջև եղած բացվածքը` 0,006 մ-ից ոչ ավելի:
141. Հորանի դռները հարկի հարթակում պետք է ունենան ավտոմատ փականներ, որոնք պետք է փակեն դռները` նախքան խցիկի հեռացումը հարկի հարթակից` 0,2 մ տարածքով, ընդ որում, խցիկի շարժման արագությունը չպետք է գերազանցի 0,63 մ/վ-ն: Ավտոմատ փականը պետք է բացառի դռների բացվելը հորանի արտաքին մասից` բացի սույն կետի 6-րդ ենթակետով նախատեսված դեպքից.
1) հորանի և խցիկի ավտոմատ բացվող դռներով վերելակներում թույլատրվում է դռների բացումը, երբ խցիկի հատակի մակարդակի և տվյալ հարկի նստեցման հարթակի միջև եղած տարածությունը չի գերազանցում 0,2 մ-ն, այդ դեպքում խցիկի շարժման արագությունը չպետք է գերազանցի 0,63 մ/վ-ից.
2) բեռնատար վերելակներում թույլատրվում է խցիկը տվյալ հարկի մակարդակին հասցնելը կատարել բեռնաբարձման-բեռնաթափման աշխատանքները հորանի բացված դռների դեպքում, երբ խցիկի և տվյալ հարկի հարթակի մակերևույթի միջև եղած տարածությունը 0,2 մ-ի սահմաններում է, այդ դեպքում խցիկի շարժման արագությունը պետք է լինի 0,3 մ/վ-ից ոչ ավելի.
3) խցիկի ընթացքը պետք է հնարավոր լինի միայն հորանի դռների ավտոմատ փականների փակող տարրերի տեղաշարժումից հետո 0,007 մ-ից ոչ պակաս մեծությամբ փականի հակադարձ կողմը (N 5 նկար):
Նկար N 5. Հորանի դռան ավտոմատ փակող փականը
Դռների ավտոմատ փակող փականները պետք է անմիջականորեն ներգործեն սույն տեխնիկական կանոնակարգի 310-րդ կետով նախատեսված անվտանգության էլեկտրական սարքավորումների վրա.
4) հորանի դռները փակված վիճակում` դրանց բացման ուղղությամբ 300 Ն ուժ գործադրելու դեպքում չպետք է բացվեն.
5) հորանի դռան փականի վրա պետք է տեղադրված լինի ցուցանակ, որտեղ պետք է նշված լինեն արտադրող կազմակերպության տվյալները և նույնականացման համարը.
6) հորանի դռները դրսից պետք է բացվեն միայն հատուկ բանալիով: Հորանի դուռն ավտոմատ բացվելուց հետո պետք է փակվի և, եթե հորանի դռների բացման գոտում խցիկը բացակայում է, պետք է փակվի ավտոմատ.
7) հարկի հարթակում ձեռքով փակվող հորանի դուռը, բացի ավտոմատ փականից, պետք է սարքավորված լինի նաև ոչ ավտոմատ փականով կամ դռները փակված վիճակում պահող հարմարանքով:
142. Հորանի յուրաքանչյուր դուռը հարկի հարթակում պետք է սարքավորված լինի դռների փակվածությունը հսկող անվտանգության էլեկտրական սարքավորմամբ` սույն տեխնիկական կանոնակարգի 311-րդ կետով նախատեսված պահանջներին համապատասխան:
Հորանի հորիզոնական ավտոմատ տեղաշարժվող դռների համար թույլատրվում է անվտանգության էլեկտրական սարքավորումը միավորել դռների փակվածությունը հսկող հարմարանքների հետ` այն պայմանով, որ դրա գործարկումը կապված լինի հորանի դռների փակման հետ:
Առանց փականի տեղաշարժվող դռների փեղկերի փակման հսկողության համար պետք է նախատեսվի անվտանգության էլեկտրական սարքավորում` սույն տեխնիկական կանոնակարգի 311-րդ կետով նախատեսված պահանջներին համապատասխան:
Նշված պահանջը չի տարածվում այն դռների վրա, որոնց փեղկերը փակված վիճակում կապակցված են չանջատվող կինեմատիկ կապով:
Բազմափեղկ շարժական դռներում, որոնք կազմված են մի քանի ճկուն կինեմատիկ կապված փեղկերից (օրինակ` ճոպանի, գոտու, շղթայի միջոցով) թույլատրվում է փակել միայն մեկ փեղկը` այն պայմանով, որ փեղկի միանգամյա փակումը կանխում է մյուս փեղկերի բացումը, և որ դրանք սարքավորված չեն բռնակներով:
143. Դռները պետք է սարքավորված լինեն ուղղորդիչներից դուրս գալը կանխող հարմարանքներով:
Հորիզոնական տեղաշարժվող դռները պետք է ունենան ուղղորդիչներ` վերևից և ներքևից, իսկ ուղղաձիգ տեղաշարժվող դռները պետք է ուղղորդիչներ ունենան երկու կողից:
144. Վթարային դռներին, տեխնիկական սպասարկման դռներին, հորանի զննման ելանցքներին, միջանցքներին ներկայացվող պահանջներն են`
1) տեխնիկական սպասարկման դռները պետք է ունենան 1,8 մ-ից ոչ պակաս բարձրություն և 0,6 մ-ից ոչ պակաս լայնություն:
Վթարային դռները պետք է լինեն 1,8 մ-ից ոչ պակաս բարձրությամբ և 0,35 մ-ից ոչ պակաս լայնությամբ: Զննման ելանցքերը պետք է ունենան 0,5 մ-ից ոչ ավելի բարձրություն և 0,5 մ-ից ոչ ավելի լայնություն.
2) սարքավորումների տեխնիկական սպասարկման և վթարային դռները, ինչպես նաև զննման ելանցքերը պետք է բացվեն դեպի հորանի ներսը.
3) սարքավորումների տեխնիկական սպասարկման և վթարային դռները, ինչպես նաև զննման ելանցքերը պետք է ունենան բանալիով բացվող փականներ: Այդ դռների և ելանցքերի կափարիչների փակումը թույլատրվում է առանց բանալու օգնության:
Սարքավորումների տեխնիկական սպասարկման և վթարային դռները պետք է բացվեն հորանի ներսի կողմից` առանց բանալու, եթե նույնիսկ դրանք կողպված են.
4) տեխնիկական սպասարկման և վթարային դռները, ինչպես նաև զննման ելանցքերը պետք է լինեն հարթ, ունենան մեխանիկական ամրություն և համապատասխանեն տվյալ շենքի կամ շինության հակահրդեհային անվտանգության նորմերին.
5) դռների և ելանցքների փակվածության հսկողության համար պետք է նախատեսվի անվտանգության էլեկտրական սարքավորում` սույն տեխնիկական կանոնակարգի 312-րդ կետի պահանջներին համապատասխան:
ՈՒՂՂՈՐԴԻՉՆԵՐԸ
145. Խցիկը, հակակշիռը և խցիկի հավասարակշռիչ սարքը պետք է շարժվեն կոշտ պողպատյա ուղղորդիչներով:
146. Ուղղորդիչները, դրանց միացումները և ամրացումները պետք է հաշվարկված լինեն վերելակների աշխատանքային ռեժիմում և փորձարկումների ժամանակ առաջացող բեռնվածությունների համար:
Նշված բեռնվածությունների դեպքում ուղղորդիչների ճկվածքի ազդեցությամբ չպետք է`
ա) ուղղորդիչներից դուրս ընկնեն խցիկի, հակակշռի կամ խցիկի հավասարակշռիչ սարքի կալունները,
բ) ինքնակամ բացվեն հորանի դռները,
գ) խաթարվի անվտանգության համակարգի աշխատանքը:
147. Ուղղորդիչների ճկվածության հաշվարկային մեծությունը չպետք է գերազանցի`
ա) 0,005 մ-ն` որսիչներով սարքավորված խցիկի, հակակշռի և խցիկի հավասարակշռիչ սարքի ուղղորդիչների երկու առանցքներից յուրաքանչյուրի համար,
բ) 0,01 մ-ն` որսիչներով չսարքավորված խցիկի հակակշռի կամ խցիկի հավասարակշռիչ սարքի ուղղորդիչների 2 առանցքից յուրաքանչյուրի համար:
148. Խցիկի, հակակշռի կամ խցիկի հավասարակշռիչ սարքի ուղղորդիչների բարձրությունը պետք է լինի այնքան, որպեսզի խցիկի, հակակշռի կամ խցիկի հավասարակշռիչ սարքի աշխատանքային դիրքերի ծայրային սահմաններից դուրս տեղաշարժման դեպքում կալունները դուրս չգան ուղղորդիչներից:
149. Ուղղորդիչների միջանկյալ հատվածների ծայրերը միացման տեղերում պետք է ապահովված լինեն փոխադարձ շեղումներից:
150. Ուղղորդիչների ամրացումը պետք է ապահովի ուղղորդիչների կարգավորման հնարավորությունը` շենքի նստվածքների կամ բետոնի սեղմման, կամ ջերմային դեֆորմացիաների դեպքում:
ԿԱՐԱՊԻԿԸ
151. Վերելակներում կարող են կիրառվել հետևյալ կարապիկները`
ա) ճոպանների կամ փոկերի օգտագործմամբ` ճոպանատար անիվով կամ շփման թմբուկով,
բ) թմբուկային ճոպաններով,
գ) աստղանիվային և շղթայով (շղթաներով):
152. Կարապիկը և դրա ամրացման տարրերը պետք է հաշվարկված լինեն վերելակների շահագործման և փորձարկումների ժամանակ առաջացող բեռնվածությունների համար, իսկ թմբուկավոր կամ աստղանիվով կարապիկը լրացուցիչ պետք է հաշվված լինի այն բեռնվածությունների համար, որոնք առաջանում են վերին թափամեղմիչի վրա խցիկի նստեցման ժամանակ:
153. Թույլատրվում է թմբուկավոր կամ աստղանիվով կարապիկ օգտագործել մինչև 0,63 մ/վ անվանական արագություն ունեցող վերելակներում:
154. Չի թույլատրվում թմբուկավոր կամ աստղանիվով կարապիկով վերելակներում հակակշռի օգտագործում, թույլատրվում է միայն խցիկի հավասարակշռիչ սարքի օգտագործում:
155. Ճոպանատար անիվով կամ շփման թմբուկով կարապիկներում պետք է ապահովված լինի քարշող (տանող) տարրերի (ճոպաններ, փոկեր) միացումը ճոպանատար անիվի կամ թմբուկի հետ, որոնք աշխատանքային ռեժիմում և փորձարկման ժամանակ պետք է ունենան շփման միջոցով ուժերի փոխանցման ունակություն:
156. Ճոպանատար անիվով կամ շփման թմբուկով կարապիկներում պետք է բացառվեն`
ա) դատարկ խցիկի վեր բարձրանալը` թափամեղմիչի վրա նստեցված հակակշռի և վերելքի ուղղությամբ աշխատող շարժաբերի` սույն տեխնիկական կանոնակարգի 293-րդ կետում նախատեսված ժամանակահատվածը չգերազանցելու դեպքում,
բ) հակակշռի վերաբարձրացումը, երբ խցիկը գտնվում է թափամեղմիչի վրա, և վայրէջքի ուղղությամբ աշխատող շարժաբերի` սույն տեխնիկական կանոնակարգի 293-րդ կետով նախատեսված ժամանակահատվածը չգերազանցելու դեպքում:
157. Ճոպանների, փոկերի, շղթաների շարժաբերման տարրերի (ճոպանիվ, թմբուկ, աստղանիվ) և արգելակման թմբուկի (սկավառակի) միջև պետք է լինի կինեմատիկ չանջատվող կապ:
Էլեկտրական շարժիչից պտտման պահի փոխանցման համար թույլատրվում է կիրառել փոկային փոխանցում: Փոկերի թիվը պետք է լինի 2-ից ոչ պակաս և դրանց ձգվածության հսկողության համար պետք է նախատեսվի անվտանգության էլեկտրական սարքավորում` սույն տեխնիկական կանոնակարգի 309-րդ կետին համապատասխան:
158. Կարապիկի հասանելի պտտվող տարրերն են հոլովակները, ճոպանիվները, ճախարակային բլոկները, ատամնանիվները, աստղանիվները, փոկերը, շղթաների շարժիչի հոլովակները, շփման թմբուկները, շարժիչի լիսեռների դուրս ցցված հատվածները, որոնք պետք է լինեն արգելափակված` հանկարծակի հալումից:
Թույլատրվում է խցիկի ձեռքով տեղաշարժման ղեկանիվները, արգելակման թմբուկները և հարթ գլանային լիսեռները չարգելափակել: Այդ դեպքում դրանց չաշխատող մասերը պետք է ներկել դեղին գույնով:
159. Պետք է բացառվի վերելակների աշխատանքային ռեժիմում և դրանց փորձարկումների ժամանակ ճոպանիվների, փոկերի կամ շարժաբերմամբ շղթաների և ուղղորդիչների տարրերի դուրս գալը:
160. Վերելակների էլեկտրասնուցման անջատման դեպքում պետք է նախատեսված լինի վերելակների տեղաշարժման հնարավորություն`
ա) խցիկի ձեռքով տեղաշարժման համար կարապիկը պետք է սարքավորված լինի ղեկանիվով: Այդ դեպքում խցիկի շարժման համար անհրաժեշտ ղեկանիվի վրա կիրառվող ուժը չպետք է գերազանցի 235 Ն-ն: Չի թույլատրվում անվաճաղերով կամ շուռտվիկային բեռնալծակով ղեկանիվների կիրառում.
բ) հանովի ղեկանիվը պետք է պահվի վերելակի մեքենայական սրահում: Եթե մի մեքենայական սրահում կան հանովի ղեկանիվներով մի քանի կարապիկներ, ապա հանված ղեկանիվը պետք է ունենա տվյալ կարապիկին համապատասխան մակնշում (գունավորում):
Անվտանգության էլեկտրական սարքավորումները, սույն տեխնիկական կանոնակարգի 323-րդ կետի պահանջներին համապատասխան, պետք է անջատեն անվտանգության համակարգի շղթան` ղեկանիվը կարապիկի վրա դնելու ժամանակ:
Կարապիկի կամ անմիջապես ղեկանիվի վրա պետք է նշված լինի ղեկանիվի պտտման դեպքում խցիկի տեղաշարժման ուղղությունը.
գ) խցիկի ղեկանիվով տեղաշարժման դեպքում պետք է նախատեսված լինի մեքենայական սրահից խցիկի դռների բացման գոտում գտնվելը դիտարկելու հնարավորություն:
161. Թմբուկավոր կարապիկի օգտագործման դեպքում պետք է կատարվեն նաև հետևյալ պահանջները`
ա) թմբուկը պետք է ունենա ճոպանի տրամագծին համապատասխան ակոսներ` պտուտակային փորվածքով,
բ) երբ խցիկը (հակակշիռը) գտնվում է լրիվ սեղմված թափամեղմիչների վրա, ամրացված յուրաքանչյուր ճոպանի համար թմբուկի վրա պետք է մնա 1,5 մ-ից ոչ պակաս պահուստային փաթույթ` չհաշված այն փաթույթները, որոնք գտնվում են թմբուկը սեղմող սարքի տակ,
գ) թմբուկի վրա պետք է լինի միայն մի շերտ ճոպանի փաթեթվածք,
դ) ճոպանի թեքվածության անկյունն ակոսների նկատմամբ պետք է լինի 40-ից ոչ ավելի,
ե) թմբուկը պետք է ունենա անվապռունկ (ռեբորտ)` փաթաթված ճոպանի բարձունքի վրա ճոպանի մեկ տրամագծից ոչ պակաս բարձրությունում: Թույլատրվում է ճոպանի ամրացման կողմից (կողմերից) անվապռունկ չնախատեսել:
162. Կարապիկը պետք է սարքավորված լինի ավտոմատ գործող նորմալ պարփակ մեխանիկական արգելակով, որի դեպքում`
ա) արգելակման պահը պետք է ստեղծվի սեղմված զսպանակի կամ բեռի օգնությամբ,
բ) արգելակը պետք է բաղկացած լինի 2 արգելակման համակարգից: Արգելակի բոլոր մեխանիկական տարրերը, այդ թվում` նաև էլեկտրամագնիսի հրիչը, որոնք գործարկվել են արգելակման թմբուկի կամ սկավառակի վրա ուժեր գործադրելու գործընթացում, պետք է կրկնօրինակվեն,
գ) արգելակման համակարգերից յուրաքանչյուրը պետք է ստեղծի այնպիսի արգելակման ուժ, որը բավարար լինի վերելակի անվանական բեռնունակությանը հավասար բեռնավորվածությամբ խցիկը կանգնեցնելու և պահելու համար,
դ) չի թույլատրվում ժապավենային արգելակների կիրառում,
ե) կարապիկը, որն ունի ձեռքով խցիկը տեղաշարժելու հարմարանք, սույն տեխնիկական կանոնակարգի 160-րդ կետի պահանջներին համապատասխան, պետք է ունենա նաև ձեռքով արգելակման սարք: Խցիկը ձեռքով տեղաշարժելու հարմարանքի վրա ներգործությունը վերացնելուց հետո արգելակման սարքի գործողությունը պետք է ավտոմատ կերպով վերականգնվի:
ԽՑԻԿԸ
163. Վերելակների խցիկները պետք է հաշվարկված լինեն ըստ դրանց աշխատանքային ռեժիմի և փորձարկման ժամանակ առաջացած բեռնունակության:
164. Խցիկը պետք է ունենա համատարած արգելափակված հոծ պատեր, հատակ, առաստաղ և օգտագործողների համար մուտքի բացվածքներ: Թույլատրվում է վթարային դռների և ելանցքերի համար բացվածքներ:
165. Խցիկի պատերը պետք է դիմանան շրջանաձև կամ քառակուսի 5 սմ2 մակերեսով հավասարաչափ բաշխված 300 Ն բեռնվածությանը, որն ազդում է խցիկի ներսից ուղիղ անկյան տակ 15 մմ-ն չգերազանցող առաձգական դեֆորմացիայով, ընդ որում, մնացորդային դեֆորմացիա չի թույլատրվում:
166. Խցիկի արգելափակման համար թույլատրվում է օգտագործել բազմաշերտ ապակի:
Խցիկի ապակյա պատերը, որոնք տեղադրված են հատակի մակարդակից 1,1 մ ցածր, պետք է սարքավորված լինեն 0,9 - 1,1 մ բարձրության վրա տեղադրված բռնաձողով և ամրացված ապակուց անկախ: Բազրիքը պետք է դիմանա դրա ցանկացած կետում տարբեր ժամանակ կիրառված հորիզոնական ազդող 440 Ն և ուղղաձիգ ազդող 1270 Ն բեռնվածություններին:
167. Խցիկի առաստաղի ցանկացած մասի (0,2x0,4) մ մակերեսը պետք է դիմանա 2000 Ն կիրառված բեռնվածությանը` առանց մնացորդային դեֆորմացիայի:
168. Խցիկի առաստաղի վրա պետք է նախատեսված լինի 0,12 մ2-ից ոչ պակաս մակերեսով ազատ տարածություն` սպասարկող անձնակազմի համար: Տարածության նեղ կողմի չափը պետք է լինի 0,25 մ-ից ոչ պակաս:
169. Եթե խցիկի առաստաղի արտաքին կողից հորիզոնական հարթությունում ուղղահայաց (մինչև հորանի արգելափակումը) չափված բացակը գերազանցում է 0,3 մ-ն, ապա խցիկի առաստաղը բացակի կողմի եզրերից պետք է սարքավորված լինի բազրիքով` 0,9 մ-ից ոչ պակաս բարձրությամբ: Բացակը չափելու ժամանակ հորանի պատերում եղած (0,3x0,3) մ-ից (լայնություն և բարձրություն) պակաս չափերով բացակների դեպքում դա հաշվի չի առնվում:
170. Բռնաձողի կառուցվածքում պետք է լինի 0,1 մ բարձրությամբ ներքևից երեսապատված բազրիքի և բռնաձողի բարձրության կեսից տեղադրված միջնակապ: Բռնաձողը պետք է դիմանա յուրաքանչյուր կետում տարբեր ժամանակ կիրառված հորիզոնական ազդող 440 Ն և ուղղաձիգ ազդող 127 Ն բեռնվածություններին:
171. Հորանում տեղադրված սարքավորումների (հակակշիռ, անջատիչներ, ուղղորդիչների կալուններ և այլն) և ճաղաշարի արտաքին մասի միջև եղած հորիզոնական հարթությամբ չափված բացակը պետք է լինի 0,1 մ-ից ոչ պակաս:
172. Խցիկի առաստաղի եզրի և բազրիքի միջև տարածքը պետք է լինի 0,15 մ-ից ոչ ավելի:
173. Խցիկի առաստաղային ծածկի համար կիրառված ապակին պետք է լինի բազմաշերտ և պետք է դիմանա սույն տեխնիկական կանոնակարգի 167-րդ կետով նախատեսված բեռնվածությանը:
174. Խցիկի առաստաղի վրա պետք է նախատեսվեն`
ա) կառավարման սարքեր` սույն տեխնիկական կանոնակարգի 289-րդ կետով նախատեսված պահանջներին համապատասխան,
բ) վերելակի կանգի հարմարանք` սույն տեխնիկական կանոնակարգի 317-րդ կետով նախատեսված պահանջներին համապատասխան,
գ) էլեկտրական վարդակ` սույն տեխնիկական կանոնակարգի 338-րդ կետով նախատեսված պահանջներին համապատասխան:
175. Խցիկի մուտքի շեմի տակ, դռան ամբողջ լայնությամբ, պետք է տեղադրվի ուղղաձիգ վահան` շեմի առջևի կողի երեսին համահավասար:
Վահանի ուղղաձիգ մասը պետք է վերջանա շեղատով, որի թեքման անկյունը հորիզոնական հարթության նկատմամբ պետք է լինի 600 -ից ոչ պակաս: Այդ շեղատի հորիզոնական պրոյեկցիան պետք է լինի 0,02 մ-ից ոչ պակաս: Վահանակի ուղղաձիգ մասի բարձրությունը, հաշվի առած խցիկի շեմի բարձրությունը, պետք է լինի 0,75 մ-ից ոչ պակաս:
Մինչև 150 անկյամբ թեք տեղադրված ուղղորդիչներով տեղաշարժվող վերելակի խցիկի համար նշված վահանը պետք է տեղադրված լինի խցիկի մուտքի կողմից հորանի պատերի ներսի մակերևույթին զուգահեռ:
176. Խցիկի բարձրությունը, չափված հատակից մինչև առաստաղային ծածկը, պետք է լինի 2 մ-ից ոչ պակաս: Խցիկի բարձրությունը հաշվարկելու ժամանակ առաստաղային ծածկի վրայի 0,05 մ-ից ոչ ավելի ելուստային տարրերը (լուսամփոփ, ցանց, շրջանակաձող և այլն) հաշվի չեն առնվում:
177. Խցիկի մուտքի բացվածքը պետք է լինի 2 մ-ից ոչ պակաս և հորանի բարձրությունից ոչ ցածր:
178. Խցիկի մուտքի բացվածքը պետք է ունենա դուռ:
179. Խցիկի դուռը պետք է լինի կիպ ծածկված: Ուղղահայաց տեղաշարժվող դռներում թույլատրվում է կիրառել ցանց կամ ծակոտված թիթեղ: Ցանցի բջջավանդակների կամ թիթեղի վրայի անցքերի մեծությունը չպետք է գերազանցի հորիզոնական ուղղությամբ 0,01 մ-ն և ուղղաձիգ ուղղությամբ 0,06 մ-ն:
180. Փեղկերի միջև, դռան բացվածքի ամրակապի և դռների փեղկերի միջև կամ փեղկերի և շեմի միջև բացակը` դռները փակված վիճակում, չպետք է գերազանցի 0,006 մ-ն:
181. Բացվող դռները չպետք է բացվեն դեպի դուրս:
182. Հորանի դռների` դիտանցքերով սարքավորման դեպքում խցիկի դռները նույնպես պետք է սարքավորված լինեն սույն տեխնիկական կանոնակարգի 138-րդ կետով նախատեսված պահանջներին համապատասխան դիտանցքերով: Խցիկը հարթակի մակարդակին գտնվելու դեպքում դիտանցքերը, սույն տեխնիկական կանոնակարգի 138-րդ կետով նախատեսված պահանջներին համապատասխան, պետք է դասավորված լինեն այնպես, որպեսզի տեսողական դիտարկման ժամանակ հորանի և խցիկի դիտանցքերը գտնվեն համապատասխանաբար իրար դիմաց:
183. Խցիկի դռները փակված վիճակում պետք է դիմանան շրջանաձև կամ քառակուսի 5 սմ2 մակերեսով հավասարաչափ բաշխված 300 Ն բեռնվածությանը, որը կարող է ազդել խցիկի ներսից դռան մակերեսի ցանկացած կետում կիրառված ուղիղ անկյան տակ, 15 մմ-ից ոչ ավելի առաձգական դեֆորմացիայի մեծությամբ, ընդ որում, բեռնվածության վերացման դեպքում մնացորդային դեֆորմացիա կամ գործունեության որևէ փոփոխություն չի թույլատրվում:
184. Խցիկի դռների արգելափակման համար կարելի է կիրառել փորձարկված բազմաշերտ ապակի:
185. Խցիկի ավտոմատ տեղաշարժվող դռների ներսի կողմի մակերևույթը չպետք է ունենա 0,003 մ-ից ավելի ելուստներ կամ ներս ընկած հատվածներ: 0,003 մ-ից ավելի ելուստների և փոս ընկած հատվածների եզրային մասերը դռների բացման ուղղությամբ պետք է կլորացված կամ հղկված լինեն:
Սույն կետի պահանջները չեն տարածվում ուղղահայաց տեղաշարժվող, ցանցերով կամ ծակոտված թիթեղներով պատրաստված դռների վրա:
186. Հորիզոնական տեղաշարժվող ավտոմատ շարժաբերով դռները և ծալովի դռները պետք է համապատասխանեն սույն տեխնիկական կանոնակարգի 137-րդ կետով նախատեսված պահանջներին:
187. Ուղղահայաց տեղաշարժվող դռները պետք է համապատասխանեն սույն տեխնիկական կանոնակարգի 137-րդ կետով նախատեսված պահանջներին:
188. Խցիկի դռները պետք է սարքավորված լինեն սույն տեխնիկական կանոնակարգի 313-րդ կետի պահանջներին համապատասխան անվտանգության էլեկտրական սարքավորումներով, որոնք պետք է հսկեն դռների փակվածությունը և կանխարգելակեն բացված դռներով խցիկի տեղաշարժը` բացառությամբ սույն տեխնիկական կանոնակարգի 141-րդ կետի 1-2-րդ ենթակետերով նախատեսված դեպքերի:
Եթե հորիզոնական տեղաշարժվող խցիկի դուռը բաղկացած է ուղղակի կինեմատիկ կապված փեղկերից (օրինակ` լծակների համակարգով), ապա նշված անվտանգության էլեկտրական սարքավորումները թույլատրվում է տեղադրել`
ա) միայն մի փեղկի (բազմափեղկ դռան առավել արագ շարժվող փեղկի) վրա,
բ) փեղկերի ուղղակի կինեմատիկ կապված դռների շարժաբերի վրա:
Հորիզոնական տեղաշարժվող խցիկի դռներում, որոնք բաղկացած են ոչ ուղղակի կինեմատիկ կապված փեղկերից (ճոպանի շղթայի, փոկի միջոցով), ապա նշված անվտանգության էլեկտրական սարքավորումը թույլատրվում է տեղադրել միայն տանող (քաշող) փեղկի վրա` այն պայմանով, որ տանող փեղկը դռան շարժաբերի հետ ունի ուղղակի կինեմատիկ կապ:
189. Խցիկի դուռը պետք է սարքավորված լինի ավտոմատ փականով` սույն տեխնիկական կանոնակարգի 87-րդ կետով նախատեսված դեպքում: Ավտոմատ փականը պետք է համապատասխանի սույն տեխնիկական կանոնակարգի 141-րդ կետով նախատեսված պահանջներին:
190. Դռների բացման գոտում գտնվող խցիկի դռների բացման համար անհրաժեշտ գործադրման ուժը չպետք է գերազանցի 300 Ն-ն:
191. Դռների շեմերը և ուղղորդիչները պետք է համապատասխանեն սույն տեխնիկական կանոնակարգի 134-րդ և 144-րդ կետերով նախատեսված պահանջներին:
192. Խցիկը վթարային ելանցքով սարքավորելիս` ելանցքի չափերը պետք է լինեն (0,35x0,5) մ-ից ոչ պակաս, ընդ որում, վթարային ելանցքը չպետք է բացվի դեպի խցիկի ներսը և պետք է լինի կիպ ծածկված և բաց վիճակում չպետք է դուրս գա խցիկի եզրաչափերից:
Ելանցքը պետք է ունենա փական, որը պետք է բացվի խցիկի դրսի կողմից` առանց բանալու օգնության:
193. Թույլատրվում է խցիկը սարքավորել վթարային դռնով` հարևան վերելակի խցիկ մարդկանց տեղափոխելու համար, եթե ապահովված են հետևյալ պայմանները`
ա) դուռը չպետք է բացվի դեպի դուրս,
բ) դռան փեղկը պետք է ունենա հոծ ծածկույթ,
գ) խցիկների միջև եղած հեռավորությունը պետք է լինի 0,75 մ-ից ոչ ավելի,
դ) խցիկների միջև եղած անցումում չպետք է տեղադրված լինեն քաշող (ձգող) ճոպաններ, ուղղաձիգ տեղադրված լարեր կամ մալուխներ,
ե) խցիկների միջև եղած անցումը չպետք է հատի հակակշռի շարժման գոտին,
զ) վթարային դուռը պետք է սարքավորված լինի փականով, որը պետք է առանց բանալու օգնության բացվի խցիկի դրսի կողմից, իսկ խցիկի ներսից պետք է բացվի բանալիով:
194. Վթարային դռան կամ ելանցքի փակվածության հսկողությունը պետք է իրականացվի անվտանգության էլեկտրական սարքավորումներով` սույն տեխնիկական կանոնակարգի 314-րդ կետով նախատեսված պահանջներին համապատասխան:
Չի թույլատրվում վթարային դուռը կամ վթարային ելանցքը փակվելուց հետո վերելակի ավտոմատ վերադարձ նորմալ աշխատանքային ռեժիմի:
195. Հոծ ծածկույթով դռներ ունեցող խցիկը պետք է ունենա խցիկի վերևի և ներքևի մասերում տեղադրված օդանցքներ:
Խցիկի վերևում և ներքևի մասում գտնվող օդանցքներից յուրաքանչյուրի մակերեսը չպետք է փոքր լինի խցիկի հատակի օգտակար մակերեսի 1 տոկոսից:
Օդանցքերը պետք է լինեն այնպիսի անցքերով, որպեսզի դրանց միջով խցիկի ներսից դեպի հորան հնարավոր չլինի անցկացնել 0,01 մ տրամագիծ ունեցող ձող:
196. Խցիկը պետք է սարքավորված լինի որսիչ-բռնիչներով, որոնք պետք է բավարարեն սույն տեխնիկական կանոնակարգի 203-211-րդ կետերով նախատեսված պահանջները:
197. Խցիկը պետք է ունենա կալուններ: Կալունների կառուցվածքը պետք է բացառի որսիչներից դուրս ընկնելը և խցիկի կամայական (ինքնակամ) նստեցումը որսիչների վրա, ինչպես նաև ուղղորդիչների նկատմամբ խցիկի հորիզոնական տեղաշարժումը:
198. Վերելակի խցիկում պետք է նշված լինեն հետևյալ տվյալները`
ա) բեռնունակությունը (կգ),
բ) տեղափոխվող մարդկանց թույլատրելի թիվը,
գ) վերելակն արտադրող կազմակերպության անվանումը,
դ) գործարանային թիվը և արտադրման տարեթիվը:
ՀԱԿԱԿՇԻՌԸ ԵՎ ԽՑԻԿԻ ՀԱՎԱՍԱՐԱԿՇՌԻՉ ՍԱՐՔԵՐԸ
199. Վերելակների հակակշիռները և խցիկի հավասարակշռիչ սարքերը պետք է հաշվարկված լինեն այնպիսի բեռնվածությունների համար, որոնք առաջանում են`
ա) վերելակի աշխատանքային ռեժիմում,
բ) հակակշիռը որսիչների (երբ հակակշիռը սարքավորված է որսիչներով) և թափամեղմիչի վրա նստեցնելիս,
գ) խցիկի հավասարակշռիչ սարքերը որսիչների վրա նստեցնելիս (երբ խցիկի հավասարակշռիչ սարքերը սարքավորված են որսիչներով),
դ) խցիկը որսիչների և թափամեղմիչի վրա նստեցնելիս:
Խցիկի հավասարակշռիչ սարքը և հակակշիռը որսիչների վրա նստեցնելուց առաջացող բեռնվածությունները որոշելիս` պետք է հաշվի առնել հակակշռի և խցիկի հավասարակշռիչ սարքերի արագությունը` սույն տեխնիկական կանոնակարգի 213-րդ կետով նախատեսված պահանջներին համապատասխան:
Թափամեղմիչի վրա նստեցնելիս` հակակշռի վրա ազդող բեռնվածությունը պետք է որոշվի` ելնելով հակակշռի շարժման արագությունից` սույն տեխնիկական կանոնակարգի 232-րդ կետով նախատեսված պահանջներին համապատասխան:
Որսիչների կամ թափամեղմիչների վրա հակակշռի կամ խցիկի հավասարակշռիչ սարքերի նստեցման դեպքում ազդող բեռնվածությունը պետք է որոշվի ըստ խցիկի տեղաշարժման արագության` սույն տեխնիկական կանոնակարգի 212-րդ և 232-րդ կետերին համապատասխան:
200. Հակակշռի կամ խցիկի հավասարակշռիչ սարքերի կառուցվածքը պետք է բացառի այդ կառուցվածքի կազմում եղած բեռների ինքնակամ տեղաշարժը` ինչպես հորիզոնական, այնպես էլ ուղղահայաց հարթություններով:
201. Հակակշիռը կամ խցիկի հավասարակշռիչ սարքերը պետք է սարքավորված լինեն կալուններով: Կալունների կառուցվածքը պետք է բացառի հակակշռի (հավասարակշռիչ սարքերի)` ուղղորդիչներից դուրս ընկնելը, հակակշռի (հավասարակշռիչ սարքերի) կամայական նստեցումը որսիչների վրա, ինչպես նաև պետք է սահմանափակի հակակշռի (խցիկի հավասարակշռիչ սարքի) հորիզոնական տեղաշարժն ուղղորդիչների նկատմամբ:
202. Հակակշիռը և խցիկի հավասարակշռիչ սարքերը պետք է սարքավորված լինեն որսիչներով` սույն տեխնիկական կանոնակարգի 65-րդ կետով նախատեսված դեպքում:
ՈՐՍԻՉՆԵՐԸ
203. Վերելակների որսիչներն իրենց գործարկմամբ արագության սահմանափակիչների գործողությամբ պետք է կանգնեցնեն և պահեն դեպի ներքև ընթացող խցիկները (հակակշիռը կամ խցիկի հավասարակշռիչ սարքերը):
Վեր ընթացող խցիկի արագությունը սույն տեխնիկական կանոնակարգի 212-րդ կետով նախատեսված մեծությունը գերազանցելու դեպքում թույլատրվում է կիրառել որսիչներ` խցիկի ընթացքը դանդաղեցնելու կամ խցիկը կանգնեցնելու համար:
204. Խցիկի որսիչները, հակակշռի և խցիկի հավասարակշռիչ սարքերի որսիչները պետք է գործարկվեն` յուրաքանչյուրն իր արագության սահմանափակիչի գործողությամբ:
Թույլատրվում է մինչև 1 մ/վ արագությամբ վերելակի հակակշռի կամ խցիկի հավասարակշռիչ սարքի որսիչները գործի դնել այնպիսի սարքավորման միջոցով, որը գործարկվում է քաշող տարրերի (ճոպանի) կտրվելու կամ թուլանալու դեպքում:
205. 1 մ/վ-ից ավելի անվանական արագություն ունեցող վերելակների խցիկները պետք է սարքավորված լինեն սահուն արգելակմամբ որսիչներով:
Թույլատրվում է կիրառել`
ա) կտրուկ արգելակմամբ որսիչներ, որոնք ունեն թափամեղմման տարրեր, և եթե վերելակի արագությունը չի գերազանցում 1մ/վ-ն,
բ) կտրուկ արգելակմամբ որսիչներ, եթե վերելակի անվանական արագությունը 0,063 մ/վ-ից ավելի չէ:
Եթե խցիկը սարքավորված է մեկից ավելի որսիչներով, ապա յուրաքանչյուր ուղղորդիչի բոլոր որսիչները պետք է լինեն սահուն արգելակման տիպի:
206. 1,0 մ/վ-ից առավել արագություն ունեցող վերելակներում հակակշիռը կամ խցիկի հավասարակշռիչ սարքը, սույն տեխնիկական կանոնակարգի 65-րդ կետով նախատեսված պահանջներին համապատասխան, պետք է սարքավորված լինի սահուն արգելակման որսիչներով:
207. Որսիչները պետք է ավտոմատ կերպով վերադառնան ելման դիրքերը և պետք է նորից պատրաստ լինեն աշխատելու համար` խցիկի, հակակշռի և խցիկի հավասարակշռիչ սարքերի վեր բարձրանալուց անմիջապես հետո, որոնք կանգնեցվել էին հենց իրենց` որսիչների գործողությամբ:
208. Որսիչների վրա խցիկի նստեցման ժամանակ խցիկի շարժման դանդաղեցման միջին մեծությունը պետք է լինի`
ա) 9,81 մ/վ2 ` սահուն արգելակմամբ որսիչների համար,
բ) 25 մ/վ2 ` կտրուկ արգելակմամբ որսիչների համար:
209. Խցիկի որսիչների գործարկման հսկողության համար պետք է նախատեսված լինեն անվտանգության էլեկտրական սարքավորումներով` սույն տեխնիկական կանոնակարգի 318-րդ կետով նախատեսված պահանջներին համապատասխան, որոնք անվտանգության էլեկտրական շղթան պետք է անջատեն որսիչների գործարկման պահին կամ մինչև որսիչների գործարկումը:
210. Արգելակման ուժի կարգավորում ունեցող որսիչները պետք է կնքված լինեն արտադրող կազմակերպության կողմից:
211. Որսիչները պետք է ունենան ցուցանակ, որի վրա պետք է նշված լինեն`
ա) տվյալ որսիչն արտադրող կազմակերպության անվանումը, գտնվելու վայրը,
բ) նույնականացման համարը:
ԱՐԱԳՈՒԹՅԱՆ ՍԱՀՄԱՆԱՓԱԿԻՉԸ
212. Վերելակների խցիկների որսիչները գործարկող արագության սահմանափակիչները պետք է աշխատեն, եթե ցած իջնող խցիկի արագությունը դրա անվանական արագությունից բարձր է 15 տոկոսով և կազմում է`
ա) 0,8 մ/վ-ից ոչ ավելի` կտրուկ արգելակմամբ որսիչների համար,
բ) 1,5 մ/վ-ից ոչ ավելի` սահուն արգելակմամբ և 1,0 մ/վ-ից ոչ ավելի` անվանական արագությամբ առաձգական տարր ունեցող կտրուկ արգելակմամբ որսիչների համար,
գ) (1,25v+0,25v) մ/վ` 1,0 մ/վ անվանական արագությամբ սահուն արգելակմամբ որսիչների համար:
213. Հակակշռի որսիչները կամ խցիկի հավասարակշռիչ սարքերը գործողության մեջ դնող արագության սահմանափակիչը պետք է գործարկվի, եթե հակակշռի կամ խցիկի հավասարակշռիչ սարքի իջնելու արագությունը գերազանցում է անվանականի 15 տոկոսից ոչ պակաս և ոչ ավելի, քան խցիկի արագության սահմանափակիչի գործարկման համար սահմանված արագության վերին սահմանը 10 տոկոսով գերազանցող մեծությունը:
214. Ստուգումներ և փորձարկումներ կատարելու համար պետք է նախատեսվի խցիկի` սույն տեխնիկական կանոնակարգի 212-րդ կետում նշված արագությունից պակաս ընթացքի դեպքում արագության սահմանափակիչից որսիչները գործողության մեջ դրվելու հնարավորություն:
215. Սույն տեխնիկական կանոնակարգի 212-րդ և 213-րդ կետերում նշված խցիկի, հակակշռի կամ խցիկի հավասարակշռիչ սարքի շարժման արագությանը համապատասխանող պտտման հաճախականության դեպքում պետք է նախատեսված լինի արագության սահմանափակիչի գործարկման հնարավորություն:
216. Արագության սահմանափակիչը գործարկող ճոպանի տրամագիծը պետք է լինի 0,006 մ-ից ոչ պակաս:
217. Ճոպանի արագության սահմանափակիչի ամրության պաշարի գործակիցը, որոշված ամբողջությամբ ճոպանի խզող ուժի և որսիչների գործողության մեջ դնելու ժամանակ դրա մեջ ծագող ուժի հարաբերությամբ, պետք է լինի 8-ից ոչ պակաս:
218. Բլոկի կամ անիվի տրամագծի հարաբերությունն արագության սահմանափակիչը գործողության մեջ դնելու ճոպանի կորացման տրամագծին պետք է լինի 30-ից ոչ պակաս:
219. Արագության սահմանափակիչը գործողության մեջ դնող ճոպանը պետք է ձգվի հատուկ ձգող հարմարանքով:
220. Արագության սահմանափակիչը գործողության մեջ դնող ճոպանի կտրվելը կամ չնախատեսված ձգումը պետք է հանգեցնի անվտանգության էլեկտրական սարքավորմամբ շարժաբերի կանգնեցմանը` սույն տեխնիկական կանոնակարգի 320-րդ կետով նախատեսված պահանջներին համապատասխան:
221. Միայն ճոպանի և աշխատանքային անիվի միջև` շփման հաշվին ստեղծվող ուժով գործարկվող արագության սահմանափակիչի համար պետք է նախատեսված լինի դրանց միջև բաշխման ուժի բավարար լինելու ստուգման հնարավորությունը խցիկի` սույն տեխնիկական կանոնակարգի 212-րդ կետով նախատեսված ցածր արագությամբ շարժվելու դեպքում` որսիչները գործողության մեջ դնելու համար:
222. Արագության սահմանափակիչի վրա պետք է նշված լինի որսիչների միացմանը համապատասխանող պտտման ուղղությունը:
223. Սույն տեխնիկական կանոնակարգի 315-րդ կետի պահանջներին համապատասխան անվտանգության էլեկտրական սարքավորումներով արագության սահմանափակիչը պետք է անջատի անվտանգության շղթան` մինչև դեպի ներքև շարժվող խցիկի արագության հասնելն այն պահին, որի ժամանակ գործողության մեջ է դրվում արագության սահմանափակիչը: Վերելակների 1,0 մ/վ-ից ոչ ավելի անվանական արագության դեպքում թույլատրվում է արագության սահմանափակիչի գործողության պահին այդ սարքավորմամբ անվտանգության շղթայի անջատումը:
224. Եթե որսիչները հանելուց հետո արագության սահմանափակիչն ավտոմատ կերպով չի վերադառնում ելակետային դիրք, ապա էլեկտրական անվտանգության սարքավորումը, համաձայն սույն տեխնիկական կանոնակարգի 316-րդ կետի, պետք է արգելակի վերելակի գործարկումը` մինչև արագության սահմանափակիչը ելակետային դիրքի բերելը:
225. Թույլատրվում է արագության սահմանափակիչի տեղադրումը հորանում` հետևյալ պայմանների կատարման դեպքում`
ա) արագության սահմանափակիչը փորձարկման համար գործողության մեջ է դրվել սպասարկող անձնակազմի կողմից վերելակների հորանների դրսից մեխանիկական կամ էլեկտրական հեռակառավարմամբ` բացառությամբ մալուխայինի,
բ) խցիկի, հակակշռի կամ խցիկի հավասարակշռիչ սարքի տեղաշարժման ժամանակ արագության սահմանափակիչը գործարկումից հետո վերադառնում է ելակետային դիրքի:
226. Արագության սահմանափակիչը պետք է ունենա պիտակ, որի վրա պետք է նշված լինեն հետևյալ տվյալները`
ա) արագության սահմանափակիչ արտադրող կազմակերպության անվանումը,
բ) նույնականացման համարը,
գ) արագության սահմանափակիչի գործարկման արագությունը:
ԹԱՓԱՄԵՂՄԻՉՆԵՐԸ
227. Վերելակները պետք է սարքավորված լինեն խցիկի և հակակշռի տեղաշարժումը դեպի ներքև սահմանափակող թափամեղմիչներով: Թմբուկով կամ աստղիկով կարապիկով վերելակները պետք է լրացուցիչ սարքավորված լինեն վերելակների տեղաշարժումը դեպի վերև սահմանափակող թափամեղմիչներով:
228. Թույլատրվում է մինչև 0,3 մ/վ անվանական արագությամբ վերելակները սարքավորել կոշտ հենարաններով:
229. Էներգակուտակող թափամեղմիչների կիրառումը թույլատրվում է 1,0 մ/վ-ն չգերազանցող անվանական արագության դեպքում:
230. Առաձգական հակադարձ քայլով էներգակուտակող թափամեղմիչների կիրառումը թույլատրվում է 1,6 մ/վ-ն չգերազանցող անվանական արագության դեպքում:
231. Էներգացրող թափամեղմիչների կիրառումը թույլատրվում է վերելակների ցանկացած անվանական արագության դեպքում:
232. Թափամեղմիչները և կոշտ հենարանները պետք է հաշվարկված լինեն բեռնավորված խցիկի կամ հակակշռի վայրէջքի համար, որոնք շարժվում են`
ա) վերելակների անվանական արագությունը 15 տոկոսով գերազանցող արագությամբ (բոլոր թափամեղմիչները և հենարանները` բացառությամբ լրիվ ընթացքով փոքրացված սուզակով (պլունժեր) հիդրավլիկ թափամեղմիչի),
բ) վերելակների փոքրացված հաշվարկային արագությունը 15 տոկոսով գերազանցող արագությամբ (լրիվ ընթացքով փոքրացված սուզակով հիդրավլիկ թափամեղմիչը):
Միաժամանակ բեռների զանգվածը 25 տոկոսով պետք է գերազանցի վերելակների անվանական բեռնունակությունը:
233. Գծային բնութագրերով էներգակուտակող թափամեղմիչների լրիվ քայլը որոշվում է 3-րդ բանաձևով`
| S = | (1,15ν)2 | =0,1348ν2, |
(3) |
|
| |||
|
gn |
որտեղ`
S-ն թափամեղմիչի լրիվ քայլն է (մ),
v -ն վերելակի խցիկի անվանական արագությունն է (մ/վ),
gn -ն ազատ անկման արագացումն է (9,81 մ/վ2 ):
Թափամեղմիչի լրիվ քայլը պետք է լինի 0,06 մմ-ից ոչ պակաս:
234. Ոչ գծային բնութագրերով և առաձգական հակադարձ քայլով էներգակուտակող թափամեղմիչները պետք է բավարարեն հետևյալ պահանջները`
ա) անվանական արագության 115 տոկոսին հավասար արագությամբ շարժվող անվանական բեռնվածությամբ խցիկի թափամեղմիչի վրա վայրէջքի ժամանակ դանդաղեցման միջին մեծությունը չպետք է գերազանցի 9,81 մ/վ2 -ն,
բ) 25,0 մ/վ2 -ն գերազանցող արագացման ազդեցության ժամանակի դանդաղեցումը չպետք է լինի 0,04 վ-ից ավելի:
235. Գծային բնութագրերով էներգացրող թափամեղմիչների լրիվ քայլը որոշվում է 4-րդ բանաձևով`
| S = | (1,15ν)2 | =0,0674ν2, |
(4) |
|
| |||
|
2gn |
որտեղ`
S-ն թափամեղմիչի լրիվ քայլն է (մ),
v -ն վերելակի խցիկի անվանական արագությունն է (մ/վ),
gn -ն ազատ անկման արագացումն է (9,81 մ/վ2 ):
Եթե վերին և ներքին հարկի հարթակներին վերելակի մոտեցման դանդաղեցումը հսկվում է համաձայն սույն տեխնիկական կանոնակարգի 282-րդ կետի, ապա անվանական արագության փոխարեն լրիվ ընթացքի հաշվարկման ժամանակ կարելի է օգտագործել խցիկի (կամ հակակշռի) թափամեղմիչին հպվելու արագությունը:
Միաժամանակ այդպիսի թափամեղմիչների լրիվ ընթացքը պետք է լինի`
ա) լրիվ ընթացքի 50 տոկոսից ոչ պակաս, եթե անվանական արագությունը կազմում է 4,0 մ/վ-ից ոչ ավելի, բայց 0,42 մ-ից ոչ պակաս,
բ) լրիվ ընթացքի 33 տոկոսից ոչ պակաս, եթե անվանական արագությունը 4,0 մ/վ-ից ավելի է, բայց 0,54 մ-ից ոչ պակաս:
236. Էներգացրող թափամեղմիչները պետք է բավարարեն հետևյալ պահանջները`
ա) անվանական արագության 115 տոկոսին հավասար արագությամբ անվանական բեռնվածությամբ խցիկի թափամեղմիչի վրա վայրէջքի ժամանակ ազատ անկման դանդաղեցման միջին մեծությունը չպետք է գերազանցի 9,81 մ/վ2-ն,
բ) 25,0 մ/վ2-ն գերազանցող դանդաղեցման արագացման ազդեցության ժամանակը պետք է լինի 0,04 վ-ից ոչ ավելի:
237. Էներգացրող թափամեղմիչի ծանրաբեռնվածությունը հանելուց հետո այն ավտոմատ կերպով պետք է վերադառնա ելակետային դիրք: Թափամեղմիչի վերադարձը ելակետային դիրք պետք է հսկվի անվտանգության էլեկտրական սարքավորմամբ` համաձայն սույն տեխնիկական կանոնակարգի 324-րդ կետի:
238. Հիդրավլիկ թափամեղմիչում պետք է նախատեսված լինի հեղուկի մակարդակը հսկելու հնարավորություն:
239. Խցիկը կամ հակակշիռը սույն տեխնիկական կանոնակարգի 205-րդ կետի «ա» ենթակետի համաձայն որսիչներով սարքավորված լինելու դեպքում որսիչների մեղմիչային սարքավորումները կարող են օգտագործվել թափամեղմիչների փոխարեն` համաձայն սույն տեխնիկական կանոնակարգի 227-րդ կետի: Այդ դեպքում հորանի ներքևի մասում պետք է տեղադրվեն կոշտ հենարաններ, որոնք պետք է համագործակցեն խցիկի (հակակշռի) կարկասի հետ:
240. Թափամեղմիչները, բացառությամբ էներգակուտակող թափամեղմիչների, պետք է ունենան պիտակ` հետևյալ տվյալներով`
ա) թափամեղմիչն արտադրող կազմակերպության անվանումը կամ ապրանքային նշանը, գտնվելու վայրը,
բ) նույնականացման համարը:
ՁԳՈՂ ՏԱՐՐԵՐԸ ԵՎ ԿԱԽՈՑՆԵՐԸ
241. Խցիկը, հակակշիռը կամ խցիկի հավասարակշռիչ սարքը պետք է կախված լինեն պողպատյա լարային ճոպաններից կամ ձգող թիթեղավոր կամ հոլովակային շղթաներից: Թույլատրվում է այլ ձգող տարրերի կիրառումը` այն պայմանով, որ դրանք ապահովեն անվտանգության այնպիսի մակարդակ, այդ թվում` պողպատյա ճոպանների ամրության պաշարի գործակից, որը լինի ոչ ցածր` պողպատյա ճոպանների կամ շղթաների օգտագործման դեպքում:
242. Խցիկը հակակշռին միացնող` ձգող տարրերը պետք է լինեն միևնույն կառուցվածքի, ունենան միևնույն չափերը և բնութագրերը:
243. Վերելակներում կիրառվող` ձգող տարրերը պետք է ունենան դրա որակը հաստատող փաստաթուղթ: Չի թույլատրվում ձգող տարրերի սերտակցում:
244. Ձգող տարրերի թիվը պետք լինի 2-ից ոչ պակաս:
245. Բազմաճախարակային կախոցի մի ձգող տարրի բոլոր ճյուղերը հաշվվում են որպես մի ձգող տարր:
246. Շահագործման մեջ գտնվող պողպատյա ճոպանների խոտանման նորմերը պետք է տրված լինեն վերելակների շահագործման հրահանգներում:
ՃՈՊԱՆՆԵՐԸ
247. Պողպատյա լարային ձգող ճոպանների անվանական տրամագիծը պետք է լինի 0,008 մ-ից ոչ պակաս:
248. Փոկանիվների, բլոկների և թմբուկների տրամագծի ու ձգող ճոպանների անվանական տրամագծի հարաբերությունը պետք է լինի 40-ից ոչ պակաս:
249. Ձգող ճոպանների ամրության պաշարի գործակիցը պետք է լինի`
ա) 12-ից ոչ պակաս` ճոպանատար փոկանիվով կամ շփման թմբուկով 3 և ավելի ճոպաններ ունեցող կարապիկների համար,
բ) 16-ից ոչ պակաս` ճոպանատար փոկանիվով կամ շփման թմբուկով 3 ճոպանով կարապիկների համար,
գ) 12-ից ոչ պակաս` թմբուկավոր կարապիկների համար:
Ամրության պաշարի գործակիցը որոշվում է 5-րդ բանաձևով`
| K = |
P |
(5) |
|
| ||
|
S |
որտեղ`
P-ն ճոպանի կտրման ուժն է,
S-ն ճոպանի վրա ազդող առավելագույն բեռնվածությունն է` անվանական բեռնվածությամբ խցիկի ներքևի հարկի հարթակում գտնվելու դեպքում:
250. Ճոպանների ծայրերի ամրակցումը դրանց խցիկին, հակակշռին կամ խցիկի հավասարակշռիչ սարքին կամ անշարժ ճյուղի կախոցի կետերին ամրացնելու ժամանակ պետք է դիմանան ճոպանի կտրման ուժին` 80 տոկոսից ոչ պակաս:
251. Ճոպանը թմբուկին պետք է ամրացվի սեպավորման միջոցով կամ օգտագործելով ոչ պակաս 2 սեղմաձող կամ անվտանգության համարժեք մակարդակ ապահովող այլ ցանկացած միջոց: Լրիվ սեղմված թափամեղմիչի կամ հենարանի վրա խցիկի գտնվելու ժամանակ թմբուկի վրա յուրաքանչյուր ճոպանից պետք է մնա մեկուկես պահուստային ճյուղերից ոչ պակաս` չհաշված սեղմաձողերի տակ գտնվող ճյուղերը:
252. Ձգող շղթաների ամրացման պաշարի գործակիցը պետք է լինի 10-ից ոչ պակաս: Ամրության պաշարի գործակիցը որոշվում է սույն տեխնիկական կանոնակարգի 249-րդ կետով նախատեսված բանաձևով:
253. Ձգող տարրերի միջև բեռնվածության բաշխումն ապահովելու համար`
1) առանձին ձգող տարրերի միջև ձգման տարբերությունը փոքրացնելու համար պետք է նախատեսվի ավտոմատ սարքավորում: Առանձին ձգող շղթաների միջև ձգման տարբերությունը փոքրացնելու համար` նշված սարքավորումը պետք է տեղադրվի` ինչպես խցիկի կողմից, այնպես էլ հավասարակշռող բեռի կողմից,
2) առանձին ձգող տարրերի միջև ձգման տարբերությունը փոքրացնելու համար, որպես սարքավորում, թույլատրվում է կիրառել սեղմման զսպանակները,
3) անվտանգության էլեկտրական սարքավորումը, համաձայն սույն տեխնիկական կանոնակարգի 319-րդ կետի, պետք է անջատի անվտանգության շղթան` սույն կետի 1-ին ենթակետով նախատեսված սարքավորմամբ թույլատրվող մեծությունից ավելի ձգող տարրերի հարաբերական տեղաշարժման (թուլացման), ինչպես նաև մեկ, մի քանի ու բոլոր ձգող տարրերի կտրման դեպքերում:
254. Հավասարակշռող ճոպանների տեղաշարժումը պետք է բավարարի հետևյալ պայմանները`
ա) պետք է կիրառվի բլոկով (բլոկներով) ձգող հարմարանք (հարմարանքներ),
բ) ձգող հարմարանքի, բլոկի տրամագծի և հավասարակշռող ճոպանի տրամագծի հարաբերությունը պետք է լինի 30-ից ոչ պակաս,
գ) պետք է ապահովվի ձգումը ծանրության ուժով և հսկվի, համաձայն սույն տեխնիկական կանոնակարգի 321-րդ կետի, անվտանգության էլեկտրական սարքավորմամբ:
Վերելակները, որոնց անվանական արագությունը գերազանցում է 3,5 մ/վ-ն, ի լրումն նշված պահանջների, պետք է սարքավորված լինեն հավասարակշռող ճոպանների ձգվածությունը սահմանափակող սարքավորումներով:
Այդ սարքավորումների գործարկումը պետք է հանգեցնի անվտանգության էլեկտրական սարքավորմամբ անվտանգության շղթայի անջատմանը` համաձայն սույն տեխնիկական կանոնակարգի 321-րդ կետի:
255. Կողմնատար բլոկները և աստղիկները պետք է ունենան արգելափակում` կանխարգելելու համար`
ա) սպասարկող անձնակազմի վնասվածքներ ստանալը,
բ) բլոկներից և աստղիկներից ձգող տարրեր ընկնելը,
գ) բլոկների կամ աստղիկների և ձգող տարրերի միջև առարկաներ ընկնելը:
Արգելափակող կառուցվածքը պետք է նախատեսվի այնպես, որպեսզի առանց այն քանդելու հնարավոր լինի կատարել բլոկի և աստղիկների զննման աշխատանքներ:
Եթե արգելափակող կառուցվածքում կան ճեղքեր, ապա դրանք պետք է համապատասխանեն սույն տեխնիկական կանոնակարգի N 1 աղյուսակով նախատեսված պահանջներին:
ՎԵՐԵԼԱԿՆԵՐԻ ԷԼԵԿՏՐԱՍԱՐՔԱՎՈՐՈՒՄԸ
256. Վերելակի էլեկտրասարքավորումների ու էլեկտրահաղորդալարերի տեխնիկական բնութագրերը և դրանց կառուցվածքը պետք է համապատասխանեն վերելակի պարամետրերին` ըստ սնող ցանցի լարման ու հաճախականության, հոսանքային բեռնվածության, հուսալիության, ինչպես նաև դրա շահագործման, պահման և տեղափոխման պայմանների:
257. Վերելակները պետք է սարքավորված լինեն ձեռքի հաղորդակով (ներանցման սարք, ավտոմատ անջատիչ և ձեռքի հաղորդակով նմանատիպ սարքավորումներ), որը պետք է անջատի բոլոր էլեկտրական շղթաների էլեկտրասնուցումը` բացառությամբ սույն տեխնիկական կանոնակարգի 259-րդ կետով նախատեսված էլեկտրական շղթաների:
258. Սույն տեխնիկական կանոնակարգի 257-րդ կետով նախատեսված ձեռքի հաղորդակը (այսուհետ` հարմարանք) տեղադրվում է մեքենայական սրահում, իսկ մեքենայական սրահի բացակայության դեպքում`
ա) կառավարման սարքավորումների պահարանում, եթե այդ պահարանը տեղադրված չէ հորանում,
բ) վերելակների կառավարման սարքավորումների մոտ` սույն տեխնիկական կանոնակարգի 122-րդ կետով նախատեսված ուղևորների տարահանման ժամանակ կառավարման սարքերի պահարանի հորանում տեղադրված լինելու դեպքում:
259. Հարմարանքը չպետք է անջատի հետևյալ էլեկտրական շղթաները`
ա) տեղադրված սարքավորումների շինությունների լուսավորության,
բ) հորանի լուսավորության,
գ) խցիկի լուսավորության,
դ) խցիկի առաստաղի, տակի, գետնախորշի և մեքենայական սրահի շինություններում գտնվող` սույն տեխնիկական կանոնակարգի 338-րդ կետով նախատեսված վարդակների,
ե) խցիկի օդափոխության,
զ) խցիկից երկկողմանի խոսակցական կապի,
է) վթարային ազդանշանի,
ը) խցիկից` սպասարկող անձնակազմի կանչի:
Այդ դեպքում սույն կետի «ա» ենթակետից մինչև «դ» ենթակետը ներառյալ` նշված էլեկտրական շղթաների անջատման համար պետք է նախատեսված լինեն առանձին անջատիչներ:
Մի քանի վերելակների մեքենայական ընդհանուր սրահում յուրաքանչյուր վերելակի համար պետք է նախատեսված լինի խցիկի` լուսավորման շղթայի իր անջատիչը:
Հորանի լուսավորության էլեկտրական շղթայի անջատիչները պետք է գտնվեն հորանում և (կամ) սույն տեխնիկական կանոնակարգի 257-րդ կետով նախատեսված հարմարանքի կողքին:
Խցիկի և դրա օդափոխության, խցիկից` սպասարկող անձնակազմի կանչի, խցիկից երկկողմանի խոսակցական կապի, վերանորոգման կապի, ինչպես նաև վարդակների սնման և վթարային ազդանշանի շղթաները թույլատրվում է միացնել սույն տեխնիկական կանոնակարգի 257-րդ կետով նախատեսված հարմարանքից հետո, եթե նախատեսված են ուժային և կառավարման շղթաների անջատման լրացուցիչ անջատիչներ: Այդ դեպքում սույն տեխնիկական կանոնակարգի 257-րդ կետով նախատեսված հարմարանքը չպետք է սարքավորված լինի հեռակառավարմամբ անջատվող շարժաբերով:
260. Ընդհանուր մեքենայական սրահում մի քանի վերելակների սարքավորումների տեղադրման դեպքում այդ սրահում պետք է նախատեսվի 2-ից ոչ պակաս սնող գծերի ներանցում:
261. Վերելակների էլեկտրասարքավորումները տարբեր շինություններում տեղադրելու դեպքում պետք է նախատեսված լինեն ոչ ինքնավերադարձող հարմարանքներ` վերելակներն այդ սրահներից յուրաքանչյուրում անջատելու համար:
262. Հարկի հարթակներից մեկի վրա թույլատրվում է տեղադրել անջատիչ` սնող ուժային շղթաների և (կամ) կառավարման շղթաների հեռակառավարմամբ անջատման համար` սույն տեխնիկական կանոնակարգի 257-րդ կետով նախատեսված հարմարանքը միացված լինելու դեպքում` պետք է բացառվի խցիկում գտնվող մարդկանց կողմից դրա անջատման հնարավորությունը: Պետք է բացառվի կողմնակի անձանց հասանելիությունն այդ հարմարանքին:
263. Ուժային էլեկտրական շղթաների լարումը պետք է լինի`
ա) 660 Վ-ից ոչ ավելի` մեքենայական սրահում,
բ) 415 Վ-ից ոչ ավելի` 50 Հց հաճախականությամբ փոփոխական հոսանքի, 440 Վ-ից ոչ ավելի` 60 Հց հաճախականությամբ փոփոխական հոսանքի և 460 Վ-ից ոչ ավելի` հաստատուն (ուղղված) հոսանքի համար` վերելակների խցիկներում, հորանում և նստեցման հարթակների վրա:
Կառավարման, լուսավորության, բացառությամբ շարժական լամպերի, և ազդանշանային շղթաների լարումները պետք է լինեն 24 Վ-ից ոչ ավելի:
264. Շարժական լամպերի լարումը պետք է լինի 42 Վ-ից ոչ ավելի: Լարումն իջեցնելու նպատակով ավտոտրանսֆորմատորների օգտագործում չի թույլատրվում: Շարժական լամպերը պետք է ունենան մեխանիկական ազդեցություններից պաշտպանության պատյան:
265. Կառավարման, վերանորոգման գործիքների միացման, լուսավորության և ազդանշանային շղթաների սնման համար թույլատրվում է օգտագործել խուլ հողակցված չեզոք հոսանքի աղբյուրի շղթայի ֆազեր և զրոյական հաղորդալարեր (ֆազային լարմամբ միացում):
266. Շղթաները, որոնց կազմի մեջ մտնում են անվտանգության էլեկտրական սարքավորումները, ֆազային լարում միացնելու դեպքում էլեկտրամագնիսական ապարատների (հպարկիչներ, գործարկիչներ, ռելե և այլն) փաթույթների արտանցիչների և զրոյական հաղորդալարերի միջև անվտանգության էլեկտրական սարքավորումների հպակներ չպետք է լինեն:
267. Ցածրացնող տրանսֆորմատորից փոփոխական հոսանքով անվտանգության էլեկտրական սարքավորում ունեցող շղթաների սնման դեպքում տրանսֆորմատորի երկրորդային փաթույթի ելքերից մեկը պետք է հողակցվի: Այդ շղթաներում էլեկտրամագնիսական սարքավորումների փաթույթների արտանցիչների և տրանսֆորմատորի հողակցված արտանցիչի միջև անվտանգության էլեկտրական սարքավորումների հպակներ չպետք է լինեն:
268. Իջեցնող տրանսֆորմատորից ուղղիչ սարքավորման միջոցով շղթաների սնման դեպքում, որոնց կազմի մեջ մտնում են անվտանգության էլեկտրական սարքավորումներ, ուղղիչ սարքավորման բևեռներից մեկը` ուղղված լարման ուղղության վրա, պետք է հողակցված լինի: Այդ դեպքում կառավարման շղթայի էլեկտրամագնիսական ապարատների փաթույթների արտանցիչների և հողակցված բևեռի միջև անվտանգության էլեկտրական սարքավորումների հպակներ չպետք է լինեն: Այդ դեպքում չի թույլատրվում իջեցնող տրանսֆորմատորի երկրորդային փաթույթի հողակցում:
269. Հողակցող (զրոյացնող) հաղորդիչներում ապահովիչների, հպակների և այլ անջատող տարրերի, այդ թվում` առանց հպակների, տեղակայում չի թույլատրվում:
270. Սույն տեխնիկական կանոնակարգի 257-րդ կետով նախատեսված հարմարանքների հոսանքատար մասերը, հորանում, սարքավորումների տեղադրման շինություններում տեղակայված անջատիչների էլեկտրական շղթաներն անջատող հեռակառավարմամբ անջատիչների հոսանքատար մասերը պետք է պաշտպանված լինեն պատահական հպումից, եթե դրանց լարումը մեծ է 42 Վ-ից` փոփոխական հոսանքի և 60 Վ-ից` հաստատուն հոսանքի համար:
271. Հողի կամ մետաղյա կառուցվածքների հետ անվտանգության էլեկտրական սարքավորումներ ունեցող էլեկտրական շղթայի միացման դեպքում (կարճ միացում) վերելակները պետք է կանգ առնեն:
Նորմալ աշխատանքային ռեժիմին վերադառնալը չպետք է կատարվի ավտոմատ:
ԷԼԵԿՏՐԱՀԱՂՈՐԴԱԿԸ
272. Վերելակների էլեկտրահաղորդակները պետք է բավարարեն հետևյալ պահանջները`
ա) արգելակի (էլեկտրամագնիսի և այլ) էլեկտրահաղորդակի հոսանքատար մասերի պատյանի վրա կարճ միացումը չպետք է հանգեցնի այդ էլեկտրահաղորդակի միացմանը և վերելակի կանգնման դեպքում մեխանիկական արգելակի հանմանը և չպետք է խանգարի էլեկտրաշարժիչի անջատումից հետո մեխանիկական արգելակի կիրառմանը,
բ) 0,63 մ/վ-ից ավելի անվանական արագություն ունեցող վերելակների համար պետք է նախատեսված լինի 0,4 մ/վ-ից ոչ ավելի նվազեցված արագությամբ խցիկի շարժման հնարավորությունը` հաշվի առնելով սույն տեխնիկական կանոնակարգի 288-րդ կետով նախատեսված պահանջները:
273. Էլեկտրաշարժիչի ցանցից անմիջական սնվող փոփոխական հոսանքի էլեկտրահաղորդակի`
ա) մեխանիկական արգելակի հանելը պետք է կատարվի էլեկտրաշարժիչի միացման հետ միաժամանակ կամ միացումից հետո,
բ) էլեկտրաշարժիչի անջատումը պետք է ուղեկցվի մեխանիկական արգելակի կիրառմամբ,
գ) էլեկտրաշարժիչի հոսանքի գլխավոր շղթան պետք է անջատվի երկու անկախ էլեկտրամագնիսական ապարատներով, որոնցից մեկը կարող է լինել ծայրային անջատիչ,
դ) չշարժվող վերելակների դեպքում էլեկտրամագնիսական ապարատներից որևէ մեկը, եթե չի անջատել հոսանքի գլխավոր շղթայում հպակները, ապա պետք է դադարեցնի վերելակների շարժման ուղղության հաջորդ փոփոխությունից ոչ ուշ հետագա շարժման հնարավորությունը:
274. Փոփոխական հոսանքի հաղորդակը կարապիկի էլեկտրաշարժիչից սնման դեպքում կառավարող կերպափոխիչով պետք է բավարարի հետևյալ պահանջները`
ա) մեխանիկական արգելակից պետք է հանվի միայն կարապիկի էլեկտրաշարժիչի հոսանքի այնպիսի մեծության դեպքում, որը կապահովի խցիկները պահելու համար անհրաժեշտ մոմենտը,
բ) էլեկտրաշարժիչի անջատումը պետք է ուղեկցվի մեխանիկական արգելակի կիրառմամբ,
գ) էլեկտրաշարժիչի հոսանքի գլխավոր շղթան պետք է ընդհատվի երկու անկախ էլեկտրամագնիսական սարքերով,
դ) էլեկտրաշարժիչի անջատումը պետք է տեղի ունենա կերպափոխիչի անսարքության դեպքում, երբ կերպափոխիչն էներգիայի հոսքը բաց չի թողնում գործարկման, սահմանված արագության և արգելակման ժամանակ, կամ եթե վերելակի կանգի ժամանակ, էներգիայի հոսքը դեպի էլեկտրաշարժիչ չի դադարում:
275. Հաստատուն հոսանքի էլեկտրահաղորդակը, կարապիկի էլեկտրաշարժիչը կառավարող կերպափոխիչից սնման դեպքում պետք է բավարարի հետևյալ պահանջները`
ա) մեխանիկական արգելակից հանելը պետք է տեղի ունենա միայն կարապիկի էլեկտրաշարժիչի հոսանքի այնպիսի մեծության դեպքում, որը կապահովի խցիկը պահելու համար անհրաժեշտ մոմենտը,
բ) խցիկի յուրաքանչյուր կանգ պետք է ուղեկցվի դրա մեխանիկական արգելակի կիրառմամբ,
գ) մեխանիկական արգելակի անսարքության դեպքում նստեցման հարթակի մակարդակի վրա խցիկը գտնվելու ժամանակ էլեկտրաշարժիչը և կերպափոխիչը պետք է մնան միացված վիճակում և ապահովեն վերելակի խցիկը պահելը նստեցման հարթակի մակարդակի վրա (էլեկտրական արգելակում),
դ) խցիկի շարժման ժամանակ անվտանգության անջատիչները գործելու դեպքում պետք է ապահովվի էլեկտրաշարժիչի էլեկտրական արգելակումը:
Մեխանիկական արգելակի անսարքության դեպքում պետք է նվազի էլեկտրաշարժիչի արագությունը, որի արդյունքում էլեկտրաշարժիչի մոմենտով պետք է ապահովվի խցիկի կանգը և դրա պահելը նստեցման (բեռնավորման) հարթակի մակարդակի վրա,
ե) էլեկտրաշարժիչը սնող կերպափոխիչի հեռակառավարմամբ անջատումը (եթե այդպիսին նախատեսված է կառավարման համակարգում) պետք է հնարավոր լինի միայն մեխանիկական արգելակումից հետո,
զ) էլեկտրաշարժիչի գրգռման շղթայի անջատման դեպքում պետք է ապահովվի դրա խարսխից լարման հանումը և մեխանիկական արգելակումը,
է) չի թույլատրվում էլեկտրաշարժիչի և փոխակերպիչի միջև ապահովիչների և անջատիչների միացում, եթե էլեկտրահաղորդակի համակարգով նախատեսվում է խցիկը պահելը նստեցման հարթակի մակարդակին` էլեկտրաշարժիչի մոմենտի օգնությամբ:
ԿԱՌԱՎԱՐՄԱՆ ՏԵՍԱԿՆԵՐԸ ԵՎ ՀԱՄԱԿԱՐԳԵՐԸ
276. Վերելակները կարող են ունենալ ներքին, արտաքին և խառը կառավարման տեսակներ:
277. Ավտոմատ դռներով վերելակի խցիկում կառավարման վահանակը պետք է սարքավորված լինի սեղմակոճակով, որի վրա կամ կողքին պետք է նշված լինի «Դռներ» մակագրությունը կամ համապատասխան գրաֆիկական խորհրդանիշը: «Դռներ» սեղմակոճակի սեղմումը պետք է հանգեցնի դռների բացմանը` հարկի հարթակի մակարդակի վրա խցիկն անշարժ գտնվելու դեպքում:
Թույլատրվում է «Դռներ» սեղմակոճակի փոխարեն տեղակայել «Արգելում» սեղմակոճակը, որը սեղմելը փոխում է հարկի հարթակի մակարդակի վրա խցիկն անշարժ գտնվելու դեպքում գրանցված հրահանգները և դռների փակման հրահանգը: Խցիկի շարժման ժամանակ «Արգելում» սեղմակոճակը սեղմելու դեպքում խցիկը պետք է կանգ առնի իր շարժման ուղղության վրա գտնվող մոտակա հարկի հարթակի վրա և բացի դռները:
Խցիկում չպետք է տեղադրվի «Կանգ» սեղմակոճակ:
278. Խցիկի գործարկումը և շարժումը պետք է անհնարին լինեն դրա դռների (կամ բազմափեղկ դռների դեպքում` փեղկերից մեկի) բաց լինելու դեպքում` բացառությամբ սույն տեխնիկական կանոնակարգի 141-րդ կետի 1-ին և 2-րդ ենթակետերում նախատեսվածների: Ուղևորներով խցիկի շարժումը հարկի հարթակից թույլատրվում է դռները փակվելուց 2 վ-ից ոչ պակաս ժամանակից հետո, եթե խցիկից հրահանգ չի եղել գրանցված:
279. Վերելակների կառավարման համակարգը պետք է բավարարի հետևյալ պահանջները`
ա) վերելակների հոսանքազրկման ժամանակ կարապիկների էլեկտրաշարժիչի անջատման հետ միասին ավտոմատ կերպով պետք է անջատվի կառավարման շղթան:
Էլեկտրասնուցումը վերականգնելուց հետո եզակի կառավարմամբ վերելակների խցիկների գործարկումը պետք է հնարավոր լինի միայն կառավարման նոր հրահանգ տրվելու դեպքում, իսկ խմբային կառավարմամբ վերելակների համար` կառավարման նոր հրահանգով կամ ավելի վաղ գրանցված հրահանգով: Թույլատրվում է խցիկի ավտոմատ շարժումը դեպի հարկի հարթակներից մեկը, հորանում իր համապատասխան դիրքը վերականգնելու և կառավարման համակարգը «Ստուգաճշտված ուղերթ» վիճակի բերելու համար: Այդ ժամանակ «Արգելում» սեղմակոճակի գործողությունը, դրա առկայության դեպքում, բացառվում է:
Ձեռքով բացվող-փակվող խցիկով վերելակների` խցիկում ուղևորների առկայության դեպքում խցիկի գործարկումը թույլատրվում է միայն դրա ներսից կառավարման հրահանգ տրվելուց հետո: Եթե այդպիսի վերելակները սարքավորված չեն բեռնվածության (ուղևորների առկայություն) հսկողության սարքավորմամբ, և կառավարման հրահանգը խցիկի ներսից տրված չէ 10 վ-ի ընթացքում, ապա թույլատրվում է ստուգաճշտված ուղերթի կատարումը:
Թվարկված բոլոր դեպքերում խցիկի շարժումը պետք է հնարավոր լինի միայն խցիկի փակ դռների և հորանի փակ ու կողպված դռների դեպքում,
բ) հավաքական կառավարման վերելակների դեպքում պետք է բացառվի խցիկի ներսից կամ հարկի հարթակից խցիկի ընթացքի դանդաղեցման կամ կանգի հնարավորությունն այն պահին, երբ խցիկը գտնվում է այդ հարթակից աշխատանքի դանդաղեցման ուղուց կարճ հեռավորության վրա,
գ) էլեկտրաշարժիչի անմիջական անջատումը և մեխանիկական արգելակի կիրառումն ապահովելու համար նախատեսված ապարատների հպակները, ինչպես նաև անվտանգության սարքերի հպակները պետք է աշխատեն էլեկտրական շղթայի անջատման ժամանակ,
դ) ինդուկտիվային կամ ունակային խանգարումները, որոնք ծագում են վերելակների աշխատանքի ժամանակ կամ ազդում են դրսից, չպետք է առաջացնեն անվտանգության էլեկտրական սարքավորումների խափանում:
280. Վերելակի կառավարման համակարգը, բացառությամբ հավաքական կառավարման վերելակների, խցիկի շարժումն սկսվելուց հետո մինչև տրված հրահանգի ավարտը ոչ մի նոր հրահանգ չպետք է կատարի` բացի «Կանգ» հրահանգից:
281. Անվանական 1,6 մ/վ և ավելի արագություն ունեցող վերելակների կառավարման համակարգը մինչև եզրային հարկի հարթակները պետք է ապահովի խցիկի աշխատանքը կրկնօրինակող գործողության նախնական դանդաղեցումը:
282. Սույն տեխնիկական կանոնակարգի 235-րդ կետով նախատեսված սուզակի փոքրացված ընթացքով թափամեղմիչներ ունեցող վերելակի կառավարման համակարգում պետք է նախատեսված լինի վերևի և ներքևի հարկերի հարթակներին մոտենալու դեպքում խցիկի շարժման արագությունը սահմանափակող հարմարանք: Այդ հարմարանքը պետք է նվազեցնի խցիկի շարժման արագությունը, եթե հարթակներին մոտենալու ժամանակ աշխատանքային և սույն տեխնիկական կանոնակարգի 281-րդ կետում նշված դանդաղեցումը չեն ապահովում արագության հաշվարկային իջեցումը:
Արագությունը սահմանափակող հարմարանքը պետք է`
ա) գործի աշխատանքի դանդաղեցման սարքավորումից անկախ,
բ) թափամեղմիչին հպվելու պահին իջեցնի խցիկի շարժման արագությունը` մինչև 6-րդ բանաձևով հաշվարկված մեծությունից ոչ ավելի.
| Vխ= |
Vp |
(6) |
|
| ||
|
1,15 |
որտեղ`
vխ -ն խցիկի թափամեղմիչին հպվելու արագությունն է (մ/վ),
vթ -ն արագությունն է, որի համար հաշվարկված է թափամեղմիչը (մ/վ),
գ) իջնելու պահին ապահովի դանդաղեցման 9,81 մ/վ2 -ից ոչ ավելի արագացում:
283. Խմբային կառավարման համակարգեր ունեցող վերելակների համար պետք է ապահովված լինեն`
ա) մեկ կամ մի քանի վերելակներ անջատելու հնարավորությունը` առանց խմբի մեջ մտնող մնացած վերելակների նորմալ աշխատանքը խախտելու,
բ) նորոգման նպատակով անջատված վերելակի բոլոր էլեկտրասարքավորումներից լարումը լրիվ հանելու հնարավորությունը: Եթե հնարավոր չէ լարումը հանել խմբի համար ընդհանուր սխեմայի տարրերից, որոնց հետ էլեկտրական կապ ունեն խմբի յուրաքանչյուր վերելակի մասերը, ապա 42 Վ-ից ավելի փոփոխական և 60 Վ-ից ավելի հաստատուն հոսանքների լարման տակ գտնվող հոսանքատար բաց մասերը պետք է պաշտպանված լինեն հպումներից և ունենան նախազգուշական մակագրություններ կամ պիտակներ:
284. Էլեկտրաշարժիչները պետք է պաշտպանված լինեն գերբեռնվածությունից` բոլոր սնող հոսանքալարերն անջատելու միջոցով էլեկտրաշարժիչի սնումը դադարեցնող և սկզբնական դիրք ձեռքով վերադարձնող հարմարանքով:
285. Էլեկտրաշարժիչի անջատումը, մեխանիկական արգելակի կիրառումը և խցիկի կանգը պետք է տեղի ունենան հետևյալ դեպքերում`
ա) էլեկտրաշարժիչի ջերմային գերբեռնվածության ժամանակ: Մեխանիկական արգելակումը և խցիկի կանգը պետք է կատարվեն խցիկի շարժման ուղղությամբ ամենամոտ հարկի հարթակի վրա կամ վերելակի կառավարման հրահանգի կատարումից հետո: Թույլատրվում է շահագործման նորմալ ռեժիմին ավտոմատ վերադարձ միայն ջերմաստիճանի աշխատանքային մակարդակին դրա իջնելուց հետո,
բ) ուժային և անվտանգության շղթաներում կարճ միացման ժամանակ,
գ) հաստատուն հոսանքի շարժիչում գրգռման անհայտացման դեպքում,
դ) անվտանգության էլեկտրական սարքավորումների գործարկումը, բացառությամբ սույն տեխնիկական կանոնակարգի 286-րդ, 289-րդ, 308-310-րդ և 316-րդ կետերում, ինչպես նաև սույն տեխնիկական կանոնակարգի 304-րդ կետում նախատեսված դեպքերի:
Եթե շարժիչի փաթույթները սնվում են առանձին էլեկտրական շղթաներից, ապա սույն կետի «ա» և «բ» ենթակետերի պահանջները պետք է վերաբերեն այդ փաթույթներից յուրաքանչյուրին:
Հաստատուն հոսանքի գեներատորից սնվող վերելակների շարժիչները պետք է պաշտպանված լինեն գերբեռնվածությունից:
286. Թույլատրվում է խցիկի շարժումը էլեկտրաշարժիչի օգնությամբ ծայրային անջատիչի, անվտանգության էլեկտրական սարքավորումների, անջատման էլեկտրական սարքի, խզման և ճոպանների տեղաշարժի (թուլացման) հետ կապված ձգող տարրերի հսկիչ որսիչների, թափամեղմիչների, արագության սահմանափակիչների և հպակի (հպակների) անվտանգության այդ սարքավորումների հատուկ անջատիչ (փոխանջատիչ) սարքերի շունտավորման հպակների գործարկումից հետո: Այդ դեպքում կառավարումը պետք է իրականացվի միայն մեքենայական սրահից կամ սույն տեխնիկական կանոնակարգի 122-րդ կետում նախատեսված կառավարման սարքավորումից: Այդ դեպքում պետք է բացառվի մեքենայական սրահից կամ սույն տեխնիկական կանոնակարգի 122-րդ կետում նախատեսված սարքավորումներից դուրս տեղադրված ապարատներից ստացվող կառավարման հրահանգների (բացառությամբ «Կանգ» սեղմակոճակից տրվող հրահանգի) գործողությունները:
Խցիկը պետք է տեղաշարժվի միայն ինքնավերադարձ ապարատի գործողությունների կառավարման «Վերև» կամ «Ներքև» կոճակի սեղմման դեպքում: Թույլատրվում է խցիկի շարժումն անվանական արագությամբ:
287. Մեքենայական սրահ ունեցող վերելակները պետք է ունենան այդ սրահից կառավարման սարքավորումներ: Մեքենայական սրահից կառավարման դեպքերում`
ա) պետք է բացառվի մեքենայական սրահից դուրս գտնվող կառավարման սարքավորումներից տրված հրահանգների կատարումը` բացի «Կանգ» հրահանգից: Այդ դեպքում թույլատրվում է անջատել նաև բեռնավորման հարթակներում տեղակայված «Կանգ» սեղմակոճակները.
բ) պետք է կանխվի հորանի դռների ավտոմատ փականների վրա շարժական փոխարկիչի ազդեցությունը` այն վերելակների համար, որոնք սարքավորված են այդպիսի փոխարկիչներով.
գ) պետք է բացառվի հորանի և խցիկի դռների ավտոմատ կերպով բացվելը.
դ) պետք է միացված լինի «Զբաղված է» ազդանշանը` այդպիսի ազդանշանով սարքավորված վերելակներում:
Մեքենայական սրահից կառավարման դեպքում խցիկի գործարկումը և դրա շարժումը պետք է հնարավոր լինեն միայն անվտանգության էլեկտրական սարքավորումների հպակները միացված լինելու դեպքում:
Մեքենայական սրահից կառավարելու համար պետք է օգտագործվեն խցիկը դեպի «Վերև» ու «Ներքև» գործարկման, ինչպես նաև «Կանգ» սեղմակոճակները:
Մեքենայական սրահից կառավարելու դեպքում վերելակի խցիկը պետք է ավտոմատ կերպով կանգ առնի ներքին և վերին նստեցման (բեռնավորման) հարթակների մակարդակներում:
Յուրաքանչյուր կանգից հետո խցիկը պետք է գործարկվի միայն նոր տրվող կառավարման հրահանգի դեպքում: Սույն կետի պահանջները տարածվում են նաև մեքենայական սրահ չունեցող կառավարման սարքավորումներից ղեկավարվող փոքր բեռնատար վերելակների վրա:
288. Վերելակները, բացի փոքր բեռնատար և հարթակային (մայթային) վերելակներից, պետք է ունենան խցիկի տանիքից կառավարման հնարավորություն («Ստուգում» ռեժիմ):
Խցիկի տանիքից կառավարման դեպքում դրա շարժման արագությունը պետք է լինի 0,63 մ/վ-ից ոչ ավելի:
Վերելակը պետք է կառավարվի միայն խցիկի «Վերև» ու «Ներքև» ընթացքների սեղմակոճակներով սարքավորված հարմարանքով: Տանիքից կառավարման դեպքում խցիկի շարժումը պետք է հնարավոր լինի`
ա) միայն սեղմակոճակները սեղմած պահելու ժամանակ,
բ) անվտանգության անջատիչների միակցված հպակների (փակ շղթայի) դեպքում,
գ) վերելակի խցիկում, մեքենայական սրահում և նստեցման (բեռնավորման) հարթակներում տեղակայված կառավարման սեղմակոճակային սարքավորումներից ստացվող բոլոր հրահանգների կատարումը բացառվելու դեպքում` բացառությամբ «Կանգ» սեղմակոճակի: Այդ դեպքում թույլատրվում է անջատել նաև բեռնավորման հարթակներում տեղակայված «Կանգ» սեղմակոճակը,
դ) շարժական փոխարկիչով սարքավորված վերելակների հորանի դռների փականների վրա այդպիսի փոխարկիչի ազդեցությունը կանխելու դեպքում,
ե) հորանի և խցիկի դռների ավտոմատ բացվելը բացառելու դեպքում,
զ) «Զբաղված է» ազդանշանի միացված լինելու դեպքում` այն վերելակների համար, որոնք սարքավորված են այդպիսի հարմարանքով:
289. Հորանի ավտոմատ բացվող դռներով վերելակի խցիկի էլեկտրաշարժիչի օգնությամբ «Ստուգում» ռեժիմով տեղաշարժում թույլատրվում է հորանի և խցիկի դռների ավտոմատ փակման անջատիչների հպակները հատուկ սարքավորման հպակով շունտավորելու դեպքում: Այդ դեպքում պետք է կատարվեն սույն տեխնիկական կանոնակարգի 288-րդ կետով նախատեսված պայմանները` ներառյալ հետևյալ լրացումները`
ա) խցիկի տանիքին պետք է տեղակայված լինի լրացուցիչ սեղմակոճակ: Կառավարումը պետք է կատարվի միայն խցիկի տանիքից` լրացուցիչ և «Ստուգում» սեղմակոճակների վրա միաժամանակ ազդելու դեպքում,
բ) խցիկի շարժման արագությունը չպետք է լինի 0,4 մ/վ-ից ավելի:
290. Խցիկը պետք է սարքավորված լինի հարմարանքով, որը հսկում է դրա գերբեռնվածությունը և կանխում խցիկի շարժումը դրա մեջ 10 տոկոսով անվանական բեռնունակությունը գերազանցող, բայց 75 կգ-ից ոչ պակաս բեռի առկայությունը: Այդ դեպքում պետք է միանա «Վերելակը գերբեռնված է» ազդանշանը: Գերբեռնվածության դեպքում վերելակների ավտոմատ դռները պետք է բաց մնան, ձեռքով բացվող դռները պետք է մնան չփակված: Գերբեռնվածության ազդանշանը պետք է լինի ձայնային և (կամ) լուսային ազդանշանային սարքավորման տեսքով` «Վերելակը գերբեռնված է» նշագրմամբ կամ համապատասխան գրաֆիկական խորհրդանիշով: Թույլատրվում է նշված նշագրումը կամ խորհրդանիշը տեղակայել լուսային ազդանշանի կողքին:
291. Խցիկը և խցիկի տանիքը պետք է ապահովված լինեն սպասարկող անձնակազմի գտնվելու վայրի հետ երկկողմանի խոսակցական կապով:
292. Մեքենայական սրահը վերին դիրքում տեղակայված լինելու դեպքում մեքենայական սրահի և խցիկի, մեքենայական սրահի և ներքին հարկի հարթակի կամ գետնախորշի, իսկ մեքենայական սրահը ներքևում տեղակայված լինելու դեպքում` մեքենայական սրահի և խցիկի, մեքենայական և բլոկային սրահների միջև պետք է նախատեսված լինի վերանորոգման հեռախոսային կամ այլ երկկողմանի կապի իրականացման հնարավորություն:
293. Ճոպանատար փոկանիվով կամ շփման թմբուկով կարապիկով սարքավորված վերելակի ղեկավարման համակարգը պետք է անջատի հաղորդակը, եթե`
ա) գործարկման հրահանգ տալուց հետո խցիկը շարժման մեջ չի դրվում,
բ) շարժման ընթացքում խցիկը կամ հակակշիռը կանգնեցվել է, որն առաջացրել է ձգող տարրերի սահք` ճոպանատար փոկանիվի կամ թմբուկի վրա, 45 վ-ի կամ խցիկի ամբողջ ճանապարհն անցնելու համար անհրաժեշտ 10 վ-ից ավելի, բայց 20 վ-ից ոչ պակաս ժամանակի ընթացքում:
Նորմալ աշխատանքային ռեժիմին վերադառնալը չպետք է կատարվի ավտոմատ:
294. Թույլատրվում է հարկերի հարթակներից մեկի վրա տեղադրել ձեռքով գործարկվող փոխանջատիչներ` սպասարկող անձնակազմի կողմից վերելակի աշխատանքային ռեժիմը փոխելու համար: Այդ հարմարանքները պետք է անհասանելի լինեն կողմնակի անձանց համար:
295. Վերելակները պետք է սարքավորված լինեն նորմալ աշխատանքային ռեժիմում հորանի դռները չնախատեսված բացվելու դեպքում անվտանգության շղթան անջատելու հարմարանքներով: Նորմալ աշխատանքային ռեժիմին վերադառնալը չպետք է կատարվի ավտոմատ:
ԱՆՎՏԱՆԳՈՒԹՅԱՆ ԷԼԵԿՏՐԱԿԱՆ ՍԱՐՔԱՎՈՐՈՒՄՆԵՐԸ ԵՎ ՇՂԹԱՆԵՐԸ
296. Անվտանգության էլեկտրական սարքավորումների գործարկումը պետք է կանխարգելի գլխավոր հաղորդակի էլեկտրաշարժիչի գործարկումը կամ պետք է առաջացնի դրա կանգը:
Անվտանգության էլեկտրական սարքավորումները պետք է գտնվեն անվտանգության շղթայում` բացառությամբ էլեկտրաշարժիչի գլխավոր հոսանքի շղթայում գործող ծայրային անջատիչի:
297. Անվտանգության էլեկտրական սարքավորումների կազմի մեջ կարող են մտնել`
1) սույն տեխնիկական կանոնակարգի 300-րդ կետի պահանջներին համապատասխանող ու վերելակների գլխավոր հաղորդակի էլեկտրաշարժիչի և արգելակի սնման հպարկիչները` անվտանգության մեկ կամ մի քանի հպակներն անջատող, համաձայն սույն տեխնիկական կանոնակարգի 296-րդ կետի.
2) անվտանգության էլեկտրական շղթաները, որոնք կազմված են հետևյալ տարրերից կամ դրանց համակցումից`
ա) սույն տեխնիկական կանոնակարգի 300-րդ կետի պահանջներին համապատասխանող մեկ կամ մի քանի անվտանգության հպակներ, որոնք ուղղակիորեն չեն անջատում վերելակների գլխավոր հաղորդակի էլեկտրաշարժիչի և արգելակի սնման հպարկիչների սնուցումը,
բ) սույն տեխնիկական կանոնակարգի 300-րդ կետով չնախատեսված այլ հպակներ,
գ) էլեկտրոնային բաղկացուցիչ մասերը:
Անվտանգության էլեկտրական սարքավորման ելքային ազդանշանը չպետք է ենթարկվի փոփոխության` նույն շղթայում տեղակայված այլ էլեկտրական սարքավորումից ստացվող արտաքին ազդանշանի հետևանքով:
Անվտանգության էլեկտրական սարքավորումների գործարկման դեպքում ազդանշանների գրանցման կամ հապաղման, կայծամարման համար նախատեսված էլեկտրական շղթաները նույնիսկ անսարքության պայմաններում չպետք է խոչընդոտեն անվտանգության շղթայի անջատմանը:
Անվտանգության հպակների համար պետք է նախատեսվի մեկուսացում` հետևյալ լարումների համար`
250 Վ` IP4X ոչ պակաս պատյանի պաշտպանվածության աստիճանի դեպքում,
500 Վ` IP4X ոչ պակաս պատյանի պաշտպանվածության աստիճանի դեպքում:
298. Չի թույլատրվում անվտանգության էլեկտրական սարքավորման անվտանգության սարքի և գալվանական միացում ունեցող հպակների կիրառմամբ աշխատանքային սարքավորման գործառույթի համատեղում:
299. Ելքային ազդանշանի հաղորդման համար անվտանգության էլեկտրական սարքավորումների մեջ պետք է կիրառված լինեն էլեկտրական շղթայի հպակային անջատմամբ ապարատներ: Մագնիսակառավարելի (հերկոններով) հպակների կիրառումը չի թույլատրվում:
300. Անվտանգության հպակի գործարկումը պետք է տեղի ունենա դրա հարկադրական անջատման հաշվին: Այդ ժամանակ պետք է անջատվեն նույնիսկ միմյանց զոդված հպակները:
301. Թույլատրվում է անվտանգության սարքավորումների էլեկտրական շղթաներին միացնել տեղեկություններ հավաքող հարմարանքներ: Տեղեկությունների հավաքման համար նախատեսված հարմարանքները պետք է համապատասխանեն սույն տեխնիկական կանոնակարգի 299-րդ կետի անվտանգության էլեկտրական շղթաներին ներկայացվող պահանջներին:
Չի թույլատրվում անվտանգության էլեկտրական սարքավորումների հպակներին որևէ այլ էլեկտրատեխնիկական սարքավորումների զուգահեռ միացում կամ դրանց շունտավորում` բացառությամբ սույն տեխնիկական կանոնակարգի 276-րդ, 289-րդ, 308-րդ, 309-րդ, 314-րդ, 316-րդ կետերով նախատեսված դեպքերի:
Սույն տեխնիկական կանոնակարգի 287-րդ, 288-րդ և 314-րդ կետերում նշված ռեժիմներից վերելակները նորմալ աշխատանքային ռեժիմի միացումից հետո խցիկների շարժումը պետք է հնարավոր լինի միայն անվտանգության էլեկտրական սարքավորումների հպակները շունտավորող շղթաներից անջատելուց և կառավարման համակարգում դրանց գործողությունները վերականգնելուց հետո:
Թույլատրվում է անվտանգության անջատիչների հպակներին զուգահեռ միացնել կայծամարման կամ հաղորդակցությունը բարելավող տարրեր:
Այդպիսի տարրերը պետք է համապատասխանեն սույն տեխնիկական կանոնակարգի 299-րդ կետի անվտանգության էլեկտրական շղթաներին ներկայացվող պահանջներին:
302. Վերելակներում անվտանգության էլեկտրական սարքավորումներն են`
1) խցիկը ծայրային հարթակներն անցնելը հսկող ծայրային անջատիչները (303-րդ կետ),
2) հորանի և խցիկի դռների փակումը հսկող սարքավորումները (307-րդ կետ),
3) քարշող ճոպանների ձգվածությունը հսկող սարքավորումները (309-րդ կետ),
4) հորանի դռների ավտոմատ փականների փակումը հսկող սարքավորումները (310-րդ կետ),
5) փականով չսարքավորված հորանի դռան փեղկերի փակումը հսկող սարքավորումները (311-րդ կետ),
6) վթարային դռների կամ դիտանցքի սարքավորումների, տեխնիկական սպասարկման համար հորանի դռների փակումը հսկող սարքավորումները (312-րդ կետ),
7) խցիկի դռների փակումը հսկող սարքավորումները (313-րդ կետ),
8) վթարային դռան փականի կամ խցիկի ելանցքի փակումը հսկող սարքավորումները (314-րդ կետ),
9) խցիկի արագության սահմանափակիչի գործարկումը հսկող սարքավորումները (315-րդ կետ),
10) խցիկի արագության սահմանափակիչի ելակետային դիրքի վերադարձումը հսկող սարքավորումները (316-րդ կետ),
11) վերելակի արգելակման համար սարքավորումները (անջատիչ, «Կանգ» սեղմակոճակ) (317-րդ կետ),
12) որսիչների գործարկումը հսկող սարքավորումները (318-րդ կետ),
13) ձգող (քաշող) տարրերի կտրման կամ համեմատական տեղաշարժումը հսկող սարքավորումները (319-րդ կետ),
14) արագության սահմանափակիչի ճոպանի կտրումը կամ ձգվածությունը հսկող սարքավորումները (320-րդ կետ),
15) հավասարակշռիչ ճոպանների ձգվածությունը հսկող սարքավորումները (321-րդ կետ),
16) հավասարակշռիչ ճոպանների ձգվածության սարքավորման ցատկը սահմանափակող հարմարանքի գործարկումը հսկող սարքավորումները (322-րդ կետ),
17) խցիկի` ձեռքով տեղաշարժման հանովի հարմարանքի դիրքը (հանովի ղեկանիվի դիրք) հսկող սարքավորումները (323-րդ կետ),
18) էներգացրող տիպի թափամեղմիչի ելակետային դիրքի վերադարձը հսկող սարքավորումները (324-րդ կետ),
19) հորանից ղեկավարման շղթաներն անջատող սարքավորումները (325-րդ կետ),
20) բլոկային շինությունից ղեկավարման շղթաներն անջատող սարքավորումները (326-րդ կետ),
21) սպասարկման հարթակի դիրքը հսկող սարքավորումները (327-րդ կետ),
22) բլոկավորող սարքավորման դիրքը հսկող սարքավորումները (328-րդ կետ):
303. Ծայրային անջատիչը պետք է գործարկվի`
ա) վերելակների ամենաներքևի հարկի հարթակի մակարդակից ցած խցիկն իջնելու դեպքում` մինչև դրա թափամեղմիչներին (հենարաններին) հպվելը,
բ) հորանի ներքևի մասում հետ փոխազդող թափամեղմիչներ (հենարաններ) ունեցող վերելակների խցիկներն ամենավերին հարկի հարթակի մակարդակն անցնելուց հետո` մինչև հակակշիռի թափամեղմիչներին (հենարաններին) հպվելը,
գ) հակակշռի հետ հորանում փոխազդող թափամեղմիչներ (հենարաններ) չունեցող վերելակների դեպքում` ամենավերին հարկի (բեռնավորման) հարթակի մակարդակից խցիկը մինչև 200 մմ վեր բարձրանալու դեպքում:
Եթե թափամեղմիչները տեղադրված են վերելակների խցիկների (հակակշիռի) վրա, ապա ծայրային անջատիչները պետք է գործարկվեն մինչև թափամեղմիչների հպվելը հորանի համապատասխան հենարաններին: Խցիկների (հակակշիռները սեղմված թափամեղմիչների վրա գտնվելու ժամանակ) ծայրային անջատիչների հպակները պետք է անջատված լինեն: Ծայրային անջատիչների գործարկումից հետո վերելակները չպետք է ավտոմատ կերպով վերադառնան նորմալ աշխատանքային ռեժիմի:
304. Ծայրային անջատիչները պետք է անջատեն շարժիչի և արգելակի շղթաները` սույն տեխնիկական կանոնակարգի 300-րդ կետի համաձայն: Թույլատրվում է ծայրային անջատիչների միացումն անվտանգության շղթային` սույն տեխնիկական կանոնակարգի 306-րդ կետում նշված դեպքերում: Ճոպանատար փոկանիվով կամ շփման թմբուկով կարապիկով վերելակներում թույլատրվում է անջատել գլխավոր հաղորդակի էլեկտրաշարժիչի սնման շղթային միացված 2 հպարկիչի փաթույթների սնման շղթաները` սույն տեխնիկական կանոնակարգի 300-րդ կետով նախատեսված պահանջներին համապատասխան: Փոփոխական կամ հաստատուն հոսանքը կարգավորող հաղորդակով վերելակների ծայրային անջատիչների գործարկումը պետք է վերելակները կանգառ հասցնի` տվյալ կառավարման համակարգի համար նվազագույն ժամանակի ընթացքում:
305. Ծայրային անջատիչը ճոպանատար փոկանիվով կամ շփման թմբուկով կարապիկով սարքավորված վերելակի (բացի փոքր բեռնատարից) ղեկավարման շղթայում տեղադրելու դեպքում պետք է նախատեսված լինի էլեկտրաշարժիչի գլխավոր հոսանքի կրկնակի ընդհատում` 2 անկախ էլեկտրամագնիսական ապարատով, որոնց հպակները պետք է հաջորդաբար միացված լինեն էլեկտրաշարժիչի գլխավոր հոսանքի շղթայում: Այդ դեպքում թույլատրվում է գլխավոր հոսանքի շղթայի մի ընդհատումը կատարել անհպակային սարքավորմամբ (սույն տեխնիկական կանոնակարգի 274-րդ կետի «գ» և «դ» ենթակետերով նախատեսված պահանջների պահպանմամբ):
Թույլատրվում է ճոպանատար փոկանիվով կարապիկով սարքավորված փոքր բեռնատար վերելակների էլեկտրաշարժիչի գլխավոր հոսանքի շղթայի միանգամյա անջատում:
Եթե կանգ առած խցիկի դեպքում էլեկտրամագնիսական սարքերից մեկը կամ անհպակային սարքավորումը չի ընդհատում էլեկտրաշարժիչի գլխավոր հոսանքի շղթան, ապա խցիկի հետագա շարժման հնարավորությունը պետք է կանխվի շարժման ուղղության հաջորդ փոխումից ոչ ուշ:
306. Թմբուկավոր կամ աստղիկավոր կարապիկով սարքավորված վերելակների կառավարման շղթայում պետք է տեղակայվեն 2-ից ոչ պակաս ծայրային անջատիչներ, որոնք գործում են խցիկի շարժման յուրաքանչյուր ուղղությամբ և գործի են դրվում անկախ տարրերով:
Ծայրային անջատիչները պետք է ազդեն կառավարման շղթայի առանձին էլեկտրամագնիսական սարքերի վրա, որոնք ապահովում են էլեկտրաշարժիչի գլխավոր հոսանքի շղթայի կրկնակի ընդհատումը:
Եթե կանգ առած խցիկի դեպքում էլեկտրամագնիսական ապարատներից մեկը չի ընդհատում գլխավոր հոսանքի շղթան, ապա խցիկի հետագա շարժման հնարավորությունը պետք է կանխվի շարժման ուղղության հաջորդ փոխումից ոչ ուշ:
Կառավարման շղթայում 2 ծայրային անջատիչի նմանակները պետք է տեղադրվեն ճոպանատար փոկանիվով կամ շփման թմբուկով կարապիկով սարքավորված վերելակներում, երբ քաշող տարրերի կշիռն այնպիսին է, որ թափամեղմիչների (հենարանի) նստեցման ժամանակ ճոպանատար փոկանիվի վրայից ձգող տարրերի (ճոպանների) սահք տեղի չի ունենում:
307. Հորանի և խցիկի դռների փակման հսկող անջատիչները պետք է անջատեն էլեկտրական շղթան, եթե հորանի և խցիկի դռների փեղկերից թեկուզ մեկը չի փակվում:
308. Հորանի դռան չփակված ավտոմատ փականի դեպքում խցիկի շարժվելը հարկի հարթակի մակարդակից ապահովելու համար թույլատրվում է ավտոմատ փականի հպակների շունտավորումը խցիկի հարկի հարթակի մակարդակից միայն ± 0,2 մ-ի սահմաններում գտնվելու ժամանակ:
309. Քարշող (ձգող) ճոպանների (շղթաների) թուլացման հսկողության անվտանգության էլեկտրական սարքավորումը պետք է անջատի էլեկտրական շղթան` մեկ, մի քանի կամ բոլոր ճոպանների թուլացման դեպքում:
310. Հորանի դռների ավտոմատ փականների փակվելը վերահսկող անվտանգության էլեկտրական սարքավորումը պետք է անջատի անվտանգության շղթան` դռները փակված չլինելու դեպքում:
311. Սույն տեխնիկական կանոնակարգի 142-րդ կետով նախատեսված հորանի հետ անմիջականորեն չկապված և չփակվող դռների փակվելը հսկող անվտանգության էլեկտրական սարքավորումը պետք է անջատի անվտանգության շղթան` հորանի դռան որևէ փեղկ բաց լինելու դեպքում:
312. Սարքավորումների, վթարային դռան կամ դիտանցքի տեխնիկական սպասարկման նպատակով դռների փակվելը` սույն տեխնիկական կանոնակարգի 144-րդ կետի 5-րդ ենթակետով նախատեսված հսկող անվտանգության էլեկտրական սարքավորումը պետք է անջատի անվտանգության շղթան` դռները բաց լինելու դեպքում:
313. Սույն տեխնիկական կանոնակարգի 188-րդ կետով նախատեսված խցիկի դռների փակվելը հսկող անվտանգության էլեկտրական սարքավորումը պետք է անջատի անվտանգության շղթան` դռները բաց լինելու դեպքում:
314. Սույն տեխնիկական կանոնակարգի 194-րդ կետով նախատեսված վթարային դռան կամ խցիկի ելանցքի փակվելը հսկող անվտանգության էլեկտրական սարքավորումը պետք է անջատի անվտանգության շղթան` դա բաց լինելու դեպքում:
Նորմալ աշխատանքային ռեժիմին վերադարձը չպետք է կատարվի ավտոմատ կերպով: «Հրշեջ ստորաբաժանման տեղափոխում» ռեժիմի ժամանակ թույլատրվում է շունտավորել խցիկի ելանցքը հսկող անվտանգության էլեկտրական սարքավորումը:
315. Սույն տեխնիկական կանոնակարգի 223-րդ կետով նախատեսված արագության սահմանափակիչի գործարկումը հսկող անվտանգության էլեկտրական սարքավորումը պետք է անջատի էլեկտրական շղթան` մինչև ցած շարժվող խցիկը ձեռք կբերի այն արագությունը, որի դեպքում տեղի է ունենում սահմանափակիչների գործարկումը:
1,0 մ/վ-ից ոչ ավելի անվանական արագություն ունեցող վերելակների համար արագության սահմանափակիչի գործարկման ժամանակ թույլատրվում է շղթայի անջատում:
316. Սույն տեխնիկական կանոնակարգի 224-րդ կետով նախատեսված արագության սահմանափակիչի` ելակետային վիճակին վերադարձը հսկող անվտանգության էլեկտրական սարքավորումը պետք է անջատի էլեկտրական շղթան` արագության սահմանափակիչի ելակետային վիճակ չվերադառնալու դեպքում: Թույլատրվում է նշված սարքավորումը շունտավորել վերելակները մեքենայական սրահից կամ խցիկը (հակակշիռը) որսիչներից հանելու համար սույն տեխնիկական կանոնակարգի 122-րդ կետով նախատեսված սարքավորումից կառավարելու դեպքում:
317. Խցիկի տանիքի, մեքենայական սրահի կամ սույն տեխնիկական կանոնակարգի 122-րդ կետով նախատեսված սարքավորման վրա տեղադրված վերելակի արգելակման սարքավորումները պետք է անջատեն էլեկտրական շղթան` դրանց վրա ձեռքով ազդելու դեպքում: Այդ սարքավորումների գործարկումը պետք է փոխի կառավարման բոլոր հրահանգները` բացառությամբ հավաքական կառավարմամբ զույգով կամ խմբով աշխատելու ժամանակ վերելակների կանչերի: Խցիկը կանգնելուց հետո շարժումը կարող է վերսկսվել միայն այդ սարքավորման ազդեցությունը փոխելուց և նոր կառավարման հրահանգ տալուց հետո:
318. Սույն տեխնիկական կանոնակարգի 209-րդ կետով նախատեսված որսիչների գործարկումը հսկող անվտանգության էլեկտրական սարքավորումները պետք է անջատեն շղթան` դրանց գործարկման ժամանակ:
319. Քարշող (ձգող) տարրերի կտրվելը կամ համեմատական տեղաշարժը (թուլանալը) սույն տեխնիկական կանոնակարգի 253-րդ կետի 3-րդ ենթակետով նախատեսված` հսկող անվտանգության էլեկտրական սարքավորումը պետք է անջատի անվտանգության շղթան` դրանց կտրվելու կամ համեմատական տեղաշարժի (թուլացման) դեպքում:
320. Սույն տեխնիկական կանոնակարգի 220-րդ կետով նախատեսված արագության սահմանափակիչի ճոպանի կտրումը կամ ձգումը հսկող անվտանգության էլեկտրական սարքավորումը պետք է անջատի անվտանգության շղթան` ճոպանի կտրվելու կամ կանոնակարգված չափից ավելի ձգվելու դեպքում:
321. Սույն տեխնիկական կանոնակարգի 254-րդ կետով նախատեսված` հավասարակշռող ճոպանների ձգվածությունը հսկող անվտանգության էլեկտրական սարքավորումը պետք է անջատի անվտանգության շղթան` ձգվածությունը թուլանալու դեպքում:
322. Սույն տեխնիկական կանոնակարգի 254-րդ կետով նախատեսված` հավասարակշռող ճոպանների ձգվածության հարմարանքի ցատկը հսկող անվտանգության էլեկտրական սարքավորումը պետք է անջատի անվտանգության շղթան` ցատկը սահմանափակող սարքավորման գործարկման դեպքում:
323. Սույն տեխնիկական կանոնակարգի 160-րդ կետով նախատեսված հանովի ղեկանիվի դիրքը հսկող անվտանգության էլեկտրական սարքավորումը պետք է անջատի անվտանգության շղթան` կարապիկի վրա ղեկանիվի տեղադրման դեպքում:
324. Սույն տեխնիկական կանոնակարգի 237-րդ կետով նախատեսված էներգացրող թափամեղմիչի` ելակետային դիրքին վերադարձը հսկող անվտանգության էլեկտրական սարքավորումը պետք է անջատի անվտանգության շղթան, եթե թափամեղմիչը չի վերադառնում ելակետային դիրքին` 0,05 մ-ից ավելի չափով:
325. Սույն տեխնիկական կանոնակարգի 81-րդ կետի համաձայն հորանում տեղադրված անվտանգության էլեկտրական սարքավորումը (սարքավորումները) պետք է լինի (լինեն) ոչ ինքնավերադարձող և պետք է անջատեն անվտանգության շղթան` ձեռքի գործողությամբ:
326. Սույն տեխնիկական կանոնակարգի 114-րդ կետի համաձայն բլոկային սրահում տեղադրված անվտանգության էլեկտրական սարքավորումները պետք է լինեն ոչ ինքնավերադարձող և պետք է անջատեն անվտանգության շղթան` ձեռքի գործողությամբ:
327. Սույն տեխնիկական կանոնակարգի 125-րդ կետով նախատեսված հարթակի դիրքը հսկող անվտանգության էլեկտրական սարքավորումները պետք է անջատեն անվտանգության շղթան` դրան ելակետից (ոչ աշխատանքային) դուրս բերելու դեպքում:
328. Սույն տեխնիկական կանոնակարգի 123-րդ և 124-րդ կետերով նախատեսված բլոկավորող սարքավորման դիրքը հսկող անվտանգության էլեկտրական սարքավորումները պետք է անջատեն անվտանգության շղթան` սարքավորումը գործարկելու դեպքում:
ԷԼԵԿՏՐԱՀԱՂՈՐԴԱԳԾԵՐԸ ԵՎ ԷԼԵԿՏՐԱՍԱՐՔԱՎՈՐՈՒՄՆԵՐԸ
329. Նույն վերելակին վերաբերող կառավարման շղթաների մեկուսացված հաղորդագծերը (լուսավորության, ազդանշանային, ուժային և այլն)՝ 460 Վ-ից ոչ ավելի լարմամբ, թույլատրվում է անցկացնել համատեղ (մի փնջով, մի խողովակով, մի տուփով, մի մալուխով և այլն)՝ պայմանով, որ յուրաքանչյուր հաղորդալարի մեկուսացումները հաշվարկված լինեն առավելագույն հոսանքի համար:
330. Էլեկտրական մեքենաների, ապարատների և սեղմակային հավաքակազմի միացնող սեղմակները պետք է համապատասխանեն օգտագործվող հաղորդալարի (մալուխի) տեսակին և կտրվածքին:
Եթե մեկ կամ մի քանի գլխավոր անջատիչների անջատումից հետո որոշ սեղմակներ մնում են լարման տակ, ապա դրանք պետք է առանձնացվեն լարման տակ չգտնվող սեղմակներից, իսկ դրանց վրա 42 Վ-ից ավելի լարման դեպքում պետք է մակնշվեն:
331. Վերելակների էլեկտրասարքավորումները պետք է ունենան անհրաժեշտ խորհրդանշաններ և (կամ) նշագրեր, որոնք հեշտացնում են դրանց կարգաբերումը և սպասարկումը:
Հպարկիչները, ռելեները, դյուրահալ ապահովիչները և դեպի կառավարման վահանակներ գնացող շղթաների սեղմակային հավաքակազմերը պետք է մակնշված լինեն էլեկտրական սխեմային համապատասխան:
Ապահովիչների անհրաժեշտ տվյալները, ինչպես, օրինակ` դրանց տիպերը և նորմաները, պետք է նշված լինեն ապահովիչների կամ դրանց կապիչների վրա:
Սեղմակային հավաքակազմերի, ինչպես նաև էլեկտրասարքավորումների սեղմակներին մոտեցող հաղորդալարերը պետք է լինեն մակնշված: Թույլատրվում է հաղորդալարերի գույնով մակնշումը:
332. Մեխանիկական վնասվածքներից պաշտպանելու համար մալուխների և հաղորդալարերի պաշտպանիչ պատյանը պետք է լրիվ մտնի անջատիչների կամ այլ սարքավորումների իրանի մեջ կամ պետք է վերջանա համապատասխան պաշտպանիչ խցվածքով:
Վերելակների հորանների և խցիկների դռների փակ կարկասները կարող են դիտվել որպես էլեկտրասարքավորումների պատյաններ, սակայն մանրակների կամ կարկասների սուր եզրերի տեղաշարժման հետևանքով մեխանիկական վնասվածքների վտանգի առկայության դեպքում անվտանգության էլեկտրական սարքավորումներին միացվող հաղորդալարերը պետք է ունենան մեխանիկական պաշտպանվածություն:
333. Էլեկտրական անվտանգության շղթաների մեջ տեղադրվող էլեկտրական անջատիչ սարքերի և այլ հանովի էլեկտրական սարքավորումների կառուցվածքը և տեղադրումը պետք է բացառեն դրանց սխալ տեղակայման հնարավորությունը, եթե այդպիսի սարքավորումների սխալ միացումը կարող է առաջացնել վերելակների աշխատանքի վտանգավոր խափանում, կամ եթե դրանք հեռացվում են առանց գործիքի օգնության:
ԼՈՒՍԱՎՈՐՈՒԹՅԱՆ ԵՎ ՍՆՄԱՆ ՎԱՐԴԱԿՆԵՐԸ
334. Վերելակի խցիկի, հորանի և սարքավորումների տեղավորման համար անհրաժեշտ տարածության էլեկտրական լուսավորության, ինչպես նաև գործիքների միացման համար վարդակների սնումը կարող է իրականացվել շենքի (շինության) լուսավորման ցանցից:
335. Խցիկի լուսավորությունը կարող է միացվել (անջատվել) ավտոմատ կամ անջատիչի միջոցով՝ ձեռքի գործողությամբ:
Թույլատրվում է խցիկների բեռնահսկիչ սարքավորմամբ սարքավորված վերելակներում՝ խցիկներում ուղևորների բացակայության և փակ դռների դեպքում խցիկի լուսավորության ավտոմատ անջատում:
Թույլատրվում է խցիկների բեռնահսկիչ սարքավորում չունեցող վերելակներում` խցիկներում ուղևորների գտնվելու ժամանակ աշխատանքային լուսավորության ավտոմատ անջատում, եթե խցիկների դռները փակվելուց 5 վայրկյան հետո չի սկսվել դրանց շարժումը:
336. Խցիկների լուսավորությունը և անհրաժեշտության դեպքում խցիկների տանիքների վարդակների սնման ձեռքի գործողությամբ անջատիչները կարող են տեղադրվել մեքենայական սրահում, իսկ դրա բացակայության դեպքում` փակվող պահարանում` համաձայն սույն տեխնիկական կանոնակարգի 127-րդ կետի:
Մի քանի վերելակների համար ընդհանուր մեքենայական սրահում յուրաքանչյուր խցիկի համար պետք է լինի իր անջատիչը՝ տեղադրված սույն տեխնիկական կանոնակարգի 228-րդ կետով նախատեսված սարքավորման մոտ:
337. Սարքավորումների տեղադրման սրահում, խցիկի տանիքի վրա, գետնախորշում կամ խցիկի տակ շարժական լամպերի համար վարդակների տեղադրման դեպքում դրանց սնման լարումը պետք է լինի 42 Վ-ից ոչ ավելի:
338. Էլեկտրական գործիքների միացման համար էլեկտրական վարդակների սնման լարումը պետք է լինի 250 Վ-ից ոչ ավելի:
339. Վերելակների հորանները դռները փակ լինելու դեպքում պետք է սարքավորված լինեն 50 լք-ից ոչ պակաս լուսավորություն ապահովող անշարժ էլեկտրական լուսավորվածության ապարատներով:
Եզրային լուսավորության սարքերը պետք է տեղադրվեն հորանի ամենավերևի և ամենաներքևի կետերից 0,5 մ-ից ոչ ավելի հեռավորության վրա:
Թույլատրվում է անշարժ էլեկտրական լուսավորմամբ սարքավորմամբ չսարքավորել ապակեպատված, ցանցով արգելափակված կամ մասամբ արգելափակված հորանները, եթե արտաքին լուսավորումն ապահովում է հորանների ներսի անհրաժեշտ լուսավորվածությունը:
340. Հարկերի հարթակները պետք է սարքավորված լինեն հարթակի մակարդակից 50 լք-ից ոչ պակաս լուսավորություն ապահովող անշարժ էլեկտրական լուսավորվածության ապարատներով:
341. Վերելակների սարքավորումների տեղադրման սրահներ տանող անցումները պետք է սարքավորված լինեն հատակի մակարդակի վրա 50 լք-ից ոչ պակաս լուսավորություն ապահովող անշարժ էլեկտրական լուսավորվածության ապարատներով:
342. Մեքենայական սրահները պետք է սարքավորված լինեն հատակի մակարդակի վրա 200 լք-ից ոչ պակաս լուսավորություն ապահովող անշարժ էլեկտրական լուսավորվածության ապարատներով:
343. Բլոկային սրահները պետք է սարքավորված լինեն 100 լք-ից ոչ պակաս լուսավորություն ապահովող անշարժ էլեկտրական լուսավորվածության ապարատներով:
344. Սարքավորումների տեղադրման և դրանց տեխնիկական սպասարկման գոտին պետք է սարքավորված լինի 200 լք-ից ոչ պակաս լուսավորություն ապահովող անշարժ էլեկտրական լուսավորվածության ապարատներով:
345. Վերելակների սարքավորումների տեղադրման պահարանները` համաձայն սույն տեխնիկական կանոնակարգի 127-րդ կետի, պետք է ունենան 200 լք-ից ոչ պակաս սարքավորումների լուսավորություն ապահովող անշարժ լուսավորության ապարատներ:
346. Կառավարման սարքավորումները` համաձայն սույն տեխնիկական կանոնակարգի 122-րդ կետի, պետք է լուսավորվեն 100 լք-ից ոչ պակաս լուսավորություն ապահովող անշարժ էլեկտրական լուսավորվածության ապարատներով:
347. Խցիկները պետք է սարքավորված լինեն հատակի մակարդակի և կառավարման սարքավորումների 50 լք-ից ոչ պակաս լուսավորություն ապահովող անշարժ էլեկտրական լուսավորվածության ապարատներով:
348. Խցիկների աշխատանքային լուսավորությունը պետք է իրականացվի զուգահեռ միացված՝ 2-ից ոչ պակաս լամպերից:
349. Խցիկների լուսավորության համար պետք է նախատեսված լինի վթարային սնման աղբյուր, որն աշխատանքային լուսավորության ընդհատման դեպքում պետք է ապահովի 1 ժ-ի ընթացքում առնվազն 1 Վտ հզորությամբ 1 լամպ սնելը:
Աշխատանքային լուսավորության ընդհատման դեպքում պետք է ավտոմատ պահպանվի խցիկի վթարային լուսավորությունը:
350. Խցիկների անշարժ էլեկտրական լուսավորվածության սարքավորումները պետք է տեղադրվեն այնպես, որպեսզի խցիկի բեռնավորման և բեռնաթափման ժամանակ բացառվեն դրանց վնասվելը:
ԲԵՌՆՈՒՆԱԿՈՒԹՅՈՒՆԸ ԵՎ ԽՑԻԿԻ ՏԱՐՈՂՈՒԹՅՈՒՆԸ
351. Վերելակների անվանական բեռնունակությունը պետք է որոշվի՝ կախված առավելագույն օգտակար մակերեսից, և պետք է համապատասխանի N 2 աղյուսակով սահմանված նորմերին:
|
Աղյուսակ N 2 |
|
Անվանական բեռնունակությունը, կգ |
Խցիկի առավելագույն օգտակար մակերեսը, մ2 |
Անվանական բեռնունակությունը, կգ |
Խցիկի առավելագույն օգտակար մակերեսը, մ2 |
|
100 |
0,37 |
900 |
2, 20 |
|
180 |
0,58 |
975 |
2,35 |
|
225 |
0,70 |
1000 |
2,40 |
|
300 |
0,90 |
1050 |
2,50 |
|
375 |
1,10 |
1125 |
2,65 |
|
400 |
1,17 |
1200 |
2,80 |
|
450 |
1,30 |
1250 |
2,90 |
|
525 |
1,45 |
1275 |
2,95 |
|
600 |
1,60 |
1350 |
3,10 |
|
630 |
1,66 |
1425 |
3,25 |
|
675 |
1,75 |
1500 |
3,40 |
|
750 |
1,90 |
1600 |
3,56 |
|
800 |
2,00 |
2000 |
4,20 |
|
825 |
2,05 |
2500 |
5,00 |
Սույն կետի N 2 աղյուսակում ներկայացված 100 կգ-ն մեկ մարդու համար նախատեսված վերելակների նվազագույն անվանական բեռնունակությունն է, 180 կգ-ն` 2 մարդու համար նախատեսված վերելակների նվազագույն անվանական բեռնունակությունը, իսկ 2500 կգ անվանական բեռնունակությունից հետո պետք է ավելացնել 0,16 մ2 մակերես` յուրաքանչյուր հաջորդ 100 կգ-ի համար:
352. Վերելակների խցիկների բեռնվածության 10 տոկոս և ավելի անվանական բեռնունակության մեծացման դեպքում պետք է բացառվի վերելակների կառավարումը կոճակների միջոցով, վերելակների գործարկումը խցիկից կամ հարկի հարթակից: Մեքենայական սրահից կառավարման ռեժիմում պետք է ապահովվի խցիկներում անվանական բեռնունակությունը 25 տոկոսով գերազանցող բեռի առկայությամբ վերելակների գործարկման հնարավորությունը:
353. Խցիկի տարողությունը որոշվում է ուղևորների թվով` ըստ N 3 աղյուսակի կամ վերելակների անվանական բեռնունակությունը բաժանելով 75-ի և ստացված արդյունքը կլորացնելով ամենամոտ ամբողջ թվով, որտեղ 75 կգ-ն մեկ ուղևորի ընդունված քաշն է:
|
Աղյուսակ N 3 |
|
Ուղևորների թիվը |
Խցիկի նվազագույն օգտակար մակերեսը, մ2 |
Ուղևորների թիվը |
Խցիկի նվազագույն օգտակար մակերեսը, մ2 |
|
1 |
0,28 |
11 |
1,87 |
|
2 |
0,49 |
12 |
2,01 |
|
3 |
0,60 |
13 |
2,15 |
|
4 |
0,79 |
14 |
2,29 |
|
5 |
0,98 |
15 |
2,43 |
|
6 |
1,17 |
16 |
2,57 |
|
7 |
1,31 |
17 |
2,71 |
|
8 |
1,45 |
18 |
2,85 |
|
9 |
1,59 |
19 |
2,99 |
|
10 |
1,73 |
20 |
3,13 |
Սույն կետի N 3 աղյուսակով սահմանված 20 ուղևորից հետո յուրաքանչյուր հաջորդ ուղևորի համար պետք է ավելացնել 0,115 մ2 մակերես:
VI. ՀԱՄԱՊԱՏԱՍԽԱՆՈՒԹՅԱՆ գնահատման ԸՆԹԱՑԱԿԱՐԳԵՐԸ
(վերնագիրը փոփ. 02.04.15 N 356-Ն)
354. Սույն տեխնիկական կանոնակարգի պահանջներին վերելակների և վերելակների կազմում օգտագործվող անվտանգության ապահովման սարքերի համապատասխանությունը հավաստելու համար վերելակը տեղադրող կազմակերպությունը կիրառում է Հայաստանի Հանրապետության կառավարության 2014 թվականի հունվարի 16-ի N 56-Ն որոշմամբ սահմանված Ա ընթացակարգ։
(354-րդ կետը խմբ. 02.04.15 N 356-Ն)
355. Արտադրողը կամ Հայաստանի Հանրապետությունում նրա լիազոր ներկայացուցիչը սույն տեխնիկական կանոնակարգի պահանջներին համապատասխանելու դեպքում պետք է դնի Հայաստանի Հանրապետության կառավարության 2013 թվականի մարտի 14-ի N 337-Ն որոշմամբ սահմանված համապատասխանության ազգային նշանը վերելակների և վերելակների կազմում օգտագործվող անվտանգության ապահովման սարքերի վրա և (կամ) փաթեթի կամ պիտակի վրա, իսկ գործընթացների համար` օգտագործվող գովազդային նյութերում:
(355-րդ կետը խմբ. 02.04.15 N 356-Ն)
356. Համապատասխանության հայտարարագրի գործողության ժամկետը սահմանվում է 2 տարի:
(356-րդ կետը խմբ. 02.04.15 N 356-Ն)
VII. ՉԱՓՈՒՄՆԵՐԻ ՄԻԱՍՆԱԿԱՆՈՒԹՅԱՆ ԱՊԱՀՈՎՈՒՄԸ
357. Վերելակների և վերելակների կազմում օգտագործվող անվտանգության ապահովման սարքերի չափումների միասնականությունը պետք է ապահովվի «Չափումների միասնականության ապահովման մասին» Հայաստանի Հանրապետության օրենքով սահմանված կարգով։
VIII. ՊԵՏԱԿԱՆ ՎԵՐԱՀՍԿՈՂՈՒԹՅՈՒՆԸ
358. Սույն տեխնիկական կանոնակարգի պահանջներին վերելակների և վերելակների կազմում անվտանգության ապահովման սարքերի համապատասխանության պետական վերահսկողությունը պետք է իրականացվի «Տեխնիկական անվտանգության ապահովման պետական կարգավորման մասին» Հայաստանի Հանրապետության օրենքով սահմանված կարգով:
(հավելվածը փոփ., խմբ. 02.04.15 N 356-Ն)
| Հայաստանի Հանրապետության կառավարության աշխատակազմի ղեկավար-նախարար |
Մ. Թոփուզյան |